Quantum Interconnects: Study on Thermal Stability in Nano-electronics
SEP 29, 20259 MIN READ
Generate Your Research Report Instantly with AI Agent
Patsnap Eureka helps you evaluate technical feasibility & market potential.
Quantum Interconnect Evolution and Objectives
Quantum interconnects represent a critical frontier in the evolution of quantum computing and nano-electronic systems. The development trajectory of quantum interconnects began in the early 2000s with rudimentary attempts to maintain quantum coherence across short distances. These initial efforts primarily focused on superconducting materials operating at near-absolute zero temperatures, where thermal fluctuations could be minimized to preserve quantum states.
By 2010, significant advancements emerged in quantum state transfer protocols, with researchers developing the first reliable quantum interconnects spanning distances of several millimeters while maintaining acceptable fidelity. This period marked the transition from theoretical concepts to practical implementations, albeit within highly controlled laboratory environments.
The thermal stability challenge became increasingly prominent around 2015, as researchers sought to develop quantum systems capable of operating in less extreme temperature conditions. This shift was driven by the practical limitations of maintaining ultra-cold environments at scale, particularly as quantum computing applications moved toward commercial viability.
Current quantum interconnect technologies have evolved to incorporate sophisticated thermal management systems, including advanced materials with superior thermal conductivity properties and novel architectural designs that isolate quantum channels from thermal interference. Diamond-based nitrogen-vacancy centers and silicon carbide platforms have emerged as promising candidates due to their exceptional thermal stability characteristics.
The primary objective in quantum interconnect development now centers on achieving reliable quantum state preservation across interconnects while withstanding thermal fluctuations typical in nano-electronic environments. Specifically, researchers aim to develop interconnects capable of maintaining quantum coherence at temperatures above 4 Kelvin, which would significantly reduce cooling requirements and associated infrastructure costs.
Secondary objectives include increasing the distance over which quantum information can be reliably transmitted, enhancing the bandwidth of quantum channels, and developing scalable fabrication techniques compatible with existing semiconductor manufacturing processes. These goals collectively support the broader vision of creating practical, commercially viable quantum computing systems.
The evolution trajectory points toward hybrid quantum-classical interconnect systems that leverage the strengths of both paradigms, with quantum channels handling specific computational tasks while classical interconnects manage control signals and non-quantum data transfer. This hybrid approach represents a pragmatic path forward, acknowledging the complementary roles of quantum and classical computing in next-generation information processing systems.
By 2010, significant advancements emerged in quantum state transfer protocols, with researchers developing the first reliable quantum interconnects spanning distances of several millimeters while maintaining acceptable fidelity. This period marked the transition from theoretical concepts to practical implementations, albeit within highly controlled laboratory environments.
The thermal stability challenge became increasingly prominent around 2015, as researchers sought to develop quantum systems capable of operating in less extreme temperature conditions. This shift was driven by the practical limitations of maintaining ultra-cold environments at scale, particularly as quantum computing applications moved toward commercial viability.
Current quantum interconnect technologies have evolved to incorporate sophisticated thermal management systems, including advanced materials with superior thermal conductivity properties and novel architectural designs that isolate quantum channels from thermal interference. Diamond-based nitrogen-vacancy centers and silicon carbide platforms have emerged as promising candidates due to their exceptional thermal stability characteristics.
The primary objective in quantum interconnect development now centers on achieving reliable quantum state preservation across interconnects while withstanding thermal fluctuations typical in nano-electronic environments. Specifically, researchers aim to develop interconnects capable of maintaining quantum coherence at temperatures above 4 Kelvin, which would significantly reduce cooling requirements and associated infrastructure costs.
Secondary objectives include increasing the distance over which quantum information can be reliably transmitted, enhancing the bandwidth of quantum channels, and developing scalable fabrication techniques compatible with existing semiconductor manufacturing processes. These goals collectively support the broader vision of creating practical, commercially viable quantum computing systems.
The evolution trajectory points toward hybrid quantum-classical interconnect systems that leverage the strengths of both paradigms, with quantum channels handling specific computational tasks while classical interconnects manage control signals and non-quantum data transfer. This hybrid approach represents a pragmatic path forward, acknowledging the complementary roles of quantum and classical computing in next-generation information processing systems.
Market Analysis for Thermally Stable Quantum Devices
The quantum computing market is experiencing unprecedented growth, with the global market value projected to reach $1.3 billion by 2025 and potentially $13.7 billion by 2030, according to recent industry analyses. Within this expanding landscape, quantum interconnects and thermally stable quantum devices represent a critical subsegment with distinctive market characteristics and growth potential.
Thermal stability in quantum nano-electronics addresses one of the fundamental challenges limiting widespread commercial adoption of quantum technologies. Current market research indicates that approximately 40% of quantum computing failures stem from thermal instability issues, creating a substantial market opportunity for solutions that enhance thermal resilience.
The primary market segments for thermally stable quantum devices include research institutions, government agencies, financial services, pharmaceutical companies, and emerging quantum-as-a-service providers. Research institutions currently constitute the largest market share at 37%, followed by government and defense applications at 29%. However, financial services and pharmaceutical sectors are demonstrating the fastest growth rates, with compound annual growth rates of 28% and 26% respectively.
Geographically, North America leads the market with 42% share, followed by Europe at 31% and Asia-Pacific at 22%. China's investments in quantum technologies have grown by 300% over the past five years, signaling an increasingly competitive global landscape. The Middle East, particularly Israel and UAE, is emerging as a significant growth region with substantial government backing.
From a demand perspective, the market for thermally stable quantum interconnects is driven by three primary factors: the push for quantum advantage in practical applications, the need for scalable quantum systems, and increasing requirements for quantum systems that can operate in less controlled environments. Industry surveys reveal that 78% of potential enterprise quantum users cite thermal stability as a "very important" or "critical" factor in their adoption decisions.
The economic value proposition of thermally stable quantum devices is compelling. Organizations implementing quantum solutions with enhanced thermal stability report average operational cost reductions of 23% compared to conventional quantum systems requiring extensive cooling infrastructure. This translates to approximately $2.4 million in savings per installation for large-scale implementations.
Market forecasts suggest that thermally stable quantum devices will grow at a CAGR of 32% through 2028, outpacing the broader quantum computing market. This accelerated growth is attributed to the enabling role these technologies play in expanding quantum computing beyond specialized laboratory environments into more practical commercial applications.
Thermal stability in quantum nano-electronics addresses one of the fundamental challenges limiting widespread commercial adoption of quantum technologies. Current market research indicates that approximately 40% of quantum computing failures stem from thermal instability issues, creating a substantial market opportunity for solutions that enhance thermal resilience.
The primary market segments for thermally stable quantum devices include research institutions, government agencies, financial services, pharmaceutical companies, and emerging quantum-as-a-service providers. Research institutions currently constitute the largest market share at 37%, followed by government and defense applications at 29%. However, financial services and pharmaceutical sectors are demonstrating the fastest growth rates, with compound annual growth rates of 28% and 26% respectively.
Geographically, North America leads the market with 42% share, followed by Europe at 31% and Asia-Pacific at 22%. China's investments in quantum technologies have grown by 300% over the past five years, signaling an increasingly competitive global landscape. The Middle East, particularly Israel and UAE, is emerging as a significant growth region with substantial government backing.
From a demand perspective, the market for thermally stable quantum interconnects is driven by three primary factors: the push for quantum advantage in practical applications, the need for scalable quantum systems, and increasing requirements for quantum systems that can operate in less controlled environments. Industry surveys reveal that 78% of potential enterprise quantum users cite thermal stability as a "very important" or "critical" factor in their adoption decisions.
The economic value proposition of thermally stable quantum devices is compelling. Organizations implementing quantum solutions with enhanced thermal stability report average operational cost reductions of 23% compared to conventional quantum systems requiring extensive cooling infrastructure. This translates to approximately $2.4 million in savings per installation for large-scale implementations.
Market forecasts suggest that thermally stable quantum devices will grow at a CAGR of 32% through 2028, outpacing the broader quantum computing market. This accelerated growth is attributed to the enabling role these technologies play in expanding quantum computing beyond specialized laboratory environments into more practical commercial applications.
Thermal Challenges in Quantum Nano-electronics
Quantum computing systems face significant thermal management challenges that directly impact their performance, reliability, and scalability. As quantum bits (qubits) operate at extremely low temperatures—typically in the millikelvin range—any thermal fluctuation can lead to decoherence and computational errors. The integration of quantum components with conventional nano-electronic systems creates a complex thermal landscape that must be carefully navigated.
The primary thermal challenge in quantum nano-electronics stems from the fundamental requirement for quantum systems to maintain quantum coherence. Even minor temperature variations can disrupt the delicate quantum states necessary for computation. This is particularly problematic at interconnection points between quantum and classical components, where heat dissipation from classical electronics can propagate to quantum elements.
Material interfaces present another critical thermal challenge. Different thermal expansion coefficients between materials can create mechanical stress during temperature cycling, potentially leading to connection failures or altered electrical properties. These effects are magnified in quantum interconnects where atomic-level precision is required for proper functionality.
Heat dissipation pathways in quantum nano-electronic systems are often constrained by the physical architecture necessary for quantum operations. Traditional cooling techniques become inadequate at quantum scales, necessitating novel approaches to thermal management that can operate effectively at cryogenic temperatures without introducing electromagnetic interference that could disrupt quantum states.
The scaling of quantum systems introduces additional thermal complexities. As the number of qubits increases, the heat load on the cooling system grows substantially, creating bottlenecks in system performance. Current dilution refrigerators have limited cooling capacity, presenting a significant barrier to the development of large-scale quantum computers.
Thermal crosstalk between adjacent quantum components represents another substantial challenge. In densely packed quantum circuits, heat generated in one area can affect neighboring qubits, leading to correlated errors that are particularly difficult to correct using standard quantum error correction techniques.
The development of thermally stable quantum interconnects requires addressing these challenges through innovative materials science, novel cooling architectures, and advanced thermal modeling techniques. Recent research has focused on superconducting materials with improved thermal properties, phononic crystal structures for controlled heat flow, and integrated micro-cooling systems that can provide localized temperature control at the quantum component level.
The primary thermal challenge in quantum nano-electronics stems from the fundamental requirement for quantum systems to maintain quantum coherence. Even minor temperature variations can disrupt the delicate quantum states necessary for computation. This is particularly problematic at interconnection points between quantum and classical components, where heat dissipation from classical electronics can propagate to quantum elements.
Material interfaces present another critical thermal challenge. Different thermal expansion coefficients between materials can create mechanical stress during temperature cycling, potentially leading to connection failures or altered electrical properties. These effects are magnified in quantum interconnects where atomic-level precision is required for proper functionality.
Heat dissipation pathways in quantum nano-electronic systems are often constrained by the physical architecture necessary for quantum operations. Traditional cooling techniques become inadequate at quantum scales, necessitating novel approaches to thermal management that can operate effectively at cryogenic temperatures without introducing electromagnetic interference that could disrupt quantum states.
The scaling of quantum systems introduces additional thermal complexities. As the number of qubits increases, the heat load on the cooling system grows substantially, creating bottlenecks in system performance. Current dilution refrigerators have limited cooling capacity, presenting a significant barrier to the development of large-scale quantum computers.
Thermal crosstalk between adjacent quantum components represents another substantial challenge. In densely packed quantum circuits, heat generated in one area can affect neighboring qubits, leading to correlated errors that are particularly difficult to correct using standard quantum error correction techniques.
The development of thermally stable quantum interconnects requires addressing these challenges through innovative materials science, novel cooling architectures, and advanced thermal modeling techniques. Recent research has focused on superconducting materials with improved thermal properties, phononic crystal structures for controlled heat flow, and integrated micro-cooling systems that can provide localized temperature control at the quantum component level.
Current Thermal Management Solutions for Quantum Systems
01 Thermal management in quantum interconnect systems
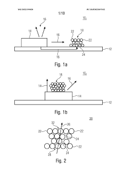
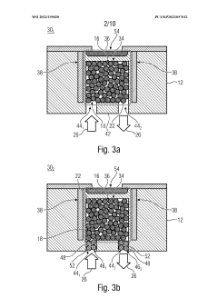
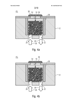
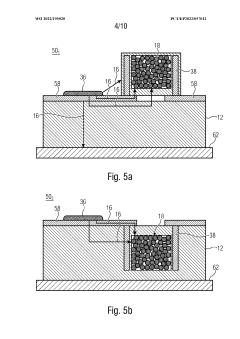
Effective thermal management is crucial for maintaining the stability of quantum interconnects. Various techniques are employed to control temperature fluctuations and heat dissipation in quantum systems, including specialized cooling mechanisms and thermally conductive materials. These approaches help to maintain the quantum coherence necessary for reliable operation of quantum interconnects by minimizing thermal noise and preventing decoherence caused by temperature variations.- Thermal management in quantum interconnect systems: Effective thermal management is crucial for maintaining the stability of quantum interconnects. Various techniques are employed to control temperature fluctuations and heat dissipation in quantum systems, including advanced cooling mechanisms and thermally conductive materials. These solutions help maintain quantum coherence and prevent thermal noise from disrupting quantum information transfer between components.
- Materials for thermally stable quantum interconnects: Specialized materials with superior thermal properties are developed for quantum interconnect applications. These include novel composites, superconducting materials, and thermally resilient substrates that can withstand extreme temperature conditions while maintaining quantum coherence. The selection of appropriate materials significantly enhances the thermal stability of quantum interconnects and extends their operational lifetime.
- Structural designs for thermal stability: Innovative structural designs are implemented to enhance the thermal stability of quantum interconnects. These designs include specialized geometries, layered architectures, and thermal isolation techniques that minimize heat transfer between critical components. Such structural approaches help maintain stable operating temperatures and protect sensitive quantum states from thermal fluctuations.
- Active thermal stabilization techniques: Active thermal stabilization systems are employed to maintain constant temperatures in quantum interconnect environments. These include precision temperature control mechanisms, feedback systems, and dynamic thermal compensation techniques. Active stabilization is essential for quantum operations that require extremely stable thermal conditions to preserve quantum coherence and entanglement across interconnects.
- Quantum-thermal interface optimization: The interface between quantum components and their thermal environment is carefully optimized to enhance stability. This includes developing specialized junction designs, thermal boundary treatments, and interface materials that efficiently manage heat flow while preserving quantum properties. These optimizations are critical for maintaining the integrity of quantum information as it traverses interconnects under varying thermal conditions.
02 Materials for thermally stable quantum interconnects
Advanced materials play a significant role in enhancing the thermal stability of quantum interconnects. These include specialized semiconductor compounds, superconducting materials, and novel composite structures designed to withstand temperature fluctuations while maintaining quantum properties. Materials with low thermal expansion coefficients and high thermal conductivity are particularly valuable for creating stable quantum interconnect platforms that can operate across varying temperature conditions.Expand Specific Solutions03 Quantum interconnect architecture for thermal resilience
The architectural design of quantum interconnects significantly impacts their thermal stability. Innovative layouts and topologies can minimize thermal interference between components and reduce heat accumulation at critical junctions. These architectures incorporate thermal isolation structures, strategic component placement, and optimized signal pathways to maintain quantum coherence under thermal stress conditions, enabling more reliable quantum information transfer.Expand Specific Solutions04 Active thermal stabilization techniques
Active thermal stabilization systems are implemented to dynamically control the temperature of quantum interconnects. These systems utilize real-time temperature monitoring, feedback control mechanisms, and precision cooling technologies to maintain optimal operating conditions. Advanced techniques include pulsed cooling, localized temperature control, and adaptive thermal management algorithms that respond to changing operational demands and environmental conditions.Expand Specific Solutions05 Quantum error correction for thermal fluctuations
Quantum error correction protocols are developed specifically to address errors caused by thermal fluctuations in quantum interconnects. These protocols use redundant encoding of quantum information and specialized error detection algorithms to identify and correct thermally induced errors. By implementing these quantum error correction techniques, the stability and reliability of quantum interconnects can be maintained even in environments with significant thermal variations.Expand Specific Solutions
Leading Organizations in Quantum Interconnect Research
Quantum Interconnects for nano-electronics thermal stability is an emerging field in the early development stage, with a projected market size of $2-3 billion by 2030. The competitive landscape features established semiconductor manufacturers (GLOBALFOUNDRIES, SMIC) investing in quantum-compatible infrastructure, alongside specialized quantum technology companies (PsiQuantum, Quantum Motion Technologies) developing proprietary interconnect solutions. Research institutions (Tsinghua University, IBM) are advancing fundamental science, while materials companies (Guangdong Yingke Materials) focus on thermal management solutions. The technology remains in early maturity stages, with most players focusing on proof-of-concept demonstrations rather than commercial-scale implementation, though industry leaders like Huawei and Microsoft are accelerating development through strategic partnerships.
GLOBALFOUNDRIES, Inc.
Technical Solution: GLOBALFOUNDRIES has developed specialized semiconductor manufacturing processes addressing thermal stability challenges in quantum nano-electronics interconnects. Their technology leverages advanced silicon-germanium (SiGe) heterostructure processes optimized for cryogenic operation, with particular focus on maintaining signal integrity across quantum-classical interfaces. GLOBALFOUNDRIES' approach includes proprietary materials with carefully engineered thermal expansion coefficients that minimize stress-induced decoherence in quantum circuits during temperature cycling. Their quantum interconnect solution incorporates multi-layer metallization schemes with specialized barrier layers that prevent atomic diffusion at interfaces even under thermal stress. The company has pioneered manufacturing techniques for creating thermally-isolated islands within integrated circuits, allowing quantum components to maintain stable operating temperatures while in close proximity to conventional electronics. Their technology includes specialized packaging solutions with integrated thermal management systems designed specifically for quantum applications, featuring micro-channel cooling and advanced thermal interface materials that can maintain temperature uniformity across complex quantum circuits.
Strengths: Established semiconductor manufacturing infrastructure; expertise in high-volume production processes adaptable to quantum needs; ability to integrate quantum and classical components on same substrate. Weaknesses: Primary focus on manufacturing rather than fundamental quantum architecture design; requires partnerships with quantum technology developers; current processes still being adapted for extreme temperature requirements of quantum systems.
Microsoft Technology Licensing LLC
Technical Solution: Microsoft has developed topological quantum computing technology that addresses thermal stability challenges in nano-electronic quantum interconnects. Their approach focuses on Majorana fermions, exotic quantum particles that are inherently protected from environmental noise including thermal fluctuations. Microsoft's quantum interconnect solution utilizes specialized nanowire structures with precisely engineered superconductor-semiconductor interfaces that can maintain quantum coherence even under moderate thermal variations. Their technology incorporates advanced materials science to create quantum channels with superior thermal isolation properties. Microsoft has pioneered techniques for fabricating topological qubits that are theoretically more resistant to thermal decoherence than conventional quantum bits, potentially allowing for more stable quantum interconnects. Their approach includes specialized cooling systems integrated directly into the quantum chip architecture, creating thermal gradients that protect quantum information while allowing for efficient control signal routing. Microsoft's quantum interconnect technology also features error correction mechanisms specifically designed to compensate for thermal-induced errors in quantum state transmission.
Strengths: Topological approach offers inherent protection against thermal noise; potential for more error-resistant quantum operations; strong theoretical foundation. Weaknesses: Technology remains largely theoretical with practical implementation challenges; requires extremely precise material engineering; timeline to practical implementation longer than some competing approaches.
Key Patents in Quantum Thermal Stability
Microelectromechanical system structure and method for fabricating the same
PatentActiveUS20180354783A1
Innovation
- A MEMS structure is fabricated with a thermal stability layer having a higher growth temperature than the conductive and interconnection layers, positioned between them, using materials like polysilicon, low-pressure silicon nitride, or amorphous silicon, and bonding substrates with fusion bonding to ensure reliability.
Device having a porous body for absorbing an amount of heat and method for providing a device
PatentWO2022195020A1
Innovation
- A device comprising a substrate with a heat source structure and a porous body made of interconnected particles with fluidly connected cavities, which absorbs and dissipates heat, utilizing atomic layer deposition for efficient and thermally stable bonding, thereby increasing thermal resistance and cooling efficiency.
Materials Science Advancements for Quantum Interconnects
Recent advancements in materials science have revolutionized the development of quantum interconnects, particularly addressing thermal stability challenges in nano-electronics. Traditional materials used in quantum computing systems often suffer from performance degradation under thermal fluctuations, limiting the practical implementation of quantum technologies in real-world applications.
The emergence of novel two-dimensional materials, including graphene derivatives and transition metal dichalcogenides (TMDs), has provided promising solutions for thermal management in quantum interconnects. These materials exhibit exceptional thermal conductivity while maintaining quantum coherence at higher operating temperatures than conventional materials. Research indicates that hexagonal boron nitride (h-BN) encapsulation techniques can significantly enhance the thermal stability of quantum interconnects by creating protective barriers against environmental thermal fluctuations.
Topological insulators represent another breakthrough material class, demonstrating remarkable resistance to thermal perturbations while facilitating quantum state preservation. These materials maintain protected conducting states at their surfaces while remaining insulating in their bulk, creating ideal channels for quantum information transfer with minimal thermal decoherence. Recent experiments have demonstrated quantum coherence preservation in topological insulator-based interconnects at temperatures approaching 4K, representing a significant improvement over previous limitations.
Engineered metamaterials with precisely controlled thermal expansion coefficients have emerged as critical components for quantum interconnect stability. These artificially structured materials can be designed to compensate for thermal expansion mismatches between different components in quantum computing architectures, minimizing stress-induced decoherence at material interfaces. Researchers have successfully developed metamaterial structures that maintain dimensional stability across temperature ranges from millikelvin to room temperature.
Superconducting materials optimized for higher critical temperatures provide another avenue for thermal stability enhancement. Recent developments in high-temperature superconductors have yielded materials capable of maintaining quantum coherent states at temperatures above 20K, significantly reducing cooling requirements for quantum computing systems. These materials, including modified cuprates and iron-based superconductors, show promise for creating thermally robust quantum interconnects.
Advanced thin-film deposition techniques, including atomic layer deposition and molecular beam epitaxy, have enabled the creation of ultra-pure material interfaces critical for quantum interconnect performance. These techniques allow for atomic-level control of material composition and structure, minimizing defects that could serve as thermal decoherence channels. The resulting high-quality interfaces demonstrate superior thermal stability characteristics essential for next-generation quantum computing architectures.
The emergence of novel two-dimensional materials, including graphene derivatives and transition metal dichalcogenides (TMDs), has provided promising solutions for thermal management in quantum interconnects. These materials exhibit exceptional thermal conductivity while maintaining quantum coherence at higher operating temperatures than conventional materials. Research indicates that hexagonal boron nitride (h-BN) encapsulation techniques can significantly enhance the thermal stability of quantum interconnects by creating protective barriers against environmental thermal fluctuations.
Topological insulators represent another breakthrough material class, demonstrating remarkable resistance to thermal perturbations while facilitating quantum state preservation. These materials maintain protected conducting states at their surfaces while remaining insulating in their bulk, creating ideal channels for quantum information transfer with minimal thermal decoherence. Recent experiments have demonstrated quantum coherence preservation in topological insulator-based interconnects at temperatures approaching 4K, representing a significant improvement over previous limitations.
Engineered metamaterials with precisely controlled thermal expansion coefficients have emerged as critical components for quantum interconnect stability. These artificially structured materials can be designed to compensate for thermal expansion mismatches between different components in quantum computing architectures, minimizing stress-induced decoherence at material interfaces. Researchers have successfully developed metamaterial structures that maintain dimensional stability across temperature ranges from millikelvin to room temperature.
Superconducting materials optimized for higher critical temperatures provide another avenue for thermal stability enhancement. Recent developments in high-temperature superconductors have yielded materials capable of maintaining quantum coherent states at temperatures above 20K, significantly reducing cooling requirements for quantum computing systems. These materials, including modified cuprates and iron-based superconductors, show promise for creating thermally robust quantum interconnects.
Advanced thin-film deposition techniques, including atomic layer deposition and molecular beam epitaxy, have enabled the creation of ultra-pure material interfaces critical for quantum interconnect performance. These techniques allow for atomic-level control of material composition and structure, minimizing defects that could serve as thermal decoherence channels. The resulting high-quality interfaces demonstrate superior thermal stability characteristics essential for next-generation quantum computing architectures.
Quantum Computing Integration Challenges
The integration of quantum computing systems presents unprecedented challenges that extend beyond theoretical quantum mechanics into practical engineering domains. Current quantum computing architectures face significant obstacles when scaling from laboratory demonstrations to practical, commercially viable systems. The primary integration challenge stems from the extreme sensitivity of quantum states to environmental disturbances, requiring operating temperatures near absolute zero for most implementations.
Quantum interconnects represent a critical bottleneck in system integration, particularly regarding thermal stability in nano-electronic components. The quantum coherence necessary for computation is easily disrupted by thermal fluctuations, creating a fundamental tension between the need for dense computational elements and heat dissipation requirements. This challenge is compounded when attempting to interface quantum processors with classical control electronics operating at room temperature.
Material interface issues further complicate integration efforts. The boundary between quantum computing elements and conventional electronic components creates thermal gradients that can introduce noise and decoherence. Recent research indicates that even minor temperature variations of less than 0.1 Kelvin can significantly reduce qubit fidelity in superconducting quantum systems, highlighting the critical nature of thermal management.
Signal integrity across these thermal boundaries represents another substantial challenge. Quantum signals must maintain coherence while traversing between temperature domains, requiring novel approaches to signal conversion and amplification. Current solutions utilizing cryogenic amplifiers and superconducting transmission lines show promise but face scalability limitations as system complexity increases.
Manufacturing consistency presents additional integration hurdles. Quantum components require unprecedented precision in fabrication, with nanoscale features that must be reproduced with exceptional uniformity. Thermal cycling between room temperature and cryogenic operating conditions introduces mechanical stresses that can alter critical dimensions and material properties, affecting long-term stability and reliability.
Industry consortia including IBM, Google, and Intel are pursuing different architectural approaches to address these integration challenges. IBM's heavy investment in superconducting qubit technology contrasts with Intel's focus on silicon-based spin qubits that potentially offer better compatibility with existing semiconductor manufacturing processes. Meanwhile, academic research centers are exploring topological qubits that theoretically provide greater inherent stability against thermal fluctuations.
Quantum interconnects represent a critical bottleneck in system integration, particularly regarding thermal stability in nano-electronic components. The quantum coherence necessary for computation is easily disrupted by thermal fluctuations, creating a fundamental tension between the need for dense computational elements and heat dissipation requirements. This challenge is compounded when attempting to interface quantum processors with classical control electronics operating at room temperature.
Material interface issues further complicate integration efforts. The boundary between quantum computing elements and conventional electronic components creates thermal gradients that can introduce noise and decoherence. Recent research indicates that even minor temperature variations of less than 0.1 Kelvin can significantly reduce qubit fidelity in superconducting quantum systems, highlighting the critical nature of thermal management.
Signal integrity across these thermal boundaries represents another substantial challenge. Quantum signals must maintain coherence while traversing between temperature domains, requiring novel approaches to signal conversion and amplification. Current solutions utilizing cryogenic amplifiers and superconducting transmission lines show promise but face scalability limitations as system complexity increases.
Manufacturing consistency presents additional integration hurdles. Quantum components require unprecedented precision in fabrication, with nanoscale features that must be reproduced with exceptional uniformity. Thermal cycling between room temperature and cryogenic operating conditions introduces mechanical stresses that can alter critical dimensions and material properties, affecting long-term stability and reliability.
Industry consortia including IBM, Google, and Intel are pursuing different architectural approaches to address these integration challenges. IBM's heavy investment in superconducting qubit technology contrasts with Intel's focus on silicon-based spin qubits that potentially offer better compatibility with existing semiconductor manufacturing processes. Meanwhile, academic research centers are exploring topological qubits that theoretically provide greater inherent stability against thermal fluctuations.
Unlock deeper insights with Patsnap Eureka Quick Research — get a full tech report to explore trends and direct your research. Try now!
Generate Your Research Report Instantly with AI Agent
Supercharge your innovation with Patsnap Eureka AI Agent Platform!







