How Quantum Interconnects Transform Next-Gen Computing Infrastructure
SEP 29, 20259 MIN READ
 Generate Your Research Report Instantly with AI Agent 
 Patsnap Eureka helps you evaluate technical feasibility & market potential. 
Quantum Interconnect Evolution and Objectives
Quantum interconnects represent a critical frontier in the evolution of quantum computing infrastructure, bridging the gap between isolated quantum processing units and fully integrated quantum systems. The development trajectory of quantum interconnects has progressed from theoretical concepts in the early 2000s to experimental demonstrations in the 2010s, and now toward practical implementations in the 2020s. This evolution mirrors the classical computing transition from standalone processors to networked systems, albeit with unique quantum challenges.
The fundamental objective of quantum interconnects is to facilitate the reliable transfer of quantum information between physically separated quantum systems while preserving quantum coherence and entanglement. This capability is essential for scaling quantum computing beyond the limitations of single-processor architectures, enabling distributed quantum computing paradigms that can overcome current qubit count and error correction constraints.
Early quantum interconnect research focused primarily on photonic links for long-distance quantum communication. However, the scope has expanded to include short-range interconnects within quantum computing systems, addressing the critical need for modular scalability. These interconnects must operate across different physical implementations of qubits, including superconducting circuits, trapped ions, neutral atoms, and spin qubits in semiconductors.
Technical objectives for next-generation quantum interconnects include achieving high-fidelity quantum state transfer with error rates below fault-tolerance thresholds, typically requiring fidelities exceeding 99%. Additionally, interconnect technologies must demonstrate sufficient bandwidth to support complex quantum algorithms and error correction protocols, while maintaining compatibility with cryogenic operating environments common in quantum computing systems.
The development roadmap for quantum interconnects encompasses several parallel tracks: enhancing photonic links for both long and short distances, developing hybrid quantum-classical interfaces, creating quantum memory buffers for synchronization, and establishing quantum repeater technologies for extended networks. Each track presents unique technical challenges but contributes to the overarching goal of creating a quantum computing infrastructure capable of distributed processing.
Recent breakthroughs in quantum transduction—converting quantum information between different physical forms—have accelerated progress in this field. These advances enable heterogeneous quantum systems to communicate effectively, potentially allowing specialized quantum processors to work in concert through appropriate interconnect technologies.
The ultimate vision for quantum interconnects extends beyond simply linking quantum processors to enabling a quantum internet that connects quantum computers, sensors, and communication systems into a cohesive infrastructure. This quantum-enabled infrastructure promises computational capabilities far beyond current classical systems, with transformative implications for fields ranging from materials science to cryptography and artificial intelligence.
The fundamental objective of quantum interconnects is to facilitate the reliable transfer of quantum information between physically separated quantum systems while preserving quantum coherence and entanglement. This capability is essential for scaling quantum computing beyond the limitations of single-processor architectures, enabling distributed quantum computing paradigms that can overcome current qubit count and error correction constraints.
Early quantum interconnect research focused primarily on photonic links for long-distance quantum communication. However, the scope has expanded to include short-range interconnects within quantum computing systems, addressing the critical need for modular scalability. These interconnects must operate across different physical implementations of qubits, including superconducting circuits, trapped ions, neutral atoms, and spin qubits in semiconductors.
Technical objectives for next-generation quantum interconnects include achieving high-fidelity quantum state transfer with error rates below fault-tolerance thresholds, typically requiring fidelities exceeding 99%. Additionally, interconnect technologies must demonstrate sufficient bandwidth to support complex quantum algorithms and error correction protocols, while maintaining compatibility with cryogenic operating environments common in quantum computing systems.
The development roadmap for quantum interconnects encompasses several parallel tracks: enhancing photonic links for both long and short distances, developing hybrid quantum-classical interfaces, creating quantum memory buffers for synchronization, and establishing quantum repeater technologies for extended networks. Each track presents unique technical challenges but contributes to the overarching goal of creating a quantum computing infrastructure capable of distributed processing.
Recent breakthroughs in quantum transduction—converting quantum information between different physical forms—have accelerated progress in this field. These advances enable heterogeneous quantum systems to communicate effectively, potentially allowing specialized quantum processors to work in concert through appropriate interconnect technologies.
The ultimate vision for quantum interconnects extends beyond simply linking quantum processors to enabling a quantum internet that connects quantum computers, sensors, and communication systems into a cohesive infrastructure. This quantum-enabled infrastructure promises computational capabilities far beyond current classical systems, with transformative implications for fields ranging from materials science to cryptography and artificial intelligence.
Market Demand Analysis for Quantum Computing Infrastructure
The quantum computing market is experiencing unprecedented growth, with the global market value projected to reach $1.7 billion by 2026, growing at a CAGR of 30.2% from 2021. This surge is primarily driven by increasing demand for advanced computational capabilities across various sectors including pharmaceuticals, finance, cybersecurity, and artificial intelligence. Quantum interconnects, as critical components enabling quantum systems to communicate effectively, represent a significant portion of this expanding market.
Enterprise demand for quantum computing infrastructure is particularly strong in the financial services sector, where quantum algorithms offer potential breakthroughs in portfolio optimization, risk assessment, and fraud detection. Major financial institutions have already established dedicated quantum research teams and are actively seeking quantum solutions that can integrate with their existing systems, highlighting the need for robust quantum interconnects.
In the pharmaceutical and healthcare industries, the demand stems from the potential of quantum computing to revolutionize drug discovery and genomic analysis. Companies in this sector are increasingly investing in quantum infrastructure to accelerate R&D processes, with quantum interconnects being essential for scaling these applications to commercially viable levels.
Government and defense sectors worldwide are also significant drivers of market demand, with substantial investments in quantum computing infrastructure for national security applications. These investments often prioritize secure quantum communication networks, where quantum interconnects play a pivotal role in ensuring data integrity and transmission security.
The market for quantum interconnects specifically is characterized by high growth potential but remains in its nascent stage. Current demand is concentrated among research institutions, national laboratories, and early-adopter corporations with substantial R&D budgets. As quantum computing transitions from research to practical applications, the demand for standardized, reliable quantum interconnects is expected to increase dramatically.
Regional analysis reveals that North America currently leads in quantum computing infrastructure investments, followed by Europe and Asia-Pacific. China's significant government backing for quantum technologies is rapidly accelerating market growth in the Asia-Pacific region, creating a competitive landscape for quantum interconnect technologies.
Customer requirements for quantum interconnects are evolving rapidly, with key demands including improved coherence times, reduced error rates, and compatibility with existing classical computing infrastructure. The ability to maintain quantum states during information transfer remains a critical technical challenge that directly impacts market adoption rates.
Enterprise demand for quantum computing infrastructure is particularly strong in the financial services sector, where quantum algorithms offer potential breakthroughs in portfolio optimization, risk assessment, and fraud detection. Major financial institutions have already established dedicated quantum research teams and are actively seeking quantum solutions that can integrate with their existing systems, highlighting the need for robust quantum interconnects.
In the pharmaceutical and healthcare industries, the demand stems from the potential of quantum computing to revolutionize drug discovery and genomic analysis. Companies in this sector are increasingly investing in quantum infrastructure to accelerate R&D processes, with quantum interconnects being essential for scaling these applications to commercially viable levels.
Government and defense sectors worldwide are also significant drivers of market demand, with substantial investments in quantum computing infrastructure for national security applications. These investments often prioritize secure quantum communication networks, where quantum interconnects play a pivotal role in ensuring data integrity and transmission security.
The market for quantum interconnects specifically is characterized by high growth potential but remains in its nascent stage. Current demand is concentrated among research institutions, national laboratories, and early-adopter corporations with substantial R&D budgets. As quantum computing transitions from research to practical applications, the demand for standardized, reliable quantum interconnects is expected to increase dramatically.
Regional analysis reveals that North America currently leads in quantum computing infrastructure investments, followed by Europe and Asia-Pacific. China's significant government backing for quantum technologies is rapidly accelerating market growth in the Asia-Pacific region, creating a competitive landscape for quantum interconnect technologies.
Customer requirements for quantum interconnects are evolving rapidly, with key demands including improved coherence times, reduced error rates, and compatibility with existing classical computing infrastructure. The ability to maintain quantum states during information transfer remains a critical technical challenge that directly impacts market adoption rates.
Current Quantum Interconnect Technologies and Barriers
Quantum interconnect technologies currently exist in various stages of development, with several approaches showing promise for enabling quantum computing infrastructure. Optical interconnects represent the most mature technology, utilizing photons to transfer quantum information between quantum processing units. These systems leverage existing fiber optic infrastructure but face challenges in maintaining quantum coherence over long distances and achieving high-fidelity quantum state transfer. Current implementations typically achieve coherence distances of several kilometers in specialized fiber, though with significant signal degradation requiring quantum repeaters.
Superconducting interconnects offer another viable approach, particularly for connecting superconducting qubits within cryogenic environments. These interconnects utilize microwave photons traveling through superconducting transmission lines, providing low-loss quantum information transfer. However, they require ultra-low temperatures (below 100 mK) to operate effectively, presenting significant engineering challenges for scaling and integration with room-temperature control systems.
Spin-based interconnects represent an emerging solution that uses electron or nuclear spins as quantum information carriers. While promising for solid-state quantum computing platforms, these technologies currently suffer from limited coherence times and difficulties in precisely controlling spin states during information transfer. Recent advances have improved coherence times to milliseconds in certain materials, but practical implementation remains challenging.
The primary technical barriers facing quantum interconnects include quantum decoherence, where quantum states deteriorate due to environmental interactions; fidelity limitations in state transfer protocols; and integration challenges between different quantum computing modalities. Current error rates in quantum interconnects typically exceed the threshold required for fault-tolerant quantum computing, necessitating significant improvements in error correction or physical performance.
Scalability presents another major hurdle, as most current technologies demonstrate functionality only at laboratory scales with few-qubit systems. The transition to practical quantum networks requires interconnect technologies capable of supporting hundreds or thousands of qubits while maintaining quantum coherence and information fidelity.
Interface compatibility between different quantum computing technologies (superconducting, trapped ion, photonic, etc.) remains problematic, with no standardized approach for quantum information exchange between disparate systems. This heterogeneity complicates the development of comprehensive quantum computing infrastructures that might leverage the strengths of different quantum technologies.
Engineering challenges related to size, power requirements, and operating conditions further constrain current quantum interconnect technologies. Most existing solutions require specialized environments (extreme cold, vacuum systems, or electromagnetic isolation) that limit practical deployment outside laboratory settings.
Superconducting interconnects offer another viable approach, particularly for connecting superconducting qubits within cryogenic environments. These interconnects utilize microwave photons traveling through superconducting transmission lines, providing low-loss quantum information transfer. However, they require ultra-low temperatures (below 100 mK) to operate effectively, presenting significant engineering challenges for scaling and integration with room-temperature control systems.
Spin-based interconnects represent an emerging solution that uses electron or nuclear spins as quantum information carriers. While promising for solid-state quantum computing platforms, these technologies currently suffer from limited coherence times and difficulties in precisely controlling spin states during information transfer. Recent advances have improved coherence times to milliseconds in certain materials, but practical implementation remains challenging.
The primary technical barriers facing quantum interconnects include quantum decoherence, where quantum states deteriorate due to environmental interactions; fidelity limitations in state transfer protocols; and integration challenges between different quantum computing modalities. Current error rates in quantum interconnects typically exceed the threshold required for fault-tolerant quantum computing, necessitating significant improvements in error correction or physical performance.
Scalability presents another major hurdle, as most current technologies demonstrate functionality only at laboratory scales with few-qubit systems. The transition to practical quantum networks requires interconnect technologies capable of supporting hundreds or thousands of qubits while maintaining quantum coherence and information fidelity.
Interface compatibility between different quantum computing technologies (superconducting, trapped ion, photonic, etc.) remains problematic, with no standardized approach for quantum information exchange between disparate systems. This heterogeneity complicates the development of comprehensive quantum computing infrastructures that might leverage the strengths of different quantum technologies.
Engineering challenges related to size, power requirements, and operating conditions further constrain current quantum interconnect technologies. Most existing solutions require specialized environments (extreme cold, vacuum systems, or electromagnetic isolation) that limit practical deployment outside laboratory settings.
Current Quantum Interconnect Architectures
- 01 Quantum communication networks and interconnectsQuantum interconnects enable secure communication by leveraging quantum properties like entanglement to create networks resistant to eavesdropping. These systems integrate quantum key distribution (QKD) protocols with traditional network infrastructure to establish secure communication channels. The technology transforms data transmission by enabling quantum-secured communications across various distances, from local networks to satellite-based global systems.- Quantum communication networks and interconnects: Quantum interconnects enable secure communication by leveraging quantum properties like entanglement for transmitting information. These systems integrate quantum key distribution protocols to establish secure connections between quantum nodes, allowing for tamper-proof data transmission. The technology transforms traditional networks by creating quantum channels that are theoretically immune to eavesdropping, making them ideal for high-security applications in telecommunications and data transfer.
- Quantum computing architecture integration: Quantum interconnects serve as critical bridges between quantum processing units and classical computing systems, enabling hybrid quantum-classical architectures. These interconnects transform computing capabilities by facilitating the exchange of quantum states between different quantum processors while maintaining coherence. The technology addresses challenges in scaling quantum systems by providing efficient interfaces that connect multiple quantum computing elements into unified, more powerful processing systems.
- Quantum sensing and measurement systems: Quantum interconnects transform sensing capabilities by linking quantum sensors into networked systems with enhanced precision. These interconnects enable the distribution of entangled states across multiple sensing nodes, allowing for coordinated measurements that exceed classical limits. The technology facilitates quantum-enhanced sensing applications in fields ranging from medical imaging to gravitational wave detection, providing unprecedented measurement sensitivity and accuracy through quantum correlation effects.
- Photonic quantum interconnect technologies: Photonic-based quantum interconnects utilize light for transmitting quantum information between distant nodes. These systems employ specialized optical components to maintain quantum coherence during transmission, including waveguides, frequency converters, and quantum memories. The technology transforms quantum networking by enabling long-distance quantum state transfer with minimal decoherence, creating the foundation for scalable quantum networks that can span significant geographical distances.
- Quantum error correction and fault tolerance: Quantum interconnects incorporate error correction mechanisms to preserve quantum information during transmission between quantum systems. These technologies transform quantum communication reliability by implementing fault-tolerant protocols that detect and correct errors arising from environmental noise and decoherence. The systems employ specialized encoding schemes and error syndrome measurements to ensure the integrity of quantum information, enabling robust quantum networks that can operate reliably in real-world conditions.
 
- 02 Quantum computing architecture integrationQuantum interconnects serve as critical bridges between quantum processing units and classical computing systems, enabling hybrid quantum-classical architectures. These interconnects transform computing capabilities by facilitating the exchange of information between different quantum computing paradigms (superconducting, trapped ion, photonic) and traditional systems. The technology addresses challenges in quantum state preservation during data transfer and enables scalable quantum computing systems.Expand Specific Solutions
- 03 Quantum optical technologies for interconnectionOptical-based quantum interconnects utilize photonic technologies to transfer quantum information with minimal decoherence. These systems employ specialized optical components including quantum repeaters, frequency converters, and entanglement distribution systems to maintain quantum coherence across distances. The technology transforms networking capabilities by enabling the reliable transmission of quantum states through existing fiber optic infrastructure with modifications to preserve quantum properties.Expand Specific Solutions
- 04 Quantum error correction and fault toleranceQuantum interconnects incorporate sophisticated error correction mechanisms to maintain quantum information integrity during transmission between nodes. These systems implement fault-tolerant protocols that detect and correct errors arising from environmental noise and decoherence. The technology transforms reliability in quantum networks by enabling robust quantum state preservation across interconnected quantum processing units, even in noisy environments.Expand Specific Solutions
- 05 Quantum-enhanced sensing and measurement networksQuantum interconnects enable distributed quantum sensing networks that leverage entanglement to achieve measurement precision beyond classical limits. These systems connect multiple quantum sensors to form coordinated networks for applications in timing, navigation, gravitational mapping, and medical imaging. The technology transforms sensing capabilities by enabling quantum-enhanced measurement protocols across distributed nodes, facilitating unprecedented precision in scientific and industrial applications.Expand Specific Solutions
Leading Companies in Quantum Interconnect Ecosystem
Quantum interconnects are emerging as critical enablers in the evolving quantum computing landscape, currently in its early growth phase. The market is expanding rapidly, projected to reach significant scale as quantum technologies mature from experimental to practical applications. Technologically, we observe varying maturity levels among key players: Google, Intel, and Fujitsu lead with substantial infrastructure and research capabilities; specialized quantum-focused companies like PsiQuantum, D-Wave, and Rigetti are advancing purpose-built interconnect solutions; while academic institutions (MIT, University of Chicago, Tsinghua University) contribute fundamental research. The competitive landscape is characterized by strategic partnerships between hardware manufacturers, research institutions, and end-users, with increasing focus on scalable, fault-tolerant quantum communication infrastructure that can integrate with classical computing systems.
Google LLC
Technical Solution:  Google's quantum interconnect technology focuses on developing scalable quantum computing systems through their Quantum AI initiative. Their approach combines superconducting qubits with specialized interconnects that maintain quantum coherence across multiple processing units. Google has demonstrated quantum supremacy using their 53-qubit Sycamore processor, which relies on advanced interconnect technologies to maintain qubit fidelity. Their quantum interconnect architecture employs error correction protocols and specialized cryogenic control electronics that enable qubit communication while minimizing decoherence. Google is also developing hybrid quantum-classical computing models where quantum interconnects serve as bridges between traditional computing infrastructure and quantum processing units, allowing for more practical quantum advantage in near-term applications.
Strengths: Industry-leading expertise in both quantum hardware and classical computing infrastructure; demonstrated quantum supremacy; strong integration with cloud computing platforms. Weaknesses: Their superconducting qubit approach requires extreme cooling requirements; interconnect technologies still face scalability challenges beyond laboratory demonstrations.
Intel Corp.
Technical Solution:  Intel's quantum interconnect strategy centers on their Horse Ridge cryogenic control chip, designed specifically to address the interconnect bottleneck in quantum computing. This purpose-built SoC operates at approximately 4 Kelvin, eliminating the need for complex cable routing from room-temperature electronics to the quantum refrigerator. Intel's approach focuses on silicon spin qubits that can potentially operate at higher temperatures than competing technologies, reducing the thermal engineering challenges for interconnects. Their quantum interconnect architecture integrates with conventional semiconductor manufacturing processes, leveraging Intel's expertise in chip fabrication. The company is developing specialized interconnects that can maintain quantum coherence while scaling to thousands of qubits, using their advanced packaging technologies like EMIB (Embedded Multi-die Interconnect Bridge) and Foveros to create 3D integrated quantum-classical systems.
Strengths: Leverages Intel's world-class semiconductor manufacturing capabilities; focuses on practical, scalable approaches that align with existing computing infrastructure. Weaknesses: Less public demonstration of working quantum systems compared to competitors; their silicon spin qubit approach is promising but less mature than superconducting qubit technologies.
Key Patents and Research in Quantum Interconnect Technology
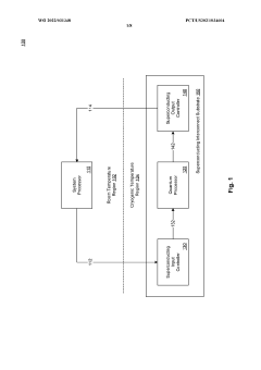
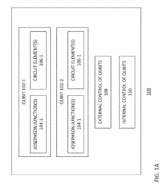
System and method for superconducting silicon interconnect substrate with superconducting quantum processor 
PatentWO2022031348A2
 Innovation 
- A superconducting silicon interconnect substrate with a superconducting quantum processor is introduced, providing both superconducting processing and communication channels, enabling reduced processing delays from milliseconds to picoseconds and increasing qubit density from hundreds to up to 100 million qubits by integrating superconducting electronic devices and quantum processors at cryogenic temperatures.
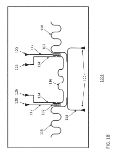
Interconnects below qubit plane by substrate bonding 
PatentActiveUS20190305038A1
 Innovation 
- The implementation of below-plane interconnects by bonding two substrates, allowing for the use of different materials for the interconnects that are superconducting and mechanically stable, while minimizing the presence of spurious TLSs by enclosing the interconnects within crystalline materials, thus reducing decoherence effects.
Quantum Security and Cryptography Implications
The quantum revolution in computing brings with it profound implications for cybersecurity and cryptography. As quantum interconnects enable more powerful quantum computing systems, they simultaneously create unprecedented threats to current encryption standards. Most notably, Shor's algorithm, when implemented on sufficiently powerful quantum computers, can efficiently factor large numbers and compute discrete logarithms, effectively breaking RSA and ECC encryption that safeguards today's digital infrastructure.
This vulnerability has accelerated the development of quantum-resistant cryptographic solutions. Post-quantum cryptography (PQC) frameworks are being designed specifically to withstand attacks from quantum computers. These include lattice-based cryptography, hash-based cryptography, code-based cryptography, and multivariate polynomial cryptography approaches. The National Institute of Standards and Technology (NIST) has been leading standardization efforts, with several candidate algorithms in advanced stages of evaluation.
Quantum interconnects themselves offer a potential solution through quantum key distribution (QKD). This technology leverages quantum properties to create theoretically unhackable communication channels. When quantum nodes are connected via quantum interconnects, they can establish encryption keys with security guaranteed by the laws of quantum physics rather than computational complexity. Any eavesdropping attempt fundamentally disturbs the quantum state, alerting legitimate users to potential breaches.
Hybrid security architectures are emerging as practical interim solutions. These combine classical cryptographic methods with quantum-resistant algorithms and quantum-enhanced security features. Organizations are increasingly adopting crypto-agility strategies that allow for rapid transition between encryption methods as quantum computing capabilities evolve.
The geopolitical landscape is also being reshaped by quantum security concerns. Nations are investing heavily in quantum communication infrastructure, with China's quantum satellite "Micius" and quantum backbone network representing early leadership in the field. The race for quantum advantage in cybersecurity has significant national security implications, potentially creating new digital divides between quantum-capable and quantum-limited nations.
For enterprises developing next-generation computing infrastructure, quantum security considerations must be integrated from the ground up rather than retrofitted. This includes implementing crypto-agility frameworks, participating in quantum-resistant algorithm testing, and monitoring the quantum threat timeline to ensure timely security transitions before quantum computers reach critical capabilities.
This vulnerability has accelerated the development of quantum-resistant cryptographic solutions. Post-quantum cryptography (PQC) frameworks are being designed specifically to withstand attacks from quantum computers. These include lattice-based cryptography, hash-based cryptography, code-based cryptography, and multivariate polynomial cryptography approaches. The National Institute of Standards and Technology (NIST) has been leading standardization efforts, with several candidate algorithms in advanced stages of evaluation.
Quantum interconnects themselves offer a potential solution through quantum key distribution (QKD). This technology leverages quantum properties to create theoretically unhackable communication channels. When quantum nodes are connected via quantum interconnects, they can establish encryption keys with security guaranteed by the laws of quantum physics rather than computational complexity. Any eavesdropping attempt fundamentally disturbs the quantum state, alerting legitimate users to potential breaches.
Hybrid security architectures are emerging as practical interim solutions. These combine classical cryptographic methods with quantum-resistant algorithms and quantum-enhanced security features. Organizations are increasingly adopting crypto-agility strategies that allow for rapid transition between encryption methods as quantum computing capabilities evolve.
The geopolitical landscape is also being reshaped by quantum security concerns. Nations are investing heavily in quantum communication infrastructure, with China's quantum satellite "Micius" and quantum backbone network representing early leadership in the field. The race for quantum advantage in cybersecurity has significant national security implications, potentially creating new digital divides between quantum-capable and quantum-limited nations.
For enterprises developing next-generation computing infrastructure, quantum security considerations must be integrated from the ground up rather than retrofitted. This includes implementing crypto-agility frameworks, participating in quantum-resistant algorithm testing, and monitoring the quantum threat timeline to ensure timely security transitions before quantum computers reach critical capabilities.
Standardization Efforts for Quantum Interconnects
The standardization of quantum interconnects represents a critical frontier in the evolution of quantum computing infrastructure. Currently, several international bodies are actively developing frameworks and protocols to ensure interoperability across quantum systems. The IEEE Quantum Computing Standards Working Group has established dedicated task forces focusing specifically on quantum interconnect specifications, addressing both physical layer requirements and logical communication protocols.
In parallel, the International Telecommunication Union (ITU) has launched the Quantum Information Technology for Networks (QIT4N) focus group, which is working to standardize quantum communication interfaces between disparate quantum processing units. Their efforts include defining standard metrics for evaluating quantum interconnect performance, such as fidelity maintenance, entanglement distribution rates, and qubit coherence preservation during transmission.
The Quantum Economic Development Consortium (QED-C) has formed a technical advisory committee specifically addressing standardization needs for quantum interconnects, bringing together industry stakeholders to establish common specifications. Their work emphasizes practical implementation considerations, including environmental requirements, error correction protocols, and physical interface specifications.
Academic-industrial partnerships are proving instrumental in these standardization efforts. The Chicago Quantum Exchange and the European Quantum Flagship program have both established working groups dedicated to developing open standards for quantum interconnects, with particular emphasis on hybrid classical-quantum interfaces that will be essential during the NISQ (Noisy Intermediate-Scale Quantum) era.
Significant progress has been made in standardizing quantum network protocols, with the Quantum Internet Research Group (QIRG) publishing draft specifications for entanglement distribution protocols and quantum repeater architectures. These protocols are being designed with backward compatibility considerations to ensure integration with existing classical network infrastructure.
Challenges remain in reconciling competing approaches to quantum interconnect technologies. Superconducting qubit systems, trapped ion platforms, and photonic quantum networks each present unique standardization requirements. Cross-platform compatibility standards are emerging as a priority focus area, with organizations like NIST's Quantum Economic Development Consortium working to establish translation layers between different quantum modalities.
The timeline for comprehensive quantum interconnect standards remains fluid, with most experts anticipating initial standards to be formalized within 3-5 years, followed by iterative refinement as the technology matures and practical implementation experience grows.
In parallel, the International Telecommunication Union (ITU) has launched the Quantum Information Technology for Networks (QIT4N) focus group, which is working to standardize quantum communication interfaces between disparate quantum processing units. Their efforts include defining standard metrics for evaluating quantum interconnect performance, such as fidelity maintenance, entanglement distribution rates, and qubit coherence preservation during transmission.
The Quantum Economic Development Consortium (QED-C) has formed a technical advisory committee specifically addressing standardization needs for quantum interconnects, bringing together industry stakeholders to establish common specifications. Their work emphasizes practical implementation considerations, including environmental requirements, error correction protocols, and physical interface specifications.
Academic-industrial partnerships are proving instrumental in these standardization efforts. The Chicago Quantum Exchange and the European Quantum Flagship program have both established working groups dedicated to developing open standards for quantum interconnects, with particular emphasis on hybrid classical-quantum interfaces that will be essential during the NISQ (Noisy Intermediate-Scale Quantum) era.
Significant progress has been made in standardizing quantum network protocols, with the Quantum Internet Research Group (QIRG) publishing draft specifications for entanglement distribution protocols and quantum repeater architectures. These protocols are being designed with backward compatibility considerations to ensure integration with existing classical network infrastructure.
Challenges remain in reconciling competing approaches to quantum interconnect technologies. Superconducting qubit systems, trapped ion platforms, and photonic quantum networks each present unique standardization requirements. Cross-platform compatibility standards are emerging as a priority focus area, with organizations like NIST's Quantum Economic Development Consortium working to establish translation layers between different quantum modalities.
The timeline for comprehensive quantum interconnect standards remains fluid, with most experts anticipating initial standards to be formalized within 3-5 years, followed by iterative refinement as the technology matures and practical implementation experience grows.
 Unlock deeper insights with  Patsnap Eureka Quick Research — get a full tech report to explore trends and direct your research. Try now! 
 Generate Your Research Report Instantly with AI Agent 
 Supercharge your innovation with Patsnap Eureka AI Agent Platform! 







