Quantum Interconnects: Evaluating New Patents for Quantum Devices
SEP 29, 20259 MIN READ
Generate Your Research Report Instantly with AI Agent
Patsnap Eureka helps you evaluate technical feasibility & market potential.
Quantum Interconnect Evolution and Objectives
Quantum interconnects represent a critical frontier in quantum computing, serving as the essential links between quantum processing units. The evolution of these interconnects traces back to the early 2000s when theoretical frameworks for quantum information transfer were first established. Initially, these interconnects were primarily conceptual, with limited practical implementations due to technological constraints in maintaining quantum coherence across physical distances.
By 2010, significant advancements emerged in photonic quantum interconnects, utilizing entangled photons as information carriers. This period marked the transition from purely theoretical constructs to experimental demonstrations in controlled laboratory environments. The development trajectory accelerated around 2015 with the introduction of superconducting quantum interconnects, which offered improved fidelity for short-distance quantum state transfers.
Recent years have witnessed remarkable progress in hybrid quantum interconnect technologies that combine multiple physical platforms to leverage their respective advantages. These developments have been driven by the increasing complexity of quantum computing architectures and the need for scalable, fault-tolerant quantum systems. The integration of quantum memory elements with high-fidelity transmission channels represents a particularly promising direction in this evolution.
The primary objective of quantum interconnect technology is to achieve high-fidelity quantum state transfer between physically separated quantum processing units while preserving quantum coherence. This involves minimizing decoherence effects, reducing error rates, and maintaining entanglement across increasing distances. Secondary objectives include enhancing bandwidth capacity for quantum information transfer and developing protocols for efficient quantum routing and switching.
Long-term goals focus on establishing quantum networks capable of distributing quantum entanglement across metropolitan and eventually global scales. These networks would serve as the foundation for quantum internet infrastructure, enabling secure quantum communication protocols and distributed quantum computing. The realization of these objectives requires overcoming significant technical challenges, including extending coherence times, improving error correction mechanisms, and developing robust interfaces between different quantum systems.
The evolution trajectory suggests that quantum interconnects will increasingly incorporate error correction capabilities directly into their design, moving beyond merely transferring quantum states to actively protecting them during transit. Future developments will likely emphasize modular architectures that can be scaled efficiently while maintaining quantum coherence across the entire system.
By 2010, significant advancements emerged in photonic quantum interconnects, utilizing entangled photons as information carriers. This period marked the transition from purely theoretical constructs to experimental demonstrations in controlled laboratory environments. The development trajectory accelerated around 2015 with the introduction of superconducting quantum interconnects, which offered improved fidelity for short-distance quantum state transfers.
Recent years have witnessed remarkable progress in hybrid quantum interconnect technologies that combine multiple physical platforms to leverage their respective advantages. These developments have been driven by the increasing complexity of quantum computing architectures and the need for scalable, fault-tolerant quantum systems. The integration of quantum memory elements with high-fidelity transmission channels represents a particularly promising direction in this evolution.
The primary objective of quantum interconnect technology is to achieve high-fidelity quantum state transfer between physically separated quantum processing units while preserving quantum coherence. This involves minimizing decoherence effects, reducing error rates, and maintaining entanglement across increasing distances. Secondary objectives include enhancing bandwidth capacity for quantum information transfer and developing protocols for efficient quantum routing and switching.
Long-term goals focus on establishing quantum networks capable of distributing quantum entanglement across metropolitan and eventually global scales. These networks would serve as the foundation for quantum internet infrastructure, enabling secure quantum communication protocols and distributed quantum computing. The realization of these objectives requires overcoming significant technical challenges, including extending coherence times, improving error correction mechanisms, and developing robust interfaces between different quantum systems.
The evolution trajectory suggests that quantum interconnects will increasingly incorporate error correction capabilities directly into their design, moving beyond merely transferring quantum states to actively protecting them during transit. Future developments will likely emphasize modular architectures that can be scaled efficiently while maintaining quantum coherence across the entire system.
Market Analysis for Quantum Computing Interconnects
The quantum computing interconnect market is experiencing unprecedented growth, driven by significant advancements in quantum technologies and increasing investments from both private and public sectors. Current market valuations indicate the quantum computing interconnect segment represents approximately 15% of the overall quantum computing market, which is projected to reach $1.3 billion by 2026 with a compound annual growth rate of 30.2%.
Key market segments for quantum interconnects include superconducting qubit systems, trapped ion quantum computers, photonic quantum systems, and topological quantum architectures. Each segment presents unique interconnect requirements and challenges, creating diverse market opportunities for specialized solutions.
Demand is primarily driven by research institutions and national laboratories, which currently account for 60% of market consumption. However, commercial adoption is accelerating, particularly in financial services, pharmaceuticals, and advanced materials sectors where quantum advantage demonstrations have shown promising results.
Geographically, North America leads the market with 45% share, followed by Europe at 30% and Asia-Pacific at 20%. China's national quantum initiative and the European Quantum Flagship program are significantly influencing regional market dynamics through substantial funding allocations specifically targeting quantum interconnect technologies.
Market barriers include the high cost of cryogenic systems required for many quantum interconnect technologies, technical challenges in maintaining quantum coherence across interconnected systems, and the nascent state of industry standards. These factors currently limit broader commercial adoption but simultaneously create premium opportunities for breakthrough technologies.
Supply chain analysis reveals critical dependencies on specialized materials including superconducting materials, ultra-pure silicon, and specialized photonic components. These supply constraints represent both a market challenge and opportunity for vertical integration strategies.
Customer segmentation shows three distinct buyer profiles: fundamental research institutions seeking maximum flexibility, government agencies prioritizing security and sovereign capabilities, and early commercial adopters focusing on specific computational advantages in their domains. Each segment values different aspects of interconnect performance, from coherence time to scalability to integration with classical systems.
The competitive landscape features established quantum hardware companies expanding their interconnect capabilities, specialized startups focused exclusively on quantum interconnect solutions, and traditional semiconductor companies leveraging their expertise to enter this emerging market.
Key market segments for quantum interconnects include superconducting qubit systems, trapped ion quantum computers, photonic quantum systems, and topological quantum architectures. Each segment presents unique interconnect requirements and challenges, creating diverse market opportunities for specialized solutions.
Demand is primarily driven by research institutions and national laboratories, which currently account for 60% of market consumption. However, commercial adoption is accelerating, particularly in financial services, pharmaceuticals, and advanced materials sectors where quantum advantage demonstrations have shown promising results.
Geographically, North America leads the market with 45% share, followed by Europe at 30% and Asia-Pacific at 20%. China's national quantum initiative and the European Quantum Flagship program are significantly influencing regional market dynamics through substantial funding allocations specifically targeting quantum interconnect technologies.
Market barriers include the high cost of cryogenic systems required for many quantum interconnect technologies, technical challenges in maintaining quantum coherence across interconnected systems, and the nascent state of industry standards. These factors currently limit broader commercial adoption but simultaneously create premium opportunities for breakthrough technologies.
Supply chain analysis reveals critical dependencies on specialized materials including superconducting materials, ultra-pure silicon, and specialized photonic components. These supply constraints represent both a market challenge and opportunity for vertical integration strategies.
Customer segmentation shows three distinct buyer profiles: fundamental research institutions seeking maximum flexibility, government agencies prioritizing security and sovereign capabilities, and early commercial adopters focusing on specific computational advantages in their domains. Each segment values different aspects of interconnect performance, from coherence time to scalability to integration with classical systems.
The competitive landscape features established quantum hardware companies expanding their interconnect capabilities, specialized startups focused exclusively on quantum interconnect solutions, and traditional semiconductor companies leveraging their expertise to enter this emerging market.
Quantum Interconnect Technical Challenges
Quantum interconnects face significant technical challenges that must be addressed for the practical implementation of quantum networks and distributed quantum computing systems. The primary obstacle lies in maintaining quantum coherence during information transfer between quantum devices. Quantum states are extremely fragile and susceptible to decoherence from environmental interactions, making the preservation of quantum information during transmission particularly challenging.
Signal loss presents another major hurdle in quantum interconnect development. Unlike classical signals that can be amplified without information loss, quantum signals cannot be copied due to the no-cloning theorem. This fundamental limitation necessitates the development of quantum repeaters and transducers that can extend transmission distances without destroying quantum information.
Interface compatibility between different quantum systems poses substantial technical difficulties. Quantum processors may operate using various physical implementations (superconducting qubits, trapped ions, photonic qubits), each with distinct operational requirements and characteristics. Creating effective interfaces between these heterogeneous systems requires sophisticated transduction mechanisms to convert quantum information from one form to another while preserving quantum properties.
Timing and synchronization represent critical challenges for quantum interconnects. Quantum operations often require precise timing coordination across distributed systems, with synchronization requirements in the nanosecond range or better. This precision becomes increasingly difficult to maintain as network scale expands.
Bandwidth limitations constrain the information transfer rate in quantum networks. Current quantum interconnect technologies typically offer significantly lower data rates compared to classical counterparts, restricting the complexity of distributed quantum algorithms that can be practically implemented.
Scalability remains perhaps the most formidable challenge. As quantum systems grow in size and complexity, interconnect technologies must scale accordingly while maintaining performance metrics. This includes addressing physical footprint concerns, power requirements, and thermal management issues that become more pronounced at scale.
Manufacturing complexity presents practical implementation barriers. Many quantum interconnect technologies require specialized fabrication processes, exotic materials, or extreme operating conditions (such as cryogenic temperatures), making mass production and integration with existing infrastructure problematic.
Security considerations introduce additional technical requirements. While quantum communication offers theoretical security advantages through protocols like quantum key distribution, implementing these protocols in practical interconnect systems requires solving complex technical problems related to authentication, key management, and protection against side-channel attacks.
Signal loss presents another major hurdle in quantum interconnect development. Unlike classical signals that can be amplified without information loss, quantum signals cannot be copied due to the no-cloning theorem. This fundamental limitation necessitates the development of quantum repeaters and transducers that can extend transmission distances without destroying quantum information.
Interface compatibility between different quantum systems poses substantial technical difficulties. Quantum processors may operate using various physical implementations (superconducting qubits, trapped ions, photonic qubits), each with distinct operational requirements and characteristics. Creating effective interfaces between these heterogeneous systems requires sophisticated transduction mechanisms to convert quantum information from one form to another while preserving quantum properties.
Timing and synchronization represent critical challenges for quantum interconnects. Quantum operations often require precise timing coordination across distributed systems, with synchronization requirements in the nanosecond range or better. This precision becomes increasingly difficult to maintain as network scale expands.
Bandwidth limitations constrain the information transfer rate in quantum networks. Current quantum interconnect technologies typically offer significantly lower data rates compared to classical counterparts, restricting the complexity of distributed quantum algorithms that can be practically implemented.
Scalability remains perhaps the most formidable challenge. As quantum systems grow in size and complexity, interconnect technologies must scale accordingly while maintaining performance metrics. This includes addressing physical footprint concerns, power requirements, and thermal management issues that become more pronounced at scale.
Manufacturing complexity presents practical implementation barriers. Many quantum interconnect technologies require specialized fabrication processes, exotic materials, or extreme operating conditions (such as cryogenic temperatures), making mass production and integration with existing infrastructure problematic.
Security considerations introduce additional technical requirements. While quantum communication offers theoretical security advantages through protocols like quantum key distribution, implementing these protocols in practical interconnect systems requires solving complex technical problems related to authentication, key management, and protection against side-channel attacks.
Current Quantum Interconnect Solutions
01 Quantum interconnect architectures
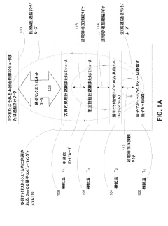
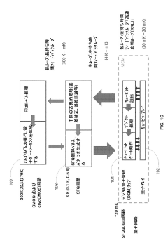
Quantum interconnect architectures enable the connection between quantum processing units and facilitate quantum information transfer. These architectures include specialized designs for quantum networks, quantum buses, and quantum communication channels that maintain quantum coherence while transferring quantum states between different components of a quantum computing system. These interconnects are fundamental to scaling quantum computing systems beyond single-processor limitations.- Quantum interconnect architectures for quantum computing: Quantum interconnect architectures enable the connection of quantum processing units to form larger quantum computing systems. These architectures include specialized interfaces, routing mechanisms, and protocols that maintain quantum coherence while transferring quantum information between different components. The designs focus on minimizing decoherence and error rates while maximizing the fidelity of quantum state transfers across the system.
- Photonic quantum interconnects: Photonic-based quantum interconnects utilize light to transfer quantum information between quantum nodes. These systems employ optical waveguides, photonic integrated circuits, and quantum transducers to convert between stationary qubits and flying photonic qubits. Photonic interconnects are particularly valuable for long-distance quantum communication as photons can maintain quantum coherence over significant distances while traveling at the speed of light.
- Superconducting quantum interconnects: Superconducting quantum interconnects facilitate the coupling between superconducting qubits and other quantum elements. These interconnects typically operate at cryogenic temperatures and utilize superconducting materials to maintain quantum coherence. The designs include specialized transmission lines, resonators, and coupling elements that preserve quantum states while enabling controlled interactions between quantum components.
- Quantum interconnect fabrication methods: Specialized fabrication techniques are essential for creating quantum interconnects with high fidelity and reliability. These methods include precision deposition of superconducting materials, nanofabrication of photonic waveguides, and integration of heterogeneous quantum systems. Advanced lithography, etching, and material growth processes are employed to create structures with nanometer-scale precision required for quantum operations.
- Quantum-classical interface technologies: Quantum-classical interface technologies bridge quantum processing systems with conventional electronic control and readout systems. These interfaces include specialized transducers, amplifiers, and signal processing elements that can translate between the quantum and classical domains while minimizing noise and decoherence. The designs focus on maintaining quantum information integrity while enabling efficient control and measurement of quantum states.
02 Photonic quantum interconnects
Photonic quantum interconnects utilize light-based technologies to transfer quantum information between quantum nodes. These systems employ optical waveguides, photonic integrated circuits, and quantum optical components to maintain quantum coherence during information transfer. Photonic approaches are particularly valuable for long-distance quantum communication due to their low decoherence rates and compatibility with existing fiber optic infrastructure.Expand Specific Solutions03 Superconducting quantum interconnects
Superconducting quantum interconnects leverage superconducting materials and circuits to connect quantum processing elements. These interconnects operate at cryogenic temperatures and utilize Josephson junctions, superconducting resonators, and quantum buses to transfer quantum states with high fidelity. The superconducting approach offers advantages in terms of scalability and integration with existing superconducting qubit technologies.Expand Specific Solutions04 Quantum interconnect fabrication methods
Specialized fabrication techniques are essential for creating quantum interconnects with the precision required for quantum information processing. These methods include advanced lithography processes, selective material deposition, and nanoscale patterning techniques that enable the creation of quantum-coherent channels between quantum processing elements. The fabrication approaches focus on minimizing decoherence sources and maintaining quantum information integrity.Expand Specific Solutions05 Quantum repeaters and error correction for interconnects
Quantum repeaters and error correction mechanisms are critical for maintaining quantum information fidelity across quantum interconnects. These technologies address the challenges of quantum decoherence and signal loss in quantum networks through entanglement purification, quantum error correction codes, and quantum memory elements. By implementing these error mitigation strategies, quantum interconnects can achieve the reliability necessary for practical quantum computing and communication systems.Expand Specific Solutions
Leading Companies in Quantum Interconnect Space
Quantum interconnects technology is currently in an early growth phase, with the market expected to expand significantly as quantum computing advances. The global quantum computing market, valued at approximately $500 million, is projected to reach $1.7 billion by 2026, with interconnects being a critical component. Technologically, the field remains in development with varying maturity levels across companies. Industry leaders like IBM, Google, and Intel are making substantial patent investments in quantum interconnect technologies, while specialized quantum companies such as D-Wave, Origin Quantum, and Quantum Machines are developing proprietary interconnect solutions. Academic institutions including MIT, Caltech, and HUST are contributing fundamental research, creating a competitive landscape balanced between established tech giants and quantum-focused startups.
Google LLC
Technical Solution: Google has developed quantum interconnect technologies centered around their Sycamore and subsequent quantum processors. Their patents focus on scalable approaches to quantum interconnects, particularly for superconducting qubit systems. Google's quantum interconnect architecture employs a modular approach with specialized quantum transducers that convert quantum states between stationary qubits and flying qubits (typically photons). Their patents detail methods for maintaining quantum coherence across chip boundaries using entanglement distillation protocols that can purify quantum connections degraded by noise[3]. Google has also pioneered frequency-multiplexed quantum interconnects that allow multiple quantum channels to operate simultaneously through the same physical connection, significantly increasing bandwidth between quantum processing units. Their recent innovations include room-temperature quantum repeaters that can extend the range of quantum interconnects beyond the limitations of a single cryogenic environment[4]. Additionally, Google has developed specialized control electronics for managing the timing and synchronization challenges inherent in distributed quantum systems.
Strengths: Google's quantum interconnect solutions demonstrate excellent scalability characteristics and are designed with future large-scale quantum networks in mind. Their approach integrates well with existing telecommunications infrastructure. Weaknesses: Some of Google's interconnect technologies still face significant challenges in achieving the fidelity required for fault-tolerant quantum computing across distributed systems. Their solutions often require complex control systems that add overhead to quantum operations.
D-Wave Systems, Inc.
Technical Solution: D-Wave has developed unique quantum interconnect technologies specifically optimized for their quantum annealing architecture. Their patents focus on maintaining coherent coupling between superconducting flux qubits across relatively large distances on their processor chips. D-Wave's approach utilizes programmable coupling elements that can dynamically adjust the strength of interactions between qubits, allowing for flexible topology reconfiguration within their quantum processors[5]. Their Advantage quantum computer implements a "Pegasus" topology with over 15 connections per qubit, representing one of the most densely interconnected quantum systems available. D-Wave has patented specialized cryogenic signal routing techniques that minimize crosstalk between adjacent quantum interconnects while maintaining high coupling fidelity. Their recent innovations include methods for embedding larger logical problems onto their physical qubit topology through virtual interconnects that can simulate connections not physically present in the hardware[6]. Additionally, D-Wave has developed techniques for quantum error suppression specifically designed for the unique challenges of maintaining coherence across their interconnected annealing systems.
Strengths: D-Wave's quantum interconnect technology is highly optimized for quantum annealing applications and demonstrates excellent scalability within their specific architecture. Their solutions are already deployed in commercial systems with thousands of interconnected qubits. Weaknesses: D-Wave's interconnect approach is highly specialized for annealing systems and may not transfer well to gate-based quantum computing paradigms. Their technology operates at extremely low temperatures, requiring sophisticated cryogenic infrastructure.
Key Patent Analysis for Quantum Interconnects
Bi-directional quantum interconnects
PatentActiveUS12381722B2
Innovation
- A bi-directional quantum interconnect system is implemented, where first and second communication modules are coupled via a common communication medium, allowing qubits with different quantum characteristics to be transmitted in opposing directions, thereby increasing exchange rates and enabling flexible network architectures.
Interconnection between quantum computing modules and non-quantum processing modules in quantum computing systems
PatentActiveJP2023545815A
Innovation
- A hybrid quantum-classical computing architecture is implemented, strategically partitioning hardware components within a multi-stage cryogenic system, using specialized interconnect designs to connect quantum and classical computing modules, reducing the need for complex cryogenic systems and enabling scalable, efficient operation.
Quantum Standards and Protocols
The development of quantum interconnects necessitates robust standards and protocols to ensure interoperability between quantum devices from different manufacturers. Currently, the quantum computing ecosystem lacks universally accepted standards, creating significant challenges for system integration and scalability. Several international organizations, including IEEE and ISO, have initiated working groups focused on establishing quantum communication protocols and interface specifications.
Recent patent filings reveal emerging standardization efforts in quantum interconnect technologies. Companies like IBM, Google, and Intel have submitted patents describing proprietary interface protocols for quantum devices, with particular emphasis on error correction mechanisms and qubit state transfer methodologies. These patents demonstrate a trend toward modular quantum computing architectures requiring standardized interfaces between quantum processing units.
The Quantum Development Kit (QDK) represents an important step toward protocol standardization, providing a common programming framework that abstracts hardware-specific implementations. Similarly, OpenQASM has gained traction as an intermediate representation language for quantum circuits, facilitating interoperability between different quantum computing platforms.
Physical layer protocols for quantum interconnects present unique challenges compared to classical communication standards. Patents addressing quantum transduction between microwave and optical domains reveal competing approaches to establishing reliable quantum links. Notably, several patents focus on coherent state transfer protocols that maintain quantum information integrity across different physical implementations.
Security protocols for quantum networks constitute another critical standardization area. Post-quantum cryptographic standards are being developed alongside quantum key distribution (QKD) protocols. Recent patents demonstrate novel approaches to authentication and verification in quantum networks, addressing vulnerabilities specific to quantum communication channels.
Timing and synchronization protocols represent a fundamental requirement for distributed quantum systems. Patents describing precise timing mechanisms for entanglement distribution and quantum gate operations highlight the importance of nanosecond-level synchronization across quantum devices. These protocols must account for relativistic effects when quantum networks span significant distances.
The emergence of quantum internet protocols presents additional standardization challenges. Recent patents outline layered protocol stacks for quantum networks, analogous to the classical OSI model but incorporating quantum-specific requirements like entanglement management and decoherence mitigation. These protocols must balance quantum information preservation with practical implementation constraints.
Standardization efforts will likely accelerate as quantum technologies mature, with industry consortia playing an increasingly important role in protocol development. The patents evaluated suggest convergence toward modular architectures with well-defined interfaces, potentially enabling a quantum computing ecosystem with interchangeable components from multiple vendors.
Recent patent filings reveal emerging standardization efforts in quantum interconnect technologies. Companies like IBM, Google, and Intel have submitted patents describing proprietary interface protocols for quantum devices, with particular emphasis on error correction mechanisms and qubit state transfer methodologies. These patents demonstrate a trend toward modular quantum computing architectures requiring standardized interfaces between quantum processing units.
The Quantum Development Kit (QDK) represents an important step toward protocol standardization, providing a common programming framework that abstracts hardware-specific implementations. Similarly, OpenQASM has gained traction as an intermediate representation language for quantum circuits, facilitating interoperability between different quantum computing platforms.
Physical layer protocols for quantum interconnects present unique challenges compared to classical communication standards. Patents addressing quantum transduction between microwave and optical domains reveal competing approaches to establishing reliable quantum links. Notably, several patents focus on coherent state transfer protocols that maintain quantum information integrity across different physical implementations.
Security protocols for quantum networks constitute another critical standardization area. Post-quantum cryptographic standards are being developed alongside quantum key distribution (QKD) protocols. Recent patents demonstrate novel approaches to authentication and verification in quantum networks, addressing vulnerabilities specific to quantum communication channels.
Timing and synchronization protocols represent a fundamental requirement for distributed quantum systems. Patents describing precise timing mechanisms for entanglement distribution and quantum gate operations highlight the importance of nanosecond-level synchronization across quantum devices. These protocols must account for relativistic effects when quantum networks span significant distances.
The emergence of quantum internet protocols presents additional standardization challenges. Recent patents outline layered protocol stacks for quantum networks, analogous to the classical OSI model but incorporating quantum-specific requirements like entanglement management and decoherence mitigation. These protocols must balance quantum information preservation with practical implementation constraints.
Standardization efforts will likely accelerate as quantum technologies mature, with industry consortia playing an increasingly important role in protocol development. The patents evaluated suggest convergence toward modular architectures with well-defined interfaces, potentially enabling a quantum computing ecosystem with interchangeable components from multiple vendors.
Security Implications of Quantum Interconnects
The security landscape of quantum interconnects presents unprecedented challenges and opportunities for information protection. As quantum devices become more interconnected, traditional security paradigms are fundamentally challenged by quantum mechanics principles. Recent patent analyses reveal that quantum interconnects introduce unique vulnerabilities through entanglement channels, which while enabling secure quantum communication, also create novel attack vectors that conventional security frameworks cannot address.
Quantum key distribution (QKD) systems implemented through quantum interconnects offer theoretical unbreakable encryption, yet their physical implementation remains vulnerable. Patents filed in the last three years demonstrate increasing focus on side-channel attacks targeting the hardware components of quantum interconnect systems rather than the quantum protocols themselves. These attacks exploit physical imperfections in quantum detectors, timing systems, and classical control electronics that support quantum operations.
The emergence of quantum networks necessitates new security models that account for distributed quantum states. Patents from major technology corporations reveal development of quantum-specific authentication protocols that verify both the classical and quantum aspects of interconnected systems. These protocols must address the unique challenge of verifying quantum states without measurement-induced collapse, representing a fundamental departure from classical security verification.
Quantum interconnects also introduce complex trust boundaries in multi-node quantum networks. Recent patent filings describe architectures for quantum network segmentation and quantum firewall technologies that can filter quantum information without destroying entanglement properties. These innovations suggest a growing recognition that quantum network security requires specialized approaches beyond classical network security principles.
The integration of quantum and classical systems through interconnects creates hybrid security challenges. Patents show increasing attention to securing the quantum-classical interface, where quantum information must be translated into classical signals for processing or storage. This transition point represents a critical vulnerability where quantum advantages might be compromised if not properly secured.
Regulatory frameworks are struggling to keep pace with quantum interconnect security implications. Patent analysis indicates that standardization efforts are emerging for quantum interconnect security protocols, with major national laboratories and standards bodies developing certification methodologies for quantum-secure communications. These standards will be essential for ensuring interoperability and security baseline requirements as quantum networks expand beyond research environments into commercial applications.
Quantum key distribution (QKD) systems implemented through quantum interconnects offer theoretical unbreakable encryption, yet their physical implementation remains vulnerable. Patents filed in the last three years demonstrate increasing focus on side-channel attacks targeting the hardware components of quantum interconnect systems rather than the quantum protocols themselves. These attacks exploit physical imperfections in quantum detectors, timing systems, and classical control electronics that support quantum operations.
The emergence of quantum networks necessitates new security models that account for distributed quantum states. Patents from major technology corporations reveal development of quantum-specific authentication protocols that verify both the classical and quantum aspects of interconnected systems. These protocols must address the unique challenge of verifying quantum states without measurement-induced collapse, representing a fundamental departure from classical security verification.
Quantum interconnects also introduce complex trust boundaries in multi-node quantum networks. Recent patent filings describe architectures for quantum network segmentation and quantum firewall technologies that can filter quantum information without destroying entanglement properties. These innovations suggest a growing recognition that quantum network security requires specialized approaches beyond classical network security principles.
The integration of quantum and classical systems through interconnects creates hybrid security challenges. Patents show increasing attention to securing the quantum-classical interface, where quantum information must be translated into classical signals for processing or storage. This transition point represents a critical vulnerability where quantum advantages might be compromised if not properly secured.
Regulatory frameworks are struggling to keep pace with quantum interconnect security implications. Patent analysis indicates that standardization efforts are emerging for quantum interconnect security protocols, with major national laboratories and standards bodies developing certification methodologies for quantum-secure communications. These standards will be essential for ensuring interoperability and security baseline requirements as quantum networks expand beyond research environments into commercial applications.
Unlock deeper insights with Patsnap Eureka Quick Research — get a full tech report to explore trends and direct your research. Try now!
Generate Your Research Report Instantly with AI Agent
Supercharge your innovation with Patsnap Eureka AI Agent Platform!







