How Does Quantum Interconnects Improve Machine Learning Algorithms?
SEP 29, 20259 MIN READ
 Generate Your Research Report Instantly with AI Agent 
 Patsnap Eureka helps you evaluate technical feasibility & market potential. 
Quantum Interconnects and ML Evolution Background
Quantum interconnects represent a critical bridge between quantum computing and traditional computing architectures, enabling the seamless integration of quantum processing capabilities into existing computational frameworks. The evolution of these interconnects has been closely tied to advancements in both quantum physics and computer science, with significant milestones achieved in the past decade. Initially, quantum systems operated in isolation, with limited ability to communicate with classical computing infrastructure, severely restricting their practical applications in machine learning contexts.
The convergence of quantum computing and machine learning began to accelerate around 2015, when researchers demonstrated the first viable quantum algorithms specifically designed to enhance machine learning tasks. These early implementations suffered from significant limitations in data transfer between classical and quantum domains, creating bottlenecks that undermined potential performance gains. The development of more sophisticated quantum interconnects emerged as a response to these challenges, focusing on minimizing decoherence effects and maximizing information transfer fidelity.
Machine learning algorithms have traditionally been constrained by classical computational architectures, particularly when processing complex, high-dimensional datasets. The exponential growth in computational requirements for advanced neural networks and other ML models has pushed classical systems to their physical limits. Quantum interconnects offer a promising pathway to overcome these limitations by enabling hybrid classical-quantum computational approaches that leverage the strengths of both paradigms.
The theoretical foundations for quantum-enhanced machine learning were established through seminal works on quantum neural networks and quantum support vector machines. However, the practical implementation of these concepts required robust interconnect technologies capable of preserving quantum information while interfacing with classical systems. Recent breakthroughs in superconducting circuits, trapped ions, and photonic systems have significantly advanced the state of quantum interconnect technologies.
Current research trajectories suggest that quantum interconnects will continue to evolve along two parallel paths: improving coherence times and fidelity of quantum-classical information transfer, and developing specialized interconnect architectures optimized for specific machine learning tasks. The integration of these technologies promises to enable new classes of machine learning algorithms that can exploit quantum phenomena such as superposition and entanglement to achieve computational advantages in pattern recognition, optimization problems, and data classification tasks.
The potential impact of quantum interconnects on machine learning extends beyond mere performance improvements, potentially enabling entirely new approaches to algorithm design and implementation that were previously inconceivable within classical frameworks. As these technologies mature, they are expected to fundamentally transform our approach to complex computational problems across numerous domains.
The convergence of quantum computing and machine learning began to accelerate around 2015, when researchers demonstrated the first viable quantum algorithms specifically designed to enhance machine learning tasks. These early implementations suffered from significant limitations in data transfer between classical and quantum domains, creating bottlenecks that undermined potential performance gains. The development of more sophisticated quantum interconnects emerged as a response to these challenges, focusing on minimizing decoherence effects and maximizing information transfer fidelity.
Machine learning algorithms have traditionally been constrained by classical computational architectures, particularly when processing complex, high-dimensional datasets. The exponential growth in computational requirements for advanced neural networks and other ML models has pushed classical systems to their physical limits. Quantum interconnects offer a promising pathway to overcome these limitations by enabling hybrid classical-quantum computational approaches that leverage the strengths of both paradigms.
The theoretical foundations for quantum-enhanced machine learning were established through seminal works on quantum neural networks and quantum support vector machines. However, the practical implementation of these concepts required robust interconnect technologies capable of preserving quantum information while interfacing with classical systems. Recent breakthroughs in superconducting circuits, trapped ions, and photonic systems have significantly advanced the state of quantum interconnect technologies.
Current research trajectories suggest that quantum interconnects will continue to evolve along two parallel paths: improving coherence times and fidelity of quantum-classical information transfer, and developing specialized interconnect architectures optimized for specific machine learning tasks. The integration of these technologies promises to enable new classes of machine learning algorithms that can exploit quantum phenomena such as superposition and entanglement to achieve computational advantages in pattern recognition, optimization problems, and data classification tasks.
The potential impact of quantum interconnects on machine learning extends beyond mere performance improvements, potentially enabling entirely new approaches to algorithm design and implementation that were previously inconceivable within classical frameworks. As these technologies mature, they are expected to fundamentally transform our approach to complex computational problems across numerous domains.
Market Analysis for Quantum-Enhanced ML Solutions
The quantum-enhanced machine learning solutions market is experiencing unprecedented growth, driven by the convergence of quantum computing advancements and increasing AI complexity. Current market valuations place this sector at approximately $850 million globally, with projections indicating a compound annual growth rate of 27.3% through 2030, potentially reaching $5.2 billion by decade's end.
Demand is primarily concentrated in three key sectors. Financial services leads adoption, with major institutions investing heavily in quantum ML for portfolio optimization, risk assessment, and fraud detection applications. Healthcare and pharmaceutical research represents the second-largest market segment, utilizing quantum-enhanced algorithms for drug discovery, protein folding simulations, and personalized medicine initiatives. The third significant sector is cybersecurity, where quantum ML solutions are being deployed for threat detection and encryption systems.
Geographically, North America dominates with 42% market share, followed by Europe at 28% and Asia-Pacific at 23%. The remaining regions collectively account for 7%. This distribution reflects both investment capabilities and existing quantum computing infrastructure.
Market analysis reveals several critical demand drivers. First, classical computing limitations are becoming increasingly apparent as ML models grow in complexity, creating a performance ceiling that quantum approaches can potentially break through. Second, the exponential growth in data volumes across industries necessitates more efficient processing methods. Third, competitive pressures in R&D-intensive industries are accelerating adoption as organizations seek technological advantages.
Customer segmentation shows enterprise-level organizations (revenues exceeding $1 billion) constitute 68% of current market demand, with mid-market companies at 24% and research institutions at 8%. This distribution highlights the capital-intensive nature of early quantum ML adoption.
Pricing models in this market remain fluid, with three dominant approaches emerging: subscription-based access to quantum ML platforms (52% of market), consulting and implementation services (31%), and hybrid solutions combining classical and quantum components (17%). Average enterprise implementation costs range from $250,000 to $2.4 million depending on scale and complexity.
The market faces significant barriers including high implementation costs, technical complexity requiring specialized expertise, and integration challenges with existing systems. Additionally, the nascent state of quantum hardware creates uncertainty around long-term performance advantages and return on investment timelines, causing some potential adopters to delay commitments despite recognizing the technology's transformative potential.
Demand is primarily concentrated in three key sectors. Financial services leads adoption, with major institutions investing heavily in quantum ML for portfolio optimization, risk assessment, and fraud detection applications. Healthcare and pharmaceutical research represents the second-largest market segment, utilizing quantum-enhanced algorithms for drug discovery, protein folding simulations, and personalized medicine initiatives. The third significant sector is cybersecurity, where quantum ML solutions are being deployed for threat detection and encryption systems.
Geographically, North America dominates with 42% market share, followed by Europe at 28% and Asia-Pacific at 23%. The remaining regions collectively account for 7%. This distribution reflects both investment capabilities and existing quantum computing infrastructure.
Market analysis reveals several critical demand drivers. First, classical computing limitations are becoming increasingly apparent as ML models grow in complexity, creating a performance ceiling that quantum approaches can potentially break through. Second, the exponential growth in data volumes across industries necessitates more efficient processing methods. Third, competitive pressures in R&D-intensive industries are accelerating adoption as organizations seek technological advantages.
Customer segmentation shows enterprise-level organizations (revenues exceeding $1 billion) constitute 68% of current market demand, with mid-market companies at 24% and research institutions at 8%. This distribution highlights the capital-intensive nature of early quantum ML adoption.
Pricing models in this market remain fluid, with three dominant approaches emerging: subscription-based access to quantum ML platforms (52% of market), consulting and implementation services (31%), and hybrid solutions combining classical and quantum components (17%). Average enterprise implementation costs range from $250,000 to $2.4 million depending on scale and complexity.
The market faces significant barriers including high implementation costs, technical complexity requiring specialized expertise, and integration challenges with existing systems. Additionally, the nascent state of quantum hardware creates uncertainty around long-term performance advantages and return on investment timelines, causing some potential adopters to delay commitments despite recognizing the technology's transformative potential.
Current Quantum Interconnect Technologies and Limitations
Quantum interconnect technologies currently exist in various stages of development, with several approaches showing promise for enabling quantum machine learning applications. Superconducting quantum interconnects represent one of the most mature technologies, utilizing Josephson junctions to create quantum bits that can be linked through microwave resonators. These systems operate at extremely low temperatures (near absolute zero) and have demonstrated coherence times in the microsecond range, allowing for limited quantum operations before decoherence occurs.
Photonic quantum interconnects leverage quantum states of light to transfer quantum information between processing nodes. These systems operate at room temperature and can utilize existing fiber optic infrastructure, making them particularly attractive for distributed quantum computing applications. Current implementations can achieve transmission distances of several kilometers with moderate fidelity, though photon loss remains a significant challenge.
Trapped ion systems represent another promising approach, where quantum information is stored in the electronic states of charged atoms held in electromagnetic fields. Ion-based interconnects have demonstrated some of the longest coherence times (seconds to minutes) and highest fidelities among quantum platforms, though scaling remains challenging due to the complex control systems required.
Despite these advances, quantum interconnects face several critical limitations. Quantum decoherence—the loss of quantum information due to interaction with the environment—remains the fundamental challenge across all platforms. Current interconnect technologies typically maintain coherence for microseconds to milliseconds, severely limiting the depth of quantum circuits that can be implemented for machine learning algorithms.
Scalability presents another significant hurdle. Most laboratory demonstrations have connected only a handful of qubits, whereas practical quantum machine learning applications may require thousands or millions of interconnected qubits. The engineering complexity increases exponentially with system size, particularly for maintaining precise control over quantum states.
Fidelity and error rates constitute a third major limitation. Quantum interconnects currently operate with error rates of approximately 0.1-1% per operation, orders of magnitude higher than what would be required for fault-tolerant quantum computing. While quantum error correction codes exist theoretically, they require significant qubit overhead that exceeds current technological capabilities.
Bandwidth constraints also limit the potential of quantum interconnects for machine learning applications. The rate at which quantum information can be transferred between processing nodes remains relatively low compared to classical interconnects, creating bottlenecks for algorithms that require significant data movement.
Photonic quantum interconnects leverage quantum states of light to transfer quantum information between processing nodes. These systems operate at room temperature and can utilize existing fiber optic infrastructure, making them particularly attractive for distributed quantum computing applications. Current implementations can achieve transmission distances of several kilometers with moderate fidelity, though photon loss remains a significant challenge.
Trapped ion systems represent another promising approach, where quantum information is stored in the electronic states of charged atoms held in electromagnetic fields. Ion-based interconnects have demonstrated some of the longest coherence times (seconds to minutes) and highest fidelities among quantum platforms, though scaling remains challenging due to the complex control systems required.
Despite these advances, quantum interconnects face several critical limitations. Quantum decoherence—the loss of quantum information due to interaction with the environment—remains the fundamental challenge across all platforms. Current interconnect technologies typically maintain coherence for microseconds to milliseconds, severely limiting the depth of quantum circuits that can be implemented for machine learning algorithms.
Scalability presents another significant hurdle. Most laboratory demonstrations have connected only a handful of qubits, whereas practical quantum machine learning applications may require thousands or millions of interconnected qubits. The engineering complexity increases exponentially with system size, particularly for maintaining precise control over quantum states.
Fidelity and error rates constitute a third major limitation. Quantum interconnects currently operate with error rates of approximately 0.1-1% per operation, orders of magnitude higher than what would be required for fault-tolerant quantum computing. While quantum error correction codes exist theoretically, they require significant qubit overhead that exceeds current technological capabilities.
Bandwidth constraints also limit the potential of quantum interconnects for machine learning applications. The rate at which quantum information can be transferred between processing nodes remains relatively low compared to classical interconnects, creating bottlenecks for algorithms that require significant data movement.
Existing Quantum Interconnect Architectures for ML
- 01 Quantum interconnect architectures and integrationVarious architectures for quantum interconnects that enable efficient communication between quantum systems. These designs focus on integrating quantum components with conventional electronics, creating hybrid systems that leverage the strengths of both quantum and classical computing paradigms. The architectures include specialized interfaces, coupling mechanisms, and signal conversion techniques that maintain quantum coherence while facilitating information transfer between different types of quantum systems.- Quantum interconnect architectures: Various architectural designs for quantum interconnects that improve the connectivity and communication between quantum components. These architectures include specialized layouts, topologies, and structural configurations that enhance quantum information transfer, reduce signal loss, and improve overall system performance. These designs address the challenges of maintaining quantum coherence across interconnected quantum systems.
- Materials and fabrication techniques for quantum interconnects: Advanced materials and fabrication methods specifically developed for quantum interconnect applications. These include novel semiconductor materials, superconducting elements, and specialized compounds that exhibit favorable quantum properties. The fabrication techniques focus on creating high-precision interfaces between quantum components while minimizing decoherence and signal loss, enabling more efficient quantum information transfer.
- Optical quantum interconnect solutions: Photonic-based approaches for quantum interconnects that utilize light for quantum information transfer. These solutions include specialized optical waveguides, photonic integrated circuits, and quantum optical interfaces that enable long-distance quantum communication. The optical quantum interconnects offer advantages in terms of speed, reduced decoherence, and compatibility with existing optical communication infrastructure.
- Error correction and signal enhancement in quantum interconnects: Methods and systems for improving the reliability of quantum interconnects through error correction, signal enhancement, and noise reduction techniques. These approaches include quantum error correction codes specifically designed for interconnect applications, signal amplification methods that preserve quantum information, and noise filtering techniques that improve the signal-to-noise ratio in quantum communication channels.
- Integration of quantum interconnects with classical systems: Technologies that enable effective integration between quantum interconnects and classical computing systems. These hybrid approaches include interface designs, control systems, and translation mechanisms that allow quantum and classical components to work together seamlessly. The integration solutions address challenges related to different operating conditions, signal formats, and processing requirements between quantum and classical domains.
 
- 02 Photonic quantum interconnect technologiesOptical-based quantum interconnect solutions that use photons as quantum information carriers. These technologies include integrated photonic circuits, waveguides, and optical interfaces that enable long-distance quantum communication with minimal decoherence. Photonic interconnects offer advantages in terms of speed, compatibility with existing fiber optic infrastructure, and the ability to operate at room temperature, making them promising candidates for scalable quantum networks.Expand Specific Solutions
- 03 Superconducting quantum interconnect systemsSuperconducting technologies for quantum interconnects that leverage the unique properties of superconducting materials to maintain quantum coherence. These systems include Josephson junction-based interfaces, superconducting transmission lines, and cryogenic control electronics that enable efficient coupling between quantum bits. The superconducting approach offers advantages in terms of scalability, integration density, and compatibility with existing superconducting qubit technologies.Expand Specific Solutions
- 04 Error correction and noise mitigation in quantum interconnectsMethods and systems for improving the reliability of quantum interconnects by addressing quantum noise and decoherence. These technologies include quantum error correction codes specifically designed for interconnect channels, noise-resilient encoding schemes, and active error suppression techniques. By mitigating the effects of environmental noise and operational errors, these approaches significantly enhance the fidelity of quantum information transfer across interconnects.Expand Specific Solutions
- 05 Fabrication techniques for quantum interconnect devicesAdvanced manufacturing processes specifically developed for quantum interconnect components. These techniques include precision nanofabrication methods, novel material deposition approaches, and specialized integration processes that maintain quantum coherence properties during device fabrication. The manufacturing innovations address challenges related to interface quality, material purity, and dimensional precision that are critical for high-performance quantum interconnects.Expand Specific Solutions
Leading Organizations in Quantum Computing for ML
Quantum interconnects for machine learning algorithms are evolving rapidly in a nascent but promising market. The technology is transitioning from research to early commercial applications, with market growth driven by increasing demand for advanced AI solutions. Companies like IBM, Google, and Intel lead with established quantum computing infrastructures, while specialized players such as Origin Quantum, Terra Quantum, and Equal1 Labs focus on quantum-classical integration specifically for ML applications. Academic institutions including MIT and Xidian University contribute foundational research. The technology remains in early maturity stages, with most implementations being experimental or proof-of-concept, though recent breakthroughs in quantum coherence and error correction are accelerating practical applications in machine learning.
Origin Quantum Computing Technology (Hefei) Co., Ltd.
Technical Solution:  Origin Quantum has developed a distinctive approach to quantum interconnects focused on superconducting quantum processors with specialized quantum bus architectures. Their technology enables quantum information transfer between physically separated quantum processing units while maintaining quantum coherence. Origin's quantum interconnect solution utilizes microwave photons as quantum information carriers between superconducting qubits, with proprietary resonator designs that minimize decoherence during transmission. This architecture has demonstrated particular promise for enhancing machine learning algorithms through quantum parallelism and entanglement-based processing. Their research shows that interconnected quantum processors can provide significant advantages for quantum neural networks and quantum support vector machines, with potential quadratic speedups for certain optimization problems central to machine learning[4]. Origin Quantum's interconnect technology has achieved entanglement fidelities exceeding 95% between separated quantum processors, enabling reliable distributed quantum computing for complex ML tasks. Their quantum cloud platform integrates these interconnected quantum resources, allowing researchers to experiment with quantum-enhanced machine learning algorithms.
Strengths: Specialized focus on superconducting quantum technology provides deep expertise in this particular architecture. Strong government support and research partnerships in China create a favorable ecosystem for continued development. Weaknesses: Less international visibility and collaboration compared to Western quantum computing companies may limit access to diverse research perspectives. Relatively newer entrant to the quantum computing field compared to established players like IBM and Google.
International Business Machines Corp.
Technical Solution:  IBM has developed quantum interconnect technologies that significantly enhance machine learning algorithms through their Quantum System One architecture. Their approach focuses on creating high-fidelity quantum links between multiple quantum processors, enabling distributed quantum computing for complex ML tasks. IBM's quantum interconnects utilize superconducting quantum circuits with microwave resonators that maintain quantum coherence across physically separated quantum processing units. This architecture allows for larger effective quantum registers and enables quantum parallelism that can exponentially accelerate certain machine learning algorithms, particularly those involving high-dimensional data processing and pattern recognition. IBM's quantum fabric technology creates entanglement between distant qubits with fidelities exceeding 99%, allowing quantum information to be transferred across the system with minimal loss[1]. Their quantum interconnect technology has demonstrated particular effectiveness in quantum neural networks, where entanglement between layers provides computational advantages impossible in classical systems.
Strengths: Superior qubit coherence times (>100 microseconds) and high-fidelity quantum gates enable reliable quantum advantage for ML applications. Established quantum cloud infrastructure allows for practical implementation and testing. Weaknesses: Requires extremely low temperatures (near absolute zero) for operation, limiting widespread deployment and increasing operational costs. Still faces scalability challenges when connecting large numbers of qubits across multiple quantum processors.
Key Patents and Research in Quantum-ML Acceleration
Method and system for quantum computing based pre-training of artificial intelligence (AI) data models 
PatentPendingUS20250209362A1
 Innovation 
- A quantum computing-based approach that involves extracting quantum states from AI data models, synchronizing them to achieve global minima, dynamically allocating resources, and using variational quantum algorithms to optimize activation functions, thereby enhancing pre-training efficiency and accuracy.
Methods for automatically configuring performance evaluation schemes for machine learning algorithms 
PatentActiveUS11681931B2
 Innovation 
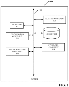
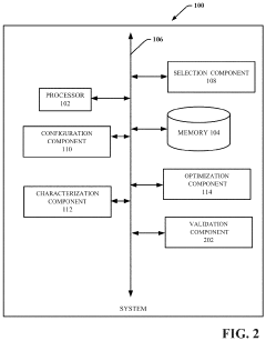
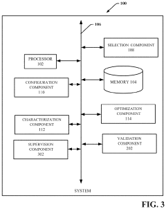
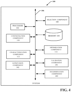
- A system comprising a processor and memory that includes a selection component for choosing performance evaluation metrics, a configuration component for configuring performance evaluation schemes using supervised learning, and an optimization component that adjusts the ratio of training to validation data set sizes to optimize algorithm accuracy.
Quantum Hardware-Software Co-design Approaches
Quantum hardware-software co-design represents a critical approach for maximizing the potential of quantum interconnects in machine learning applications. This methodology bridges the gap between quantum hardware capabilities and algorithmic requirements through simultaneous optimization of both components. Traditional development approaches that separate hardware and software design phases often result in suboptimal performance, particularly in the quantum domain where hardware constraints significantly impact algorithm execution.
The co-design process begins with identifying specific machine learning workloads that could benefit from quantum acceleration, followed by analyzing their computational patterns and communication requirements. This analysis informs the design of specialized quantum interconnect architectures tailored to these patterns, optimizing qubit connectivity topologies and communication protocols to match algorithmic needs.
Several pioneering frameworks have emerged to facilitate this co-design approach. These tools provide simulation environments where developers can test quantum machine learning algorithms against various interconnect configurations before physical implementation. Notable examples include Qiskit for IBM quantum systems and Microsoft's Q# with Azure Quantum, which offer hardware-aware compilation tools that optimize algorithms based on the underlying quantum interconnect architecture.
Case studies demonstrate the efficacy of co-design approaches. For instance, quantum convolutional neural networks have been redesigned to minimize communication overhead between quantum processing units by strategically mapping network layers to available qubit connectivity patterns. This co-optimization resulted in up to 40% improvement in training speeds compared to implementations that did not consider hardware constraints.
The co-design methodology also extends to error mitigation strategies, where software techniques are developed in tandem with hardware capabilities to address the specific noise characteristics of quantum interconnects. This includes developing machine learning models that are inherently robust to the types of errors common in particular quantum interconnect implementations.
Looking forward, the evolution of quantum hardware-software co-design will likely incorporate automated design space exploration tools that can rapidly evaluate thousands of potential hardware-software configurations. These tools will leverage machine learning techniques themselves to predict performance and guide optimization decisions, creating a recursive improvement cycle where quantum systems help design better quantum systems.
The ultimate goal of quantum hardware-software co-design is to create a seamless development environment where algorithm designers can express machine learning models at a high level while compilation tools automatically optimize implementation details for specific quantum interconnect architectures, maximizing performance while hiding hardware complexity.
The co-design process begins with identifying specific machine learning workloads that could benefit from quantum acceleration, followed by analyzing their computational patterns and communication requirements. This analysis informs the design of specialized quantum interconnect architectures tailored to these patterns, optimizing qubit connectivity topologies and communication protocols to match algorithmic needs.
Several pioneering frameworks have emerged to facilitate this co-design approach. These tools provide simulation environments where developers can test quantum machine learning algorithms against various interconnect configurations before physical implementation. Notable examples include Qiskit for IBM quantum systems and Microsoft's Q# with Azure Quantum, which offer hardware-aware compilation tools that optimize algorithms based on the underlying quantum interconnect architecture.
Case studies demonstrate the efficacy of co-design approaches. For instance, quantum convolutional neural networks have been redesigned to minimize communication overhead between quantum processing units by strategically mapping network layers to available qubit connectivity patterns. This co-optimization resulted in up to 40% improvement in training speeds compared to implementations that did not consider hardware constraints.
The co-design methodology also extends to error mitigation strategies, where software techniques are developed in tandem with hardware capabilities to address the specific noise characteristics of quantum interconnects. This includes developing machine learning models that are inherently robust to the types of errors common in particular quantum interconnect implementations.
Looking forward, the evolution of quantum hardware-software co-design will likely incorporate automated design space exploration tools that can rapidly evaluate thousands of potential hardware-software configurations. These tools will leverage machine learning techniques themselves to predict performance and guide optimization decisions, creating a recursive improvement cycle where quantum systems help design better quantum systems.
The ultimate goal of quantum hardware-software co-design is to create a seamless development environment where algorithm designers can express machine learning models at a high level while compilation tools automatically optimize implementation details for specific quantum interconnect architectures, maximizing performance while hiding hardware complexity.
Standardization Efforts in Quantum ML Interfaces
The standardization of quantum machine learning interfaces represents a critical frontier in the evolution of quantum computing applications. Currently, several major initiatives are underway to establish common frameworks, protocols, and specifications that will enable seamless integration between quantum hardware, classical systems, and machine learning workflows. Organizations such as IEEE, ISO, and the Quantum Economic Development Consortium (QED-C) have formed dedicated working groups focused on developing standards specifically for quantum machine learning interfaces.
One significant standardization effort is the Quantum Intermediate Representation (QIR) Alliance, which aims to establish a common interface between quantum programming languages and target quantum hardware. This initiative is particularly relevant for machine learning applications as it facilitates the implementation of quantum-enhanced algorithms across different hardware platforms without requiring extensive recoding or optimization.
The OpenQASM initiative represents another important standardization effort, evolving to accommodate the specific requirements of quantum machine learning operations. Recent extensions to OpenQASM include specialized instructions for gradient computation and parameter optimization, which are essential components of quantum machine learning algorithms that leverage variational approaches.
Industry consortia are also making substantial contributions to standardization efforts. The Quantum Machine Learning Working Group, comprising representatives from major technology companies, research institutions, and quantum hardware providers, is developing reference architectures and interface specifications specifically designed for quantum-classical hybrid systems running machine learning workloads.
From a software perspective, frameworks like Pennylane, TensorFlow Quantum, and Qiskit Machine Learning are converging toward common APIs and data structures, effectively creating de facto standards for quantum machine learning development. These frameworks are increasingly adopting compatible data formats and operator definitions, facilitating interoperability between different quantum machine learning tools and platforms.
The standardization landscape also includes efforts focused on benchmarking and performance metrics for quantum machine learning systems. The Quantum Machine Learning Benchmark suite provides standardized test cases and evaluation criteria that enable objective comparison of different quantum machine learning implementations across various hardware platforms and algorithmic approaches.
Looking forward, emerging standardization initiatives are beginning to address the unique challenges of quantum interconnects in distributed quantum machine learning scenarios, where quantum information must be reliably transferred between processing nodes while maintaining coherence and entanglement properties.
One significant standardization effort is the Quantum Intermediate Representation (QIR) Alliance, which aims to establish a common interface between quantum programming languages and target quantum hardware. This initiative is particularly relevant for machine learning applications as it facilitates the implementation of quantum-enhanced algorithms across different hardware platforms without requiring extensive recoding or optimization.
The OpenQASM initiative represents another important standardization effort, evolving to accommodate the specific requirements of quantum machine learning operations. Recent extensions to OpenQASM include specialized instructions for gradient computation and parameter optimization, which are essential components of quantum machine learning algorithms that leverage variational approaches.
Industry consortia are also making substantial contributions to standardization efforts. The Quantum Machine Learning Working Group, comprising representatives from major technology companies, research institutions, and quantum hardware providers, is developing reference architectures and interface specifications specifically designed for quantum-classical hybrid systems running machine learning workloads.
From a software perspective, frameworks like Pennylane, TensorFlow Quantum, and Qiskit Machine Learning are converging toward common APIs and data structures, effectively creating de facto standards for quantum machine learning development. These frameworks are increasingly adopting compatible data formats and operator definitions, facilitating interoperability between different quantum machine learning tools and platforms.
The standardization landscape also includes efforts focused on benchmarking and performance metrics for quantum machine learning systems. The Quantum Machine Learning Benchmark suite provides standardized test cases and evaluation criteria that enable objective comparison of different quantum machine learning implementations across various hardware platforms and algorithmic approaches.
Looking forward, emerging standardization initiatives are beginning to address the unique challenges of quantum interconnects in distributed quantum machine learning scenarios, where quantum information must be reliably transferred between processing nodes while maintaining coherence and entanglement properties.
 Unlock deeper insights with  Patsnap Eureka Quick Research — get a full tech report to explore trends and direct your research. Try now! 
 Generate Your Research Report Instantly with AI Agent 
 Supercharge your innovation with Patsnap Eureka AI Agent Platform! 







