Enhancing Resolution in Raman Spectroscopy: Tips & Tools
SEP 19, 20259 MIN READ
Generate Your Research Report Instantly with AI Agent
Patsnap Eureka helps you evaluate technical feasibility & market potential.
Raman Spectroscopy Resolution Enhancement Background & Objectives
Raman spectroscopy has evolved significantly since its discovery by C.V. Raman in 1928, becoming an essential analytical technique in various scientific and industrial applications. This non-destructive method provides detailed molecular fingerprints by analyzing inelastic light scattering when photons interact with molecular vibrations. Over the decades, technological advancements have continuously improved the resolution capabilities of Raman systems, transforming them from bulky laboratory equipment to portable, high-resolution devices.
The evolution of Raman spectroscopy resolution enhancement has been marked by several key innovations, including the development of Fourier Transform Raman spectroscopy in the 1980s, confocal Raman microscopy in the 1990s, and more recently, surface-enhanced Raman spectroscopy (SERS) and tip-enhanced Raman spectroscopy (TERS). Each advancement has progressively addressed limitations in spatial and spectral resolution, enabling more precise molecular characterization.
Current technological trends indicate a convergence of Raman techniques with other analytical methods, such as atomic force microscopy and mass spectrometry, creating powerful hybrid approaches. Additionally, computational methods including machine learning algorithms are increasingly being integrated to enhance signal processing and spectral resolution beyond hardware limitations.
The primary objective of resolution enhancement in Raman spectroscopy is to overcome the fundamental diffraction limit while maintaining high sensitivity. Specifically, this involves improving three critical aspects: spatial resolution to detect features below 100 nm, spectral resolution to distinguish closely spaced Raman bands, and temporal resolution to capture dynamic molecular processes in real-time.
Another key goal is to enhance signal-to-noise ratios without increasing acquisition times or laser power, which can damage sensitive samples. This is particularly crucial for biological applications where sample integrity must be maintained throughout analysis. Furthermore, there is a growing demand for resolution enhancement techniques that can be implemented in portable and field-deployable Raman systems.
The ultimate aim of these technological developments is to enable single-molecule detection with high chemical specificity across diverse sample types. This would revolutionize applications in pharmaceutical quality control, environmental monitoring, medical diagnostics, and materials science. By pushing the boundaries of resolution, researchers seek to reveal previously undetectable molecular interactions and structural details that could lead to breakthroughs in understanding complex biological systems and developing advanced materials.
The evolution of Raman spectroscopy resolution enhancement has been marked by several key innovations, including the development of Fourier Transform Raman spectroscopy in the 1980s, confocal Raman microscopy in the 1990s, and more recently, surface-enhanced Raman spectroscopy (SERS) and tip-enhanced Raman spectroscopy (TERS). Each advancement has progressively addressed limitations in spatial and spectral resolution, enabling more precise molecular characterization.
Current technological trends indicate a convergence of Raman techniques with other analytical methods, such as atomic force microscopy and mass spectrometry, creating powerful hybrid approaches. Additionally, computational methods including machine learning algorithms are increasingly being integrated to enhance signal processing and spectral resolution beyond hardware limitations.
The primary objective of resolution enhancement in Raman spectroscopy is to overcome the fundamental diffraction limit while maintaining high sensitivity. Specifically, this involves improving three critical aspects: spatial resolution to detect features below 100 nm, spectral resolution to distinguish closely spaced Raman bands, and temporal resolution to capture dynamic molecular processes in real-time.
Another key goal is to enhance signal-to-noise ratios without increasing acquisition times or laser power, which can damage sensitive samples. This is particularly crucial for biological applications where sample integrity must be maintained throughout analysis. Furthermore, there is a growing demand for resolution enhancement techniques that can be implemented in portable and field-deployable Raman systems.
The ultimate aim of these technological developments is to enable single-molecule detection with high chemical specificity across diverse sample types. This would revolutionize applications in pharmaceutical quality control, environmental monitoring, medical diagnostics, and materials science. By pushing the boundaries of resolution, researchers seek to reveal previously undetectable molecular interactions and structural details that could lead to breakthroughs in understanding complex biological systems and developing advanced materials.
Market Applications and Demand Analysis for High-Resolution Raman Systems
The global market for high-resolution Raman spectroscopy systems has witnessed significant growth in recent years, driven primarily by increasing demand across pharmaceutical, biotechnology, and materials science sectors. Current market estimates value the high-resolution Raman spectroscopy market at approximately $1.2 billion, with projections indicating a compound annual growth rate of 7.8% through 2028.
Pharmaceutical and biotechnology industries represent the largest application segments, collectively accounting for over 40% of market demand. These sectors utilize high-resolution Raman systems for drug discovery, formulation analysis, and quality control processes. The ability to detect subtle molecular changes without sample preparation has positioned Raman spectroscopy as an essential analytical tool in pharmaceutical development pipelines.
Materials science applications constitute the second-largest market segment, with particular growth observed in semiconductor manufacturing, where high-resolution Raman systems enable non-destructive analysis of silicon wafers, thin films, and novel 2D materials. The push toward miniaturization in electronics has intensified demand for systems capable of nanoscale resolution.
Academic and research institutions represent a stable market segment with consistent demand for cutting-edge Raman systems. This sector particularly values systems offering both high spectral and spatial resolution for fundamental research applications.
Emerging application areas showing rapid growth include environmental monitoring, food safety testing, and forensic analysis. These sectors benefit from portable high-resolution Raman systems that enable field-based analysis with laboratory-grade resolution. Market data indicates this segment is growing at nearly 12% annually, outpacing the overall market.
Geographically, North America and Europe currently dominate market consumption, accounting for approximately 65% of global demand. However, the Asia-Pacific region, particularly China, Japan, and South Korea, represents the fastest-growing market with annual growth rates exceeding 10%. This growth correlates with increased R&D spending and expansion of pharmaceutical and electronics manufacturing in these regions.
Customer requirements analysis reveals several key demand drivers: improved spectral resolution (below 0.5 cm⁻¹), enhanced spatial resolution (sub-micron capabilities), faster acquisition times, and more sophisticated data analysis software incorporating machine learning algorithms. Additionally, there is growing demand for systems that combine Raman with complementary techniques such as AFM or SERS to provide multi-modal analytical capabilities.
Pharmaceutical and biotechnology industries represent the largest application segments, collectively accounting for over 40% of market demand. These sectors utilize high-resolution Raman systems for drug discovery, formulation analysis, and quality control processes. The ability to detect subtle molecular changes without sample preparation has positioned Raman spectroscopy as an essential analytical tool in pharmaceutical development pipelines.
Materials science applications constitute the second-largest market segment, with particular growth observed in semiconductor manufacturing, where high-resolution Raman systems enable non-destructive analysis of silicon wafers, thin films, and novel 2D materials. The push toward miniaturization in electronics has intensified demand for systems capable of nanoscale resolution.
Academic and research institutions represent a stable market segment with consistent demand for cutting-edge Raman systems. This sector particularly values systems offering both high spectral and spatial resolution for fundamental research applications.
Emerging application areas showing rapid growth include environmental monitoring, food safety testing, and forensic analysis. These sectors benefit from portable high-resolution Raman systems that enable field-based analysis with laboratory-grade resolution. Market data indicates this segment is growing at nearly 12% annually, outpacing the overall market.
Geographically, North America and Europe currently dominate market consumption, accounting for approximately 65% of global demand. However, the Asia-Pacific region, particularly China, Japan, and South Korea, represents the fastest-growing market with annual growth rates exceeding 10%. This growth correlates with increased R&D spending and expansion of pharmaceutical and electronics manufacturing in these regions.
Customer requirements analysis reveals several key demand drivers: improved spectral resolution (below 0.5 cm⁻¹), enhanced spatial resolution (sub-micron capabilities), faster acquisition times, and more sophisticated data analysis software incorporating machine learning algorithms. Additionally, there is growing demand for systems that combine Raman with complementary techniques such as AFM or SERS to provide multi-modal analytical capabilities.
Current Limitations and Technical Challenges in Raman Resolution
Despite significant advancements in Raman spectroscopy, several technical limitations continue to hinder optimal resolution performance. The fundamental challenge lies in the diffraction limit, which physically constrains spatial resolution to approximately half the wavelength of the excitation light. For typical Raman systems using 532 nm lasers, this theoretically limits resolution to around 266 nm, though practical limitations often result in 1-2 μm resolution in conventional systems.
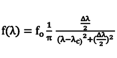
Spectral resolution faces similar constraints, with standard benchtop Raman spectrometers typically achieving 1-2 cm⁻¹ resolution at best. This limitation becomes particularly problematic when analyzing complex samples with closely spaced Raman bands or when attempting to distinguish subtle structural differences in materials science applications.
Signal-to-noise ratio (SNR) presents another significant challenge, as Raman scattering is inherently weak—approximately 1 in 10⁷ photons undergoes Raman scattering. This weakness necessitates longer acquisition times or higher laser powers, both of which introduce additional complications: longer acquisition increases susceptibility to environmental interference, while higher laser power risks sample damage, particularly with biological specimens.
Fluorescence interference remains perhaps the most persistent practical challenge in Raman spectroscopy. Many samples, especially biological materials and organic compounds, produce strong fluorescence signals that can completely overwhelm the weaker Raman signals. Current solutions like shifted-excitation or time-gated detection add complexity and cost to systems.
Instrumentation limitations further compound these challenges. High-end spectrometers with superior gratings and detector systems can improve resolution but at significantly increased cost. The trade-off between spectral range and resolution forces compromises in experimental design, while detector technology limitations (particularly in terms of quantum efficiency and noise characteristics) create bottlenecks in system performance.
Sample-related factors introduce additional variables affecting resolution. Sample heterogeneity, thickness variations, and optical properties can all degrade effective resolution. For in vivo or industrial applications, sample movement during measurement introduces further complications that current systems struggle to address effectively.
Data processing limitations also impact practical resolution. Current algorithms for baseline correction, peak deconvolution, and noise filtering can introduce artifacts or fail to extract maximum information from raw spectral data. The computational demands of advanced processing techniques can limit real-time analysis capabilities, particularly for hyperspectral imaging applications.
Spectral resolution faces similar constraints, with standard benchtop Raman spectrometers typically achieving 1-2 cm⁻¹ resolution at best. This limitation becomes particularly problematic when analyzing complex samples with closely spaced Raman bands or when attempting to distinguish subtle structural differences in materials science applications.
Signal-to-noise ratio (SNR) presents another significant challenge, as Raman scattering is inherently weak—approximately 1 in 10⁷ photons undergoes Raman scattering. This weakness necessitates longer acquisition times or higher laser powers, both of which introduce additional complications: longer acquisition increases susceptibility to environmental interference, while higher laser power risks sample damage, particularly with biological specimens.
Fluorescence interference remains perhaps the most persistent practical challenge in Raman spectroscopy. Many samples, especially biological materials and organic compounds, produce strong fluorescence signals that can completely overwhelm the weaker Raman signals. Current solutions like shifted-excitation or time-gated detection add complexity and cost to systems.
Instrumentation limitations further compound these challenges. High-end spectrometers with superior gratings and detector systems can improve resolution but at significantly increased cost. The trade-off between spectral range and resolution forces compromises in experimental design, while detector technology limitations (particularly in terms of quantum efficiency and noise characteristics) create bottlenecks in system performance.
Sample-related factors introduce additional variables affecting resolution. Sample heterogeneity, thickness variations, and optical properties can all degrade effective resolution. For in vivo or industrial applications, sample movement during measurement introduces further complications that current systems struggle to address effectively.
Data processing limitations also impact practical resolution. Current algorithms for baseline correction, peak deconvolution, and noise filtering can introduce artifacts or fail to extract maximum information from raw spectral data. The computational demands of advanced processing techniques can limit real-time analysis capabilities, particularly for hyperspectral imaging applications.
State-of-the-Art Resolution Enhancement Methods and Instrumentation
01 Spatial resolution enhancement techniques in Raman spectroscopy
Various techniques are employed to enhance the spatial resolution of Raman spectroscopy systems, including confocal arrangements, specialized optical components, and advanced scanning methods. These approaches allow for more precise mapping of samples at the microscale or nanoscale level, enabling detailed chemical analysis of smaller features. Enhanced spatial resolution is particularly valuable for analyzing heterogeneous samples, interfaces, and nanomaterials where conventional Raman systems would be limited by diffraction.- Spatial resolution enhancement techniques in Raman spectroscopy: Various techniques are employed to enhance the spatial resolution of Raman spectroscopy systems, including confocal arrangements, specialized optical components, and advanced scanning methods. These approaches allow for more precise mapping of samples at the microscale or nanoscale level, enabling detailed chemical analysis of smaller features. Enhanced spatial resolution is particularly valuable for analyzing heterogeneous samples, interfaces, and small structures in materials science and biological applications.
- Spectral resolution improvements in Raman systems: Innovations in spectral resolution focus on the ability to distinguish closely spaced Raman peaks and subtle spectral features. These improvements involve advanced spectrometer designs, high-quality diffraction gratings, specialized filters, and sophisticated signal processing algorithms. Enhanced spectral resolution enables more accurate identification of chemical components in complex mixtures and detection of minor structural differences in materials, which is crucial for applications in pharmaceutical analysis, material characterization, and chemical identification.
- Time-resolved Raman spectroscopy techniques: Time-resolved Raman spectroscopy methods improve temporal resolution to capture dynamic processes and transient species. These techniques utilize ultrafast laser systems, specialized detection schemes, and precise timing electronics to observe chemical reactions, phase transitions, and other time-dependent phenomena. By capturing spectral information at different time scales, from picoseconds to seconds, these systems provide insights into reaction kinetics, energy transfer processes, and structural dynamics that would be invisible to conventional Raman spectroscopy.
- Signal enhancement methods for improved resolution: Various signal enhancement methods are employed to improve the resolution and sensitivity of Raman spectroscopy. These include surface-enhanced Raman spectroscopy (SERS), tip-enhanced Raman spectroscopy (TERS), resonance Raman techniques, and advanced signal processing algorithms. By amplifying the Raman signal and reducing noise, these methods enable detection of lower concentrations of analytes and improve the ability to resolve subtle spectral features, expanding the application range of Raman spectroscopy to trace analysis and complex sample matrices.
- Integrated systems and hardware innovations for resolution optimization: Hardware innovations and integrated system designs focus on optimizing multiple aspects of resolution simultaneously. These include specialized optical configurations, advanced detector technologies, precision mechanical components, and integrated computational approaches. Comprehensive system designs address spatial, spectral, and temporal resolution together, often incorporating automated calibration and alignment features. These integrated approaches enable more reliable, user-friendly Raman systems with optimized resolution for specific application requirements in fields ranging from biomedical diagnostics to industrial process monitoring.
02 Spectral resolution improvements in Raman systems
Innovations in spectral resolution focus on the ability to distinguish closely spaced Raman peaks and subtle spectral features. This is achieved through advanced spectrometer designs, high-precision gratings, improved detector technologies, and specialized filtering techniques. Enhanced spectral resolution enables more accurate identification of chemical components in complex mixtures and better discrimination between similar molecular structures, which is crucial for applications in pharmaceutical analysis, material science, and biological research.Expand Specific Solutions03 Temporal resolution advancements for dynamic Raman measurements
Temporal resolution in Raman spectroscopy refers to the ability to capture spectral changes over time, particularly for fast chemical reactions or dynamic processes. Innovations include ultrafast laser systems, time-gated detection methods, and specialized signal processing algorithms. These advancements enable the study of reaction kinetics, transient species, and time-dependent phenomena that would be impossible to observe with conventional Raman techniques, opening new possibilities for research in catalysis, photochemistry, and biological processes.Expand Specific Solutions04 Resolution enhancement through computational and data processing methods
Computational approaches significantly improve Raman spectroscopy resolution beyond hardware limitations. These include advanced algorithms for deconvolution, machine learning techniques for spectral unmixing, chemometric methods, and artificial intelligence-based data processing. Such computational enhancements allow for better separation of overlapping spectral features, improved signal-to-noise ratios, and more accurate quantitative analysis, effectively increasing both spectral and spatial resolution without requiring hardware modifications.Expand Specific Solutions05 Novel optical configurations for resolution optimization
Innovative optical designs are developed to optimize resolution in Raman spectroscopy systems. These include specialized lens arrangements, fiber optic probes, plasmonic enhancement structures, and integrated photonic devices. Such configurations can be tailored for specific applications, balancing factors like working distance, collection efficiency, and resolution requirements. These optical innovations enable Raman spectroscopy to be applied in challenging environments and specialized applications where traditional configurations would be limited by resolution constraints.Expand Specific Solutions
Leading Manufacturers and Research Institutions in Raman Technology
The Raman spectroscopy resolution enhancement market is currently in a growth phase, with increasing applications across pharmaceutical, security, and research sectors. The global market size for advanced spectroscopy is expanding rapidly, projected to reach significant valuation as industries seek higher precision analytical tools. Technologically, the field shows varying maturity levels, with established players like Renishaw, FUJIFILM, and ChemImage offering commercial solutions, while academic institutions (Northwestern University, Tsinghua University, National University of Singapore) drive fundamental innovations. Companies like Serstech AB and Nanophoton are developing portable high-resolution systems, while research organizations such as CNRS and CEA focus on algorithm-based enhancement techniques. The competitive landscape features both specialized instrumentation manufacturers and diversified technology corporations collaborating with academic partners to overcome current resolution limitations.
ChemImage Corp.
Technical Solution: ChemImage has pioneered Molecular Chemical Imaging (MCI) technology that combines Raman spectroscopy with digital imaging to enhance resolution beyond traditional limits. Their patented FALCON II® Raman chemical imaging system incorporates liquid crystal tunable filters (LCTFs) that provide superior wavelength selectivity and imaging capabilities. The system employs sophisticated multivariate analysis algorithms to extract maximum chemical information from complex samples while maintaining high spatial resolution. ChemImage's proprietary Raman Chemical Imaging (RCI) technology simultaneously collects spatial and spectral data, enabling resolution of components that would be indistinguishable with conventional Raman techniques. Their systems also incorporate advanced fluorescence rejection methods to enhance signal-to-noise ratios in challenging biological samples, critical for achieving higher effective resolution in tissue analysis and pharmaceutical applications.
Strengths: Exceptional chemical specificity through proprietary imaging algorithms; versatile applications across forensics, pharmaceuticals, and medical diagnostics; advanced fluorescence rejection capabilities. Weaknesses: Systems require significant computational resources for real-time processing; technology learning curve can be steep for new users; customization options may limit standardization across research groups.
Northwestern University
Technical Solution: Northwestern University researchers have developed several groundbreaking approaches to enhance Raman spectroscopy resolution. Their SERS-based techniques utilize precisely engineered plasmonic nanostructures to amplify Raman signals while maintaining high spatial resolution. The university's Van Duyne Research Group pioneered tip-enhanced Raman spectroscopy (TERS) techniques that achieve nanometer-scale spatial resolution by combining SERS with scanning probe microscopy. Northwestern has also developed novel computational approaches including machine learning algorithms that extract higher resolution information from conventional Raman data through sophisticated signal processing. Their researchers have created specialized nanoparticle probes with "hot spots" that dramatically enhance local field strengths, improving both sensitivity and effective spatial resolution in biological samples. Additionally, Northwestern has pioneered coherent Raman techniques including stimulated Raman scattering (SRS) microscopy that provides significantly enhanced spectral resolution while maintaining rapid imaging capabilities essential for dynamic biological processes.
Strengths: Cutting-edge research combining physical enhancement techniques with advanced computational methods; strong interdisciplinary approach integrating chemistry, physics, and data science; significant expertise in biological applications. Weaknesses: Many techniques remain primarily research-focused rather than commercially implemented; some approaches require specialized equipment not widely available; techniques may require significant optimization for specific applications.
Key Patents and Scientific Breakthroughs in Raman Resolution
Raman spectroscopy method and apparatus using broadband excitation light
PatentWO2019156497A1
Innovation
- A Raman spectrometer that uses broadband excitation light and a calculation unit to perform deconvolution operations, enhancing the resolution of Raman spectroscopy signals from a first resolution to a second, higher resolution without the need for expensive narrow-band light sources.
Integrated modular system and method for enhanced Raman spectroscopy
PatentInactiveUS7385691B2
Innovation
- An integrated modular Raman spectroscopy system with a laser source and radiation receiver on a substrate, incorporating a Raman enhancement structure for electromagnetic and chemical enhancement, allowing for sensitive detection of chemical species using wavelength-specific sensors or demultiplexers.
Cost-Benefit Analysis of Resolution Enhancement Technologies
When evaluating resolution enhancement technologies for Raman spectroscopy, a comprehensive cost-benefit analysis is essential for making informed investment decisions. The initial acquisition costs of high-resolution systems vary significantly, with confocal Raman microscopes ranging from $100,000 to $500,000, while advanced TERS (Tip-Enhanced Raman Spectroscopy) systems may exceed $1 million. These substantial upfront investments must be weighed against the tangible benefits they provide.
Operational expenses represent another critical consideration, including maintenance contracts (typically 10-15% of the initial purchase price annually), specialized consumables, and the need for controlled laboratory environments. Higher resolution technologies often demand more stringent environmental controls, adding to facility costs. Additionally, specialized training for operators can range from $5,000 to $20,000 per staff member, with ongoing professional development requirements.
The return on investment timeline differs markedly across industries. In pharmaceutical research, enhanced resolution capabilities may yield returns within 1-3 years through accelerated drug development. Conversely, academic institutions might experience longer ROI periods of 5-7 years, primarily realized through increased research output and grant funding opportunities. Industrial applications in materials science typically see intermediate ROI periods of 2-5 years.
Productivity gains constitute a significant benefit, with studies indicating that high-resolution Raman systems can reduce analysis time by 30-60% compared to conventional systems. This efficiency translates directly to increased sample throughput and faster research outcomes. Furthermore, enhanced resolution enables the detection of previously unobservable molecular interactions, potentially leading to breakthrough discoveries worth millions in intellectual property value.
The scalability of these technologies presents varying challenges. While software-based resolution enhancement solutions offer excellent scalability with minimal incremental costs, hardware-intensive approaches like TERS require substantial additional investment for expanded capabilities. Organizations must consider their growth trajectory when selecting appropriate technologies.
Risk assessment reveals that early adoption of cutting-edge resolution enhancement technologies carries both significant opportunities and potential obsolescence risks. Late adopters benefit from more mature, reliable systems but may sacrifice competitive advantage. The optimal timing for technology investment depends on organizational risk tolerance and strategic positioning within the industry landscape.
Operational expenses represent another critical consideration, including maintenance contracts (typically 10-15% of the initial purchase price annually), specialized consumables, and the need for controlled laboratory environments. Higher resolution technologies often demand more stringent environmental controls, adding to facility costs. Additionally, specialized training for operators can range from $5,000 to $20,000 per staff member, with ongoing professional development requirements.
The return on investment timeline differs markedly across industries. In pharmaceutical research, enhanced resolution capabilities may yield returns within 1-3 years through accelerated drug development. Conversely, academic institutions might experience longer ROI periods of 5-7 years, primarily realized through increased research output and grant funding opportunities. Industrial applications in materials science typically see intermediate ROI periods of 2-5 years.
Productivity gains constitute a significant benefit, with studies indicating that high-resolution Raman systems can reduce analysis time by 30-60% compared to conventional systems. This efficiency translates directly to increased sample throughput and faster research outcomes. Furthermore, enhanced resolution enables the detection of previously unobservable molecular interactions, potentially leading to breakthrough discoveries worth millions in intellectual property value.
The scalability of these technologies presents varying challenges. While software-based resolution enhancement solutions offer excellent scalability with minimal incremental costs, hardware-intensive approaches like TERS require substantial additional investment for expanded capabilities. Organizations must consider their growth trajectory when selecting appropriate technologies.
Risk assessment reveals that early adoption of cutting-edge resolution enhancement technologies carries both significant opportunities and potential obsolescence risks. Late adopters benefit from more mature, reliable systems but may sacrifice competitive advantage. The optimal timing for technology investment depends on organizational risk tolerance and strategic positioning within the industry landscape.
Interdisciplinary Applications and Emerging Use Cases
Raman spectroscopy's enhanced resolution capabilities are driving significant interdisciplinary applications across multiple scientific and industrial domains. In medical diagnostics, high-resolution Raman techniques enable non-invasive detection of biomarkers in complex biological samples, facilitating early disease detection particularly in cancer research where subtle molecular changes can be identified at cellular levels. The ability to distinguish between healthy and pathological tissues with minimal sample preparation represents a paradigm shift in clinical diagnostics.
Environmental monitoring has embraced high-resolution Raman spectroscopy for detecting trace contaminants in water, soil, and air samples. The technique's sensitivity allows for identification of microplastics, pharmaceutical residues, and industrial pollutants at concentrations previously undetectable with conventional methods. This application has become increasingly vital for regulatory compliance and ecological research, particularly in studying anthropogenic impacts on natural systems.
In materials science and nanotechnology, enhanced Raman resolution provides unprecedented insights into novel materials' structural and electronic properties. Researchers can now characterize 2D materials like graphene and transition metal dichalcogenides with atomic precision, observing strain effects, defects, and layer-dependent properties that influence device performance. This capability accelerates the development of next-generation electronic and photonic devices.
The food and agricultural industries utilize high-resolution Raman techniques for authentication and quality control processes. The technology can detect food adulterants, verify geographical origins of products, and assess ripeness or freshness with remarkable accuracy. These applications help combat food fraud and ensure consumer safety while optimizing supply chain management.
Pharmaceutical research has integrated enhanced Raman spectroscopy into drug development workflows for polymorph screening, counterfeit detection, and formulation analysis. The ability to distinguish between different crystalline forms of the same compound has significant implications for drug efficacy and patent protection, while real-time monitoring capabilities streamline manufacturing processes.
Cultural heritage preservation represents an emerging application where high-resolution Raman techniques non-destructively analyze pigments, binding media, and degradation products in historical artifacts. This enables conservators to develop targeted preservation strategies and authenticate valuable works without compromising their integrity.
As computational capabilities advance, the integration of artificial intelligence with high-resolution Raman data is creating new opportunities for automated diagnostics, predictive maintenance, and material discovery across these interdisciplinary domains, further expanding the technique's utility and accessibility.
Environmental monitoring has embraced high-resolution Raman spectroscopy for detecting trace contaminants in water, soil, and air samples. The technique's sensitivity allows for identification of microplastics, pharmaceutical residues, and industrial pollutants at concentrations previously undetectable with conventional methods. This application has become increasingly vital for regulatory compliance and ecological research, particularly in studying anthropogenic impacts on natural systems.
In materials science and nanotechnology, enhanced Raman resolution provides unprecedented insights into novel materials' structural and electronic properties. Researchers can now characterize 2D materials like graphene and transition metal dichalcogenides with atomic precision, observing strain effects, defects, and layer-dependent properties that influence device performance. This capability accelerates the development of next-generation electronic and photonic devices.
The food and agricultural industries utilize high-resolution Raman techniques for authentication and quality control processes. The technology can detect food adulterants, verify geographical origins of products, and assess ripeness or freshness with remarkable accuracy. These applications help combat food fraud and ensure consumer safety while optimizing supply chain management.
Pharmaceutical research has integrated enhanced Raman spectroscopy into drug development workflows for polymorph screening, counterfeit detection, and formulation analysis. The ability to distinguish between different crystalline forms of the same compound has significant implications for drug efficacy and patent protection, while real-time monitoring capabilities streamline manufacturing processes.
Cultural heritage preservation represents an emerging application where high-resolution Raman techniques non-destructively analyze pigments, binding media, and degradation products in historical artifacts. This enables conservators to develop targeted preservation strategies and authenticate valuable works without compromising their integrity.
As computational capabilities advance, the integration of artificial intelligence with high-resolution Raman data is creating new opportunities for automated diagnostics, predictive maintenance, and material discovery across these interdisciplinary domains, further expanding the technique's utility and accessibility.
Unlock deeper insights with Patsnap Eureka Quick Research — get a full tech report to explore trends and direct your research. Try now!
Generate Your Research Report Instantly with AI Agent
Supercharge your innovation with Patsnap Eureka AI Agent Platform!







