Raman Spectroscopy Signal Amplification: Techniques & Tools
SEP 19, 20259 MIN READ
Generate Your Research Report Instantly with AI Agent
Patsnap Eureka helps you evaluate technical feasibility & market potential.
Raman Spectroscopy Evolution and Enhancement Objectives
Raman spectroscopy has evolved significantly since its discovery by C.V. Raman in 1928, transforming from a purely scientific technique into a powerful analytical tool with diverse applications across multiple industries. The fundamental principle of Raman scattering—where photons interact with molecular vibrations resulting in energy shifts—has remained unchanged, but the instrumentation and methodologies have undergone revolutionary advancements.
The evolution trajectory began with rudimentary spectrometers using filtered sunlight and photographic plates, progressing through the introduction of laser sources in the 1960s that dramatically improved signal quality. The 1980s and 1990s witnessed the integration of charge-coupled devices (CCDs) and holographic notch filters, significantly enhancing detection sensitivity and reducing acquisition times from hours to seconds.
Recent decades have seen exponential growth in Raman technology development, particularly in signal amplification techniques addressing the inherently weak Raman effect. Surface-Enhanced Raman Spectroscopy (SERS), discovered in the 1970s but refined in recent years, has enabled enhancement factors of 10^6 to 10^14 through plasmonic nanostructures. Tip-Enhanced Raman Spectroscopy (TERS) has further pushed boundaries by combining SERS with scanning probe microscopy to achieve nanoscale spatial resolution.
The primary objective of current Raman spectroscopy enhancement research is to overcome the technique's fundamental limitation—low scattering efficiency—while maintaining its non-destructive and highly specific analytical capabilities. Researchers aim to develop methods that provide consistent, reproducible signal amplification across diverse sample types without compromising spectral integrity or introducing artifacts.
Additional enhancement goals include reducing acquisition times to enable real-time monitoring applications, miniaturizing instrumentation for portable field deployment, and developing automated data processing algorithms to extract meaningful information from complex spectral datasets. These advancements would significantly expand Raman spectroscopy's utility in point-of-care diagnostics, environmental monitoring, and industrial quality control.
The convergence of Raman spectroscopy with other analytical techniques represents another important objective, with particular focus on multimodal imaging systems that combine Raman with complementary methods such as fluorescence microscopy or optical coherence tomography. Such integration aims to provide comprehensive chemical and structural information from a single measurement platform.
Looking forward, the field is moving toward developing "smart" Raman systems incorporating artificial intelligence for adaptive measurement optimization and automated interpretation, potentially democratizing access to this powerful analytical technique beyond specialized laboratory settings.
The evolution trajectory began with rudimentary spectrometers using filtered sunlight and photographic plates, progressing through the introduction of laser sources in the 1960s that dramatically improved signal quality. The 1980s and 1990s witnessed the integration of charge-coupled devices (CCDs) and holographic notch filters, significantly enhancing detection sensitivity and reducing acquisition times from hours to seconds.
Recent decades have seen exponential growth in Raman technology development, particularly in signal amplification techniques addressing the inherently weak Raman effect. Surface-Enhanced Raman Spectroscopy (SERS), discovered in the 1970s but refined in recent years, has enabled enhancement factors of 10^6 to 10^14 through plasmonic nanostructures. Tip-Enhanced Raman Spectroscopy (TERS) has further pushed boundaries by combining SERS with scanning probe microscopy to achieve nanoscale spatial resolution.
The primary objective of current Raman spectroscopy enhancement research is to overcome the technique's fundamental limitation—low scattering efficiency—while maintaining its non-destructive and highly specific analytical capabilities. Researchers aim to develop methods that provide consistent, reproducible signal amplification across diverse sample types without compromising spectral integrity or introducing artifacts.
Additional enhancement goals include reducing acquisition times to enable real-time monitoring applications, miniaturizing instrumentation for portable field deployment, and developing automated data processing algorithms to extract meaningful information from complex spectral datasets. These advancements would significantly expand Raman spectroscopy's utility in point-of-care diagnostics, environmental monitoring, and industrial quality control.
The convergence of Raman spectroscopy with other analytical techniques represents another important objective, with particular focus on multimodal imaging systems that combine Raman with complementary methods such as fluorescence microscopy or optical coherence tomography. Such integration aims to provide comprehensive chemical and structural information from a single measurement platform.
Looking forward, the field is moving toward developing "smart" Raman systems incorporating artificial intelligence for adaptive measurement optimization and automated interpretation, potentially democratizing access to this powerful analytical technique beyond specialized laboratory settings.
Market Applications and Demand for Enhanced Raman Signals
The global market for Raman spectroscopy has witnessed substantial growth, reaching approximately $1.8 billion in 2022 and projected to exceed $2.5 billion by 2027, with a compound annual growth rate of around 7.2%. This growth is primarily driven by increasing demand for enhanced Raman signals across various industries seeking more sensitive, accurate, and reliable analytical capabilities.
The pharmaceutical and biotechnology sectors represent the largest market segment, accounting for nearly 30% of the total market share. These industries require advanced Raman signal amplification techniques for drug discovery, quality control, and process monitoring. The ability to detect trace amounts of compounds and impurities has become crucial for regulatory compliance and product development, creating sustained demand for enhanced Raman technologies.
Healthcare applications have emerged as the fastest-growing segment, with diagnostic applications showing particular promise. Enhanced Raman spectroscopy enables non-invasive disease detection through analysis of biological samples, with cancer diagnostics and pathogen identification representing high-value applications. Medical professionals increasingly rely on these technologies for rapid, accurate disease identification and monitoring treatment efficacy.
Environmental monitoring represents another significant market driver, with governmental regulations worldwide mandating more stringent pollution control and water quality monitoring. Enhanced Raman techniques allow for real-time detection of environmental contaminants at previously undetectable concentrations, creating substantial demand from both regulatory bodies and industrial compliance departments.
The food and beverage industry has also embraced Raman spectroscopy for quality control, authenticity verification, and contaminant detection. Signal amplification techniques have enabled manufacturers to identify adulterants and verify product composition with greater accuracy, addressing growing consumer demands for transparency and safety.
Academic and research institutions continue to drive innovation in the field, creating a steady demand for advanced Raman instrumentation with enhanced signal capabilities. This sector often serves as the proving ground for new amplification techniques before commercial adoption.
Geographically, North America leads the market with approximately 35% share, followed by Europe and Asia-Pacific. However, the Asia-Pacific region demonstrates the highest growth rate, driven by expanding pharmaceutical manufacturing, environmental concerns, and increasing R&D investments in countries like China, Japan, and India.
The market landscape reveals a clear trend toward miniaturization and portability of Raman systems with enhanced sensitivity, reflecting growing demand for field-deployable solutions across industries. This shift has created new market opportunities for manufacturers capable of delivering compact yet powerful signal amplification technologies that maintain laboratory-grade performance in field conditions.
The pharmaceutical and biotechnology sectors represent the largest market segment, accounting for nearly 30% of the total market share. These industries require advanced Raman signal amplification techniques for drug discovery, quality control, and process monitoring. The ability to detect trace amounts of compounds and impurities has become crucial for regulatory compliance and product development, creating sustained demand for enhanced Raman technologies.
Healthcare applications have emerged as the fastest-growing segment, with diagnostic applications showing particular promise. Enhanced Raman spectroscopy enables non-invasive disease detection through analysis of biological samples, with cancer diagnostics and pathogen identification representing high-value applications. Medical professionals increasingly rely on these technologies for rapid, accurate disease identification and monitoring treatment efficacy.
Environmental monitoring represents another significant market driver, with governmental regulations worldwide mandating more stringent pollution control and water quality monitoring. Enhanced Raman techniques allow for real-time detection of environmental contaminants at previously undetectable concentrations, creating substantial demand from both regulatory bodies and industrial compliance departments.
The food and beverage industry has also embraced Raman spectroscopy for quality control, authenticity verification, and contaminant detection. Signal amplification techniques have enabled manufacturers to identify adulterants and verify product composition with greater accuracy, addressing growing consumer demands for transparency and safety.
Academic and research institutions continue to drive innovation in the field, creating a steady demand for advanced Raman instrumentation with enhanced signal capabilities. This sector often serves as the proving ground for new amplification techniques before commercial adoption.
Geographically, North America leads the market with approximately 35% share, followed by Europe and Asia-Pacific. However, the Asia-Pacific region demonstrates the highest growth rate, driven by expanding pharmaceutical manufacturing, environmental concerns, and increasing R&D investments in countries like China, Japan, and India.
The market landscape reveals a clear trend toward miniaturization and portability of Raman systems with enhanced sensitivity, reflecting growing demand for field-deployable solutions across industries. This shift has created new market opportunities for manufacturers capable of delivering compact yet powerful signal amplification technologies that maintain laboratory-grade performance in field conditions.
Current Limitations and Technical Challenges in Signal Amplification
Despite the significant advancements in Raman spectroscopy, several critical limitations and technical challenges persist in signal amplification that hinder its broader application. The inherently weak Raman scattering effect remains the fundamental challenge, with only approximately one in 10^6-10^8 photons undergoing Raman scattering, resulting in signals that are often overwhelmed by background noise and fluorescence interference.
Signal-to-noise ratio (SNR) optimization continues to be a significant hurdle, particularly when analyzing samples with low analyte concentrations or when rapid detection is required. Current amplification techniques often struggle to maintain sensitivity while preserving spectral fidelity, creating a technical trade-off that limits practical applications in real-time monitoring and point-of-care diagnostics.
Fluorescence background interference presents another major challenge, especially when analyzing biological samples. This interference can mask the Raman signals and significantly reduce detection sensitivity. Although various background subtraction algorithms and time-gated detection methods have been developed, they often introduce computational complexity or require sophisticated instrumentation that increases system cost and complexity.
The reproducibility and stability of enhanced Raman signals pose additional challenges, particularly in surface-enhanced Raman spectroscopy (SERS). The fabrication of consistent SERS substrates with uniform enhancement factors across large areas remains difficult to achieve at scale. Batch-to-batch variations in substrate preparation can lead to inconsistent signal enhancement, complicating quantitative analysis and standardization efforts.
Power requirements for effective signal amplification represent another limitation, especially for portable or field-deployable systems. High-power laser sources often needed for sufficient signal generation conflict with miniaturization goals and can cause sample photodegradation or thermal damage, particularly in biological specimens.
Integration challenges exist between amplification techniques and practical sampling methods. Many current enhancement approaches work well in controlled laboratory environments but fail to maintain performance when applied to complex real-world samples or when integrated into automated analysis systems.
Cost considerations further constrain widespread adoption, as advanced signal amplification techniques often require expensive specialized equipment, high-purity reagents, or complex nanomaterials. This economic barrier limits accessibility, particularly in resource-limited settings where Raman spectroscopy could otherwise provide valuable analytical capabilities.
Signal-to-noise ratio (SNR) optimization continues to be a significant hurdle, particularly when analyzing samples with low analyte concentrations or when rapid detection is required. Current amplification techniques often struggle to maintain sensitivity while preserving spectral fidelity, creating a technical trade-off that limits practical applications in real-time monitoring and point-of-care diagnostics.
Fluorescence background interference presents another major challenge, especially when analyzing biological samples. This interference can mask the Raman signals and significantly reduce detection sensitivity. Although various background subtraction algorithms and time-gated detection methods have been developed, they often introduce computational complexity or require sophisticated instrumentation that increases system cost and complexity.
The reproducibility and stability of enhanced Raman signals pose additional challenges, particularly in surface-enhanced Raman spectroscopy (SERS). The fabrication of consistent SERS substrates with uniform enhancement factors across large areas remains difficult to achieve at scale. Batch-to-batch variations in substrate preparation can lead to inconsistent signal enhancement, complicating quantitative analysis and standardization efforts.
Power requirements for effective signal amplification represent another limitation, especially for portable or field-deployable systems. High-power laser sources often needed for sufficient signal generation conflict with miniaturization goals and can cause sample photodegradation or thermal damage, particularly in biological specimens.
Integration challenges exist between amplification techniques and practical sampling methods. Many current enhancement approaches work well in controlled laboratory environments but fail to maintain performance when applied to complex real-world samples or when integrated into automated analysis systems.
Cost considerations further constrain widespread adoption, as advanced signal amplification techniques often require expensive specialized equipment, high-purity reagents, or complex nanomaterials. This economic barrier limits accessibility, particularly in resource-limited settings where Raman spectroscopy could otherwise provide valuable analytical capabilities.
State-of-the-Art Signal Amplification Methods and Instrumentation
01 Surface-Enhanced Raman Spectroscopy (SERS) Techniques
Surface-Enhanced Raman Spectroscopy utilizes metallic nanostructures to amplify Raman signals through electromagnetic field enhancement. This technique can increase signal intensity by several orders of magnitude, enabling detection of trace amounts of analytes. The enhancement occurs when molecules are adsorbed on or near specially prepared metal surfaces, typically gold or silver nanoparticles, which generate localized surface plasmon resonances that amplify both incident and scattered light.- Surface-Enhanced Raman Spectroscopy (SERS) techniques: Surface-Enhanced Raman Spectroscopy (SERS) utilizes metallic nanostructures to amplify Raman signals through electromagnetic field enhancement. This technique can increase signal intensity by several orders of magnitude, enabling detection of trace amounts of analytes. The enhancement occurs when molecules are adsorbed on or near specially prepared metal surfaces, typically gold or silver nanoparticles or nanostructured substrates, which generate localized surface plasmon resonances.
- Plasmonic nanostructures for signal enhancement: Plasmonic nanostructures are specifically designed to optimize the enhancement of Raman signals. These structures include engineered metal nanoparticles, nanogaps, nanoholes, and other geometries that create strong electromagnetic field hotspots. By controlling the size, shape, and arrangement of these nanostructures, the amplification effect can be tuned for specific wavelengths and applications, resulting in significantly improved sensitivity for molecular detection.
- Tip-enhanced Raman spectroscopy (TERS): Tip-enhanced Raman spectroscopy combines scanning probe microscopy with Raman spectroscopy to achieve nanoscale spatial resolution and signal enhancement. A metallized tip is positioned near the sample surface, creating a localized electromagnetic field that amplifies the Raman signal from molecules directly beneath the tip. This technique enables chemical mapping with nanometer precision and significantly improved sensitivity compared to conventional Raman spectroscopy.
- Resonance Raman enhancement methods: Resonance Raman enhancement occurs when the excitation wavelength matches or is close to an electronic transition of the molecule being analyzed. This resonance condition can increase the Raman scattering efficiency by several orders of magnitude. By carefully selecting the excitation wavelength to match molecular absorption bands, significant signal amplification can be achieved without requiring specialized substrates, making it particularly useful for biological samples and fluorescent molecules.
- Integrated optical systems for Raman signal processing: Advanced optical systems integrate various components to optimize Raman signal collection, filtering, and processing. These systems may include specialized optical filters, beam splitters, waveguides, and detectors designed to maximize signal-to-noise ratio. Some approaches incorporate optical amplifiers, laser stabilization techniques, and advanced signal processing algorithms to extract weak Raman signals from background noise, enabling more sensitive detection in complex samples.
02 Plasmonic Enhancement Structures
Plasmonic structures are specifically designed to enhance Raman signals through the creation of electromagnetic hotspots. These structures include engineered metal nanoparticles, nanogaps, and periodic arrays that can be optimized for specific wavelengths. The geometry and composition of these structures are critical for maximizing the enhancement factor, with techniques such as electron beam lithography and chemical synthesis being used to create precisely controlled plasmonic substrates for consistent signal amplification.Expand Specific Solutions03 Resonance Raman Spectroscopy Enhancement
Resonance Raman spectroscopy achieves signal amplification by tuning the excitation wavelength to match electronic transitions in the target molecule. This resonance condition can enhance Raman scattering by 10^3 to 10^6 times compared to normal Raman scattering. The technique is particularly useful for colored compounds and biomolecules with chromophores, allowing for selective enhancement of specific molecular species in complex mixtures and improving detection sensitivity for targeted analysis.Expand Specific Solutions04 Tip-Enhanced Raman Spectroscopy (TERS)
Tip-Enhanced Raman Spectroscopy combines the high spatial resolution of scanning probe microscopy with the chemical specificity of Raman spectroscopy. It uses a metallic tip to create a localized enhanced electromagnetic field at its apex, providing nanoscale spatial resolution and significant signal enhancement. This technique enables chemical mapping with molecular resolution and is particularly valuable for surface analysis, single-molecule detection, and characterization of nanomaterials and biological samples.Expand Specific Solutions05 Signal Processing and Data Analysis Methods
Advanced signal processing and data analysis methods can significantly improve Raman signal quality without physical enhancement structures. These computational approaches include baseline correction, noise filtering, principal component analysis, and machine learning algorithms that can extract weak Raman signals from noisy backgrounds. Multivariate statistical methods help identify spectral patterns and discriminate between similar spectra, while chemometric techniques enable quantitative analysis even with relatively weak signals, effectively amplifying the useful information content of Raman measurements.Expand Specific Solutions
Leading Companies and Research Institutions in Raman Technology
Raman Spectroscopy Signal Amplification is currently in a growth phase, with the market expanding due to increasing applications in pharmaceutical, biomedical, and security sectors. The global market is estimated to reach $2.5 billion by 2025, driven by demand for more sensitive detection methods. Technologically, the field is maturing rapidly with companies developing diverse approaches. Industry leaders like Renishaw, Thermo Fisher, and Horiba have established commercial platforms, while Samsung Electronics, Corning, and HP Development are advancing novel enhancement techniques. Emerging players like NUCTECH and ADA Technologies are focusing on specialized applications. Academic-industry partnerships, particularly with institutions like Chongqing University and Xiamen University, are accelerating innovation in surface-enhanced Raman spectroscopy (SERS) and tip-enhanced Raman spectroscopy (TERS) technologies.
Corning, Inc.
Technical Solution: Corning has developed proprietary Raman signal amplification technology centered around specialized optical fiber and photonic crystal designs. Their Enhanced Raman Scattering (ERS) platform utilizes hollow-core photonic crystal fibers that confine both the excitation laser and the sample within a microscopic channel, dramatically increasing interaction length and resulting in signal enhancements of 100-1000 times compared to conventional cuvette-based measurements. Corning's technology incorporates specialized fiber coatings with embedded metallic nanoparticles that provide additional plasmonic enhancement effects. Their integrated microfluidic systems enable precise sample delivery while minimizing sample volume requirements to nanoliter scales. Corning has also developed specialized fiber optic probes with optimized collection geometries that significantly improve signal-to-noise ratios in remote sensing applications, allowing for real-time monitoring in challenging industrial environments.
Strengths: Exceptional performance in liquid and gas analysis applications; minimal sample volume requirements; robust design suitable for industrial deployment; compatibility with existing spectrometer systems. Weaknesses: Limited effectiveness for solid sample analysis; requires specialized connection interfaces; higher initial investment compared to conventional sampling accessories.
Renishaw Plc
Technical Solution: Renishaw has developed advanced Surface-Enhanced Raman Spectroscopy (SERS) platforms utilizing precisely engineered metallic nanostructures to achieve signal amplification factors exceeding 10^6. Their proprietary SERS substrates incorporate gold and silver nanoparticles with optimized geometries and inter-particle spacing to create consistent "hot spots" for enhanced electromagnetic field generation. Renishaw's integrated systems combine these substrates with their high-precision spectrometers featuring specialized optical components that maximize signal collection efficiency. Their technology includes automated focusing mechanisms and sophisticated signal processing algorithms that further enhance detection sensitivity by reducing noise and isolating relevant spectral features. Renishaw has also pioneered tip-enhanced Raman spectroscopy (TERS) solutions that combine SERS with scanning probe microscopy to achieve nanoscale spatial resolution while maintaining significant signal enhancement.
Strengths: Exceptional signal enhancement capabilities with consistent reproducibility across substrates; integrated hardware and software solutions providing end-to-end workflow optimization; high spatial resolution capabilities through TERS technology. Weaknesses: Premium pricing structure limiting accessibility for some research applications; requires specialized training for optimal results; some substrate configurations have limited shelf-life requiring careful storage.
Key Patents and Breakthroughs in Raman Signal Enhancement
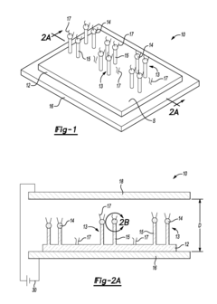
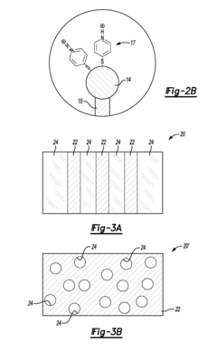
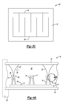
Electrically driven devices for surface enhanced raman spectroscopy
PatentInactiveUS20130196449A1
Innovation
- An electrically driven device with signal-amplifying structures and analyte receptors is developed, where an electric field concentrates analyte molecules onto the receptors, enhancing SERS signals and allowing for multiple uses by reversibly binding and releasing analytes, using a substrate with nano-structures and Raman signal-enhancing materials like silver or gold.
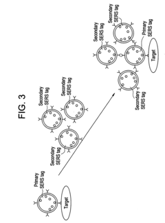
Methods for amplifying the Raman signal of surface enhanced Raman scattering nanoparticles
PatentActiveUS20080118986A1
Innovation
- The process involves aggregating secondary SERS nanoparticles around primary SERS nanoparticles after a binding event with a target analyte, or binding secondary SERS nanoparticles to primary SERS nanoparticles, to amplify the Raman signal through a coupling effect, allowing for increased signal intensity and detection sensitivity.
Materials Science Impact on Raman Enhancement Technologies
Materials science has fundamentally transformed Raman enhancement technologies through the development of novel substrates and nanostructures. The introduction of plasmonic materials, particularly gold and silver nanoparticles, has revolutionized Surface-Enhanced Raman Spectroscopy (SERS) by providing enhancement factors of 10^6 to 10^14, enabling single-molecule detection capabilities. These materials generate localized surface plasmon resonances that significantly amplify the electromagnetic field near the analyte molecules.
Beyond traditional noble metals, recent advances in 2D materials like graphene, MoS2, and h-BN have created new pathways for Raman signal enhancement. These materials offer unique advantages including tunable electronic properties, large surface areas, and chemical stability. Graphene-based SERS substrates, for instance, demonstrate remarkable enhancement while minimizing fluorescence background interference that often plagues conventional metal-based substrates.
Hybrid materials combining plasmonic metals with semiconductor quantum dots or metal-organic frameworks (MOFs) represent another significant materials science contribution. These composites leverage synergistic effects between different material components to achieve multi-functional enhancement mechanisms. For example, metal-semiconductor hybrids can simultaneously utilize electromagnetic enhancement from the metal and chemical enhancement from the semiconductor interface.
Nanofabrication techniques derived from materials science have enabled precise control over SERS substrate architecture. Techniques such as electron beam lithography, focused ion beam milling, and template-assisted synthesis have facilitated the creation of optimized nanostructures with controlled "hot spots" - regions of extremely high field enhancement. These engineered structures include nanogaps, nanostars, nanorods, and hierarchical arrays that maximize enhancement efficiency.
Material surface chemistry modifications have also significantly impacted Raman enhancement technologies. Functionalization strategies using self-assembled monolayers, polymer coatings, or biomolecular recognition elements have improved analyte capture specificity while maintaining enhancement capabilities. These approaches have expanded Raman spectroscopy applications in biosensing, environmental monitoring, and pharmaceutical analysis.
The development of stimuli-responsive materials represents one of the most innovative contributions from materials science. These "smart" substrates can dynamically alter their enhancement properties in response to external stimuli such as pH, temperature, or light. Such adaptability enables real-time tuning of enhancement factors and wavelength selectivity, providing unprecedented control over the Raman enhancement process.
Beyond traditional noble metals, recent advances in 2D materials like graphene, MoS2, and h-BN have created new pathways for Raman signal enhancement. These materials offer unique advantages including tunable electronic properties, large surface areas, and chemical stability. Graphene-based SERS substrates, for instance, demonstrate remarkable enhancement while minimizing fluorescence background interference that often plagues conventional metal-based substrates.
Hybrid materials combining plasmonic metals with semiconductor quantum dots or metal-organic frameworks (MOFs) represent another significant materials science contribution. These composites leverage synergistic effects between different material components to achieve multi-functional enhancement mechanisms. For example, metal-semiconductor hybrids can simultaneously utilize electromagnetic enhancement from the metal and chemical enhancement from the semiconductor interface.
Nanofabrication techniques derived from materials science have enabled precise control over SERS substrate architecture. Techniques such as electron beam lithography, focused ion beam milling, and template-assisted synthesis have facilitated the creation of optimized nanostructures with controlled "hot spots" - regions of extremely high field enhancement. These engineered structures include nanogaps, nanostars, nanorods, and hierarchical arrays that maximize enhancement efficiency.
Material surface chemistry modifications have also significantly impacted Raman enhancement technologies. Functionalization strategies using self-assembled monolayers, polymer coatings, or biomolecular recognition elements have improved analyte capture specificity while maintaining enhancement capabilities. These approaches have expanded Raman spectroscopy applications in biosensing, environmental monitoring, and pharmaceutical analysis.
The development of stimuli-responsive materials represents one of the most innovative contributions from materials science. These "smart" substrates can dynamically alter their enhancement properties in response to external stimuli such as pH, temperature, or light. Such adaptability enables real-time tuning of enhancement factors and wavelength selectivity, providing unprecedented control over the Raman enhancement process.
Standardization and Validation Protocols for Enhanced Techniques
The standardization and validation of enhanced Raman spectroscopy techniques represent critical components for ensuring reliability, reproducibility, and comparability of results across different laboratories and experimental settings. As the field of Raman signal amplification continues to evolve rapidly, establishing robust protocols becomes increasingly important for both research and commercial applications.
Current standardization efforts focus on several key areas, including sample preparation methodologies, instrument calibration procedures, and data processing algorithms. For Surface-Enhanced Raman Spectroscopy (SERS), protocols have been developed to standardize nanoparticle synthesis and characterization, ensuring consistent enhancement factors across different batches of substrates. Organizations such as ASTM International and ISO have begun developing specific guidelines for SERS measurements, though comprehensive standards remain under development.
Validation protocols typically incorporate reference materials with known Raman signatures to verify enhancement performance. These materials include polystyrene beads, rhodamine 6G, and crystal violet, which serve as benchmarks for quantifying enhancement factors. The National Institute of Standards and Technology (NIST) has developed reference materials specifically for SERS applications, providing researchers with calibration tools to validate their enhancement techniques.
Inter-laboratory comparison studies represent another crucial aspect of validation. These collaborative efforts involve multiple research groups performing identical experiments using standardized protocols to assess reproducibility across different laboratory environments. Recent initiatives by international metrology organizations have established round-robin testing frameworks specifically for enhanced Raman techniques.
Statistical validation methodologies have also evolved to address the inherent variability in enhanced Raman measurements. These include rigorous uncertainty analysis, determination of detection limits, and quantification of enhancement factors using standardized mathematical approaches. Machine learning algorithms are increasingly being employed to validate spectral data and identify potential artifacts or anomalies.
For clinical and pharmaceutical applications, more stringent validation requirements exist, including Good Laboratory Practice (GLP) and Good Manufacturing Practice (GMP) guidelines. These frameworks ensure that enhanced Raman techniques meet regulatory requirements for diagnostic or quality control applications. The FDA has issued specific guidance for the validation of spectroscopic methods used in pharmaceutical analysis, which applies to enhanced Raman techniques.
Looking forward, the development of digital standards and open-access databases of reference spectra will facilitate broader adoption of standardized protocols. Cloud-based validation tools that enable real-time comparison with reference data are emerging as valuable resources for researchers implementing enhanced Raman techniques in various fields.
Current standardization efforts focus on several key areas, including sample preparation methodologies, instrument calibration procedures, and data processing algorithms. For Surface-Enhanced Raman Spectroscopy (SERS), protocols have been developed to standardize nanoparticle synthesis and characterization, ensuring consistent enhancement factors across different batches of substrates. Organizations such as ASTM International and ISO have begun developing specific guidelines for SERS measurements, though comprehensive standards remain under development.
Validation protocols typically incorporate reference materials with known Raman signatures to verify enhancement performance. These materials include polystyrene beads, rhodamine 6G, and crystal violet, which serve as benchmarks for quantifying enhancement factors. The National Institute of Standards and Technology (NIST) has developed reference materials specifically for SERS applications, providing researchers with calibration tools to validate their enhancement techniques.
Inter-laboratory comparison studies represent another crucial aspect of validation. These collaborative efforts involve multiple research groups performing identical experiments using standardized protocols to assess reproducibility across different laboratory environments. Recent initiatives by international metrology organizations have established round-robin testing frameworks specifically for enhanced Raman techniques.
Statistical validation methodologies have also evolved to address the inherent variability in enhanced Raman measurements. These include rigorous uncertainty analysis, determination of detection limits, and quantification of enhancement factors using standardized mathematical approaches. Machine learning algorithms are increasingly being employed to validate spectral data and identify potential artifacts or anomalies.
For clinical and pharmaceutical applications, more stringent validation requirements exist, including Good Laboratory Practice (GLP) and Good Manufacturing Practice (GMP) guidelines. These frameworks ensure that enhanced Raman techniques meet regulatory requirements for diagnostic or quality control applications. The FDA has issued specific guidance for the validation of spectroscopic methods used in pharmaceutical analysis, which applies to enhanced Raman techniques.
Looking forward, the development of digital standards and open-access databases of reference spectra will facilitate broader adoption of standardized protocols. Cloud-based validation tools that enable real-time comparison with reference data are emerging as valuable resources for researchers implementing enhanced Raman techniques in various fields.
Unlock deeper insights with Patsnap Eureka Quick Research — get a full tech report to explore trends and direct your research. Try now!
Generate Your Research Report Instantly with AI Agent
Supercharge your innovation with Patsnap Eureka AI Agent Platform!







