Raman Spectroscopy vs ICR-MS: Molecular Structure Investigation
SEP 19, 20259 MIN READ
Generate Your Research Report Instantly with AI Agent
Patsnap Eureka helps you evaluate technical feasibility & market potential.
Spectroscopic Analysis Background and Objectives
Spectroscopic analysis techniques have evolved significantly over the past century, transforming our ability to investigate molecular structures across various scientific disciplines. Raman spectroscopy and Ion Cyclotron Resonance Mass Spectrometry (ICR-MS) represent two powerful yet fundamentally different approaches to molecular characterization that have become increasingly important in modern analytical chemistry, materials science, and biochemistry.
Raman spectroscopy, discovered by C.V. Raman in 1928, utilizes the inelastic scattering of monochromatic light to provide information about molecular vibrations. This technique has progressed from basic laboratory setups to sophisticated instruments capable of nanoscale resolution and real-time analysis. The development of Surface-Enhanced Raman Spectroscopy (SERS) in the 1970s and Tip-Enhanced Raman Spectroscopy (TERS) in the early 2000s marked significant milestones that dramatically improved sensitivity and spatial resolution.
ICR-MS, first developed by Comisarow and Marshall in the 1970s, has undergone remarkable advancement with the introduction of Fourier Transform techniques and superconducting magnets. This technology offers unparalleled mass resolution and accuracy, enabling precise molecular weight determination and structural elucidation. The evolution of ICR-MS has been closely tied to improvements in magnetic field strength, vacuum technology, and computational capabilities.
The technological trajectory for both techniques points toward increased integration with other analytical methods, enhanced portability, and improved data processing through artificial intelligence. Recent developments in quantum cascade lasers and nanophotonics are pushing Raman spectroscopy toward greater sensitivity and specificity, while ICR-MS continues to benefit from advances in ion manipulation and detection systems.
The primary objective of this technical research is to conduct a comprehensive comparative analysis of Raman spectroscopy and ICR-MS for molecular structure investigation. We aim to evaluate their respective strengths, limitations, complementary aspects, and potential synergies when applied to complex molecular characterization challenges. This assessment will consider factors such as sensitivity, specificity, sample preparation requirements, spatial resolution, throughput, and cost-effectiveness.
Additionally, we seek to identify emerging hybrid approaches that combine elements of both techniques to overcome their individual limitations. By mapping the current technological landscape and future development trajectories, this research will provide strategic insights for instrumentation development, analytical method selection, and application-specific optimization across pharmaceutical, environmental, materials science, and biomedical research domains.
Raman spectroscopy, discovered by C.V. Raman in 1928, utilizes the inelastic scattering of monochromatic light to provide information about molecular vibrations. This technique has progressed from basic laboratory setups to sophisticated instruments capable of nanoscale resolution and real-time analysis. The development of Surface-Enhanced Raman Spectroscopy (SERS) in the 1970s and Tip-Enhanced Raman Spectroscopy (TERS) in the early 2000s marked significant milestones that dramatically improved sensitivity and spatial resolution.
ICR-MS, first developed by Comisarow and Marshall in the 1970s, has undergone remarkable advancement with the introduction of Fourier Transform techniques and superconducting magnets. This technology offers unparalleled mass resolution and accuracy, enabling precise molecular weight determination and structural elucidation. The evolution of ICR-MS has been closely tied to improvements in magnetic field strength, vacuum technology, and computational capabilities.
The technological trajectory for both techniques points toward increased integration with other analytical methods, enhanced portability, and improved data processing through artificial intelligence. Recent developments in quantum cascade lasers and nanophotonics are pushing Raman spectroscopy toward greater sensitivity and specificity, while ICR-MS continues to benefit from advances in ion manipulation and detection systems.
The primary objective of this technical research is to conduct a comprehensive comparative analysis of Raman spectroscopy and ICR-MS for molecular structure investigation. We aim to evaluate their respective strengths, limitations, complementary aspects, and potential synergies when applied to complex molecular characterization challenges. This assessment will consider factors such as sensitivity, specificity, sample preparation requirements, spatial resolution, throughput, and cost-effectiveness.
Additionally, we seek to identify emerging hybrid approaches that combine elements of both techniques to overcome their individual limitations. By mapping the current technological landscape and future development trajectories, this research will provide strategic insights for instrumentation development, analytical method selection, and application-specific optimization across pharmaceutical, environmental, materials science, and biomedical research domains.
Market Applications and Research Demand
The market for molecular structure investigation technologies has witnessed significant growth in recent years, driven by increasing demands across pharmaceutical, biotechnology, materials science, and environmental monitoring sectors. Raman spectroscopy and Ion Cyclotron Resonance Mass Spectrometry (ICR-MS) represent two distinct yet complementary approaches that address different market needs within this space.
In the pharmaceutical industry, the demand for precise molecular characterization has intensified with the rise of complex biologics and personalized medicine. This sector values Raman spectroscopy for its non-destructive analysis capabilities during formulation development and quality control processes. The global pharmaceutical analytical testing market, where these technologies play a crucial role, is projected to grow substantially through 2028, with molecular structure analysis forming a significant segment.
Biotechnology research facilities increasingly rely on both technologies, with ICR-MS finding particular application in proteomics and metabolomics due to its unparalleled mass accuracy and resolution. The ability to identify thousands of compounds in complex biological matrices drives adoption in academic and industrial research settings focused on disease biomarker discovery and systems biology.
Materials science represents another growth area, particularly for Raman spectroscopy, which enables characterization of novel materials including nanomaterials, polymers, and semiconductors. The non-destructive nature and spatial resolution capabilities make it invaluable for R&D departments developing advanced materials with specific molecular properties.
Environmental monitoring applications have expanded for both technologies, with ICR-MS excelling in the detection of complex organic pollutants in environmental samples. Regulatory agencies and environmental research organizations utilize these technologies to identify emerging contaminants at increasingly lower detection limits, supporting environmental protection initiatives worldwide.
Clinical diagnostics represents an emerging market, particularly for Raman spectroscopy, which shows promise for rapid disease diagnosis through molecular fingerprinting of biological samples. Research interest in this area has grown substantially, with numerous studies exploring applications in cancer detection, infectious disease diagnosis, and monitoring of therapeutic responses.
The academic research sector maintains strong demand for both technologies, with universities and research institutes investing in advanced instrumentation to support fundamental research in chemistry, biology, and materials science. This sector drives innovation in methodology development and novel applications, often translating into commercial opportunities.
Food and beverage industry applications are expanding, with both technologies finding use in authentication, adulteration detection, and quality control processes where molecular composition analysis provides critical insights into product integrity and safety.
In the pharmaceutical industry, the demand for precise molecular characterization has intensified with the rise of complex biologics and personalized medicine. This sector values Raman spectroscopy for its non-destructive analysis capabilities during formulation development and quality control processes. The global pharmaceutical analytical testing market, where these technologies play a crucial role, is projected to grow substantially through 2028, with molecular structure analysis forming a significant segment.
Biotechnology research facilities increasingly rely on both technologies, with ICR-MS finding particular application in proteomics and metabolomics due to its unparalleled mass accuracy and resolution. The ability to identify thousands of compounds in complex biological matrices drives adoption in academic and industrial research settings focused on disease biomarker discovery and systems biology.
Materials science represents another growth area, particularly for Raman spectroscopy, which enables characterization of novel materials including nanomaterials, polymers, and semiconductors. The non-destructive nature and spatial resolution capabilities make it invaluable for R&D departments developing advanced materials with specific molecular properties.
Environmental monitoring applications have expanded for both technologies, with ICR-MS excelling in the detection of complex organic pollutants in environmental samples. Regulatory agencies and environmental research organizations utilize these technologies to identify emerging contaminants at increasingly lower detection limits, supporting environmental protection initiatives worldwide.
Clinical diagnostics represents an emerging market, particularly for Raman spectroscopy, which shows promise for rapid disease diagnosis through molecular fingerprinting of biological samples. Research interest in this area has grown substantially, with numerous studies exploring applications in cancer detection, infectious disease diagnosis, and monitoring of therapeutic responses.
The academic research sector maintains strong demand for both technologies, with universities and research institutes investing in advanced instrumentation to support fundamental research in chemistry, biology, and materials science. This sector drives innovation in methodology development and novel applications, often translating into commercial opportunities.
Food and beverage industry applications are expanding, with both technologies finding use in authentication, adulteration detection, and quality control processes where molecular composition analysis provides critical insights into product integrity and safety.
Current Capabilities and Technical Limitations
Raman spectroscopy and Ion Cyclotron Resonance Mass Spectrometry (ICR-MS) represent two powerful analytical techniques for molecular structure investigation, each with distinct capabilities and limitations. Current Raman spectroscopy systems offer non-destructive analysis with minimal sample preparation, enabling real-time in-situ measurements across various sample states (solid, liquid, gas). Modern instruments achieve spatial resolution down to sub-micron levels through confocal configurations, with spectral resolution typically ranging from 0.5-5 cm⁻¹.
Despite these advantages, Raman spectroscopy faces significant sensitivity challenges, with typical detection limits in the parts-per-thousand range. This limitation stems from the inherently weak Raman scattering effect, where only approximately 1 in 10⁷ photons undergoes Raman scattering. Fluorescence interference remains a persistent challenge, often overwhelming the weaker Raman signals, particularly when analyzing biological samples or materials with fluorescent impurities.
In contrast, ICR-MS currently delivers unparalleled mass resolution (>1,000,000) and mass accuracy (<1 ppm), enabling precise molecular formula determination even in complex mixtures. Modern systems can detect analytes at femtomole to attomole levels, representing sensitivity orders of magnitude greater than Raman techniques. The ability to perform tandem MS experiments (MS/MS) provides detailed structural information through controlled fragmentation patterns.
However, ICR-MS systems face substantial technical limitations. The requirement for ultra-high vacuum conditions necessitates complex and expensive instrumentation, with typical systems costing 5-10 times more than advanced Raman setups. Sample preparation is invasive and time-consuming, often requiring extraction, ionization, and potential structural modification of the original molecules. The technique is fundamentally destructive, consuming the sample during analysis.
Both technologies face computational challenges in data interpretation. Raman spectroscopy requires sophisticated algorithms to extract meaningful structural information from complex spectral patterns and overcome noise limitations. ICR-MS generates enormous datasets, particularly for complex samples, necessitating advanced computational approaches for spectral deconvolution and structural assignment.
Integration attempts between these technologies remain limited, with few commercial platforms offering seamless data correlation. Current software solutions struggle to effectively combine the complementary molecular information provided by each technique, representing a significant opportunity for technological advancement in comprehensive molecular structure elucidation.
Despite these advantages, Raman spectroscopy faces significant sensitivity challenges, with typical detection limits in the parts-per-thousand range. This limitation stems from the inherently weak Raman scattering effect, where only approximately 1 in 10⁷ photons undergoes Raman scattering. Fluorescence interference remains a persistent challenge, often overwhelming the weaker Raman signals, particularly when analyzing biological samples or materials with fluorescent impurities.
In contrast, ICR-MS currently delivers unparalleled mass resolution (>1,000,000) and mass accuracy (<1 ppm), enabling precise molecular formula determination even in complex mixtures. Modern systems can detect analytes at femtomole to attomole levels, representing sensitivity orders of magnitude greater than Raman techniques. The ability to perform tandem MS experiments (MS/MS) provides detailed structural information through controlled fragmentation patterns.
However, ICR-MS systems face substantial technical limitations. The requirement for ultra-high vacuum conditions necessitates complex and expensive instrumentation, with typical systems costing 5-10 times more than advanced Raman setups. Sample preparation is invasive and time-consuming, often requiring extraction, ionization, and potential structural modification of the original molecules. The technique is fundamentally destructive, consuming the sample during analysis.
Both technologies face computational challenges in data interpretation. Raman spectroscopy requires sophisticated algorithms to extract meaningful structural information from complex spectral patterns and overcome noise limitations. ICR-MS generates enormous datasets, particularly for complex samples, necessitating advanced computational approaches for spectral deconvolution and structural assignment.
Integration attempts between these technologies remain limited, with few commercial platforms offering seamless data correlation. Current software solutions struggle to effectively combine the complementary molecular information provided by each technique, representing a significant opportunity for technological advancement in comprehensive molecular structure elucidation.
Comparative Analysis of Raman and ICR-MS Methodologies
01 Combined use of Raman spectroscopy and ICR-MS for molecular structure analysis
The integration of Raman spectroscopy and Ion Cyclotron Resonance Mass Spectrometry (ICR-MS) provides complementary data for comprehensive molecular structure determination. Raman spectroscopy offers vibrational information about molecular bonds and functional groups, while ICR-MS provides precise mass measurements and fragmentation patterns. This combined approach enables more accurate identification and characterization of complex molecular structures than either technique alone.- Combining Raman spectroscopy with ICR-MS for molecular structure analysis: The integration of Raman spectroscopy with Ion Cyclotron Resonance Mass Spectrometry (ICR-MS) provides complementary analytical capabilities for comprehensive molecular structure determination. Raman spectroscopy offers vibrational information about molecular bonds and functional groups, while ICR-MS provides precise mass measurements and molecular formula determination. This combination enables researchers to elucidate complex molecular structures with high accuracy and resolution, particularly useful for analyzing biological samples, polymers, and other complex organic compounds.
- High-resolution molecular characterization using FT-ICR-MS: Fourier Transform Ion Cyclotron Resonance Mass Spectrometry (FT-ICR-MS) offers ultra-high resolution and mass accuracy for molecular characterization. This technique enables the determination of exact molecular formulas and structural features by precisely measuring mass-to-charge ratios of ions in a magnetic field. FT-ICR-MS is particularly valuable for analyzing complex mixtures, identifying isomers, and characterizing large biomolecules. The high resolving power allows for the differentiation of molecules with very small mass differences, providing detailed structural information that complements Raman spectroscopic data.
- Enhanced molecular identification through Raman spectroscopy techniques: Advanced Raman spectroscopy techniques, including Surface-Enhanced Raman Spectroscopy (SERS), Resonance Raman, and Coherent Anti-Stokes Raman Spectroscopy (CARS), significantly improve molecular identification capabilities. These techniques enhance the sensitivity and specificity of conventional Raman spectroscopy, allowing for the detection and characterization of molecular structures at lower concentrations. When used in conjunction with ICR-MS data, these enhanced Raman techniques provide detailed information about molecular vibrations, bond strengths, and functional group arrangements, facilitating more comprehensive structural elucidation.
- Data processing and algorithm development for spectral analysis: Sophisticated data processing methods and algorithms are essential for interpreting the complex data generated by Raman spectroscopy and ICR-MS. These computational approaches include multivariate statistical analysis, machine learning algorithms, and specialized software for spectral deconvolution and peak assignment. Advanced data fusion techniques enable the integration of complementary information from both analytical methods, enhancing the accuracy of molecular structure determination. These computational tools help researchers extract meaningful structural information from the raw spectroscopic and spectrometric data.
- Instrumentation advancements for combined Raman and ICR-MS analysis: Recent technological advancements have led to the development of integrated instrumentation that combines Raman spectroscopy and ICR-MS capabilities. These hybrid systems feature improved ion sources, enhanced detector sensitivity, and more powerful magnets for ICR-MS, alongside advanced laser technologies and optical components for Raman spectroscopy. Innovations in sample handling and preparation techniques allow for more efficient analysis of diverse sample types. These instrumental improvements enable faster analysis times, reduced sample requirements, and enhanced detection limits for molecular structure determination.
02 High-resolution molecular analysis using advanced ICR-MS techniques
Advanced Ion Cyclotron Resonance Mass Spectrometry techniques offer ultra-high resolution for molecular structure determination. These methods utilize strong magnetic fields to trap ions and measure their cyclotron frequencies with exceptional precision, allowing for the differentiation of molecules with very similar masses. This high mass accuracy enables the determination of elemental compositions and structural features of complex molecules, particularly useful for analyzing large biomolecules, petroleum compounds, and environmental samples.Expand Specific Solutions03 Enhanced Raman spectroscopy methods for molecular structure identification
Enhanced Raman spectroscopy techniques, including Surface-Enhanced Raman Spectroscopy (SERS) and Resonance Raman Spectroscopy, significantly improve sensitivity and specificity for molecular structure analysis. These methods amplify the typically weak Raman signals, enabling detection of low concentration samples and providing detailed vibrational information about specific molecular bonds and functional groups. The enhanced techniques are particularly valuable for analyzing biological samples, pharmaceuticals, and nanomaterials where traditional Raman spectroscopy might be insufficient.Expand Specific Solutions04 Data processing and analysis algorithms for spectroscopic and mass spectrometry data
Specialized algorithms and computational methods are essential for processing and interpreting the complex data generated by Raman spectroscopy and ICR-MS. These include machine learning approaches, multivariate statistical analysis, and database matching techniques that can identify patterns, remove noise, and extract meaningful structural information from spectral data. Advanced software solutions enable automated analysis of large datasets, correlation of complementary spectroscopic information, and visualization of molecular structures based on the combined analytical results.Expand Specific Solutions05 Instrumentation innovations for combined spectroscopic and mass spectrometry analysis
Novel instrumentation designs enable more efficient and integrated analysis using both Raman spectroscopy and ICR-MS. These innovations include hybrid systems that can perform both analyses on the same sample, specialized sample introduction interfaces, and miniaturized or portable devices. Technological advancements in ion trapping, laser sources, detectors, and vacuum systems have improved sensitivity, resolution, and throughput while reducing analysis time and sample requirements for molecular structure determination.Expand Specific Solutions
Leading Manufacturers and Research Institutions
Raman Spectroscopy and ICR-MS technologies for molecular structure investigation are currently in a growth phase, with the market expected to reach significant expansion due to increasing applications in pharmaceuticals, materials science, and biomedical research. The global analytical instrumentation market for these technologies is estimated to be worth several billion dollars, with steady annual growth. Technologically, both methods are mature but continuously evolving, with companies like Intel Corp. and HP Development Co. LP contributing to data processing innovations, while specialized research entities such as Southwest Research Institute and Excelitas Technologies Corp. focus on hardware advancements. Academic institutions including Purdue Research Foundation, École Polytechnique Fédérale de Lausanne, and Politecnico di Milano are driving fundamental research, while commercial applications are being developed by Sony Group Corp. and Creo Medical Ltd., creating a competitive landscape balanced between established players and innovative newcomers.
Purdue Research Foundation
Technical Solution: Purdue Research Foundation has developed an innovative analytical framework combining ambient ionization techniques with Raman spectroscopy and ICR-MS for comprehensive molecular structure investigation. Their approach utilizes desorption electrospray ionization (DESI) coupled with Raman mapping and ultrahigh-resolution FT-ICR-MS to provide multi-modal structural information from intact samples. Purdue researchers have created specialized sample stages that enable sequential or simultaneous acquisition of both Raman and mass spectral data from identical sample locations. Their system incorporates advanced chemometric algorithms that integrate complementary structural information from vibrational spectroscopy and exact mass measurements. The platform has been successfully applied to pharmaceutical analysis, metabolomics, and forensic investigations, demonstrating superior structural elucidation capabilities compared to either technique alone. Purdue has also developed specialized databases that correlate Raman spectral features with molecular fragmentation patterns observed in ICR-MS.
Strengths: Strong integration with ambient ionization techniques; excellent capabilities for direct sample analysis; comprehensive data processing workflows. Weaknesses: System complexity may limit widespread adoption; requires significant expertise in both spectroscopic and mass spectrometric techniques; data integration challenges for highly complex samples.
Southwest Research Institute
Technical Solution: Southwest Research Institute (SwRI) has developed a comprehensive analytical platform that integrates Raman spectroscopy with ICR-MS for advanced molecular structure investigation in complex matrices. Their system employs a unique sample handling interface that allows for sequential analysis of identical sample regions using both techniques without compromising sample integrity. SwRI's approach incorporates specialized software algorithms that correlate vibrational spectroscopic data with high-resolution mass spectrometric information to provide enhanced structural elucidation. The platform features automated calibration protocols that ensure consistent performance across diverse sample types, from petroleum products to pharmaceutical compounds. SwRI has also implemented machine learning techniques to identify structural patterns across both analytical methods, significantly improving identification capabilities for unknown compounds in complex environmental and industrial samples.
Strengths: Robust engineering approach suitable for industrial applications; excellent system reliability and reproducibility; strong capabilities in handling complex sample matrices. Weaknesses: Less focus on fundamental research compared to academic institutions; system may be optimized for specific industrial applications rather than broad research flexibility.
Key Technological Innovations and Patents
Estimation of ion cyclotron resonance parameters in fourier transform mass spectrometry
PatentInactiveUS20130018600A1
Innovation
- A model-based estimation method that maximizes the likelihood of the observed complex-valued frequency spectrum is used to estimate initial magnitude, frequency, initial phase, and decay constant of ion packets, employing a physical model that accounts for the sinusoidal, decaying exponential, and square window components of the FTMS signal, thereby preserving phase information and reducing noise impact.
High mass resolution with ICR measuring cells
PatentActiveUS8193490B2
Innovation
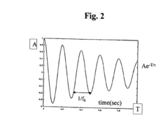
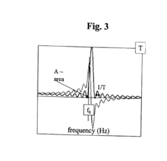
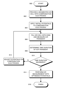
- Optimizing the compensation potentials in ICR measuring cells with compensation electrodes to extend the duration of usable transients and stabilize ion clouds, rather than aiming for an ideal quadrupolar field distribution, allows for longer ion cloud stability and reduced peak coalescence.
Interdisciplinary Applications and Industry Integration
The integration of Raman spectroscopy and ICR-MS technologies across diverse scientific disciplines has catalyzed unprecedented advancements in multiple industries. In pharmaceutical development, these complementary analytical methods enable comprehensive characterization of drug candidates, with Raman providing rapid structural screening while ICR-MS delivers precise molecular formula confirmation. This synergistic approach has significantly reduced drug development timelines and improved quality control processes.
The food and beverage industry has embraced these technologies for authentication and adulteration detection. Raman spectroscopy offers non-destructive, on-site analysis of food components, while ICR-MS provides detailed molecular fingerprinting of complex mixtures. Together, they create robust verification systems that protect brand integrity and consumer safety, particularly valuable for high-value products like olive oil, honey, and wine.
Environmental monitoring represents another critical application domain. Raman spectroscopy enables field-deployable detection of pollutants in water and soil, while ICR-MS provides laboratory confirmation and quantification of trace contaminants. This dual-technology approach has revolutionized environmental compliance monitoring and remediation efforts by combining immediate detection with definitive identification.
In materials science and nanotechnology, these techniques facilitate advanced characterization of novel materials. Raman spectroscopy reveals structural properties and defects in carbon nanomaterials, while ICR-MS elucidates their precise molecular composition. This integration has accelerated innovation in fields ranging from semiconductor development to advanced composites manufacturing.
The forensic science community has adopted these complementary technologies for enhanced evidence analysis. Raman spectroscopy allows non-destructive screening of trace evidence, while ICR-MS provides court-admissible molecular identification. This combination has strengthened the scientific foundation of criminal investigations and improved the reliability of forensic conclusions.
Healthcare diagnostics represents perhaps the most promising frontier for integration. Raman-based techniques are being developed for rapid, non-invasive disease screening, while ICR-MS offers deep molecular profiling of biological samples. Combined approaches are showing particular promise in early cancer detection, metabolic disorder diagnosis, and personalized medicine applications, where structural and compositional information together provide more comprehensive clinical insights than either technology alone.
The food and beverage industry has embraced these technologies for authentication and adulteration detection. Raman spectroscopy offers non-destructive, on-site analysis of food components, while ICR-MS provides detailed molecular fingerprinting of complex mixtures. Together, they create robust verification systems that protect brand integrity and consumer safety, particularly valuable for high-value products like olive oil, honey, and wine.
Environmental monitoring represents another critical application domain. Raman spectroscopy enables field-deployable detection of pollutants in water and soil, while ICR-MS provides laboratory confirmation and quantification of trace contaminants. This dual-technology approach has revolutionized environmental compliance monitoring and remediation efforts by combining immediate detection with definitive identification.
In materials science and nanotechnology, these techniques facilitate advanced characterization of novel materials. Raman spectroscopy reveals structural properties and defects in carbon nanomaterials, while ICR-MS elucidates their precise molecular composition. This integration has accelerated innovation in fields ranging from semiconductor development to advanced composites manufacturing.
The forensic science community has adopted these complementary technologies for enhanced evidence analysis. Raman spectroscopy allows non-destructive screening of trace evidence, while ICR-MS provides court-admissible molecular identification. This combination has strengthened the scientific foundation of criminal investigations and improved the reliability of forensic conclusions.
Healthcare diagnostics represents perhaps the most promising frontier for integration. Raman-based techniques are being developed for rapid, non-invasive disease screening, while ICR-MS offers deep molecular profiling of biological samples. Combined approaches are showing particular promise in early cancer detection, metabolic disorder diagnosis, and personalized medicine applications, where structural and compositional information together provide more comprehensive clinical insights than either technology alone.
Cost-Benefit Analysis and Implementation Considerations
When comparing Raman spectroscopy and ICR-MS (Ion Cyclotron Resonance Mass Spectrometry) for molecular structure investigation, cost-benefit analysis reveals significant differences that impact implementation decisions across various research and industrial settings.
Initial investment for Raman spectroscopy systems typically ranges from $30,000 to $150,000, depending on resolution and capabilities, while high-end ICR-MS systems can cost between $500,000 and $2 million. This substantial price difference makes Raman spectroscopy more accessible for smaller laboratories and companies with limited budgets.
Operational costs further differentiate these technologies. Raman spectroscopy requires minimal sample preparation and consumables, with annual maintenance costs averaging 5-10% of the initial investment. Conversely, ICR-MS demands specialized sample preparation, high-purity solvents, and carrier gases, with maintenance costs reaching 15-20% of the initial investment annually. Additionally, ICR-MS systems require specialized facilities with controlled environments and dedicated utilities.
Personnel requirements present another important consideration. Raman spectroscopy can be operated by technicians with moderate training, while ICR-MS typically requires specialized personnel with advanced degrees in analytical chemistry or related fields, commanding higher salaries and increasing operational costs.
Sample throughput and analysis time favor Raman spectroscopy for rapid screening applications. Raman analysis typically takes seconds to minutes per sample, while ICR-MS analysis may require 30 minutes to several hours per sample, including preparation time. This difference significantly impacts productivity in high-volume testing environments.
Implementation considerations must account for space requirements. Raman systems are relatively compact, often fitting on a standard laboratory bench, while ICR-MS systems require dedicated rooms with specialized infrastructure. This spatial requirement can be prohibitive for facilities with limited space.
Return on investment calculations should incorporate application-specific factors. For routine quality control or material identification, Raman spectroscopy often provides sufficient information at a fraction of the cost. For complex molecular structure elucidation requiring ultra-high resolution and exact mass measurements, the additional investment in ICR-MS may be justified despite higher costs.
Hybrid approaches are increasingly common, where Raman spectroscopy serves as a rapid screening tool, with only selected samples requiring further analysis by ICR-MS. This strategy optimizes resource allocation while maintaining analytical capabilities across a range of applications.
Initial investment for Raman spectroscopy systems typically ranges from $30,000 to $150,000, depending on resolution and capabilities, while high-end ICR-MS systems can cost between $500,000 and $2 million. This substantial price difference makes Raman spectroscopy more accessible for smaller laboratories and companies with limited budgets.
Operational costs further differentiate these technologies. Raman spectroscopy requires minimal sample preparation and consumables, with annual maintenance costs averaging 5-10% of the initial investment. Conversely, ICR-MS demands specialized sample preparation, high-purity solvents, and carrier gases, with maintenance costs reaching 15-20% of the initial investment annually. Additionally, ICR-MS systems require specialized facilities with controlled environments and dedicated utilities.
Personnel requirements present another important consideration. Raman spectroscopy can be operated by technicians with moderate training, while ICR-MS typically requires specialized personnel with advanced degrees in analytical chemistry or related fields, commanding higher salaries and increasing operational costs.
Sample throughput and analysis time favor Raman spectroscopy for rapid screening applications. Raman analysis typically takes seconds to minutes per sample, while ICR-MS analysis may require 30 minutes to several hours per sample, including preparation time. This difference significantly impacts productivity in high-volume testing environments.
Implementation considerations must account for space requirements. Raman systems are relatively compact, often fitting on a standard laboratory bench, while ICR-MS systems require dedicated rooms with specialized infrastructure. This spatial requirement can be prohibitive for facilities with limited space.
Return on investment calculations should incorporate application-specific factors. For routine quality control or material identification, Raman spectroscopy often provides sufficient information at a fraction of the cost. For complex molecular structure elucidation requiring ultra-high resolution and exact mass measurements, the additional investment in ICR-MS may be justified despite higher costs.
Hybrid approaches are increasingly common, where Raman spectroscopy serves as a rapid screening tool, with only selected samples requiring further analysis by ICR-MS. This strategy optimizes resource allocation while maintaining analytical capabilities across a range of applications.
Unlock deeper insights with Patsnap Eureka Quick Research — get a full tech report to explore trends and direct your research. Try now!
Generate Your Research Report Instantly with AI Agent
Supercharge your innovation with Patsnap Eureka AI Agent Platform!







