How Isocyanates Spearhead Environmental Technological Change?
JUL 10, 20259 MIN READ
Generate Your Research Report Instantly with AI Agent
Patsnap Eureka helps you evaluate technical feasibility & market potential.
Isocyanate Tech Evolution
Isocyanates have played a pivotal role in driving environmental technological change over the past several decades. The evolution of isocyanate technology has been marked by significant milestones and innovations that have reshaped various industries while addressing pressing environmental concerns.
In the 1930s, Otto Bayer's groundbreaking discovery of polyurethane chemistry laid the foundation for isocyanate applications. This breakthrough opened up new possibilities for creating versatile materials with enhanced properties. The 1950s and 1960s saw rapid advancements in isocyanate-based polyurethane foams, revolutionizing insulation and cushioning materials across multiple sectors.
The 1970s marked a turning point in isocyanate technology with the introduction of water-blown foams. This innovation significantly reduced the use of ozone-depleting chlorofluorocarbons (CFCs) as blowing agents, aligning with global efforts to protect the ozone layer. Concurrently, researchers began exploring bio-based polyols as alternatives to petroleum-derived feedstocks, initiating a shift towards more sustainable raw materials.
The 1980s and 1990s witnessed the development of low-emission and zero-emission isocyanate systems. These advancements addressed concerns about indoor air quality and occupational health, particularly in the construction and automotive industries. The introduction of blocked isocyanates during this period also enhanced the safety and handling of these reactive compounds.
At the turn of the millennium, nanotechnology began to influence isocyanate applications. Nanocomposite polyurethanes emerged, offering improved mechanical properties and flame retardancy without compromising environmental performance. This period also saw increased focus on recycling and recovery technologies for isocyanate-based products, contributing to circular economy initiatives.
Recent years have seen a surge in bio-based isocyanates and non-isocyanate polyurethanes (NIPUs). These innovations aim to reduce dependence on fossil resources and minimize environmental impact. Additionally, advancements in catalysis and process technologies have led to more energy-efficient production methods, further enhancing the sustainability profile of isocyanate-based materials.
The ongoing evolution of isocyanate technology continues to address environmental challenges. Current research focuses on developing fully biodegradable polyurethanes, improving recycling processes, and exploring novel applications in areas such as energy storage and environmental remediation. These efforts underscore the critical role of isocyanates in driving sustainable technological solutions across diverse industries.
In the 1930s, Otto Bayer's groundbreaking discovery of polyurethane chemistry laid the foundation for isocyanate applications. This breakthrough opened up new possibilities for creating versatile materials with enhanced properties. The 1950s and 1960s saw rapid advancements in isocyanate-based polyurethane foams, revolutionizing insulation and cushioning materials across multiple sectors.
The 1970s marked a turning point in isocyanate technology with the introduction of water-blown foams. This innovation significantly reduced the use of ozone-depleting chlorofluorocarbons (CFCs) as blowing agents, aligning with global efforts to protect the ozone layer. Concurrently, researchers began exploring bio-based polyols as alternatives to petroleum-derived feedstocks, initiating a shift towards more sustainable raw materials.
The 1980s and 1990s witnessed the development of low-emission and zero-emission isocyanate systems. These advancements addressed concerns about indoor air quality and occupational health, particularly in the construction and automotive industries. The introduction of blocked isocyanates during this period also enhanced the safety and handling of these reactive compounds.
At the turn of the millennium, nanotechnology began to influence isocyanate applications. Nanocomposite polyurethanes emerged, offering improved mechanical properties and flame retardancy without compromising environmental performance. This period also saw increased focus on recycling and recovery technologies for isocyanate-based products, contributing to circular economy initiatives.
Recent years have seen a surge in bio-based isocyanates and non-isocyanate polyurethanes (NIPUs). These innovations aim to reduce dependence on fossil resources and minimize environmental impact. Additionally, advancements in catalysis and process technologies have led to more energy-efficient production methods, further enhancing the sustainability profile of isocyanate-based materials.
The ongoing evolution of isocyanate technology continues to address environmental challenges. Current research focuses on developing fully biodegradable polyurethanes, improving recycling processes, and exploring novel applications in areas such as energy storage and environmental remediation. These efforts underscore the critical role of isocyanates in driving sustainable technological solutions across diverse industries.
Green Market Demand
The global market for environmentally friendly products and technologies has been experiencing significant growth in recent years, driven by increasing awareness of environmental issues and the urgent need to address climate change. This trend has created a substantial demand for green alternatives in various industries, including those that traditionally rely on isocyanates.
Isocyanates, widely used in the production of polyurethanes, have long been a concern due to their potential environmental and health impacts. However, the growing demand for sustainable solutions has pushed the industry to explore and develop eco-friendly alternatives and improved production processes for isocyanates. This shift is not only driven by consumer preferences but also by stringent regulations and corporate sustainability goals.
In the construction sector, there is a rising demand for green building materials, including insulation and sealants that offer improved energy efficiency without compromising environmental safety. This has led to the development of bio-based isocyanates and low-VOC (volatile organic compound) formulations that meet both performance and sustainability criteria.
The automotive industry, another major consumer of isocyanate-based products, is increasingly focusing on lightweight materials and eco-friendly interiors to reduce vehicle emissions and improve fuel efficiency. This has created a market for sustainable polyurethane foams and coatings that maintain durability while reducing environmental impact.
In the textile and footwear industries, there is a growing preference for water-based polyurethane systems over solvent-based ones, driven by both environmental concerns and worker safety considerations. This shift has spurred innovation in isocyanate chemistry to develop products that can be processed using water-based systems without sacrificing performance.
The packaging industry is also witnessing a surge in demand for biodegradable and recyclable materials, prompting research into isocyanate-based adhesives and coatings that are compatible with eco-friendly packaging solutions. This includes the development of compostable and bio-based polyurethanes that can replace traditional petroleum-based products.
Furthermore, the increasing focus on circular economy principles has created a market for recyclable and reprocessable polyurethanes. This has led to advancements in the design of isocyanate-based materials that can be more easily disassembled and reused, aligning with the growing demand for sustainable product lifecycles.
As consumers become more environmentally conscious, there is also a rising demand for transparency in product composition and manufacturing processes. This has pushed isocyanate producers and downstream manufacturers to invest in cleaner production technologies and to develop products with improved environmental profiles, including reduced carbon footprints and minimized waste generation.
Isocyanates, widely used in the production of polyurethanes, have long been a concern due to their potential environmental and health impacts. However, the growing demand for sustainable solutions has pushed the industry to explore and develop eco-friendly alternatives and improved production processes for isocyanates. This shift is not only driven by consumer preferences but also by stringent regulations and corporate sustainability goals.
In the construction sector, there is a rising demand for green building materials, including insulation and sealants that offer improved energy efficiency without compromising environmental safety. This has led to the development of bio-based isocyanates and low-VOC (volatile organic compound) formulations that meet both performance and sustainability criteria.
The automotive industry, another major consumer of isocyanate-based products, is increasingly focusing on lightweight materials and eco-friendly interiors to reduce vehicle emissions and improve fuel efficiency. This has created a market for sustainable polyurethane foams and coatings that maintain durability while reducing environmental impact.
In the textile and footwear industries, there is a growing preference for water-based polyurethane systems over solvent-based ones, driven by both environmental concerns and worker safety considerations. This shift has spurred innovation in isocyanate chemistry to develop products that can be processed using water-based systems without sacrificing performance.
The packaging industry is also witnessing a surge in demand for biodegradable and recyclable materials, prompting research into isocyanate-based adhesives and coatings that are compatible with eco-friendly packaging solutions. This includes the development of compostable and bio-based polyurethanes that can replace traditional petroleum-based products.
Furthermore, the increasing focus on circular economy principles has created a market for recyclable and reprocessable polyurethanes. This has led to advancements in the design of isocyanate-based materials that can be more easily disassembled and reused, aligning with the growing demand for sustainable product lifecycles.
As consumers become more environmentally conscious, there is also a rising demand for transparency in product composition and manufacturing processes. This has pushed isocyanate producers and downstream manufacturers to invest in cleaner production technologies and to develop products with improved environmental profiles, including reduced carbon footprints and minimized waste generation.
Eco-Challenges in Isocyanates
Isocyanates, widely used in the production of polyurethanes, have long been a cornerstone of various industries. However, their environmental impact has become a growing concern in recent years. The eco-challenges associated with isocyanates primarily stem from their production processes, usage, and disposal methods, which can have significant environmental repercussions.
One of the main environmental challenges is the release of volatile organic compounds (VOCs) during the manufacturing and application of isocyanate-based products. These emissions contribute to air pollution and can lead to the formation of ground-level ozone, a key component of smog. Additionally, some isocyanates are known to have potential carcinogenic properties, posing risks to both human health and ecosystems when released into the environment.
Water pollution is another critical eco-challenge associated with isocyanates. Improper disposal or accidental spills can lead to contamination of water bodies, affecting aquatic life and potentially entering the food chain. The persistence of certain isocyanate compounds in the environment further exacerbates this issue, as they may not readily biodegrade and can accumulate in ecosystems over time.
The energy-intensive nature of isocyanate production also contributes to its environmental footprint. The manufacturing process typically requires high temperatures and pressures, resulting in substantial energy consumption and associated greenhouse gas emissions. This aspect of isocyanate production aligns with broader concerns about industrial energy use and its impact on climate change.
Furthermore, the raw materials used in isocyanate production, particularly petroleum-based feedstocks, raise sustainability concerns. The reliance on non-renewable resources not only depletes finite supplies but also contributes to the overall carbon footprint of isocyanate-based products throughout their lifecycle.
Waste management presents another significant eco-challenge. The disposal of isocyanate-containing products, such as polyurethane foams and coatings, can be problematic due to their resistance to degradation. Improper disposal methods may lead to long-term environmental contamination and pose risks to wildlife and ecosystems.
Addressing these eco-challenges requires a multifaceted approach, involving innovations in production technologies, development of more environmentally friendly alternatives, and implementation of stringent regulations and best practices for handling and disposal. The industry is increasingly focusing on developing bio-based isocyanates, improving production efficiencies, and exploring closed-loop recycling systems to mitigate the environmental impact of these versatile but potentially harmful compounds.
One of the main environmental challenges is the release of volatile organic compounds (VOCs) during the manufacturing and application of isocyanate-based products. These emissions contribute to air pollution and can lead to the formation of ground-level ozone, a key component of smog. Additionally, some isocyanates are known to have potential carcinogenic properties, posing risks to both human health and ecosystems when released into the environment.
Water pollution is another critical eco-challenge associated with isocyanates. Improper disposal or accidental spills can lead to contamination of water bodies, affecting aquatic life and potentially entering the food chain. The persistence of certain isocyanate compounds in the environment further exacerbates this issue, as they may not readily biodegrade and can accumulate in ecosystems over time.
The energy-intensive nature of isocyanate production also contributes to its environmental footprint. The manufacturing process typically requires high temperatures and pressures, resulting in substantial energy consumption and associated greenhouse gas emissions. This aspect of isocyanate production aligns with broader concerns about industrial energy use and its impact on climate change.
Furthermore, the raw materials used in isocyanate production, particularly petroleum-based feedstocks, raise sustainability concerns. The reliance on non-renewable resources not only depletes finite supplies but also contributes to the overall carbon footprint of isocyanate-based products throughout their lifecycle.
Waste management presents another significant eco-challenge. The disposal of isocyanate-containing products, such as polyurethane foams and coatings, can be problematic due to their resistance to degradation. Improper disposal methods may lead to long-term environmental contamination and pose risks to wildlife and ecosystems.
Addressing these eco-challenges requires a multifaceted approach, involving innovations in production technologies, development of more environmentally friendly alternatives, and implementation of stringent regulations and best practices for handling and disposal. The industry is increasingly focusing on developing bio-based isocyanates, improving production efficiencies, and exploring closed-loop recycling systems to mitigate the environmental impact of these versatile but potentially harmful compounds.
Green Isocyanate Solutions
01 Synthesis and production of isocyanates
Various methods and processes for synthesizing and producing isocyanates are described. These include novel reaction pathways, catalysts, and production techniques to improve yield, purity, and efficiency in isocyanate manufacturing.- Synthesis and production of isocyanates: Various methods and processes for synthesizing and producing isocyanates are described. These include novel catalysts, reaction conditions, and precursor materials to improve yield, purity, and efficiency in isocyanate production.
- Applications of isocyanates in polymer chemistry: Isocyanates are widely used in polymer chemistry, particularly in the production of polyurethanes. The patents describe various formulations, curing methods, and applications of isocyanate-based polymers in coatings, adhesives, and foams.
- Isocyanate-modified compounds and materials: This category covers the modification of various compounds and materials using isocyanates. These modifications can impart new properties or enhance existing characteristics of the base materials, leading to improved performance in specific applications.
- Safety and handling of isocyanates: Given the reactive nature of isocyanates, several patents focus on improving safety in handling and using these compounds. This includes methods for reducing toxicity, improving storage stability, and developing safer formulations for various applications.
- Analytical methods for isocyanates: Various analytical techniques and methods for detecting, quantifying, and characterizing isocyanates are described. These methods are crucial for quality control in production processes and for monitoring environmental and occupational exposure to isocyanates.
02 Applications of isocyanates in polymer chemistry
Isocyanates are widely used in polymer chemistry, particularly in the production of polyurethanes. The patents discuss various applications, including coatings, adhesives, foams, and elastomers, as well as novel formulations and processing techniques.Expand Specific Solutions03 Isocyanate-based catalysts and reaction modifiers
Several patents focus on the development of isocyanate-based catalysts and reaction modifiers. These compounds are used to enhance chemical reactions, improve product properties, or catalyze specific transformations in various industrial processes.Expand Specific Solutions04 Safety and handling of isocyanates
Given the reactive nature of isocyanates, patents address safety concerns and handling procedures. This includes methods for reducing toxicity, improving storage stability, and developing safer formulations for industrial use.Expand Specific Solutions05 Isocyanate-free alternatives and substitutes
Some patents explore alternatives to traditional isocyanates, aiming to develop more environmentally friendly or less hazardous options. This includes novel chemistries, bio-based materials, and alternative crosslinking agents that can replace isocyanates in certain applications.Expand Specific Solutions
Key Eco-Innovators
The isocyanates market is in a mature growth phase, with a global market size expected to reach $38.7 billion by 2027. The technology's maturity is evident in the diverse applications across industries, from polyurethanes to coatings. Key players like Wanhua Chemical Group, BASF, Covestro, and Mitsui Chemicals are driving innovation in environmental sustainability. These companies are focusing on developing bio-based isocyanates and improving production processes to reduce environmental impact. The competitive landscape is characterized by intense R&D efforts, with academic institutions like Hebei University of Technology and the Chinese Academy of Sciences contributing to technological advancements. As environmental regulations tighten globally, companies are increasingly investing in green technologies, positioning isocyanates as a critical component in the transition towards more sustainable chemical solutions.
Wanhua Chemical Group Co., Ltd.
Technical Solution: Wanhua Chemical has made significant strides in environmentally friendly isocyanate technologies. They have developed a proprietary gas phase phosgenation technology for MDI production, which reduces energy consumption by 35% and carbon emissions by 60% compared to traditional liquid phase processes[9]. Wanhua has also introduced bio-based polyols for polyurethane production, sourced from castor oil and other renewable materials[10]. Their water-blown spray foam insulation systems offer improved energy efficiency in buildings without using harmful blowing agents[11]. Additionally, Wanhua has invested in recycling technologies for post-consumer polyurethane materials, contributing to a circular economy approach in isocyanate-based products[12].
Strengths: Leading position in Asian markets, strong vertical integration, advanced production technologies. Weaknesses: Relatively newer entrant to global markets, potential geopolitical challenges affecting international expansion.
BASF Corp.
Technical Solution: BASF has developed innovative isocyanate-based solutions for environmental technological change. Their approach includes the creation of bio-based isocyanates derived from renewable resources, reducing reliance on fossil fuels[1]. They have also introduced water-based polyurethane dispersions that significantly lower VOC emissions[2]. BASF's proprietary microcellular polyurethane technology, Elastocool, enhances energy efficiency in refrigeration applications by up to 10%[3]. Additionally, their Elastopan material, made from castor oil-based isocyanates, is used in automotive components, reducing weight and improving fuel efficiency[4].
Strengths: Strong R&D capabilities, diverse product portfolio, and global market presence. Weaknesses: High dependency on petrochemical feedstocks for some products, potential regulatory challenges related to isocyanate handling.
Breakthrough Eco-Patents
Sustainable preparation of organic amino compounds for the production of organic isocyanates
PatentWO2024017890A2
Innovation
- A process using green hydrogen and green ammonia to produce organic amino compounds, which are then used to synthesize isocyanates, incorporating renewable energy sources and reducing waste through closed-loop recycling of materials.
Isocyanate production system, isocyanate composition, polymerizable composition, resin, and molded article
PatentWO2023022203A1
Innovation
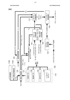
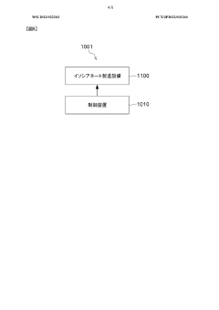
- An isocyanate production system utilizing a biomass boiler for energy, methanol or carbon recycling to produce carbon monoxide and hydrogen, and polyamine compounds from biomass raw materials, with a control device managing energy sources and raw material usage to minimize environmental impact, aiming for a carbon dioxide reduction credit through life cycle assessment.
Regulatory Landscape
The regulatory landscape surrounding isocyanates has been evolving rapidly in response to growing environmental concerns and technological advancements. Governments and international organizations have implemented increasingly stringent regulations to mitigate the environmental impact of isocyanate production and use.
In the United States, the Environmental Protection Agency (EPA) has established comprehensive guidelines under the Toxic Substances Control Act (TSCA) to regulate the manufacture, processing, and distribution of isocyanates. These regulations include strict reporting requirements, exposure limits, and safety protocols for handling and disposal.
The European Union has taken a proactive approach through the Registration, Evaluation, Authorization, and Restriction of Chemicals (REACH) regulation. REACH mandates that companies register isocyanates and provide detailed information on their properties, risks, and safe use. This has led to increased transparency and accountability in the isocyanate industry.
Japan has implemented the Chemical Substances Control Law, which requires manufacturers and importers to conduct safety assessments and report on the environmental and health impacts of isocyanates. This regulatory framework has encouraged the development of more environmentally friendly alternatives and production methods.
International agreements, such as the Stockholm Convention on Persistent Organic Pollutants, have also influenced the regulatory landscape for isocyanates. While isocyanates are not currently listed as persistent organic pollutants, the convention's principles have inspired more rigorous environmental standards in many countries.
The regulatory pressure has catalyzed significant technological innovations in the isocyanate industry. Companies are investing heavily in research and development to create more sustainable production processes and eco-friendly alternatives. This has led to the emergence of bio-based isocyanates, water-based systems, and low-VOC formulations that align with stricter environmental regulations.
Furthermore, the regulatory landscape has driven advancements in monitoring and control technologies. Real-time emission monitoring systems, advanced air filtration technologies, and improved waste treatment processes have been developed to ensure compliance with increasingly stringent environmental standards.
The global nature of the isocyanate supply chain has necessitated harmonization efforts in regulatory approaches. Organizations like the Organization for Economic Co-operation and Development (OECD) have played a crucial role in promoting consistent safety and environmental standards across different jurisdictions.
As environmental concerns continue to grow, it is anticipated that the regulatory landscape will further evolve, potentially leading to more stringent controls on isocyanate production and use. This ongoing regulatory pressure is expected to drive continued technological innovation, pushing the industry towards more sustainable practices and environmentally friendly alternatives.
In the United States, the Environmental Protection Agency (EPA) has established comprehensive guidelines under the Toxic Substances Control Act (TSCA) to regulate the manufacture, processing, and distribution of isocyanates. These regulations include strict reporting requirements, exposure limits, and safety protocols for handling and disposal.
The European Union has taken a proactive approach through the Registration, Evaluation, Authorization, and Restriction of Chemicals (REACH) regulation. REACH mandates that companies register isocyanates and provide detailed information on their properties, risks, and safe use. This has led to increased transparency and accountability in the isocyanate industry.
Japan has implemented the Chemical Substances Control Law, which requires manufacturers and importers to conduct safety assessments and report on the environmental and health impacts of isocyanates. This regulatory framework has encouraged the development of more environmentally friendly alternatives and production methods.
International agreements, such as the Stockholm Convention on Persistent Organic Pollutants, have also influenced the regulatory landscape for isocyanates. While isocyanates are not currently listed as persistent organic pollutants, the convention's principles have inspired more rigorous environmental standards in many countries.
The regulatory pressure has catalyzed significant technological innovations in the isocyanate industry. Companies are investing heavily in research and development to create more sustainable production processes and eco-friendly alternatives. This has led to the emergence of bio-based isocyanates, water-based systems, and low-VOC formulations that align with stricter environmental regulations.
Furthermore, the regulatory landscape has driven advancements in monitoring and control technologies. Real-time emission monitoring systems, advanced air filtration technologies, and improved waste treatment processes have been developed to ensure compliance with increasingly stringent environmental standards.
The global nature of the isocyanate supply chain has necessitated harmonization efforts in regulatory approaches. Organizations like the Organization for Economic Co-operation and Development (OECD) have played a crucial role in promoting consistent safety and environmental standards across different jurisdictions.
As environmental concerns continue to grow, it is anticipated that the regulatory landscape will further evolve, potentially leading to more stringent controls on isocyanate production and use. This ongoing regulatory pressure is expected to drive continued technological innovation, pushing the industry towards more sustainable practices and environmentally friendly alternatives.
Life Cycle Assessment
Life Cycle Assessment (LCA) plays a crucial role in understanding the environmental impact of isocyanates throughout their entire lifecycle. This comprehensive approach evaluates the environmental aspects and potential impacts associated with isocyanates from raw material extraction to disposal or recycling.
The production of isocyanates involves several stages, each with its own environmental implications. The extraction of raw materials, primarily fossil fuels, contributes significantly to the carbon footprint. The manufacturing process, which typically involves the reaction of amines with phosgene or its derivatives, requires substantial energy input and may result in emissions of volatile organic compounds (VOCs) and other pollutants.
During the use phase, isocyanates demonstrate their environmental benefits through various applications. In the construction industry, polyurethane foams made from isocyanates provide excellent insulation properties, leading to improved energy efficiency in buildings. This results in reduced heating and cooling requirements, thereby lowering overall energy consumption and associated greenhouse gas emissions over the building's lifetime.
In the automotive sector, isocyanate-based materials contribute to vehicle lightweighting, which enhances fuel efficiency and reduces emissions during the use phase. The durability and longevity of isocyanate-based products also extend their useful life, reducing the need for frequent replacements and associated environmental impacts.
End-of-life considerations for isocyanate-based products present both challenges and opportunities. While some polyurethane products can be mechanically recycled, chemical recycling technologies are emerging as promising solutions for recovering valuable raw materials. These advanced recycling methods have the potential to close the loop in isocyanate production, reducing reliance on virgin resources and minimizing waste.
LCA studies have shown that the environmental benefits of isocyanates during their use phase often outweigh the impacts associated with their production. However, continuous improvement in manufacturing processes, such as the development of bio-based isocyanates and more efficient production techniques, is essential to further reduce the overall environmental footprint.
By providing a holistic view of environmental impacts, LCA enables informed decision-making in product design, process optimization, and policy development. This comprehensive approach ensures that the environmental technological changes spearheaded by isocyanates are truly sustainable across their entire lifecycle.
The production of isocyanates involves several stages, each with its own environmental implications. The extraction of raw materials, primarily fossil fuels, contributes significantly to the carbon footprint. The manufacturing process, which typically involves the reaction of amines with phosgene or its derivatives, requires substantial energy input and may result in emissions of volatile organic compounds (VOCs) and other pollutants.
During the use phase, isocyanates demonstrate their environmental benefits through various applications. In the construction industry, polyurethane foams made from isocyanates provide excellent insulation properties, leading to improved energy efficiency in buildings. This results in reduced heating and cooling requirements, thereby lowering overall energy consumption and associated greenhouse gas emissions over the building's lifetime.
In the automotive sector, isocyanate-based materials contribute to vehicle lightweighting, which enhances fuel efficiency and reduces emissions during the use phase. The durability and longevity of isocyanate-based products also extend their useful life, reducing the need for frequent replacements and associated environmental impacts.
End-of-life considerations for isocyanate-based products present both challenges and opportunities. While some polyurethane products can be mechanically recycled, chemical recycling technologies are emerging as promising solutions for recovering valuable raw materials. These advanced recycling methods have the potential to close the loop in isocyanate production, reducing reliance on virgin resources and minimizing waste.
LCA studies have shown that the environmental benefits of isocyanates during their use phase often outweigh the impacts associated with their production. However, continuous improvement in manufacturing processes, such as the development of bio-based isocyanates and more efficient production techniques, is essential to further reduce the overall environmental footprint.
By providing a holistic view of environmental impacts, LCA enables informed decision-making in product design, process optimization, and policy development. This comprehensive approach ensures that the environmental technological changes spearheaded by isocyanates are truly sustainable across their entire lifecycle.
Unlock deeper insights with Patsnap Eureka Quick Research — get a full tech report to explore trends and direct your research. Try now!
Generate Your Research Report Instantly with AI Agent
Supercharge your innovation with Patsnap Eureka AI Agent Platform!







