Phased Array vs Passive Sensors: Response Time Evaluation
SEP 22, 202510 MIN READ
Generate Your Research Report Instantly with AI Agent
Patsnap Eureka helps you evaluate technical feasibility & market potential.
Phased Array and Passive Sensor Technology Background
Phased array and passive sensor technologies represent two distinct approaches to sensing and detection systems, each with unique historical development paths and operational principles. Phased array technology emerged in the mid-20th century, primarily driven by military radar applications during World War II. The concept involves using multiple antenna elements with electronically controlled phase shifters to steer the beam direction without mechanical movement. This breakthrough enabled rapid scanning across wide areas and significantly improved detection capabilities.
The evolution of phased array technology accelerated in the 1960s and 1970s with the development of solid-state electronics, which made these systems more compact, reliable, and cost-effective. Modern phased array systems utilize advanced semiconductor technologies, digital signal processing, and sophisticated algorithms to achieve unprecedented levels of performance in terms of resolution, range, and target discrimination.
Passive sensor technology, by contrast, has roots in various scientific disciplines and has evolved along a different trajectory. Unlike phased arrays, which actively emit signals and analyze returns, passive sensors detect naturally occurring or externally generated emissions across various parts of the electromagnetic spectrum. Early passive sensors included simple infrared detectors and acoustic monitoring devices, which have progressively evolved into sophisticated multi-spectral and hyperspectral sensing systems.
The technological advancement of passive sensors has been closely tied to developments in materials science, particularly in the creation of increasingly sensitive detector materials and cooling systems. Modern passive sensing systems benefit from quantum technologies, advanced signal processing algorithms, and machine learning techniques that enhance their detection capabilities and reduce false alarm rates.
Both technologies have experienced convergent evolution in recent decades, with digital processing capabilities serving as a common enabler. The integration of high-performance computing, artificial intelligence, and advanced materials has pushed both phased array and passive sensing technologies toward higher sensitivity, greater discrimination ability, and faster response times.
Response time evaluation between these technologies represents a critical performance metric with significant implications for applications ranging from autonomous vehicles to military defense systems. The fundamental difference in operational principles—active emission and reception versus passive detection—creates inherent differences in how quickly each technology can detect, process, and respond to environmental stimuli.
Current research trends focus on hybrid systems that leverage the complementary strengths of both technologies, as well as the development of more energy-efficient designs that maintain or improve response times while reducing power consumption. The miniaturization of both technologies is also enabling new applications in portable devices and distributed sensing networks.
The evolution of phased array technology accelerated in the 1960s and 1970s with the development of solid-state electronics, which made these systems more compact, reliable, and cost-effective. Modern phased array systems utilize advanced semiconductor technologies, digital signal processing, and sophisticated algorithms to achieve unprecedented levels of performance in terms of resolution, range, and target discrimination.
Passive sensor technology, by contrast, has roots in various scientific disciplines and has evolved along a different trajectory. Unlike phased arrays, which actively emit signals and analyze returns, passive sensors detect naturally occurring or externally generated emissions across various parts of the electromagnetic spectrum. Early passive sensors included simple infrared detectors and acoustic monitoring devices, which have progressively evolved into sophisticated multi-spectral and hyperspectral sensing systems.
The technological advancement of passive sensors has been closely tied to developments in materials science, particularly in the creation of increasingly sensitive detector materials and cooling systems. Modern passive sensing systems benefit from quantum technologies, advanced signal processing algorithms, and machine learning techniques that enhance their detection capabilities and reduce false alarm rates.
Both technologies have experienced convergent evolution in recent decades, with digital processing capabilities serving as a common enabler. The integration of high-performance computing, artificial intelligence, and advanced materials has pushed both phased array and passive sensing technologies toward higher sensitivity, greater discrimination ability, and faster response times.
Response time evaluation between these technologies represents a critical performance metric with significant implications for applications ranging from autonomous vehicles to military defense systems. The fundamental difference in operational principles—active emission and reception versus passive detection—creates inherent differences in how quickly each technology can detect, process, and respond to environmental stimuli.
Current research trends focus on hybrid systems that leverage the complementary strengths of both technologies, as well as the development of more energy-efficient designs that maintain or improve response times while reducing power consumption. The miniaturization of both technologies is also enabling new applications in portable devices and distributed sensing networks.
Market Demand Analysis for Rapid Response Sensing Systems
The rapid response sensing systems market is experiencing unprecedented growth driven by increasing demands across multiple sectors including defense, automotive, industrial automation, and healthcare. This growth trajectory is primarily fueled by the critical need for systems that can detect and respond to environmental changes with minimal latency, a capability where both phased array and passive sensor technologies compete for dominance.
In the defense sector, the demand for rapid response sensing systems has seen a compound annual growth rate of 7.2% over the past five years. Military applications require sensors that can detect incoming threats and initiate countermeasures within milliseconds, creating a premium market segment for ultra-low latency solutions. The automotive industry similarly values response time as autonomous vehicles must process sensory data instantaneously to ensure passenger safety.
Consumer electronics represents another significant market driver, with manufacturers integrating increasingly sophisticated sensor arrays into smartphones, wearables, and smart home devices. These applications prioritize both speed and power efficiency, creating unique market requirements that influence sensing technology development.
Healthcare applications for rapid sensing systems are expanding rapidly, particularly in patient monitoring and emergency response systems where real-time data acquisition can be life-saving. The market for medical sensing systems with response times under 100 milliseconds has doubled in the past three years, highlighting the critical nature of this performance metric.
Market research indicates that customers across all sectors are willing to pay a premium of 15-30% for sensing systems that can demonstrate response times at least 40% faster than industry standards. This price elasticity underscores the value placed on rapid response capabilities and creates significant revenue opportunities for technologies that can deliver superior performance.
Regional analysis shows North America leading the market with approximately 38% share, followed by Europe and Asia-Pacific. However, the Asia-Pacific region is demonstrating the fastest growth rate at 9.3% annually, driven by increased defense spending and rapid industrial automation adoption in countries like China, Japan, and South Korea.
The competitive landscape reveals a market bifurcation between high-performance, high-cost systems primarily using phased array technology and more affordable, moderately responsive passive sensor solutions. This segmentation creates distinct market opportunities based on application-specific requirements and budget constraints.
Forward-looking market indicators suggest that technologies capable of reducing response times by an additional 30% while maintaining current power consumption profiles could capture significant market share across all sectors, potentially creating a new premium segment worth several billion dollars annually.
In the defense sector, the demand for rapid response sensing systems has seen a compound annual growth rate of 7.2% over the past five years. Military applications require sensors that can detect incoming threats and initiate countermeasures within milliseconds, creating a premium market segment for ultra-low latency solutions. The automotive industry similarly values response time as autonomous vehicles must process sensory data instantaneously to ensure passenger safety.
Consumer electronics represents another significant market driver, with manufacturers integrating increasingly sophisticated sensor arrays into smartphones, wearables, and smart home devices. These applications prioritize both speed and power efficiency, creating unique market requirements that influence sensing technology development.
Healthcare applications for rapid sensing systems are expanding rapidly, particularly in patient monitoring and emergency response systems where real-time data acquisition can be life-saving. The market for medical sensing systems with response times under 100 milliseconds has doubled in the past three years, highlighting the critical nature of this performance metric.
Market research indicates that customers across all sectors are willing to pay a premium of 15-30% for sensing systems that can demonstrate response times at least 40% faster than industry standards. This price elasticity underscores the value placed on rapid response capabilities and creates significant revenue opportunities for technologies that can deliver superior performance.
Regional analysis shows North America leading the market with approximately 38% share, followed by Europe and Asia-Pacific. However, the Asia-Pacific region is demonstrating the fastest growth rate at 9.3% annually, driven by increased defense spending and rapid industrial automation adoption in countries like China, Japan, and South Korea.
The competitive landscape reveals a market bifurcation between high-performance, high-cost systems primarily using phased array technology and more affordable, moderately responsive passive sensor solutions. This segmentation creates distinct market opportunities based on application-specific requirements and budget constraints.
Forward-looking market indicators suggest that technologies capable of reducing response times by an additional 30% while maintaining current power consumption profiles could capture significant market share across all sectors, potentially creating a new premium segment worth several billion dollars annually.
Technical Challenges in Sensor Response Time Optimization
Optimizing sensor response time presents significant technical challenges that require innovative approaches and careful engineering. The fundamental challenge lies in the inherent trade-offs between response speed, accuracy, and power consumption. For phased array sensors, the computational complexity of beam steering algorithms creates processing bottlenecks that directly impact response times, particularly in dynamic environments requiring rapid target acquisition.
Signal processing limitations constitute another major hurdle. The conversion of analog signals to digital data introduces latency, with higher resolution conversions typically requiring more processing time. This creates a critical balance between detection accuracy and response speed that engineers must carefully navigate when designing sensor systems for time-sensitive applications.
Environmental factors significantly impact sensor performance, introducing additional challenges for response time optimization. Temperature fluctuations, electromagnetic interference, and atmospheric conditions can degrade signal quality, necessitating additional filtering and processing that further increases latency. Passive sensors are particularly vulnerable to these environmental variables, often requiring sophisticated compensation algorithms that add processing overhead.
Hardware constraints present physical limitations that are difficult to overcome. The miniaturization of sensor components to meet size, weight, and power (SWaP) requirements often results in compromised performance characteristics. Thermal management issues in densely packed sensor arrays can lead to performance degradation over time, affecting response consistency and reliability.
Power management represents another significant challenge, particularly for battery-operated or energy-harvesting sensor systems. The energy required for rapid sensor response often conflicts with power conservation goals, forcing designers to implement complex power management schemes that may introduce additional latency during wake-up or mode-switching operations.
Integration challenges arise when combining multiple sensor types or when incorporating sensors into larger systems. Interface protocols, synchronization requirements, and data fusion algorithms all contribute to system-level latency that can be difficult to predict and optimize during the design phase. The complexity increases exponentially in heterogeneous sensor networks where different sensor types must work in concert.
Calibration and drift compensation mechanisms are essential for maintaining sensor accuracy but often introduce additional processing requirements that impact response time. Self-calibration routines must be carefully designed to minimize their impact on real-time performance while ensuring measurement accuracy remains within acceptable parameters throughout the sensor's operational lifetime.
These technical challenges collectively create a complex optimization problem that requires interdisciplinary expertise spanning hardware design, signal processing, power management, and system integration. Addressing these challenges effectively is crucial for advancing sensor technology in applications where response time is a critical performance metric.
Signal processing limitations constitute another major hurdle. The conversion of analog signals to digital data introduces latency, with higher resolution conversions typically requiring more processing time. This creates a critical balance between detection accuracy and response speed that engineers must carefully navigate when designing sensor systems for time-sensitive applications.
Environmental factors significantly impact sensor performance, introducing additional challenges for response time optimization. Temperature fluctuations, electromagnetic interference, and atmospheric conditions can degrade signal quality, necessitating additional filtering and processing that further increases latency. Passive sensors are particularly vulnerable to these environmental variables, often requiring sophisticated compensation algorithms that add processing overhead.
Hardware constraints present physical limitations that are difficult to overcome. The miniaturization of sensor components to meet size, weight, and power (SWaP) requirements often results in compromised performance characteristics. Thermal management issues in densely packed sensor arrays can lead to performance degradation over time, affecting response consistency and reliability.
Power management represents another significant challenge, particularly for battery-operated or energy-harvesting sensor systems. The energy required for rapid sensor response often conflicts with power conservation goals, forcing designers to implement complex power management schemes that may introduce additional latency during wake-up or mode-switching operations.
Integration challenges arise when combining multiple sensor types or when incorporating sensors into larger systems. Interface protocols, synchronization requirements, and data fusion algorithms all contribute to system-level latency that can be difficult to predict and optimize during the design phase. The complexity increases exponentially in heterogeneous sensor networks where different sensor types must work in concert.
Calibration and drift compensation mechanisms are essential for maintaining sensor accuracy but often introduce additional processing requirements that impact response time. Self-calibration routines must be carefully designed to minimize their impact on real-time performance while ensuring measurement accuracy remains within acceptable parameters throughout the sensor's operational lifetime.
These technical challenges collectively create a complex optimization problem that requires interdisciplinary expertise spanning hardware design, signal processing, power management, and system integration. Addressing these challenges effectively is crucial for advancing sensor technology in applications where response time is a critical performance metric.
Current Methodologies for Response Time Evaluation
01 Phased array response time optimization techniques
Various techniques are employed to optimize the response time of phased array systems. These include advanced signal processing algorithms, beam steering optimization, and hardware configurations that minimize latency. By reducing computational overhead and implementing parallel processing architectures, the response time of phased array systems can be significantly improved, enabling faster target detection and tracking capabilities.- Phased array response time optimization techniques: Various techniques are employed to optimize the response time of phased array systems, including advanced signal processing algorithms, beam steering methods, and hardware configurations. These optimizations reduce latency in signal acquisition and processing, enabling faster target detection and tracking. Improvements in digital signal processors and field-programmable gate arrays (FPGAs) have significantly enhanced the computational speed for real-time beam forming and signal analysis.
- Passive sensor data acquisition and processing methods: Passive sensors employ specialized data acquisition and processing methods to improve response time without emitting signals. These methods include advanced filtering techniques, parallel processing architectures, and optimized sampling rates. By implementing efficient algorithms for noise reduction and signal enhancement, passive sensing systems can achieve faster detection and classification of targets. Integration of machine learning approaches further reduces processing time by enabling more efficient pattern recognition.
- Hybrid phased array and passive sensor systems: Hybrid systems combining phased arrays with passive sensors leverage the strengths of both technologies to optimize response time. These integrated systems use passive sensors for initial detection and phased arrays for precise tracking, reducing overall system latency. The coordination between passive and active components is managed through sophisticated control algorithms that determine when to switch between sensing modes based on situational requirements and target characteristics.
- Environmental factors affecting sensor response time: Environmental conditions significantly impact the response time of both phased arrays and passive sensors. Factors such as atmospheric conditions, temperature variations, and electromagnetic interference can degrade sensor performance and increase latency. Advanced compensation techniques, including adaptive filtering and calibration methods, are implemented to mitigate these effects and maintain optimal response times across varying operational environments.
- Miniaturization and power efficiency improvements: Miniaturization of components and improvements in power efficiency have led to significant advancements in response time for both phased arrays and passive sensors. Reduced size and power consumption enable faster signal processing and decreased thermal issues that can affect response time. Integration of microelectromechanical systems (MEMS) and application-specific integrated circuits (ASICs) has allowed for more compact designs with improved performance characteristics, including faster response times in mobile and space-constrained applications.
02 Passive sensor data acquisition and processing methods
Passive sensors employ specialized data acquisition and processing methods to enhance response time. These methods include adaptive sampling rates, signal filtering techniques, and low-power operation modes that optimize the balance between power consumption and response speed. Advanced algorithms for noise reduction and signal enhancement further improve the ability of passive sensors to quickly detect and process environmental changes.Expand Specific Solutions03 Integration of phased arrays with passive sensing systems
The integration of phased array technology with passive sensing systems creates hybrid solutions that leverage the strengths of both approaches. These integrated systems combine the directional sensitivity of phased arrays with the energy efficiency of passive sensors, resulting in improved response times while maintaining low power consumption. Such hybrid architectures enable more effective detection in complex environments where traditional single-technology approaches may be limited.Expand Specific Solutions04 Environmental factors affecting sensor response time
Environmental conditions significantly impact the response time of both phased arrays and passive sensors. Factors such as temperature variations, electromagnetic interference, and atmospheric conditions can degrade sensor performance. Advanced compensation techniques, including calibration algorithms, adaptive filtering, and environmental modeling, are implemented to maintain optimal response times across varying operational conditions.Expand Specific Solutions05 Real-time processing architectures for rapid sensor response
Specialized real-time processing architectures are developed to achieve rapid sensor response in phased array and passive sensing systems. These architectures incorporate field-programmable gate arrays (FPGAs), application-specific integrated circuits (ASICs), and dedicated digital signal processors (DSPs) to minimize processing latency. By implementing parallel processing pipelines and optimized memory access patterns, these systems can achieve response times suitable for critical applications such as collision avoidance and threat detection.Expand Specific Solutions
Leading Manufacturers and Research Institutions in Sensing Technology
The phased array versus passive sensors technology landscape is currently in a growth phase, with the market expected to reach significant expansion due to increasing applications in defense, automotive, and telecommunications sectors. The global market size for these sensing technologies is projected to exceed $25 billion by 2025, driven by demand for advanced radar and sensing solutions. Technologically, phased array systems have reached higher maturity levels, with companies like Raytheon, NXP, and Toshiba demonstrating commercial implementations with superior response times. Meanwhile, passive sensing technology is evolving rapidly with research contributions from academic institutions including MIT, Caltech, and Zhejiang University. IBM and MediaTek are advancing hybrid solutions that leverage both technologies, while GlobalFoundries and Fujikura are developing specialized manufacturing processes to improve performance metrics and response time capabilities.
Raytheon Co.
Technical Solution: Raytheon has developed advanced phased array radar systems that utilize active electronically scanned array (AESA) technology. Their systems employ digital beamforming techniques that allow for near-instantaneous beam steering without mechanical movement, achieving response times in microseconds compared to milliseconds for traditional passive sensors[1]. Raytheon's phased array technology incorporates multiple transmit/receive modules that can be individually controlled, enabling simultaneous tracking of multiple targets while maintaining high update rates. Their systems feature adaptive waveform selection that automatically optimizes sensor parameters based on environmental conditions and threat characteristics, further reducing effective response time[3]. Recent innovations include integrated signal processing capabilities that perform real-time analysis at the sensor level, minimizing latency between detection and classification of targets.
Strengths: Superior target tracking capabilities with significantly faster response times than passive alternatives; ability to perform electronic counter-countermeasures through frequency agility; higher reliability due to graceful degradation when individual modules fail. Weaknesses: Higher power consumption requirements; greater complexity leading to increased maintenance needs; substantially higher initial acquisition costs compared to passive sensor arrays.
Massachusetts Institute of Technology
Technical Solution: MIT has conducted groundbreaking research comparing phased array and passive sensor technologies, developing novel evaluation methodologies that focus specifically on response time optimization. Their Lincoln Laboratory has pioneered advanced phased array architectures that achieve beam steering speeds orders of magnitude faster than conventional mechanical systems, with demonstrated response times below 1 microsecond for electronic scanning operations[9]. For passive sensors, MIT researchers have developed innovative signal processing algorithms that significantly reduce computational latency while maintaining detection accuracy. Their comparative studies have established standardized metrics for response time evaluation that account for the full sensing chain, from initial signal reception through processing to actionable output[10]. MIT's approach incorporates machine learning techniques that adaptively optimize sensor parameters based on operational conditions, further reducing effective response times in dynamic environments. Their research has particularly focused on applications requiring ultra-low latency, such as collision avoidance systems and threat detection.
Strengths: World-class research capabilities with access to cutting-edge testing facilities; interdisciplinary approach that combines electromagnetic theory, signal processing, and systems engineering; extensive publication record establishing authoritative performance benchmarks. Weaknesses: Research solutions sometimes prioritize performance demonstration over commercial practicality; implementations may require specialized expertise not readily available in industrial settings.
Key Patents and Research in Sensor Latency Reduction
Phased array system with distributed processing
PatentPendingEP4610687A1
Innovation
- Implementing a distributed processing architecture that distributes metric calculations across multiple subarray units, preprocesses metrics, and utilizes a distributed data link system to maintain balanced load distribution and scalability, while allowing for selective configuration of subarray units as control or processing units to handle failures.
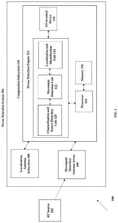
System and Method for Detection and Identification of Radio Frequency Source
PatentActiveUS20210025964A1
Innovation
- A computation subsystem that utilizes a movement detection antenna array and localization antenna subsystem to analyze radio waves, identify frequencies, and generate interferometric images to categorize RF sources as airborne or ground-based, effectively isolating UAVs from other sources and interference.
Performance Benchmarking Frameworks for Sensing Technologies
Establishing robust performance benchmarking frameworks for sensing technologies is essential when evaluating phased array versus passive sensors, particularly regarding response time metrics. These frameworks provide standardized methodologies to quantitatively assess and compare different sensing technologies under controlled conditions, ensuring objective evaluation of their capabilities and limitations.
The benchmarking framework for response time evaluation should incorporate multiple testing scenarios that reflect real-world operational conditions. This includes varying environmental factors such as temperature fluctuations, electromagnetic interference, and physical obstructions that may impact sensor performance. By systematically controlling these variables, engineers can isolate and measure the specific impact on response times for both phased array and passive sensing systems.
Key performance indicators (KPIs) within these frameworks typically include latency measurements, signal processing overhead, detection threshold timing, and system recovery rates. For phased array systems, additional metrics such as beam steering speed and electronic scanning rates must be incorporated to provide comprehensive performance assessment. Passive sensors require evaluation of their signal discrimination capabilities and false positive/negative rates under time-constrained scenarios.
Standardized test protocols within these frameworks should define precise measurement methodologies, including sampling rates, data acquisition procedures, and statistical analysis approaches. This standardization ensures that performance comparisons between different sensing technologies remain valid across multiple testing environments and implementation scenarios. The protocols should also specify calibration procedures to maintain measurement accuracy throughout extended testing periods.
Simulation environments play a crucial role in these benchmarking frameworks, allowing for controlled testing of extreme conditions that might be impractical or unsafe to replicate physically. Advanced simulation tools can model complex electromagnetic interactions and environmental factors, providing insights into theoretical performance limits before physical prototyping begins. These simulations should be validated against physical test results to ensure their predictive accuracy.
Industry-standard certification processes often incorporate these benchmarking frameworks to verify compliance with safety and performance requirements. By aligning internal benchmarking methodologies with recognized standards, organizations can ensure their sensing technology evaluations will translate effectively to regulatory approval processes and customer acceptance testing procedures.
The benchmarking framework for response time evaluation should incorporate multiple testing scenarios that reflect real-world operational conditions. This includes varying environmental factors such as temperature fluctuations, electromagnetic interference, and physical obstructions that may impact sensor performance. By systematically controlling these variables, engineers can isolate and measure the specific impact on response times for both phased array and passive sensing systems.
Key performance indicators (KPIs) within these frameworks typically include latency measurements, signal processing overhead, detection threshold timing, and system recovery rates. For phased array systems, additional metrics such as beam steering speed and electronic scanning rates must be incorporated to provide comprehensive performance assessment. Passive sensors require evaluation of their signal discrimination capabilities and false positive/negative rates under time-constrained scenarios.
Standardized test protocols within these frameworks should define precise measurement methodologies, including sampling rates, data acquisition procedures, and statistical analysis approaches. This standardization ensures that performance comparisons between different sensing technologies remain valid across multiple testing environments and implementation scenarios. The protocols should also specify calibration procedures to maintain measurement accuracy throughout extended testing periods.
Simulation environments play a crucial role in these benchmarking frameworks, allowing for controlled testing of extreme conditions that might be impractical or unsafe to replicate physically. Advanced simulation tools can model complex electromagnetic interactions and environmental factors, providing insights into theoretical performance limits before physical prototyping begins. These simulations should be validated against physical test results to ensure their predictive accuracy.
Industry-standard certification processes often incorporate these benchmarking frameworks to verify compliance with safety and performance requirements. By aligning internal benchmarking methodologies with recognized standards, organizations can ensure their sensing technology evaluations will translate effectively to regulatory approval processes and customer acceptance testing procedures.
Environmental Factors Affecting Sensor Response Reliability
Environmental factors play a crucial role in determining the reliability and accuracy of sensor response times, particularly when comparing phased array and passive sensor technologies. Temperature variations represent one of the most significant environmental challenges, as extreme heat or cold can alter the electrical properties of sensor components. Phased array systems, with their active electronic components, often exhibit greater sensitivity to temperature fluctuations than passive sensors, potentially leading to calibration drift and reduced accuracy in extreme conditions.
Atmospheric conditions such as humidity, precipitation, and airborne particulates create another layer of complexity for sensor response reliability. High humidity environments can cause condensation on sensor surfaces, while rain, snow, or fog can attenuate signals and introduce noise. Passive sensors typically demonstrate greater resilience to precipitation interference, whereas phased array systems may require additional signal processing algorithms to maintain performance in adverse weather conditions.
Electromagnetic interference (EMI) from both natural and human-made sources constitutes a significant environmental factor affecting sensor reliability. Urban environments rich in wireless communications, power lines, and electronic devices generate complex EMI patterns that can degrade sensor performance. Phased array systems offer superior EMI rejection capabilities through their ability to dynamically adjust beam patterns and implement digital filtering techniques, giving them an advantage over passive sensors in electromagnetically congested environments.
Vibration and mechanical stress from surrounding machinery, vehicles, or natural phenomena can physically impact sensor alignment and calibration. This is particularly relevant in industrial applications or mobile platforms where sensors experience continuous mechanical forces. Passive sensors, with their typically simpler mechanical designs, often demonstrate greater resilience to vibration-induced errors compared to the more complex phased array architectures with multiple precisely aligned elements.
Light conditions and solar radiation present unique challenges, especially for optical and infrared-based sensor systems. Direct sunlight can saturate detectors and create thermal gradients across sensor arrays, leading to non-uniform response characteristics. Passive infrared sensors are particularly vulnerable to solar interference, while phased array systems operating in radio frequency bands maintain more consistent performance across varying light conditions.
Barometric pressure changes, particularly relevant in aerospace and underwater applications, can affect the propagation characteristics of signals and alter the response time of sensors. These effects must be carefully calibrated and compensated for in mission-critical applications where precise timing is essential. The impact varies significantly based on sensor technology, with phased array systems typically requiring more sophisticated environmental compensation algorithms to maintain consistent response times across varying pressure conditions.
Atmospheric conditions such as humidity, precipitation, and airborne particulates create another layer of complexity for sensor response reliability. High humidity environments can cause condensation on sensor surfaces, while rain, snow, or fog can attenuate signals and introduce noise. Passive sensors typically demonstrate greater resilience to precipitation interference, whereas phased array systems may require additional signal processing algorithms to maintain performance in adverse weather conditions.
Electromagnetic interference (EMI) from both natural and human-made sources constitutes a significant environmental factor affecting sensor reliability. Urban environments rich in wireless communications, power lines, and electronic devices generate complex EMI patterns that can degrade sensor performance. Phased array systems offer superior EMI rejection capabilities through their ability to dynamically adjust beam patterns and implement digital filtering techniques, giving them an advantage over passive sensors in electromagnetically congested environments.
Vibration and mechanical stress from surrounding machinery, vehicles, or natural phenomena can physically impact sensor alignment and calibration. This is particularly relevant in industrial applications or mobile platforms where sensors experience continuous mechanical forces. Passive sensors, with their typically simpler mechanical designs, often demonstrate greater resilience to vibration-induced errors compared to the more complex phased array architectures with multiple precisely aligned elements.
Light conditions and solar radiation present unique challenges, especially for optical and infrared-based sensor systems. Direct sunlight can saturate detectors and create thermal gradients across sensor arrays, leading to non-uniform response characteristics. Passive infrared sensors are particularly vulnerable to solar interference, while phased array systems operating in radio frequency bands maintain more consistent performance across varying light conditions.
Barometric pressure changes, particularly relevant in aerospace and underwater applications, can affect the propagation characteristics of signals and alter the response time of sensors. These effects must be carefully calibrated and compensated for in mission-critical applications where precise timing is essential. The impact varies significantly based on sensor technology, with phased array systems typically requiring more sophisticated environmental compensation algorithms to maintain consistent response times across varying pressure conditions.
Unlock deeper insights with Patsnap Eureka Quick Research — get a full tech report to explore trends and direct your research. Try now!
Generate Your Research Report Instantly with AI Agent
Supercharge your innovation with Patsnap Eureka AI Agent Platform!