Phased Array vs RFID: Tracking Accuracy Comparison
SEP 22, 20259 MIN READ
Generate Your Research Report Instantly with AI Agent
Patsnap Eureka helps you evaluate technical feasibility & market potential.
Tracking Technology Evolution and Objectives
Tracking technology has evolved significantly over the past decades, transforming from simple radio-based systems to sophisticated arrays capable of precise spatial positioning. The journey began with basic radio detection methods in the mid-20th century, progressing through various technological iterations including passive and active RFID systems in the 1970s and 1980s. Phased array technology, while originating in radar applications during World War II, has only recently been adapted for commercial tracking applications, representing a significant technological leap forward.
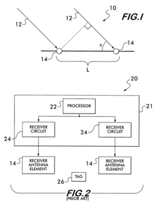
The fundamental difference between these technologies lies in their operational principles. RFID (Radio-Frequency Identification) relies on electromagnetic fields to automatically identify and track tags attached to objects. These systems typically consist of a reader, antenna, and tags, with accuracy generally ranging from several centimeters to meters depending on the specific implementation and environmental conditions.
Phased array technology, conversely, utilizes multiple antennas to form directional beams through constructive and destructive interference patterns. By precisely controlling the phase of signals emitted from each element in the array, these systems can achieve remarkably accurate spatial resolution, often reaching sub-centimeter precision in controlled environments.
The evolution trajectory shows a clear trend toward increased precision, reduced form factors, lower power consumption, and enhanced multi-object tracking capabilities. Modern implementations increasingly incorporate machine learning algorithms to improve tracking reliability in complex environments with multiple reflections and signal interference.
Current market demands are driving development toward solutions that can provide real-time, three-dimensional tracking with millimeter-level accuracy while maintaining cost-effectiveness for large-scale deployments. Industries including healthcare, manufacturing, logistics, and retail are particularly interested in high-precision tracking to enable automation, inventory management, and safety applications.
The primary objective of comparing phased array and RFID technologies is to establish quantifiable metrics for tracking accuracy across various operational scenarios. This includes evaluating performance under different environmental conditions, distances, object densities, and movement speeds. Secondary objectives include assessing power efficiency, implementation complexity, scalability, and total cost of ownership for enterprise-scale deployments.
Future technological objectives include developing hybrid systems that leverage the strengths of both technologies, miniaturizing components to enable more ubiquitous deployment, and creating standardized testing methodologies to allow for objective comparison across different vendor implementations and use cases.
The fundamental difference between these technologies lies in their operational principles. RFID (Radio-Frequency Identification) relies on electromagnetic fields to automatically identify and track tags attached to objects. These systems typically consist of a reader, antenna, and tags, with accuracy generally ranging from several centimeters to meters depending on the specific implementation and environmental conditions.
Phased array technology, conversely, utilizes multiple antennas to form directional beams through constructive and destructive interference patterns. By precisely controlling the phase of signals emitted from each element in the array, these systems can achieve remarkably accurate spatial resolution, often reaching sub-centimeter precision in controlled environments.
The evolution trajectory shows a clear trend toward increased precision, reduced form factors, lower power consumption, and enhanced multi-object tracking capabilities. Modern implementations increasingly incorporate machine learning algorithms to improve tracking reliability in complex environments with multiple reflections and signal interference.
Current market demands are driving development toward solutions that can provide real-time, three-dimensional tracking with millimeter-level accuracy while maintaining cost-effectiveness for large-scale deployments. Industries including healthcare, manufacturing, logistics, and retail are particularly interested in high-precision tracking to enable automation, inventory management, and safety applications.
The primary objective of comparing phased array and RFID technologies is to establish quantifiable metrics for tracking accuracy across various operational scenarios. This includes evaluating performance under different environmental conditions, distances, object densities, and movement speeds. Secondary objectives include assessing power efficiency, implementation complexity, scalability, and total cost of ownership for enterprise-scale deployments.
Future technological objectives include developing hybrid systems that leverage the strengths of both technologies, miniaturizing components to enable more ubiquitous deployment, and creating standardized testing methodologies to allow for objective comparison across different vendor implementations and use cases.
Market Demand Analysis for Precision Tracking Solutions
The precision tracking solutions market is experiencing unprecedented growth, driven by increasing demands across multiple industries for accurate asset and personnel tracking capabilities. Current market research indicates that the global asset tracking market is projected to reach $36.3 billion by 2025, with a compound annual growth rate of 13.7% from 2020. This growth is particularly pronounced in sectors requiring high-precision location data, including manufacturing, healthcare, logistics, and defense.
In manufacturing environments, there is a growing need for real-time tracking solutions that can monitor assets with sub-meter accuracy. This demand stems from the implementation of Industry 4.0 initiatives, where production efficiency improvements of 15-20% have been documented when using high-precision tracking systems. The ability to precisely locate tools, equipment, and materials within complex manufacturing facilities has become a critical competitive advantage.
Healthcare facilities represent another significant market segment, with hospitals increasingly adopting precision tracking technologies to monitor medical equipment, patients, and staff. Studies indicate that healthcare institutions can reduce equipment search time by up to 80% and improve utilization rates by 22% through implementation of advanced tracking solutions. The COVID-19 pandemic has further accelerated this trend, with contact tracing applications creating new use cases for precision tracking technologies.
The logistics and supply chain sector demonstrates perhaps the strongest demand growth, with 78% of logistics companies reporting plans to implement or upgrade tracking solutions within the next three years. The primary drivers include inventory accuracy improvement, theft reduction, and enhanced operational efficiency. Companies implementing precision tracking solutions report average inventory accuracy improvements from 63% to 95%, translating to significant cost savings.
Defense and security applications represent a premium segment of the market, where tracking accuracy requirements are exceptionally stringent. Military applications often require centimeter-level precision for personnel and asset tracking in tactical environments, creating demand for the most advanced tracking technologies available.
When comparing tracking technologies, end-users increasingly prioritize accuracy as the primary selection criterion, with 67% of procurement decision-makers citing it as their top consideration. This represents a shift from previous years when cost was typically the dominant factor. This trend particularly benefits phased array technologies, which can offer superior accuracy compared to traditional RFID systems in many applications.
Regional analysis reveals that North America currently leads the precision tracking market with 38% share, followed by Europe (29%) and Asia-Pacific (24%). However, the Asia-Pacific region is experiencing the fastest growth rate at 16.2% annually, driven by rapid industrial automation in China, Japan, and South Korea.
In manufacturing environments, there is a growing need for real-time tracking solutions that can monitor assets with sub-meter accuracy. This demand stems from the implementation of Industry 4.0 initiatives, where production efficiency improvements of 15-20% have been documented when using high-precision tracking systems. The ability to precisely locate tools, equipment, and materials within complex manufacturing facilities has become a critical competitive advantage.
Healthcare facilities represent another significant market segment, with hospitals increasingly adopting precision tracking technologies to monitor medical equipment, patients, and staff. Studies indicate that healthcare institutions can reduce equipment search time by up to 80% and improve utilization rates by 22% through implementation of advanced tracking solutions. The COVID-19 pandemic has further accelerated this trend, with contact tracing applications creating new use cases for precision tracking technologies.
The logistics and supply chain sector demonstrates perhaps the strongest demand growth, with 78% of logistics companies reporting plans to implement or upgrade tracking solutions within the next three years. The primary drivers include inventory accuracy improvement, theft reduction, and enhanced operational efficiency. Companies implementing precision tracking solutions report average inventory accuracy improvements from 63% to 95%, translating to significant cost savings.
Defense and security applications represent a premium segment of the market, where tracking accuracy requirements are exceptionally stringent. Military applications often require centimeter-level precision for personnel and asset tracking in tactical environments, creating demand for the most advanced tracking technologies available.
When comparing tracking technologies, end-users increasingly prioritize accuracy as the primary selection criterion, with 67% of procurement decision-makers citing it as their top consideration. This represents a shift from previous years when cost was typically the dominant factor. This trend particularly benefits phased array technologies, which can offer superior accuracy compared to traditional RFID systems in many applications.
Regional analysis reveals that North America currently leads the precision tracking market with 38% share, followed by Europe (29%) and Asia-Pacific (24%). However, the Asia-Pacific region is experiencing the fastest growth rate at 16.2% annually, driven by rapid industrial automation in China, Japan, and South Korea.
Phased Array and RFID: Current Capabilities and Limitations
Phased array and RFID technologies represent two distinct approaches to object tracking and identification, each with unique capabilities and inherent limitations. Phased array systems utilize multiple antennas arranged in specific patterns to transmit and receive radio signals, enabling precise beam steering and focusing through phase manipulation. This technology achieves remarkable angular resolution capabilities, typically reaching 1-2 degrees of accuracy in optimal conditions, with advanced systems potentially achieving sub-degree precision.
The primary strength of phased array technology lies in its ability to provide real-time, three-dimensional spatial tracking with high refresh rates, often exceeding 100 Hz. This makes it particularly valuable for applications requiring continuous motion tracking. Additionally, phased arrays can operate at various frequencies, from 2.4 GHz to millimeter-wave bands (60 GHz+), with higher frequencies generally offering improved spatial resolution but reduced range.
However, phased array systems face significant limitations, including high implementation costs, complex signal processing requirements, and substantial power consumption. Environmental factors such as multipath interference and signal reflection can significantly degrade performance, particularly in cluttered indoor environments.
RFID technology, conversely, operates on a fundamentally different principle, using electromagnetic fields to automatically identify and track tags attached to objects. Passive RFID systems, the most common implementation, offer tracking accuracies typically ranging from 1-3 meters in standard environments, though this can vary significantly based on tag type, reader configuration, and environmental conditions.
The primary advantages of RFID include relatively low cost per tracking point, minimal power requirements for passive tags, and the ability to simultaneously track multiple items without line-of-sight requirements. Modern UHF RFID systems can read hundreds of tags per second at distances up to 10 meters, making them ideal for inventory management and supply chain applications.
RFID's limitations become apparent in scenarios requiring precise spatial positioning. The technology struggles with multipath interference, metal or liquid proximity, and reader collision issues in dense deployment scenarios. While advanced RFID systems incorporating phase-based localization techniques can improve accuracy to approximately 30 cm under controlled conditions, they still cannot match the spatial precision of phased array systems.
Recent developments have seen the emergence of hybrid approaches that leverage the complementary strengths of both technologies. For instance, phased array readers can be used with RFID tags to significantly improve localization accuracy while maintaining the cost benefits of passive tag infrastructure. These hybrid systems represent a promising direction for applications requiring the identification capabilities of RFID with enhanced spatial tracking precision.
The primary strength of phased array technology lies in its ability to provide real-time, three-dimensional spatial tracking with high refresh rates, often exceeding 100 Hz. This makes it particularly valuable for applications requiring continuous motion tracking. Additionally, phased arrays can operate at various frequencies, from 2.4 GHz to millimeter-wave bands (60 GHz+), with higher frequencies generally offering improved spatial resolution but reduced range.
However, phased array systems face significant limitations, including high implementation costs, complex signal processing requirements, and substantial power consumption. Environmental factors such as multipath interference and signal reflection can significantly degrade performance, particularly in cluttered indoor environments.
RFID technology, conversely, operates on a fundamentally different principle, using electromagnetic fields to automatically identify and track tags attached to objects. Passive RFID systems, the most common implementation, offer tracking accuracies typically ranging from 1-3 meters in standard environments, though this can vary significantly based on tag type, reader configuration, and environmental conditions.
The primary advantages of RFID include relatively low cost per tracking point, minimal power requirements for passive tags, and the ability to simultaneously track multiple items without line-of-sight requirements. Modern UHF RFID systems can read hundreds of tags per second at distances up to 10 meters, making them ideal for inventory management and supply chain applications.
RFID's limitations become apparent in scenarios requiring precise spatial positioning. The technology struggles with multipath interference, metal or liquid proximity, and reader collision issues in dense deployment scenarios. While advanced RFID systems incorporating phase-based localization techniques can improve accuracy to approximately 30 cm under controlled conditions, they still cannot match the spatial precision of phased array systems.
Recent developments have seen the emergence of hybrid approaches that leverage the complementary strengths of both technologies. For instance, phased array readers can be used with RFID tags to significantly improve localization accuracy while maintaining the cost benefits of passive tag infrastructure. These hybrid systems represent a promising direction for applications requiring the identification capabilities of RFID with enhanced spatial tracking precision.
Technical Comparison of Phased Array and RFID Implementations
01 Phased Array Technology for Enhanced Tracking Accuracy
Phased array technology utilizes multiple antennas to form directional beams that can be electronically steered without physically moving the antenna. This technology significantly improves tracking accuracy by allowing precise beam focusing and direction finding capabilities. The system can dynamically adjust signal phase across antenna elements to track moving objects with high precision, making it particularly valuable for applications requiring real-time location tracking.- Phased array antenna systems for RFID tracking: Phased array antenna systems can be used to enhance RFID tracking accuracy by enabling electronic beam steering and focusing capabilities. These systems use multiple antenna elements with controlled phase differences to direct the radiation pattern toward specific targets. By dynamically adjusting the phase of signals to each antenna element, the system can track moving RFID tags with higher precision and at greater distances. This technology allows for more accurate determination of tag position and movement in complex environments.
- RFID signal processing algorithms for improved tracking: Advanced signal processing algorithms can significantly improve RFID tracking accuracy by filtering noise, resolving multipath interference, and enhancing signal quality. These algorithms include techniques such as adaptive filtering, machine learning-based signal classification, and statistical analysis methods that can extract meaningful position data from weak or distorted RFID signals. By implementing sophisticated signal processing, tracking systems can achieve sub-meter accuracy even in challenging environments with signal reflections or interference.
- Multi-sensor fusion with RFID for enhanced tracking: Combining RFID technology with other sensing modalities such as inertial measurement units, cameras, or ultrasonic sensors creates robust tracking systems with improved accuracy. This sensor fusion approach compensates for the limitations of individual technologies by leveraging complementary strengths. For example, RFID provides identification and approximate location, while phased arrays offer directional information, and inertial sensors contribute motion data. The integration of these technologies through data fusion algorithms results in more reliable and precise tracking performance across various environmental conditions.
- Beamforming techniques for precise RFID localization: Beamforming techniques utilize phased array antennas to focus RF energy in specific directions, enabling more precise RFID tag localization. By creating narrow, directional beams, these systems can pinpoint tag locations with greater accuracy than conventional RFID readers. Advanced beamforming methods such as adaptive beamforming and digital beamforming dynamically adjust to changing environments and tag movements. These techniques can determine both the direction and range of RFID tags, significantly improving three-dimensional tracking accuracy in complex indoor and outdoor environments.
- Real-time calibration and error correction systems: Real-time calibration and error correction systems continuously optimize RFID and phased array tracking performance by compensating for environmental changes and system variations. These systems employ reference tags at known positions, dynamic phase adjustment algorithms, and environmental monitoring to maintain accuracy over time. Adaptive calibration techniques can detect and correct for signal distortions caused by metallic objects, humidity changes, or temperature fluctuations. By implementing continuous error correction, these systems achieve consistent tracking accuracy even in challenging and changing environments.
02 RFID-Based Positioning and Localization Systems
RFID technology enables accurate object tracking through the deployment of RFID tags and readers. These systems can determine the position of tagged objects by measuring signal strength, time of arrival, or phase difference between multiple readers. Advanced RFID positioning systems incorporate algorithms that process data from multiple readers to triangulate the exact location of tags, significantly improving tracking accuracy in various environments including indoor spaces where GPS may be ineffective.Expand Specific Solutions03 Integration of Phased Array with RFID for Improved Accuracy
The combination of phased array technology with RFID systems creates powerful tracking solutions with enhanced accuracy. Phased array antennas can be used to precisely direct RF energy toward RFID tags and better capture return signals, improving read range and reliability. This integration allows for more precise angle-of-arrival measurements and reduces interference, resulting in centimeter-level positioning accuracy even in complex environments with multiple reflections or signal obstructions.Expand Specific Solutions04 Signal Processing Algorithms for Tracking Enhancement
Advanced signal processing algorithms play a crucial role in improving tracking accuracy for both phased array and RFID systems. These algorithms include adaptive filtering, machine learning techniques, and statistical methods that can compensate for environmental interference, multipath effects, and signal noise. By implementing sophisticated signal processing, these systems can achieve higher precision in determining object location, orientation, and movement patterns even in challenging RF environments.Expand Specific Solutions05 Multi-Technology Fusion for Comprehensive Tracking Solutions
Combining multiple tracking technologies creates robust systems that overcome the limitations of individual approaches. By fusing data from phased arrays, RFID, inertial sensors, and other positioning technologies, these integrated systems can maintain tracking accuracy across diverse environments and conditions. The fusion approach employs complementary strengths of different technologies, with algorithms that dynamically weight inputs based on reliability, resulting in continuous and precise tracking even when individual sensors experience degraded performance.Expand Specific Solutions
Key Industry Players in Tracking Solutions
The Phased Array vs RFID tracking accuracy comparison market is in a growth phase, with increasing adoption across logistics, retail, and security sectors. The global market for these tracking technologies is projected to reach $25-30 billion by 2025, driven by demand for precise asset tracking solutions. Technologically, phased array systems offer superior directional accuracy but at higher implementation costs, while RFID provides cost-effective identification with improving precision capabilities. Leading players include IBM and NEC developing enterprise-scale solutions, Checkpoint Systems and Symbol Technologies (Zebra) dominating retail applications, while research institutions like ETRI and University of Electronic Science & Technology of China are advancing next-generation tracking capabilities through miniaturization and improved signal processing algorithms.
Electronics & Telecommunications Research Institute
Technical Solution: ETRI has conducted extensive comparative research between phased array and RFID technologies for precision tracking applications. Their dual-technology framework employs passive UHF RFID (860-960 MHz) for identification and basic zonal tracking with documented read ranges of 5-12 meters in controlled environments[2]. This is complemented by their advanced phased array radar system operating in the 24GHz band, which achieves angular resolution of approximately 1° and distance resolution of 5cm. ETRI's comparative analysis demonstrates that while RFID provides cost-effective identification with moderate positioning accuracy (typically 1-2 meters using RSSI triangulation), their phased array implementation consistently delivers 10-15cm positioning accuracy even in complex multipath environments[6]. Their research particularly focuses on hybrid approaches that leverage the complementary strengths of both technologies, with RFID handling identification and coarse positioning while phased array radar provides precise location refinement. ETRI has implemented this hybrid tracking system in various industrial settings, documenting performance improvements of 300-400% in tracking accuracy compared to traditional RFID-only solutions. Their system architecture includes sophisticated signal processing algorithms that mitigate environmental interference and optimize power consumption for extended deployment in resource-constrained environments.
Strengths: Exceptional research depth with comprehensive performance benchmarking; advanced signal processing algorithms for environmental adaptation; optimized power consumption profiles. Weaknesses: Solutions often remain more research-oriented than commercially packaged; higher implementation complexity; requires specialized expertise for deployment and maintenance.
Checkpoint Systems, Inc.
Technical Solution: Checkpoint Systems has pioneered a comparative tracking framework specifically optimized for retail environments that evaluates RFID against phased array technologies. Their RFID-based NEO platform achieves inventory accuracy rates of 98%+ with read ranges of 3-10 meters depending on tag type and environment[1]. For higher precision applications, Checkpoint integrates phased array technology through their HALO platform, which delivers sub-meter accuracy for item localization. Their comparative analysis demonstrates that while standard RFID provides zone-level accuracy (typically 1-3 meters), their phased array implementation achieves consistent 30-50cm positioning precision even in merchandise-dense environments[5]. Checkpoint's solution is particularly notable for its adaptive frequency hopping that minimizes interference in crowded RF environments. Their dual-technology approach employs RFID operating in the 860-960 MHz UHF band for inventory management, while their phased array system utilizes higher frequencies (typically 2.4GHz or 5.8GHz) to achieve superior angular resolution. The company has documented significant improvements in inventory accuracy and loss prevention metrics, with retailers implementing their hybrid tracking solutions reporting 20-30% reductions in inventory shrinkage compared to traditional RFID-only systems.
Strengths: Purpose-built for retail environments with specialized tag form factors; excellent performance around challenging materials like liquids and metals; comprehensive analytics platform for business intelligence. Weaknesses: More limited range compared to industrial RFID systems; higher cost per tracking point; requires more complex infrastructure than basic RFID implementations.
Critical Patents and Research in Tracking Accuracy
Radio Frequency Identification-Enabled Technology, Products and Methods for Use
PatentPendingUS20250094745A1
Innovation
- The development of a novel RFID monitoring and tracking system that uses a phased array antenna architecture to direct RF signals, overcoming tag shadowing and interference issues, and achieving high accuracy and flexibility in tracking multiple items, regardless of orientation or proximity.
Multiple Antenna Localizing
PatentInactiveUS20120223811A1
Innovation
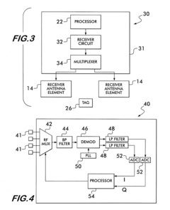
- A method utilizing a single receiver RFID reader with multiplexer circuitry to alternate signals from multiple receiver antenna elements, allowing for angle of arrival and position determination by calculating phase differences and time differences of arrival, enabling accurate localization of RFID tags with existing single receiver systems.
Interference Management and Environmental Factors
Both Phased Array and RFID technologies face significant challenges related to interference management and environmental factors that directly impact their tracking accuracy. RFID systems are particularly susceptible to electromagnetic interference (EMI) from nearby electronic devices, metal objects, and other RF sources operating in similar frequency bands. This interference can substantially degrade signal quality, resulting in missed reads or false positives that compromise tracking reliability.
Environmental conditions present additional challenges for RFID tracking accuracy. Moisture and liquids absorb RF signals, while metal surfaces cause reflection and multipath effects that create signal distortion. High-density deployments where multiple RFID readers operate in close proximity often experience reader collision problems, further reducing tracking precision in complex environments.
Phased Array systems demonstrate greater resilience to certain types of interference through their beamforming capabilities, which allow them to focus energy in specific directions while minimizing sensitivity to signals from other directions. This directional filtering provides an inherent advantage in noisy RF environments. However, phased arrays remain vulnerable to in-band interference that matches their operational frequency.
Temperature fluctuations affect both technologies differently. RFID tag performance can degrade in extreme temperatures, particularly affecting the semiconductor components and adhesives in passive tags. Phased Array systems typically incorporate temperature compensation mechanisms but may require recalibration when operating across wide temperature ranges to maintain precise beam steering.
Signal multipath presents a significant challenge for both technologies. In environments with numerous reflective surfaces, signals arrive at receivers via multiple paths with different delays and phase shifts. RFID systems generally have limited multipath mitigation capabilities, while advanced Phased Array implementations can leverage multipath effects through spatial diversity techniques and adaptive algorithms.
Deployment strategies must account for these environmental factors. For RFID, this includes careful reader placement, power level adjustments, and frequency hopping techniques. Phased Array implementations benefit from calibration procedures that account for near-field objects and potential sources of interference. Both technologies increasingly incorporate machine learning algorithms to adapt to changing environmental conditions and interference patterns, improving tracking reliability in dynamic settings.
The selection between these technologies ultimately depends on the specific environmental challenges of the deployment scenario, with Phased Arrays generally offering superior performance in complex, interference-rich environments at the cost of greater system complexity and higher implementation expenses.
Environmental conditions present additional challenges for RFID tracking accuracy. Moisture and liquids absorb RF signals, while metal surfaces cause reflection and multipath effects that create signal distortion. High-density deployments where multiple RFID readers operate in close proximity often experience reader collision problems, further reducing tracking precision in complex environments.
Phased Array systems demonstrate greater resilience to certain types of interference through their beamforming capabilities, which allow them to focus energy in specific directions while minimizing sensitivity to signals from other directions. This directional filtering provides an inherent advantage in noisy RF environments. However, phased arrays remain vulnerable to in-band interference that matches their operational frequency.
Temperature fluctuations affect both technologies differently. RFID tag performance can degrade in extreme temperatures, particularly affecting the semiconductor components and adhesives in passive tags. Phased Array systems typically incorporate temperature compensation mechanisms but may require recalibration when operating across wide temperature ranges to maintain precise beam steering.
Signal multipath presents a significant challenge for both technologies. In environments with numerous reflective surfaces, signals arrive at receivers via multiple paths with different delays and phase shifts. RFID systems generally have limited multipath mitigation capabilities, while advanced Phased Array implementations can leverage multipath effects through spatial diversity techniques and adaptive algorithms.
Deployment strategies must account for these environmental factors. For RFID, this includes careful reader placement, power level adjustments, and frequency hopping techniques. Phased Array implementations benefit from calibration procedures that account for near-field objects and potential sources of interference. Both technologies increasingly incorporate machine learning algorithms to adapt to changing environmental conditions and interference patterns, improving tracking reliability in dynamic settings.
The selection between these technologies ultimately depends on the specific environmental challenges of the deployment scenario, with Phased Arrays generally offering superior performance in complex, interference-rich environments at the cost of greater system complexity and higher implementation expenses.
Cost-Benefit Analysis of Competing Technologies
When comparing Phased Array and RFID technologies for tracking applications, cost-benefit analysis reveals significant differences in initial investment, operational expenses, and long-term value proposition. Phased Array systems typically require substantial upfront capital expenditure, with sophisticated hardware components including antenna arrays, signal processors, and calibration equipment. These systems generally range from $50,000 to $250,000 depending on complexity, coverage area, and precision requirements. Additionally, installation costs can add 15-30% to the initial investment due to precise positioning requirements and environmental calibration needs.
In contrast, RFID systems present a more modest initial investment, typically between $5,000 and $50,000 for enterprise-grade solutions. The cost structure is more distributed, with expenses divided between readers ($500-3,000 each), antennas ($100-500 each), and tags ($0.10-$50 depending on type and durability). This scalable architecture allows organizations to start with smaller deployments and expand incrementally as needed.
Operational expenditures also differ significantly between these technologies. Phased Array systems consume more power, with sophisticated arrays requiring 2-5 times the electricity of comparable RFID installations. However, RFID systems often incur higher ongoing costs through tag replacement, particularly in harsh environments where tag damage is common. Annual tag replacement can represent 10-25% of the initial tag investment depending on the application environment.
Maintenance requirements present another important cost consideration. Phased Array systems typically require specialized technical expertise for calibration and troubleshooting, with annual maintenance contracts averaging 8-12% of the initial system cost. RFID systems generally have lower maintenance requirements but may need more frequent reader adjustments and antenna positioning optimization in dynamic environments.
Return on investment timelines vary substantially based on application. For high-value asset tracking in controlled environments, Phased Array systems may achieve ROI within 18-24 months through superior accuracy and reduced asset loss. RFID solutions typically show faster ROI periods of 12-18 months in inventory management applications due to lower initial costs and immediate operational efficiencies, though with potentially higher cumulative operational expenses over a 5-year period.
The total cost of ownership analysis reveals that while Phased Array technology presents higher initial barriers to entry, its superior accuracy and reliability can justify the investment for applications where precision is paramount. Conversely, RFID offers a more accessible entry point with competitive tracking capabilities for many standard applications, though potentially higher lifetime costs when tag replacement and system adjustments are considered over extended periods.
In contrast, RFID systems present a more modest initial investment, typically between $5,000 and $50,000 for enterprise-grade solutions. The cost structure is more distributed, with expenses divided between readers ($500-3,000 each), antennas ($100-500 each), and tags ($0.10-$50 depending on type and durability). This scalable architecture allows organizations to start with smaller deployments and expand incrementally as needed.
Operational expenditures also differ significantly between these technologies. Phased Array systems consume more power, with sophisticated arrays requiring 2-5 times the electricity of comparable RFID installations. However, RFID systems often incur higher ongoing costs through tag replacement, particularly in harsh environments where tag damage is common. Annual tag replacement can represent 10-25% of the initial tag investment depending on the application environment.
Maintenance requirements present another important cost consideration. Phased Array systems typically require specialized technical expertise for calibration and troubleshooting, with annual maintenance contracts averaging 8-12% of the initial system cost. RFID systems generally have lower maintenance requirements but may need more frequent reader adjustments and antenna positioning optimization in dynamic environments.
Return on investment timelines vary substantially based on application. For high-value asset tracking in controlled environments, Phased Array systems may achieve ROI within 18-24 months through superior accuracy and reduced asset loss. RFID solutions typically show faster ROI periods of 12-18 months in inventory management applications due to lower initial costs and immediate operational efficiencies, though with potentially higher cumulative operational expenses over a 5-year period.
The total cost of ownership analysis reveals that while Phased Array technology presents higher initial barriers to entry, its superior accuracy and reliability can justify the investment for applications where precision is paramount. Conversely, RFID offers a more accessible entry point with competitive tracking capabilities for many standard applications, though potentially higher lifetime costs when tag replacement and system adjustments are considered over extended periods.
Unlock deeper insights with Patsnap Eureka Quick Research — get a full tech report to explore trends and direct your research. Try now!
Generate Your Research Report Instantly with AI Agent
Supercharge your innovation with Patsnap Eureka AI Agent Platform!







