Carbonyl Compounds: Enhancing Biochemical Pathways
JUL 24, 20259 MIN READ
Generate Your Research Report Instantly with AI Agent
Patsnap Eureka helps you evaluate technical feasibility & market potential.
Carbonyl Compounds Research Background and Objectives
Carbonyl compounds have been a subject of intense research in biochemistry for decades, owing to their pivotal role in numerous biological processes. These organic molecules, characterized by the presence of a carbon-oxygen double bond, are ubiquitous in nature and play crucial roles in metabolism, energy production, and various cellular functions. The study of carbonyl compounds has evolved significantly over the years, from basic structural elucidation to advanced investigations into their complex interactions within biochemical pathways.
The primary objective of this research is to enhance our understanding of carbonyl compounds and their potential to optimize biochemical pathways. This goal is driven by the increasing demand for more efficient and sustainable biological processes in industries such as pharmaceuticals, agriculture, and biotechnology. By delving deeper into the mechanisms and interactions of carbonyl compounds, researchers aim to unlock new possibilities for improving enzymatic reactions, developing novel biocatalysts, and engineering more effective metabolic pathways.
Recent advancements in analytical techniques, computational modeling, and synthetic biology have opened up new avenues for carbonyl compound research. High-resolution spectroscopy and advanced imaging methods now allow for real-time observation of carbonyl reactions in biological systems. Simultaneously, the integration of artificial intelligence and machine learning algorithms has accelerated the process of identifying potential targets for pathway enhancement and predicting the outcomes of complex biochemical interactions.
The current research landscape is focused on several key areas. These include the exploration of novel carbonyl-based enzyme mechanisms, the development of carbonyl-specific biosensors for real-time monitoring of cellular processes, and the engineering of synthetic pathways that leverage carbonyl chemistry for the production of high-value compounds. Additionally, there is growing interest in understanding the role of carbonyl compounds in cellular signaling and their potential as therapeutic targets in various diseases.
As we look towards the future, the enhancement of biochemical pathways through carbonyl compound research holds immense promise. The potential applications range from improving crop yields through optimized photosynthesis to developing more efficient biofuel production processes. Moreover, insights gained from this research could lead to breakthroughs in personalized medicine, enabling the design of targeted therapies based on individual metabolic profiles.
In conclusion, the research on carbonyl compounds with the aim of enhancing biochemical pathways represents a critical frontier in biochemistry and biotechnology. By building upon decades of foundational knowledge and leveraging cutting-edge technologies, this field is poised to make significant contributions to our understanding of life processes and to drive innovations across multiple industries.
The primary objective of this research is to enhance our understanding of carbonyl compounds and their potential to optimize biochemical pathways. This goal is driven by the increasing demand for more efficient and sustainable biological processes in industries such as pharmaceuticals, agriculture, and biotechnology. By delving deeper into the mechanisms and interactions of carbonyl compounds, researchers aim to unlock new possibilities for improving enzymatic reactions, developing novel biocatalysts, and engineering more effective metabolic pathways.
Recent advancements in analytical techniques, computational modeling, and synthetic biology have opened up new avenues for carbonyl compound research. High-resolution spectroscopy and advanced imaging methods now allow for real-time observation of carbonyl reactions in biological systems. Simultaneously, the integration of artificial intelligence and machine learning algorithms has accelerated the process of identifying potential targets for pathway enhancement and predicting the outcomes of complex biochemical interactions.
The current research landscape is focused on several key areas. These include the exploration of novel carbonyl-based enzyme mechanisms, the development of carbonyl-specific biosensors for real-time monitoring of cellular processes, and the engineering of synthetic pathways that leverage carbonyl chemistry for the production of high-value compounds. Additionally, there is growing interest in understanding the role of carbonyl compounds in cellular signaling and their potential as therapeutic targets in various diseases.
As we look towards the future, the enhancement of biochemical pathways through carbonyl compound research holds immense promise. The potential applications range from improving crop yields through optimized photosynthesis to developing more efficient biofuel production processes. Moreover, insights gained from this research could lead to breakthroughs in personalized medicine, enabling the design of targeted therapies based on individual metabolic profiles.
In conclusion, the research on carbonyl compounds with the aim of enhancing biochemical pathways represents a critical frontier in biochemistry and biotechnology. By building upon decades of foundational knowledge and leveraging cutting-edge technologies, this field is poised to make significant contributions to our understanding of life processes and to drive innovations across multiple industries.
Market Analysis for Enhanced Biochemical Pathways
The market for enhanced biochemical pathways, particularly those involving carbonyl compounds, is experiencing significant growth and transformation. This expansion is driven by increasing demand across various industries, including pharmaceuticals, agrochemicals, and biofuels. The global market for biochemical pathway enhancement technologies is projected to reach substantial value in the coming years, with a compound annual growth rate outpacing many other biotechnology sectors.
In the pharmaceutical industry, enhanced biochemical pathways are crucial for the development of new drugs and the optimization of existing production processes. The ability to manipulate carbonyl compounds more efficiently can lead to improved synthesis of active pharmaceutical ingredients, potentially reducing production costs and increasing drug efficacy. This has sparked considerable interest from major pharmaceutical companies, who are investing heavily in research and development in this area.
The agrochemical sector is another key market for enhanced biochemical pathways. As the world population grows and climate change impacts agricultural productivity, there is an increasing need for more effective and environmentally friendly crop protection and enhancement products. Improved pathways for synthesizing carbonyl-based pesticides and herbicides could lead to more targeted and less harmful agricultural chemicals.
Biofuel production represents a rapidly expanding market for biochemical pathway enhancement. As the world seeks to reduce its dependence on fossil fuels, the ability to efficiently convert biomass into usable energy sources is becoming increasingly valuable. Enhanced pathways for breaking down complex carbohydrates and synthesizing fuel molecules could significantly improve the economic viability of biofuel production.
The food and beverage industry is also showing growing interest in enhanced biochemical pathways. Improved methods for producing flavors, fragrances, and nutritional supplements that involve carbonyl compounds could lead to new product innovations and more cost-effective production processes.
From a geographical perspective, North America and Europe currently dominate the market for biochemical pathway enhancement technologies. However, the Asia-Pacific region is expected to show the highest growth rate in the coming years, driven by increasing investment in biotechnology and a rapidly expanding pharmaceutical industry.
Key market drivers include the push for more sustainable and environmentally friendly production processes, the need for more efficient drug discovery and development pipelines, and the growing demand for bio-based materials across various industries. However, challenges such as regulatory hurdles and the high initial investment required for research and development may slow market growth in some sectors.
Overall, the market analysis indicates a strong potential for growth in technologies and applications related to enhanced biochemical pathways, particularly those involving carbonyl compounds. This presents significant opportunities for companies and research institutions working in this field, with the potential for substantial returns on investment in the medium to long term.
In the pharmaceutical industry, enhanced biochemical pathways are crucial for the development of new drugs and the optimization of existing production processes. The ability to manipulate carbonyl compounds more efficiently can lead to improved synthesis of active pharmaceutical ingredients, potentially reducing production costs and increasing drug efficacy. This has sparked considerable interest from major pharmaceutical companies, who are investing heavily in research and development in this area.
The agrochemical sector is another key market for enhanced biochemical pathways. As the world population grows and climate change impacts agricultural productivity, there is an increasing need for more effective and environmentally friendly crop protection and enhancement products. Improved pathways for synthesizing carbonyl-based pesticides and herbicides could lead to more targeted and less harmful agricultural chemicals.
Biofuel production represents a rapidly expanding market for biochemical pathway enhancement. As the world seeks to reduce its dependence on fossil fuels, the ability to efficiently convert biomass into usable energy sources is becoming increasingly valuable. Enhanced pathways for breaking down complex carbohydrates and synthesizing fuel molecules could significantly improve the economic viability of biofuel production.
The food and beverage industry is also showing growing interest in enhanced biochemical pathways. Improved methods for producing flavors, fragrances, and nutritional supplements that involve carbonyl compounds could lead to new product innovations and more cost-effective production processes.
From a geographical perspective, North America and Europe currently dominate the market for biochemical pathway enhancement technologies. However, the Asia-Pacific region is expected to show the highest growth rate in the coming years, driven by increasing investment in biotechnology and a rapidly expanding pharmaceutical industry.
Key market drivers include the push for more sustainable and environmentally friendly production processes, the need for more efficient drug discovery and development pipelines, and the growing demand for bio-based materials across various industries. However, challenges such as regulatory hurdles and the high initial investment required for research and development may slow market growth in some sectors.
Overall, the market analysis indicates a strong potential for growth in technologies and applications related to enhanced biochemical pathways, particularly those involving carbonyl compounds. This presents significant opportunities for companies and research institutions working in this field, with the potential for substantial returns on investment in the medium to long term.
Current Challenges in Carbonyl Compound Manipulation
The manipulation of carbonyl compounds presents several significant challenges in the field of biochemistry and organic synthesis. One of the primary obstacles is the control of stereochemistry during carbonyl reactions. Achieving high levels of enantioselectivity and diastereoselectivity remains a complex task, particularly in large-scale industrial processes. This challenge is exacerbated by the sensitivity of carbonyl compounds to various reaction conditions, making it difficult to maintain consistent stereochemical outcomes across different scales and environments.
Another major hurdle is the selective functionalization of carbonyl groups in complex molecules. In biological systems and intricate synthetic targets, multiple carbonyl moieties may be present, each requiring distinct transformations. Developing methodologies that can discriminate between these similar functional groups and selectively modify them without affecting others is an ongoing area of research. This challenge is particularly pronounced in the synthesis of natural products and pharmaceuticals, where precise control over carbonyl reactivity is crucial.
The reversibility of many carbonyl reactions poses an additional challenge, especially in the context of enhancing biochemical pathways. Equilibrium-controlled processes can limit the efficiency and yield of desired transformations, necessitating the development of strategies to shift equilibria or couple reactions with irreversible steps. This is particularly relevant in enzymatic systems, where the fine balance of forward and reverse reactions can significantly impact metabolic flux and product formation.
Carbonyl compounds are also susceptible to various side reactions, including aldol condensations, Cannizzaro reactions, and oxidation processes. Controlling these undesired pathways, especially under physiological conditions or in complex reaction mixtures, remains a significant challenge. This is particularly problematic in the design of artificial metabolic pathways or in the optimization of existing biochemical routes involving carbonyl intermediates.
The stability of carbonyl compounds under diverse conditions is another area of concern. Many carbonyl-containing molecules are sensitive to pH changes, oxidative environments, and thermal stress. Developing robust methods for the synthesis, storage, and manipulation of these compounds, especially in aqueous media or cellular environments, is crucial for advancing their applications in biochemistry and biotechnology.
Lastly, the efficient and sustainable synthesis of carbonyl compounds, particularly those with complex structures or specific stereochemical requirements, continues to be a challenge. Current methods often rely on precious metal catalysts, harsh reaction conditions, or multi-step sequences. Developing greener, more atom-economical approaches that align with the principles of sustainable chemistry is an ongoing effort in both academic and industrial research settings.
Another major hurdle is the selective functionalization of carbonyl groups in complex molecules. In biological systems and intricate synthetic targets, multiple carbonyl moieties may be present, each requiring distinct transformations. Developing methodologies that can discriminate between these similar functional groups and selectively modify them without affecting others is an ongoing area of research. This challenge is particularly pronounced in the synthesis of natural products and pharmaceuticals, where precise control over carbonyl reactivity is crucial.
The reversibility of many carbonyl reactions poses an additional challenge, especially in the context of enhancing biochemical pathways. Equilibrium-controlled processes can limit the efficiency and yield of desired transformations, necessitating the development of strategies to shift equilibria or couple reactions with irreversible steps. This is particularly relevant in enzymatic systems, where the fine balance of forward and reverse reactions can significantly impact metabolic flux and product formation.
Carbonyl compounds are also susceptible to various side reactions, including aldol condensations, Cannizzaro reactions, and oxidation processes. Controlling these undesired pathways, especially under physiological conditions or in complex reaction mixtures, remains a significant challenge. This is particularly problematic in the design of artificial metabolic pathways or in the optimization of existing biochemical routes involving carbonyl intermediates.
The stability of carbonyl compounds under diverse conditions is another area of concern. Many carbonyl-containing molecules are sensitive to pH changes, oxidative environments, and thermal stress. Developing robust methods for the synthesis, storage, and manipulation of these compounds, especially in aqueous media or cellular environments, is crucial for advancing their applications in biochemistry and biotechnology.
Lastly, the efficient and sustainable synthesis of carbonyl compounds, particularly those with complex structures or specific stereochemical requirements, continues to be a challenge. Current methods often rely on precious metal catalysts, harsh reaction conditions, or multi-step sequences. Developing greener, more atom-economical approaches that align with the principles of sustainable chemistry is an ongoing effort in both academic and industrial research settings.
Existing Methods for Enhancing Biochemical Pathways
01 Metabolic pathways of carbonyl compounds
This category focuses on the biochemical pathways involved in the metabolism of carbonyl compounds. It includes the study of enzymatic reactions, intermediates, and end products in various metabolic processes. The research in this area aims to understand how carbonyl compounds are synthesized, transformed, and degraded within biological systems.- Biochemical pathways of carbonyl compound metabolism: This category focuses on the various biochemical pathways involved in the metabolism of carbonyl compounds. These pathways include enzymatic reactions, oxidation-reduction processes, and other metabolic transformations that occur in living organisms. Understanding these pathways is crucial for elucidating the role of carbonyl compounds in cellular processes and their impact on overall metabolism.
- Computational modeling of carbonyl compound pathways: This area involves the use of computational methods and algorithms to model and simulate the biochemical pathways of carbonyl compounds. These models can help predict the behavior of carbonyl compounds in various biological systems, analyze their interactions with other molecules, and assist in the design of new drugs or metabolic engineering strategies.
- Synthesis and modification of carbonyl compounds: This category covers methods and techniques for synthesizing carbonyl compounds and modifying their structures. These processes are important for creating new compounds with desired properties, studying structure-activity relationships, and developing novel applications in various fields such as pharmaceuticals, materials science, and chemical engineering.
- Analysis and detection of carbonyl compounds in biochemical pathways: This area focuses on analytical techniques and methods for detecting and quantifying carbonyl compounds in biological samples and biochemical pathways. These techniques may include spectroscopic methods, chromatography, mass spectrometry, and other advanced analytical tools that enable researchers to study the presence and behavior of carbonyl compounds in complex biological systems.
- Role of carbonyl compounds in cellular signaling and regulation: This category explores the involvement of carbonyl compounds in cellular signaling pathways and regulatory mechanisms. It includes studies on how these compounds interact with cellular receptors, enzymes, and other biomolecules to influence various physiological processes, gene expression, and cellular responses to environmental stimuli.
02 Carbonyl compound synthesis in biological systems
This point covers the biological synthesis of carbonyl compounds through various biochemical pathways. It includes the study of enzymes, cofactors, and regulatory mechanisms involved in the production of aldehydes, ketones, and other carbonyl-containing molecules in living organisms. The research aims to elucidate the natural production methods of these compounds.Expand Specific Solutions03 Carbonyl compounds in cellular signaling pathways
This category explores the role of carbonyl compounds in cellular signaling pathways. It includes the study of how these compounds act as signaling molecules, their interactions with receptors, and their involvement in various cellular processes. The research in this area aims to understand the regulatory functions of carbonyl compounds in biological systems.Expand Specific Solutions04 Detoxification pathways for carbonyl compounds
This point focuses on the biochemical pathways involved in the detoxification of carbonyl compounds. It includes the study of enzymes and mechanisms responsible for neutralizing or eliminating potentially harmful carbonyl compounds from biological systems. The research aims to understand how organisms protect themselves from the toxic effects of these compounds.Expand Specific Solutions05 Computational modeling of carbonyl compound pathways
This category covers the use of computational methods to model and analyze biochemical pathways involving carbonyl compounds. It includes the development of algorithms, software tools, and databases for predicting and simulating metabolic processes. The research aims to enhance our understanding of complex biochemical networks and aid in the design of new experiments or therapeutic interventions.Expand Specific Solutions
Key Players in Carbonyl Compound Research and Applications
The research on carbonyl compounds for enhancing biochemical pathways is in a dynamic phase, with significant market potential and growing technological maturity. The field is attracting attention from diverse players, including established chemical companies, biotechnology firms, and academic institutions. Companies like Genomatica, Danisco, and Inbiose are at the forefront, leveraging their expertise in bioengineering and sustainable chemical production. The market is expanding rapidly, driven by increasing demand for eco-friendly and efficient biochemical processes. While the technology is advancing, there's still room for innovation, particularly in scaling up production and improving cost-effectiveness. The involvement of research institutions like the University of California and CNRS indicates ongoing fundamental research, suggesting that the field is poised for further breakthroughs and commercial applications in the near future.
Genomatica, Inc.
Technical Solution: Genomatica has developed a proprietary technology platform for enhancing biochemical pathways related to carbonyl compounds. Their approach involves engineering microorganisms to produce high-value chemicals from renewable feedstocks. The company has successfully commercialized bio-based 1,4-butanediol (BDO) production, which involves the manipulation of carbonyl compound intermediates[1]. Their process utilizes engineered E. coli strains that can convert sugars into BDO through a novel metabolic pathway, achieving titers of over 100 g/L and yields close to 0.40 g/g[2]. This technology demonstrates significant improvements in the production of carbonyl-containing compounds through enhanced biochemical pathways.
Strengths: Proven commercial success in bio-based chemical production, high yields and titers achieved. Weaknesses: Limited to specific target molecules, may face challenges in scaling up for diverse carbonyl compounds.
The Regents of the University of California
Technical Solution: The University of California has conducted extensive research on enhancing biochemical pathways for carbonyl compounds. Their approach focuses on metabolic engineering and synthetic biology techniques to optimize microbial production of various carbonyl-containing molecules. One notable project involves the development of a novel biosynthetic pathway for the production of 3-hydroxypropionic acid (3-HP), a platform chemical with numerous applications[3]. The researchers engineered E. coli to express a synthetic pathway that converts glycerol to 3-HP, achieving titers of up to 71.9 g/L with a productivity of 1.8 g/L/h[4]. This work demonstrates the potential for enhancing biochemical pathways to produce valuable carbonyl compounds from renewable resources.
Strengths: Access to diverse research expertise, innovative pathway design capabilities. Weaknesses: May face challenges in translating academic research to industrial-scale production.
Innovative Approaches in Carbonyl Compound Utilization
Modification of fructan biosynthesis, increasing plant biomass, and enhancing productivity of biochemical pathways in a plant (2)
PatentActiveAU2015264827B2
Innovation
- The method involves spatial reprogramming of the fructan biosynthesis pathway in photosynthetic cells by introducing genetic constructs encoding fructan biosynthetic enzymes, such as sucrose:sucrose 1-fructosyltransferase and fructan:fructan 6G-fructosyltransferase, to drive fructan accumulation in leaf blades and enhance enzymatic activity through translational fusions, thereby increasing biomass and stress tolerance.
Bioconversion of 1-carbon feedstocks to chemicals and fuels
PatentWO2017210381A1
Innovation
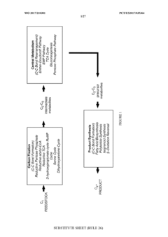
- A synthetic, biological pathway that allows for the direct assimilation of single carbon compounds like CO2, CO, formate, formaldehyde, and methane into carbon-based products through a single engineered metabolic pathway, bypassing the need for common intermediates and enabling iterative elongation of the carbon backbone using formate as an extender unit.
Environmental Impact of Carbonyl Compound Research
The environmental impact of carbonyl compound research extends far beyond the laboratory, influencing ecosystems, human health, and global climate patterns. As scientists delve deeper into enhancing biochemical pathways involving carbonyl compounds, it is crucial to consider the broader ecological implications of these advancements.
One of the primary environmental concerns associated with carbonyl compound research is the potential release of volatile organic compounds (VOCs) into the atmosphere. Many carbonyl compounds are highly reactive and can contribute to the formation of ground-level ozone and photochemical smog when released into the air. This can lead to respiratory issues in humans and animals, as well as damage to vegetation and crops.
Furthermore, the production and disposal of carbonyl compounds used in research can have significant environmental consequences. Improper handling or disposal of these chemicals may result in soil and water contamination, affecting local ecosystems and potentially entering the food chain. This highlights the importance of implementing strict safety protocols and waste management practices in research facilities.
On a positive note, research on carbonyl compounds has the potential to contribute to environmental solutions. For instance, advancements in understanding and manipulating carbonyl-based biochemical pathways could lead to the development of more efficient biofuels or biodegradable materials. These innovations could help reduce reliance on fossil fuels and mitigate plastic pollution, both of which are major environmental concerns.
The impact of carbonyl compound research on climate change is also noteworthy. Some carbonyl compounds, such as formaldehyde and acetone, are known to be greenhouse gases. While their individual contributions to global warming may be smaller compared to carbon dioxide or methane, their cumulative effect should not be overlooked. Research aimed at reducing emissions or finding alternatives to these compounds could play a role in climate change mitigation strategies.
Additionally, the study of carbonyl compounds in atmospheric chemistry provides valuable insights into climate processes. Understanding how these compounds interact with other atmospheric constituents can improve climate models and predictions, ultimately informing environmental policy decisions.
It is essential to consider the lifecycle analysis of carbonyl compounds used in research and potential applications. From production to use and eventual disposal, each stage can have environmental implications. Researchers and policymakers must work together to develop sustainable practices that minimize negative impacts while maximizing the potential benefits of carbonyl compound research for environmental protection and restoration.
One of the primary environmental concerns associated with carbonyl compound research is the potential release of volatile organic compounds (VOCs) into the atmosphere. Many carbonyl compounds are highly reactive and can contribute to the formation of ground-level ozone and photochemical smog when released into the air. This can lead to respiratory issues in humans and animals, as well as damage to vegetation and crops.
Furthermore, the production and disposal of carbonyl compounds used in research can have significant environmental consequences. Improper handling or disposal of these chemicals may result in soil and water contamination, affecting local ecosystems and potentially entering the food chain. This highlights the importance of implementing strict safety protocols and waste management practices in research facilities.
On a positive note, research on carbonyl compounds has the potential to contribute to environmental solutions. For instance, advancements in understanding and manipulating carbonyl-based biochemical pathways could lead to the development of more efficient biofuels or biodegradable materials. These innovations could help reduce reliance on fossil fuels and mitigate plastic pollution, both of which are major environmental concerns.
The impact of carbonyl compound research on climate change is also noteworthy. Some carbonyl compounds, such as formaldehyde and acetone, are known to be greenhouse gases. While their individual contributions to global warming may be smaller compared to carbon dioxide or methane, their cumulative effect should not be overlooked. Research aimed at reducing emissions or finding alternatives to these compounds could play a role in climate change mitigation strategies.
Additionally, the study of carbonyl compounds in atmospheric chemistry provides valuable insights into climate processes. Understanding how these compounds interact with other atmospheric constituents can improve climate models and predictions, ultimately informing environmental policy decisions.
It is essential to consider the lifecycle analysis of carbonyl compounds used in research and potential applications. From production to use and eventual disposal, each stage can have environmental implications. Researchers and policymakers must work together to develop sustainable practices that minimize negative impacts while maximizing the potential benefits of carbonyl compound research for environmental protection and restoration.
Regulatory Framework for Biochemical Pathway Modification
The regulatory framework for biochemical pathway modification is a critical aspect of research on carbonyl compounds and the enhancement of biochemical pathways. This framework encompasses a complex set of guidelines, laws, and ethical considerations that govern the development, testing, and implementation of modified biochemical pathways.
At the international level, organizations such as the World Health Organization (WHO) and the United Nations Environmental Programme (UNEP) provide overarching guidelines for the safe and responsible manipulation of biochemical pathways. These guidelines often focus on potential environmental impacts and human health risks associated with modified organisms or biochemical processes.
National regulatory bodies play a crucial role in enforcing and adapting these international guidelines to local contexts. In the United States, the Environmental Protection Agency (EPA) and the Food and Drug Administration (FDA) are key players in regulating biochemical pathway modifications. The EPA's Toxic Substances Control Act (TSCA) and the FDA's regulations on genetically engineered organisms are particularly relevant to research on carbonyl compounds and pathway enhancement.
The European Union has established a comprehensive regulatory framework through the Registration, Evaluation, Authorization and Restriction of Chemicals (REACH) regulation. This framework requires thorough safety assessments and risk evaluations for new chemical substances, including those resulting from modified biochemical pathways.
Specific to carbonyl compounds and biochemical pathway enhancement, regulations often focus on the potential for unintended consequences. This includes the production of toxic byproducts, alterations to ecosystem balance, and the potential for modified organisms to outcompete native species. As such, regulatory bodies typically require extensive laboratory testing and controlled field trials before approving any significant modifications to biochemical pathways.
Ethical considerations also form a significant part of the regulatory framework. Many countries have established bioethics committees to address the moral implications of manipulating biological processes. These committees often weigh the potential benefits of enhanced biochemical pathways against possible risks to human health, environmental integrity, and biodiversity.
The regulatory landscape is continually evolving as new scientific discoveries and technological advancements emerge. Researchers and companies working on enhancing biochemical pathways must stay abreast of these changes and engage in ongoing dialogue with regulatory bodies. This ensures compliance with current regulations and helps shape future policy to accommodate innovative approaches in carbonyl compound research and biochemical pathway modification.
At the international level, organizations such as the World Health Organization (WHO) and the United Nations Environmental Programme (UNEP) provide overarching guidelines for the safe and responsible manipulation of biochemical pathways. These guidelines often focus on potential environmental impacts and human health risks associated with modified organisms or biochemical processes.
National regulatory bodies play a crucial role in enforcing and adapting these international guidelines to local contexts. In the United States, the Environmental Protection Agency (EPA) and the Food and Drug Administration (FDA) are key players in regulating biochemical pathway modifications. The EPA's Toxic Substances Control Act (TSCA) and the FDA's regulations on genetically engineered organisms are particularly relevant to research on carbonyl compounds and pathway enhancement.
The European Union has established a comprehensive regulatory framework through the Registration, Evaluation, Authorization and Restriction of Chemicals (REACH) regulation. This framework requires thorough safety assessments and risk evaluations for new chemical substances, including those resulting from modified biochemical pathways.
Specific to carbonyl compounds and biochemical pathway enhancement, regulations often focus on the potential for unintended consequences. This includes the production of toxic byproducts, alterations to ecosystem balance, and the potential for modified organisms to outcompete native species. As such, regulatory bodies typically require extensive laboratory testing and controlled field trials before approving any significant modifications to biochemical pathways.
Ethical considerations also form a significant part of the regulatory framework. Many countries have established bioethics committees to address the moral implications of manipulating biological processes. These committees often weigh the potential benefits of enhanced biochemical pathways against possible risks to human health, environmental integrity, and biodiversity.
The regulatory landscape is continually evolving as new scientific discoveries and technological advancements emerge. Researchers and companies working on enhancing biochemical pathways must stay abreast of these changes and engage in ongoing dialogue with regulatory bodies. This ensures compliance with current regulations and helps shape future policy to accommodate innovative approaches in carbonyl compound research and biochemical pathway modification.
Unlock deeper insights with Patsnap Eureka Quick Research — get a full tech report to explore trends and direct your research. Try now!
Generate Your Research Report Instantly with AI Agent
Supercharge your innovation with Patsnap Eureka AI Agent Platform!







