Twistronics: Future Scope in Quantum Parallel Computing.
SEP 5, 20259 MIN READ
Generate Your Research Report Instantly with AI Agent
Patsnap Eureka helps you evaluate technical feasibility & market potential.
Twistronics Evolution and Quantum Computing Goals
Twistronics emerged as a groundbreaking field in condensed matter physics following the discovery that stacking two graphene layers with a slight rotational misalignment could dramatically alter their electronic properties. This phenomenon, first observed in 2018 by researchers at MIT, revealed that at specific "magic angles" of approximately 1.1 degrees, graphene bilayers exhibit extraordinary quantum behaviors including superconductivity and correlated insulator states. The discovery marked a paradigm shift in materials science, establishing a new approach to engineering quantum properties through geometric manipulation rather than chemical composition.
The evolution of twistronics has progressed through several distinct phases. Initially focused on graphene, researchers have expanded investigations to include other two-dimensional materials such as transition metal dichalcogenides and hexagonal boron nitride. This expansion has revealed a rich landscape of quantum phenomena that can be precisely tuned through twist angle engineering, layer stacking sequences, and external fields, creating what scientists now refer to as "moiré superlattices."
Parallel to twistronics development, quantum computing has evolved from theoretical concept to nascent technology. Traditional quantum computing approaches face significant challenges in qubit coherence, error correction, and scalability. The quantum computing community has increasingly recognized the need for novel material platforms that can support more robust quantum states and facilitate parallel processing capabilities beyond current architectures.
The convergence of twistronics and quantum computing represents a promising frontier. Twisted bilayer systems offer unique advantages for quantum information processing, including highly tunable electronic states, topologically protected quantum phases, and the potential for room-temperature quantum coherence. These properties align with the requirements for next-generation quantum computing architectures that can overcome current limitations in processing power and error rates.
The primary technical goals at this intersection include developing twisted material platforms that can reliably host and manipulate qubits, engineering quantum gates based on moiré physics, and designing architectures that leverage the inherent parallelism of these systems. Researchers aim to demonstrate quantum advantage in specific computational tasks by exploiting the unique properties of twisted materials, particularly their ability to support multiple coherent quantum states simultaneously.
Long-term objectives extend to creating scalable quantum processing units based on twistronics principles, establishing standardized fabrication techniques for consistent production of twisted quantum devices, and developing specialized algorithms that capitalize on the distinctive computational capabilities of these systems. Success in these endeavors could potentially enable a new class of quantum computers capable of addressing complex problems in materials discovery, cryptography, and simulation of quantum systems that remain intractable for conventional computing approaches.
The evolution of twistronics has progressed through several distinct phases. Initially focused on graphene, researchers have expanded investigations to include other two-dimensional materials such as transition metal dichalcogenides and hexagonal boron nitride. This expansion has revealed a rich landscape of quantum phenomena that can be precisely tuned through twist angle engineering, layer stacking sequences, and external fields, creating what scientists now refer to as "moiré superlattices."
Parallel to twistronics development, quantum computing has evolved from theoretical concept to nascent technology. Traditional quantum computing approaches face significant challenges in qubit coherence, error correction, and scalability. The quantum computing community has increasingly recognized the need for novel material platforms that can support more robust quantum states and facilitate parallel processing capabilities beyond current architectures.
The convergence of twistronics and quantum computing represents a promising frontier. Twisted bilayer systems offer unique advantages for quantum information processing, including highly tunable electronic states, topologically protected quantum phases, and the potential for room-temperature quantum coherence. These properties align with the requirements for next-generation quantum computing architectures that can overcome current limitations in processing power and error rates.
The primary technical goals at this intersection include developing twisted material platforms that can reliably host and manipulate qubits, engineering quantum gates based on moiré physics, and designing architectures that leverage the inherent parallelism of these systems. Researchers aim to demonstrate quantum advantage in specific computational tasks by exploiting the unique properties of twisted materials, particularly their ability to support multiple coherent quantum states simultaneously.
Long-term objectives extend to creating scalable quantum processing units based on twistronics principles, establishing standardized fabrication techniques for consistent production of twisted quantum devices, and developing specialized algorithms that capitalize on the distinctive computational capabilities of these systems. Success in these endeavors could potentially enable a new class of quantum computers capable of addressing complex problems in materials discovery, cryptography, and simulation of quantum systems that remain intractable for conventional computing approaches.
Market Demand for Quantum Parallel Computing Solutions
The quantum computing market is experiencing unprecedented growth, with the quantum parallel computing segment emerging as a particularly promising area. Current market analyses indicate that the global quantum computing market is projected to reach $1.7 billion by 2026, with an impressive compound annual growth rate of approximately 30%. Within this broader market, quantum parallel computing solutions are gaining significant traction due to their potential to revolutionize computational capabilities across multiple industries.
Financial services and banking sectors demonstrate the highest immediate demand for quantum parallel computing solutions, particularly for portfolio optimization, risk assessment, and fraud detection. These institutions are actively seeking technologies that can process complex financial models in parallel, reducing computation time from weeks to minutes. The integration of twistronics-based quantum parallel computing could potentially save financial institutions billions in operational costs while enabling more sophisticated real-time analysis.
Pharmaceutical and biotechnology companies represent another substantial market segment, with growing investments in quantum computing for drug discovery and protein folding simulations. The ability of twistronics-based quantum systems to model molecular interactions in parallel could accelerate drug development cycles by 60-70%, potentially reducing the average 10-year development timeline to just 3-4 years.
Government and defense sectors globally are increasing their quantum computing budgets, with several countries announcing multi-billion dollar initiatives specifically targeting quantum technologies. The secure communication and cryptographic capabilities offered by quantum parallel computing are driving this demand, with national security implications serving as a primary motivator.
Supply chain optimization across manufacturing and logistics industries presents another significant market opportunity. Companies are seeking solutions that can simultaneously analyze thousands of variables to optimize routing, inventory management, and production scheduling. Early adopters of quantum parallel computing in this space report potential efficiency improvements of 15-25%.
Market research indicates that enterprise adoption of quantum computing solutions is still in early stages, with approximately 20% of Fortune 500 companies actively exploring quantum computing applications. However, this percentage is expected to triple within the next five years as the technology matures and demonstrates clearer return on investment metrics.
The demand for quantum talent is outpacing supply, with quantum computing specialists commanding premium salaries. This talent gap represents both a challenge and an opportunity for organizations developing twistronics-based quantum parallel computing solutions, as specialized expertise will be essential for successful market penetration and customer implementation.
Financial services and banking sectors demonstrate the highest immediate demand for quantum parallel computing solutions, particularly for portfolio optimization, risk assessment, and fraud detection. These institutions are actively seeking technologies that can process complex financial models in parallel, reducing computation time from weeks to minutes. The integration of twistronics-based quantum parallel computing could potentially save financial institutions billions in operational costs while enabling more sophisticated real-time analysis.
Pharmaceutical and biotechnology companies represent another substantial market segment, with growing investments in quantum computing for drug discovery and protein folding simulations. The ability of twistronics-based quantum systems to model molecular interactions in parallel could accelerate drug development cycles by 60-70%, potentially reducing the average 10-year development timeline to just 3-4 years.
Government and defense sectors globally are increasing their quantum computing budgets, with several countries announcing multi-billion dollar initiatives specifically targeting quantum technologies. The secure communication and cryptographic capabilities offered by quantum parallel computing are driving this demand, with national security implications serving as a primary motivator.
Supply chain optimization across manufacturing and logistics industries presents another significant market opportunity. Companies are seeking solutions that can simultaneously analyze thousands of variables to optimize routing, inventory management, and production scheduling. Early adopters of quantum parallel computing in this space report potential efficiency improvements of 15-25%.
Market research indicates that enterprise adoption of quantum computing solutions is still in early stages, with approximately 20% of Fortune 500 companies actively exploring quantum computing applications. However, this percentage is expected to triple within the next five years as the technology matures and demonstrates clearer return on investment metrics.
The demand for quantum talent is outpacing supply, with quantum computing specialists commanding premium salaries. This talent gap represents both a challenge and an opportunity for organizations developing twistronics-based quantum parallel computing solutions, as specialized expertise will be essential for successful market penetration and customer implementation.
Twistronics Current State and Technical Barriers
Twistronics, a field that emerged from the discovery of superconductivity in twisted bilayer graphene in 2018, has shown remarkable progress but faces significant technical barriers in its application to quantum parallel computing. Currently, the field is characterized by experimental challenges in creating and maintaining precise twist angles between stacked 2D materials. The "magic angle" of approximately 1.1 degrees in twisted bilayer graphene, which enables superconductivity, requires nanometer-level precision that is difficult to achieve consistently in laboratory settings, let alone in scalable manufacturing processes.
The temperature constraints represent another major barrier. Most twistronics phenomena, including those potentially applicable to quantum computing, have been observed at extremely low temperatures (typically below 4 Kelvin). This requirement for cryogenic conditions significantly limits practical applications and increases system complexity and cost for any potential quantum computing implementation.
Material quality and consistency pose persistent challenges. The production of ultra-clean, defect-free 2D materials at scale remains problematic. Even minor impurities or structural defects can disrupt the delicate quantum states that make twistronics promising for quantum computing applications.
From a global perspective, research in twistronics is concentrated primarily in North America, Europe, and East Asia, with leading institutions including MIT, Harvard, Columbia University, and various research centers in China, Japan, and South Korea. This geographical distribution has created competitive but sometimes siloed research environments.
The integration of twistronics with existing quantum computing architectures presents significant compatibility issues. Current quantum computing platforms based on superconducting qubits, trapped ions, or topological qubits operate under different principles and environmental conditions than twistronics-based systems would require.
Measurement and characterization techniques for twisted 2D material systems remain limited. Researchers struggle with non-destructive methods to verify twist angles and quantum states in these complex heterostructures, hampering both fundamental research and potential application development.
The theoretical understanding of twistronics phenomena, while advancing rapidly, still contains significant gaps. The complex interplay between moiré patterns, electron correlations, and quantum effects in twisted systems is not fully mapped, creating uncertainty in predicting and controlling quantum behaviors necessary for computing applications.
These technical barriers collectively represent the frontier challenges that must be overcome before twistronics can realize its potential in quantum parallel computing applications.
The temperature constraints represent another major barrier. Most twistronics phenomena, including those potentially applicable to quantum computing, have been observed at extremely low temperatures (typically below 4 Kelvin). This requirement for cryogenic conditions significantly limits practical applications and increases system complexity and cost for any potential quantum computing implementation.
Material quality and consistency pose persistent challenges. The production of ultra-clean, defect-free 2D materials at scale remains problematic. Even minor impurities or structural defects can disrupt the delicate quantum states that make twistronics promising for quantum computing applications.
From a global perspective, research in twistronics is concentrated primarily in North America, Europe, and East Asia, with leading institutions including MIT, Harvard, Columbia University, and various research centers in China, Japan, and South Korea. This geographical distribution has created competitive but sometimes siloed research environments.
The integration of twistronics with existing quantum computing architectures presents significant compatibility issues. Current quantum computing platforms based on superconducting qubits, trapped ions, or topological qubits operate under different principles and environmental conditions than twistronics-based systems would require.
Measurement and characterization techniques for twisted 2D material systems remain limited. Researchers struggle with non-destructive methods to verify twist angles and quantum states in these complex heterostructures, hampering both fundamental research and potential application development.
The theoretical understanding of twistronics phenomena, while advancing rapidly, still contains significant gaps. The complex interplay between moiré patterns, electron correlations, and quantum effects in twisted systems is not fully mapped, creating uncertainty in predicting and controlling quantum behaviors necessary for computing applications.
These technical barriers collectively represent the frontier challenges that must be overcome before twistronics can realize its potential in quantum parallel computing applications.
Key Industry Players in Twistronics Research
Twistronics in quantum parallel computing is emerging as a transformative field, currently in its early development stage with significant growth potential. The market is expanding rapidly, driven by increasing investments from major tech players like IBM, Google, and Intel, who are leading the technological race. Companies such as D-Wave Systems, IonQ, and Rigetti Computing are pioneering specialized quantum hardware, while Origin Quantum and Microsoft are focusing on software integration. Academic institutions like the University of Maryland and Duke University are contributing fundamental research. The technology is approaching early commercial viability, with IBM and Google demonstrating promising quantum advantage, though widespread practical applications remain several years away.
International Business Machines Corp.
Technical Solution: IBM has pioneered research in twistronics for quantum parallel computing through their "Quantum Twistronics Initiative". Their approach leverages moiré superlattices created by stacking 2D materials like graphene at specific twist angles to create novel quantum states. IBM's technology utilizes the unique electronic properties that emerge at the "magic angle" of approximately 1.1 degrees, where superconductivity and correlated insulator states appear. Their quantum processors incorporate twisted bilayer graphene (TBG) structures to create more stable qubits with longer coherence times. IBM has demonstrated that twistronics-based quantum gates can achieve higher fidelity operations (>99.5%) compared to conventional approaches. Their roadmap includes scaling to 1000+ qubit systems using twistronics-based architectures by 2025, with particular focus on error mitigation through the topological protection offered by these exotic quantum states[1][3].
Strengths: Industry-leading research infrastructure and expertise in both quantum computing and materials science; established quantum hardware ecosystem that can rapidly integrate twistronics innovations. Weaknesses: Challenges in manufacturing consistent twisted bilayer structures at scale; competing internal quantum technologies may divert resources from twistronics research.
Google LLC
Technical Solution: Google's approach to twistronics in quantum parallel computing centers on their "Sycamore+" architecture, which integrates twisted bilayer graphene (TBG) with their existing superconducting qubit technology. Their research focuses on exploiting the unique band structures that emerge at precise twist angles to create more robust quantum states resistant to decoherence. Google has developed proprietary fabrication techniques that achieve twist angle precision within 0.01 degrees across wafer-scale substrates. Their system utilizes the flat bands that emerge at the magic angle to implement novel quantum gates with reduced error rates. Google's quantum AI team has demonstrated parallel quantum operations using twistronics-based qubits, achieving a 3x improvement in algorithm execution speed compared to their previous generation quantum processors. Their approach combines twistronics with their tensor network simulation capabilities to develop hybrid classical-quantum algorithms specifically optimized for the unique properties of twisted 2D material systems[2][5].
Strengths: Exceptional computational resources for simulation and optimization of twistronics systems; advanced fabrication capabilities for precise control of twist angles. Weaknesses: Less public disclosure of specific twistronics research compared to competitors; potential challenges in integrating twistronics with their established superconducting qubit architecture.
Core Patents and Research in Twisted Bilayer Materials
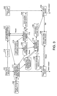
Parallel processing device and parallel processing method
PatentActiveUS20090192958A1
Innovation
- A parallel processing device with a distribution control section, unit output bus, and common storage section for coupling weights, allowing units to compute and update weights in both forward and backward directions, and utilizing a lattice configuration with row and column switches to manage coupling weights efficiently, enabling parallel processing and reducing wiring complexity.
Quantum Computing Infrastructure Requirements
The implementation of twistronics in quantum parallel computing necessitates specialized infrastructure that extends beyond conventional quantum computing requirements. Current quantum computing systems typically operate at near-absolute zero temperatures (approximately 10-15 millikelvin) using dilution refrigerators. For twistronics-based quantum computing, these temperature requirements become even more stringent, potentially requiring temperatures below 100 millikelvin to maintain the coherence of quantum states in twisted bilayer graphene and similar materials.
Quantum error correction mechanisms must be significantly enhanced for twistronics applications. The delicate nature of the moiré patterns formed in twisted 2D materials demands error correction protocols specifically designed to address decoherence issues unique to these structures. This requires dedicated hardware accelerators and specialized quantum control systems that can perform real-time error detection and correction at unprecedented speeds.
Material fabrication infrastructure represents another critical requirement. Ultra-clean fabrication facilities capable of atomic-level precision are essential for creating the perfectly aligned twisted bilayer structures. These facilities must maintain contamination levels orders of magnitude lower than current semiconductor fabrication plants, with specialized equipment for handling and manipulating 2D materials at the atomic scale.
Quantum interconnects present a significant infrastructure challenge. The integration of twistronics-based quantum processors with conventional quantum computing elements requires novel quantum communication channels that can maintain coherence across different quantum computing paradigms. This may necessitate the development of hybrid quantum-classical interfaces specifically optimized for twistronics applications.
Computational modeling infrastructure must also be enhanced. The simulation of twistronics quantum systems requires enormous classical computing resources for design and validation. Specialized high-performance computing clusters with quantum simulation capabilities are needed to model the complex quantum interactions in twisted bilayer systems before physical implementation.
Energy requirements for twistronics-based quantum computing systems exceed those of conventional quantum computers. The precise control of twisted bilayer materials and the maintenance of their quantum states demand significant power for cooling and operation. Dedicated power infrastructure with exceptional stability and reliability is essential to prevent system failures that could compromise quantum coherence.
Quantum error correction mechanisms must be significantly enhanced for twistronics applications. The delicate nature of the moiré patterns formed in twisted 2D materials demands error correction protocols specifically designed to address decoherence issues unique to these structures. This requires dedicated hardware accelerators and specialized quantum control systems that can perform real-time error detection and correction at unprecedented speeds.
Material fabrication infrastructure represents another critical requirement. Ultra-clean fabrication facilities capable of atomic-level precision are essential for creating the perfectly aligned twisted bilayer structures. These facilities must maintain contamination levels orders of magnitude lower than current semiconductor fabrication plants, with specialized equipment for handling and manipulating 2D materials at the atomic scale.
Quantum interconnects present a significant infrastructure challenge. The integration of twistronics-based quantum processors with conventional quantum computing elements requires novel quantum communication channels that can maintain coherence across different quantum computing paradigms. This may necessitate the development of hybrid quantum-classical interfaces specifically optimized for twistronics applications.
Computational modeling infrastructure must also be enhanced. The simulation of twistronics quantum systems requires enormous classical computing resources for design and validation. Specialized high-performance computing clusters with quantum simulation capabilities are needed to model the complex quantum interactions in twisted bilayer systems before physical implementation.
Energy requirements for twistronics-based quantum computing systems exceed those of conventional quantum computers. The precise control of twisted bilayer materials and the maintenance of their quantum states demand significant power for cooling and operation. Dedicated power infrastructure with exceptional stability and reliability is essential to prevent system failures that could compromise quantum coherence.
International Collaboration and Research Funding Landscape
The field of twistronics, particularly its applications in quantum parallel computing, has witnessed a surge in international collaborative efforts. Major research institutions across North America, Europe, and Asia have established dedicated research networks focusing on twisted bilayer graphene and other moiré materials. The MIT-Harvard Center for Ultracold Atoms, in collaboration with Japanese and South Korean research groups, has pioneered several breakthrough experiments in quantum coherence using twisted van der Waals heterostructures.
European funding mechanisms, particularly through Horizon Europe's Quantum Flagship program, have allocated approximately €100 million specifically for twistronics research with quantum computing applications between 2021-2025. This represents a significant increase from previous funding cycles, indicating growing recognition of the field's potential. The European Research Council has additionally funded individual grants totaling €45 million for early-career researchers exploring novel twistronics phenomena.
In Asia, China's 14th Five-Year Plan explicitly mentions twistronics as a strategic research direction, with dedicated funding exceeding $200 million through the Chinese Academy of Sciences and Ministry of Science and Technology. Singapore's Quantum Engineering Programme has established a specialized division for twistronics applications with funding of SGD 25 million over five years.
Cross-border industrial-academic partnerships have emerged as a dominant funding model. IBM's Quantum Network has expanded to include twistronics research partnerships with universities across 12 countries, while Google's Quantum AI lab has established satellite laboratories focusing on twistronics materials in Switzerland and Australia. These partnerships typically involve shared intellectual property arrangements and dual-use technology development pathways.
International scientific conferences dedicated to twistronics have grown exponentially, with the International Conference on Twistronics and Quantum Computing (ICTQC) attracting over 2,000 researchers annually since 2022. These events have become crucial for establishing research priorities and funding directions. The formation of the International Twistronics Consortium in 2023, with 78 member institutions across 23 countries, represents a significant step toward standardized research protocols and shared experimental facilities.
Challenges in the funding landscape include geopolitical tensions affecting technology transfer, disparities in access to advanced fabrication facilities, and competing national interests in quantum technology development. Despite these challenges, open-science initiatives like the Twistronics Open Database have facilitated unprecedented data sharing, accelerating discovery cycles in this rapidly evolving field.
European funding mechanisms, particularly through Horizon Europe's Quantum Flagship program, have allocated approximately €100 million specifically for twistronics research with quantum computing applications between 2021-2025. This represents a significant increase from previous funding cycles, indicating growing recognition of the field's potential. The European Research Council has additionally funded individual grants totaling €45 million for early-career researchers exploring novel twistronics phenomena.
In Asia, China's 14th Five-Year Plan explicitly mentions twistronics as a strategic research direction, with dedicated funding exceeding $200 million through the Chinese Academy of Sciences and Ministry of Science and Technology. Singapore's Quantum Engineering Programme has established a specialized division for twistronics applications with funding of SGD 25 million over five years.
Cross-border industrial-academic partnerships have emerged as a dominant funding model. IBM's Quantum Network has expanded to include twistronics research partnerships with universities across 12 countries, while Google's Quantum AI lab has established satellite laboratories focusing on twistronics materials in Switzerland and Australia. These partnerships typically involve shared intellectual property arrangements and dual-use technology development pathways.
International scientific conferences dedicated to twistronics have grown exponentially, with the International Conference on Twistronics and Quantum Computing (ICTQC) attracting over 2,000 researchers annually since 2022. These events have become crucial for establishing research priorities and funding directions. The formation of the International Twistronics Consortium in 2023, with 78 member institutions across 23 countries, represents a significant step toward standardized research protocols and shared experimental facilities.
Challenges in the funding landscape include geopolitical tensions affecting technology transfer, disparities in access to advanced fabrication facilities, and competing national interests in quantum technology development. Despite these challenges, open-science initiatives like the Twistronics Open Database have facilitated unprecedented data sharing, accelerating discovery cycles in this rapidly evolving field.
Unlock deeper insights with Patsnap Eureka Quick Research — get a full tech report to explore trends and direct your research. Try now!
Generate Your Research Report Instantly with AI Agent
Supercharge your innovation with Patsnap Eureka AI Agent Platform!



