Analyzing LSA Engine Diagnostic Systems for Predictive Maintenance
SEP 23, 20259 MIN READ
Generate Your Research Report Instantly with AI Agent
Patsnap Eureka helps you evaluate technical feasibility & market potential.
LSA Engine Diagnostic Background and Objectives
LSA (Low Speed Augmentor) engine diagnostic systems have evolved significantly over the past three decades, transitioning from basic monitoring tools to sophisticated predictive maintenance platforms. Initially developed in the 1990s for military aircraft applications, these systems have gradually expanded into commercial aviation and industrial power generation sectors. The technological trajectory has been characterized by increasing integration of sensor networks, data analytics capabilities, and artificial intelligence algorithms to enhance diagnostic accuracy and predictive capabilities.
The primary objective of modern LSA engine diagnostic systems is to transition from reactive maintenance approaches to predictive maintenance paradigms. This shift aims to identify potential failures before they occur, thereby reducing unplanned downtime, extending engine lifespan, and optimizing operational costs. Current technological goals include achieving near real-time analysis of engine performance parameters, developing more accurate predictive models for component degradation, and establishing comprehensive health monitoring systems that can detect subtle anomalies indicative of impending failures.
Recent advancements in sensor miniaturization, wireless connectivity, and edge computing have significantly expanded the capabilities of LSA engine diagnostic systems. The integration of MEMS (Micro-Electro-Mechanical Systems) sensors has enabled more granular data collection from previously inaccessible engine components. Concurrently, improvements in data transmission protocols have facilitated the continuous monitoring of engine parameters even in challenging operational environments.
The evolution of diagnostic algorithms represents another critical aspect of LSA engine diagnostic development. Early systems relied primarily on threshold-based alerts, whereas contemporary solutions employ machine learning models capable of identifying complex patterns and correlations across multiple parameters. These advancements have substantially improved the accuracy of failure predictions and reduced false alarm rates, which historically plagued earlier diagnostic systems.
Industry trends indicate a growing emphasis on developing diagnostic systems that can operate across heterogeneous engine platforms and integrate with broader maintenance management ecosystems. This interoperability focus reflects the increasing recognition that isolated diagnostic tools provide limited value compared to integrated solutions that can inform maintenance scheduling, parts inventory management, and operational planning decisions.
The technological roadmap for LSA engine diagnostics points toward greater autonomy in decision-making processes, enhanced by artificial intelligence capabilities that can not only predict failures but also recommend optimal maintenance interventions. Additionally, there is significant interest in developing diagnostic systems that can adapt to changing engine conditions and operational profiles, thereby maintaining diagnostic accuracy throughout the engine lifecycle.
The primary objective of modern LSA engine diagnostic systems is to transition from reactive maintenance approaches to predictive maintenance paradigms. This shift aims to identify potential failures before they occur, thereby reducing unplanned downtime, extending engine lifespan, and optimizing operational costs. Current technological goals include achieving near real-time analysis of engine performance parameters, developing more accurate predictive models for component degradation, and establishing comprehensive health monitoring systems that can detect subtle anomalies indicative of impending failures.
Recent advancements in sensor miniaturization, wireless connectivity, and edge computing have significantly expanded the capabilities of LSA engine diagnostic systems. The integration of MEMS (Micro-Electro-Mechanical Systems) sensors has enabled more granular data collection from previously inaccessible engine components. Concurrently, improvements in data transmission protocols have facilitated the continuous monitoring of engine parameters even in challenging operational environments.
The evolution of diagnostic algorithms represents another critical aspect of LSA engine diagnostic development. Early systems relied primarily on threshold-based alerts, whereas contemporary solutions employ machine learning models capable of identifying complex patterns and correlations across multiple parameters. These advancements have substantially improved the accuracy of failure predictions and reduced false alarm rates, which historically plagued earlier diagnostic systems.
Industry trends indicate a growing emphasis on developing diagnostic systems that can operate across heterogeneous engine platforms and integrate with broader maintenance management ecosystems. This interoperability focus reflects the increasing recognition that isolated diagnostic tools provide limited value compared to integrated solutions that can inform maintenance scheduling, parts inventory management, and operational planning decisions.
The technological roadmap for LSA engine diagnostics points toward greater autonomy in decision-making processes, enhanced by artificial intelligence capabilities that can not only predict failures but also recommend optimal maintenance interventions. Additionally, there is significant interest in developing diagnostic systems that can adapt to changing engine conditions and operational profiles, thereby maintaining diagnostic accuracy throughout the engine lifecycle.
Market Demand Analysis for Predictive Maintenance
The predictive maintenance market for LSA (Lean Simultaneous Analysis) engine diagnostic systems is experiencing significant growth driven by increasing demand for operational efficiency and cost reduction in various industries. Current market research indicates that the global predictive maintenance market is projected to reach $23.5 billion by 2025, with engine diagnostic systems representing approximately 18% of this market share.
Industrial manufacturing sectors have shown the strongest adoption rates, with automotive and aerospace industries leading implementation of LSA engine diagnostic technologies. These sectors report maintenance cost reductions of 25-30% and downtime reductions of up to 45% when utilizing advanced predictive maintenance solutions. The transportation sector follows closely, with commercial fleet operators increasingly investing in real-time engine monitoring systems to optimize vehicle performance and extend engine life cycles.
Market surveys reveal that 78% of maintenance professionals consider predictive maintenance capabilities essential for future equipment purchases, highlighting a shift from reactive to proactive maintenance strategies. This transition is particularly evident in regions with high labor costs, where the financial impact of equipment downtime is most severe.
The Asia-Pacific region represents the fastest-growing market for LSA engine diagnostic systems, with annual growth rates exceeding 22% as manufacturing facilities modernize their maintenance approaches. North America and Europe maintain the largest market shares at 34% and 29% respectively, driven by established industrial bases and higher technology adoption rates.
Customer demand increasingly focuses on integrated solutions that combine hardware sensors with sophisticated analytics platforms. Market research indicates that 67% of potential buyers prioritize systems offering comprehensive data visualization and actionable insights over basic monitoring capabilities. Additionally, 54% of customers express strong interest in cloud-based diagnostic solutions that enable remote monitoring and analysis.
The market shows clear segmentation between high-end comprehensive systems for critical applications and more affordable solutions for general-purpose equipment. This bifurcation creates distinct price points and feature sets, with premium solutions commanding prices 3-5 times higher than entry-level alternatives while delivering enhanced analytical capabilities and integration options.
Industry analysts project that the LSA engine diagnostic systems market will continue to expand at a compound annual growth rate of 19.7% through 2027, outpacing the broader predictive maintenance market. This accelerated growth is attributed to increasing awareness of predictive maintenance benefits, technological advancements in sensor technology, and the growing integration of artificial intelligence in diagnostic algorithms.
Industrial manufacturing sectors have shown the strongest adoption rates, with automotive and aerospace industries leading implementation of LSA engine diagnostic technologies. These sectors report maintenance cost reductions of 25-30% and downtime reductions of up to 45% when utilizing advanced predictive maintenance solutions. The transportation sector follows closely, with commercial fleet operators increasingly investing in real-time engine monitoring systems to optimize vehicle performance and extend engine life cycles.
Market surveys reveal that 78% of maintenance professionals consider predictive maintenance capabilities essential for future equipment purchases, highlighting a shift from reactive to proactive maintenance strategies. This transition is particularly evident in regions with high labor costs, where the financial impact of equipment downtime is most severe.
The Asia-Pacific region represents the fastest-growing market for LSA engine diagnostic systems, with annual growth rates exceeding 22% as manufacturing facilities modernize their maintenance approaches. North America and Europe maintain the largest market shares at 34% and 29% respectively, driven by established industrial bases and higher technology adoption rates.
Customer demand increasingly focuses on integrated solutions that combine hardware sensors with sophisticated analytics platforms. Market research indicates that 67% of potential buyers prioritize systems offering comprehensive data visualization and actionable insights over basic monitoring capabilities. Additionally, 54% of customers express strong interest in cloud-based diagnostic solutions that enable remote monitoring and analysis.
The market shows clear segmentation between high-end comprehensive systems for critical applications and more affordable solutions for general-purpose equipment. This bifurcation creates distinct price points and feature sets, with premium solutions commanding prices 3-5 times higher than entry-level alternatives while delivering enhanced analytical capabilities and integration options.
Industry analysts project that the LSA engine diagnostic systems market will continue to expand at a compound annual growth rate of 19.7% through 2027, outpacing the broader predictive maintenance market. This accelerated growth is attributed to increasing awareness of predictive maintenance benefits, technological advancements in sensor technology, and the growing integration of artificial intelligence in diagnostic algorithms.
Current State and Challenges in LSA Engine Diagnostics
The current landscape of LSA (Light Sport Aircraft) engine diagnostic systems reveals a sector in transition, with significant advancements in recent years yet facing substantial technical challenges. Traditional diagnostic methods primarily rely on scheduled maintenance protocols and basic on-board monitoring systems that capture limited parameters such as engine temperature, oil pressure, and RPM. These conventional approaches, while established, often fail to detect subtle performance degradations that precede major failures.
Global development of LSA engine diagnostics shows regional disparities, with North America and Europe leading innovation while emerging markets in Asia-Pacific are rapidly adopting and adapting technologies. The technical distribution reflects the concentration of aerospace engineering expertise, with notable clusters in the United States, Germany, and increasingly in China.
A primary technical challenge facing LSA engine diagnostics is the miniaturization of sensor systems without compromising reliability. Unlike commercial aviation, LSA platforms have severe space, weight, and power constraints that limit the deployment of comprehensive sensor arrays. Current systems struggle to achieve the necessary balance between diagnostic capability and these physical limitations.
Data integration presents another significant hurdle. Modern diagnostic approaches generate substantial volumes of heterogeneous data from multiple subsystems, yet lack standardized protocols for aggregation and analysis. This fragmentation impedes the development of holistic diagnostic frameworks capable of identifying complex fault patterns that manifest across different engine components.
The computational demands of real-time analytics constitute a further challenge. Processing diagnostic data onboard requires algorithms optimized for limited computing resources while maintaining accuracy. Current solutions often compromise by offloading analysis to ground systems, creating latency issues that diminish the value of predictive capabilities.
Regulatory frameworks have not kept pace with technological advancements, creating uncertainty around certification requirements for advanced diagnostic systems. This regulatory gap discourages investment in cutting-edge solutions and slows industry-wide adoption of predictive maintenance technologies.
Environmental factors introduce additional complexity, as LSA engines operate across diverse conditions that affect sensor performance and data interpretation. Current diagnostic systems struggle to account for these variables, leading to reliability issues in extreme environments and potentially misleading diagnostic outputs.
Despite these challenges, the field is witnessing promising developments in non-invasive monitoring techniques, machine learning applications for pattern recognition, and wireless transmission protocols that may overcome current limitations and enable truly predictive maintenance capabilities for LSA engines.
Global development of LSA engine diagnostics shows regional disparities, with North America and Europe leading innovation while emerging markets in Asia-Pacific are rapidly adopting and adapting technologies. The technical distribution reflects the concentration of aerospace engineering expertise, with notable clusters in the United States, Germany, and increasingly in China.
A primary technical challenge facing LSA engine diagnostics is the miniaturization of sensor systems without compromising reliability. Unlike commercial aviation, LSA platforms have severe space, weight, and power constraints that limit the deployment of comprehensive sensor arrays. Current systems struggle to achieve the necessary balance between diagnostic capability and these physical limitations.
Data integration presents another significant hurdle. Modern diagnostic approaches generate substantial volumes of heterogeneous data from multiple subsystems, yet lack standardized protocols for aggregation and analysis. This fragmentation impedes the development of holistic diagnostic frameworks capable of identifying complex fault patterns that manifest across different engine components.
The computational demands of real-time analytics constitute a further challenge. Processing diagnostic data onboard requires algorithms optimized for limited computing resources while maintaining accuracy. Current solutions often compromise by offloading analysis to ground systems, creating latency issues that diminish the value of predictive capabilities.
Regulatory frameworks have not kept pace with technological advancements, creating uncertainty around certification requirements for advanced diagnostic systems. This regulatory gap discourages investment in cutting-edge solutions and slows industry-wide adoption of predictive maintenance technologies.
Environmental factors introduce additional complexity, as LSA engines operate across diverse conditions that affect sensor performance and data interpretation. Current diagnostic systems struggle to account for these variables, leading to reliability issues in extreme environments and potentially misleading diagnostic outputs.
Despite these challenges, the field is witnessing promising developments in non-invasive monitoring techniques, machine learning applications for pattern recognition, and wireless transmission protocols that may overcome current limitations and enable truly predictive maintenance capabilities for LSA engines.
Current Predictive Maintenance Technical Solutions
01 Real-time monitoring and data collection for engine diagnostics
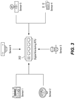
LSA engine diagnostic systems utilize real-time monitoring and data collection technologies to continuously track engine performance parameters. These systems employ sensors to gather operational data such as temperature, pressure, vibration, and emissions. The collected data is then processed to establish baseline performance metrics and detect deviations that might indicate potential issues. This continuous monitoring enables early detection of anomalies before they develop into serious problems, enhancing the effectiveness of predictive maintenance strategies.- Real-time monitoring and data collection for LSA engines: Systems that continuously monitor engine parameters and collect real-time data from LSA (Light Sport Aircraft) engines. These systems use sensors to track various engine metrics such as temperature, pressure, vibration, and fuel consumption. The collected data is then processed to establish baseline performance parameters and detect deviations that might indicate potential issues before they lead to failures.
- AI and machine learning algorithms for predictive analytics: Advanced diagnostic systems that employ artificial intelligence and machine learning algorithms to analyze engine performance data. These systems can identify patterns and anomalies that might be precursors to component failures. By learning from historical data, these algorithms improve their predictive accuracy over time, enabling more precise maintenance scheduling and reducing unnecessary servicing while preventing unexpected breakdowns.
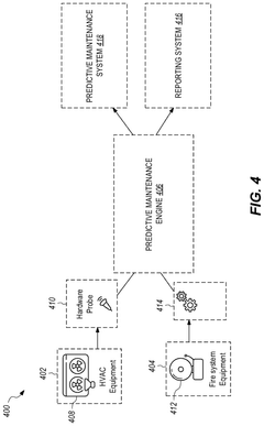
- Integrated maintenance management systems: Comprehensive platforms that integrate diagnostic data with maintenance scheduling and resource management. These systems not only detect potential issues but also automatically generate maintenance recommendations, schedule service appointments, and manage inventory of replacement parts. They provide a holistic approach to engine maintenance by connecting diagnostic information with actionable maintenance workflows.
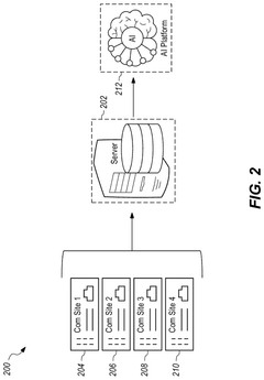
- Remote diagnostic capabilities and cloud-based solutions: Systems that enable remote monitoring and diagnostics of LSA engines through cloud-based platforms. These solutions allow maintenance personnel to access engine performance data and diagnostic information from anywhere, facilitating quicker response to potential issues. They also enable over-the-air updates to the diagnostic system itself, ensuring that the latest detection algorithms are always in use.
- Component-specific monitoring and failure prediction: Specialized diagnostic systems that focus on critical engine components such as fuel injectors, ignition systems, and bearings. These systems employ dedicated sensors and specialized algorithms to monitor the health of specific components known to be common failure points. By concentrating on high-risk components, these systems provide more detailed and accurate predictions for the most critical parts of LSA engines.
02 Machine learning algorithms for failure prediction
Advanced machine learning algorithms are integrated into LSA engine diagnostic systems to analyze historical and real-time data for predicting potential failures. These algorithms identify patterns and correlations in engine performance data that might indicate developing issues. By learning from past failure instances, the system can recognize early warning signs and predict when components are likely to fail. This predictive capability allows maintenance to be scheduled proactively, reducing unexpected downtime and optimizing maintenance resource allocation.Expand Specific Solutions03 Integrated diagnostic and maintenance scheduling systems
LSA engine diagnostic systems incorporate integrated platforms that combine diagnostic capabilities with maintenance scheduling functionalities. These systems automatically generate maintenance recommendations based on diagnostic findings and predict optimal maintenance timing. The integration ensures that maintenance activities are prioritized according to urgency and operational impact. Additionally, these systems can coordinate with inventory management to ensure necessary parts are available when maintenance is scheduled, minimizing logistical delays and improving overall maintenance efficiency.Expand Specific Solutions04 Remote monitoring and cloud-based diagnostic solutions
Cloud-based LSA engine diagnostic systems enable remote monitoring and analysis of engine performance data. These solutions allow experts to access diagnostic information from anywhere, facilitating timely decision-making and support. The cloud infrastructure provides scalable computing resources for processing large volumes of engine data and running complex diagnostic algorithms. Remote monitoring capabilities also enable fleet-wide analysis, identifying common issues across multiple engines and facilitating comparative performance assessment to improve maintenance strategies across entire operations.Expand Specific Solutions05 Adaptive diagnostic systems with self-learning capabilities
Advanced LSA engine diagnostic systems feature adaptive algorithms that continuously improve their diagnostic accuracy through self-learning mechanisms. These systems adjust their parameters based on feedback from maintenance outcomes, refining their predictive models over time. The adaptive nature allows the diagnostic system to account for engine aging, environmental factors, and operational changes that might affect performance patterns. This self-optimization capability ensures that diagnostic accuracy improves with usage, making the predictive maintenance increasingly effective throughout the engine's lifecycle.Expand Specific Solutions
Key Industry Players in LSA Diagnostic Systems
The LSA Engine Diagnostic Systems for Predictive Maintenance market is currently in a growth phase, with increasing adoption across industrial sectors. The global predictive maintenance market is expanding rapidly, estimated to reach $23 billion by 2024, with engine diagnostics representing a significant segment. Technologically, the field shows varying maturity levels, with established players like Cummins, Bosch, and Caterpillar leading with comprehensive diagnostic solutions, while newer entrants like Averroes.ai are introducing AI-driven innovations. ABB Group and Honeywell offer integrated industrial automation solutions incorporating diagnostic capabilities. Academic institutions including Beihang University and Nanjing Tech University are contributing research advancements, particularly in algorithm development. The competitive landscape features both traditional equipment manufacturers and specialized technology providers competing to deliver more accurate, real-time diagnostic capabilities.
Cummins, Inc.
Technical Solution: Cummins has developed an advanced LSA (Linear Signature Analysis) Engine Diagnostic System that integrates real-time sensor data with machine learning algorithms to predict maintenance needs before failures occur. Their system employs multiple sensor arrays throughout the engine to capture vibration signatures, temperature variations, and pressure fluctuations. The collected data undergoes spectral analysis to identify deviations from normal operating patterns. Cummins' proprietary algorithms can detect subtle changes in engine performance that indicate potential issues such as bearing wear, fuel injector problems, or valve train deterioration. The system incorporates historical maintenance records and fleet-wide performance data to continuously improve prediction accuracy. Their PrevenTech® platform connects these diagnostic capabilities to cloud infrastructure, enabling remote monitoring and integration with maintenance scheduling systems. This allows fleet operators to optimize maintenance intervals based on actual engine condition rather than fixed schedules.
Strengths: Extensive engine manufacturing expertise provides deep domain knowledge for accurate diagnostics; large installed base generates valuable training data for algorithms; comprehensive dealer network supports implementation. Weaknesses: System primarily optimized for Cummins engines; requires significant investment in sensor infrastructure; may have integration challenges with third-party fleet management systems.
SKF Lubrication Systems Germany AG
Technical Solution: SKF has developed a specialized LSA Engine Diagnostic System that leverages their extensive expertise in bearing technology and rotating equipment. Their solution focuses on detecting early signs of mechanical wear and lubrication issues through advanced vibration analysis. The system employs high-precision accelerometers and acoustic emission sensors to capture detailed vibration signatures from critical engine components. SKF's proprietary signal processing algorithms apply Linear Signature Analysis techniques to identify subtle changes in these patterns that indicate developing problems. Their diagnostic platform incorporates machine learning models trained on vast datasets from millions of bearing applications across industries. The system can distinguish between different failure modes such as misalignment, imbalance, bearing defects, and lubrication issues with high accuracy. SKF's Enlight Centre cloud platform integrates these diagnostics with maintenance management systems, providing actionable insights through intuitive dashboards. Their solution includes automated alert mechanisms that notify maintenance teams when specific thresholds are exceeded, with recommendations prioritized by severity and potential impact on operations.
Strengths: Unparalleled expertise in bearing technology provides deep insight into mechanical failure modes; extensive database of failure patterns enables accurate diagnostics; well-established presence in industrial maintenance. Weaknesses: Primary focus on mechanical components may provide less coverage of electronic or fuel system issues; requires integration with other systems for comprehensive engine diagnostics; implementation may require specialized expertise.
Core Diagnostic Algorithms and Sensor Technologies
Predictive engine maintenance apparatuses, methods, systems and techniques
PatentWO2021108349A1
Innovation
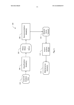
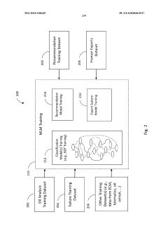
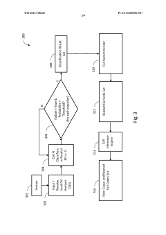
- A predictive engine maintenance system comprising a combination of classification models, recommendation models, and expert systems that utilize machine learning techniques and data from used oil analysis to determine fail code probabilities, identify related failure codes, and recommend maintenance actions, leveraging a web-enabled user interface for effective predictive maintenance.
Systems and methods for predictive maintenance of equipment
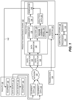
PatentPendingUS20250264378A1
Innovation
- A predictive maintenance system utilizing machine learning and correlation techniques to analyze equipment data, identify anomalies, and issue remedial actions, including a predictive maintenance engine with a data aggregator, correlator, analyzer, and remediator to enhance preventative maintenance by recommending proactive maintenance plans.
ROI Analysis of Predictive Maintenance Implementation
Implementing predictive maintenance systems for LSA engines represents a significant investment for organizations. This ROI analysis examines the financial implications and benefits of such implementations across various timeframes and operational contexts.
Initial implementation costs for LSA engine diagnostic systems typically range from $50,000 to $250,000 depending on fleet size and system sophistication. These costs encompass hardware sensors, software platforms, integration services, and staff training. Organizations should anticipate allocating 15-20% of the initial investment for annual maintenance and updates to ensure system effectiveness.
The financial benefits manifest through multiple channels. Unplanned downtime reduction represents the most substantial return, with organizations reporting 30-45% decreases in unexpected failures. For commercial fleets, each avoided day of downtime translates to approximately $3,000-$15,000 in preserved revenue per vehicle. Maintenance cost optimization delivers additional value through 20-25% reductions in parts consumption and 15-20% decreases in labor hours through more efficient scheduling.
Extended equipment lifecycle represents a significant long-term benefit, with LSA engine diagnostic systems extending operational life by 15-30% through optimized maintenance interventions. For a fleet of 100 vehicles, this translates to deferring replacement costs of $1.5-3 million over a five-year period.
Risk mitigation benefits, while more challenging to quantify, include reduced safety incidents, compliance violations, and associated penalties. Organizations implementing these systems report 25-40% reductions in safety-related incidents stemming from mechanical failures.
Typical ROI timelines show break-even points occurring between 12-24 months after implementation, with smaller operations trending toward the longer end of this spectrum. Organizations achieving full integration with operational systems report ROI rates of 150-300% over a five-year period.
Optimization strategies to maximize ROI include phased implementation approaches, prioritizing high-value assets, leveraging cloud-based solutions to reduce infrastructure costs, and establishing clear performance metrics before deployment. Organizations should also consider vendor partnerships offering performance-based pricing models that align costs with actual maintenance savings.
Initial implementation costs for LSA engine diagnostic systems typically range from $50,000 to $250,000 depending on fleet size and system sophistication. These costs encompass hardware sensors, software platforms, integration services, and staff training. Organizations should anticipate allocating 15-20% of the initial investment for annual maintenance and updates to ensure system effectiveness.
The financial benefits manifest through multiple channels. Unplanned downtime reduction represents the most substantial return, with organizations reporting 30-45% decreases in unexpected failures. For commercial fleets, each avoided day of downtime translates to approximately $3,000-$15,000 in preserved revenue per vehicle. Maintenance cost optimization delivers additional value through 20-25% reductions in parts consumption and 15-20% decreases in labor hours through more efficient scheduling.
Extended equipment lifecycle represents a significant long-term benefit, with LSA engine diagnostic systems extending operational life by 15-30% through optimized maintenance interventions. For a fleet of 100 vehicles, this translates to deferring replacement costs of $1.5-3 million over a five-year period.
Risk mitigation benefits, while more challenging to quantify, include reduced safety incidents, compliance violations, and associated penalties. Organizations implementing these systems report 25-40% reductions in safety-related incidents stemming from mechanical failures.
Typical ROI timelines show break-even points occurring between 12-24 months after implementation, with smaller operations trending toward the longer end of this spectrum. Organizations achieving full integration with operational systems report ROI rates of 150-300% over a five-year period.
Optimization strategies to maximize ROI include phased implementation approaches, prioritizing high-value assets, leveraging cloud-based solutions to reduce infrastructure costs, and establishing clear performance metrics before deployment. Organizations should also consider vendor partnerships offering performance-based pricing models that align costs with actual maintenance savings.
Data Security and Integration Considerations
The integration of LSA Engine Diagnostic Systems with predictive maintenance frameworks necessitates robust data security protocols and seamless integration strategies. As these systems collect and analyze vast amounts of sensitive engine performance data, protecting this information from unauthorized access becomes paramount. Organizations must implement end-to-end encryption for data transmission between sensors, diagnostic modules, and central analysis platforms, while ensuring compliance with industry standards such as ISO 27001 and automotive-specific regulations.
Access control mechanisms represent another critical security layer, requiring multi-factor authentication for system administrators and role-based access controls for maintenance personnel. These measures help prevent both external breaches and internal misuse of diagnostic data that could compromise competitive advantages or reveal proprietary engine technologies.
Data integrity verification systems must be incorporated throughout the diagnostic pipeline to detect any tampering or corruption. Checksums, digital signatures, and blockchain-based verification can ensure that maintenance decisions are based on authentic, unaltered engine performance data. This becomes especially crucial when diagnostic systems trigger automated maintenance responses or influence critical operational decisions.
Integration considerations extend beyond security to system compatibility and data standardization. LSA diagnostic systems must interface with existing enterprise asset management platforms, maintenance scheduling systems, and parts inventory databases. API-based integration approaches offer flexibility, while standardized data formats like AutoSAR for automotive applications facilitate seamless data exchange across the maintenance ecosystem.
Real-time data processing requirements introduce additional integration challenges. Predictive maintenance algorithms typically require continuous data streams from multiple engine sensors, necessitating high-bandwidth, low-latency communication channels. Edge computing architectures can mitigate these challenges by performing preliminary analysis near the data source before transmitting refined insights to central systems.
Data retention policies must balance analytical needs against storage constraints and regulatory requirements. While longer historical datasets improve predictive model accuracy, they also increase security exposure and compliance obligations. Implementing tiered storage architectures with appropriate anonymization for older data can address this tension while maintaining analytical capabilities.
Cloud-based deployment models offer scalability advantages but introduce additional security considerations regarding data sovereignty and third-party access. Hybrid architectures that maintain sensitive diagnostic data on-premises while leveraging cloud resources for non-sensitive processing represent a balanced approach for many industrial applications of LSA engine diagnostics.
Access control mechanisms represent another critical security layer, requiring multi-factor authentication for system administrators and role-based access controls for maintenance personnel. These measures help prevent both external breaches and internal misuse of diagnostic data that could compromise competitive advantages or reveal proprietary engine technologies.
Data integrity verification systems must be incorporated throughout the diagnostic pipeline to detect any tampering or corruption. Checksums, digital signatures, and blockchain-based verification can ensure that maintenance decisions are based on authentic, unaltered engine performance data. This becomes especially crucial when diagnostic systems trigger automated maintenance responses or influence critical operational decisions.
Integration considerations extend beyond security to system compatibility and data standardization. LSA diagnostic systems must interface with existing enterprise asset management platforms, maintenance scheduling systems, and parts inventory databases. API-based integration approaches offer flexibility, while standardized data formats like AutoSAR for automotive applications facilitate seamless data exchange across the maintenance ecosystem.
Real-time data processing requirements introduce additional integration challenges. Predictive maintenance algorithms typically require continuous data streams from multiple engine sensors, necessitating high-bandwidth, low-latency communication channels. Edge computing architectures can mitigate these challenges by performing preliminary analysis near the data source before transmitting refined insights to central systems.
Data retention policies must balance analytical needs against storage constraints and regulatory requirements. While longer historical datasets improve predictive model accuracy, they also increase security exposure and compliance obligations. Implementing tiered storage architectures with appropriate anonymization for older data can address this tension while maintaining analytical capabilities.
Cloud-based deployment models offer scalability advantages but introduce additional security considerations regarding data sovereignty and third-party access. Hybrid architectures that maintain sensitive diagnostic data on-premises while leveraging cloud resources for non-sensitive processing represent a balanced approach for many industrial applications of LSA engine diagnostics.
Unlock deeper insights with Patsnap Eureka Quick Research — get a full tech report to explore trends and direct your research. Try now!
Generate Your Research Report Instantly with AI Agent
Supercharge your innovation with Patsnap Eureka AI Agent Platform!







