Characterization of Heat Flow in Geological Samples with Calorimetry
AUG 5, 20259 MIN READ
 Generate Your Research Report Instantly with AI Agent 
 Patsnap Eureka helps you evaluate technical feasibility & market potential. 
Geothermal Calorimetry Background and Objectives
Geothermal calorimetry has emerged as a crucial technique in the field of geological sciences, particularly in the characterization of heat flow in geological samples. This method has evolved significantly over the past decades, driven by the increasing demand for accurate thermal property measurements in various geological applications, including geothermal energy exploration, oil and gas reservoir characterization, and climate change studies.
The development of geothermal calorimetry can be traced back to the early 20th century when scientists first began to explore the thermal properties of rocks and minerals. However, it was not until the 1960s and 1970s that significant advancements were made in instrumentation and methodology, allowing for more precise and reliable measurements of heat flow in geological samples.
One of the key drivers behind the evolution of geothermal calorimetry has been the growing interest in renewable energy sources, particularly geothermal energy. As the world seeks to transition away from fossil fuels, understanding the thermal properties of geological formations has become increasingly important for identifying and assessing potential geothermal resources.
The technological progression in this field has been marked by improvements in sensitivity, accuracy, and the ability to measure heat flow under various temperature and pressure conditions. Modern calorimetry techniques now allow for the characterization of heat flow in a wide range of geological samples, from small rock cores to large-scale formations.
The primary objectives of geothermal calorimetry in the context of characterizing heat flow in geological samples are multifaceted. Firstly, it aims to provide accurate measurements of thermal conductivity, specific heat capacity, and thermal diffusivity of rocks and minerals. These properties are essential for understanding the heat transfer processes within the Earth's crust and for modeling geothermal systems.
Secondly, geothermal calorimetry seeks to elucidate the relationships between thermal properties and other physical and chemical characteristics of geological samples. This includes investigating how factors such as mineral composition, porosity, and fluid content influence heat flow in different types of rocks and sediments.
Another critical objective is to develop standardized methodologies and protocols for geothermal calorimetry measurements. This is crucial for ensuring consistency and comparability of results across different studies and laboratories, which is essential for advancing our understanding of Earth's thermal processes on both local and global scales.
Furthermore, geothermal calorimetry aims to bridge the gap between laboratory measurements and field-scale applications. This involves developing techniques for upscaling laboratory results to predict heat flow in larger geological formations and integrating calorimetry data with other geophysical and geological information to create comprehensive models of subsurface thermal regimes.
The development of geothermal calorimetry can be traced back to the early 20th century when scientists first began to explore the thermal properties of rocks and minerals. However, it was not until the 1960s and 1970s that significant advancements were made in instrumentation and methodology, allowing for more precise and reliable measurements of heat flow in geological samples.
One of the key drivers behind the evolution of geothermal calorimetry has been the growing interest in renewable energy sources, particularly geothermal energy. As the world seeks to transition away from fossil fuels, understanding the thermal properties of geological formations has become increasingly important for identifying and assessing potential geothermal resources.
The technological progression in this field has been marked by improvements in sensitivity, accuracy, and the ability to measure heat flow under various temperature and pressure conditions. Modern calorimetry techniques now allow for the characterization of heat flow in a wide range of geological samples, from small rock cores to large-scale formations.
The primary objectives of geothermal calorimetry in the context of characterizing heat flow in geological samples are multifaceted. Firstly, it aims to provide accurate measurements of thermal conductivity, specific heat capacity, and thermal diffusivity of rocks and minerals. These properties are essential for understanding the heat transfer processes within the Earth's crust and for modeling geothermal systems.
Secondly, geothermal calorimetry seeks to elucidate the relationships between thermal properties and other physical and chemical characteristics of geological samples. This includes investigating how factors such as mineral composition, porosity, and fluid content influence heat flow in different types of rocks and sediments.
Another critical objective is to develop standardized methodologies and protocols for geothermal calorimetry measurements. This is crucial for ensuring consistency and comparability of results across different studies and laboratories, which is essential for advancing our understanding of Earth's thermal processes on both local and global scales.
Furthermore, geothermal calorimetry aims to bridge the gap between laboratory measurements and field-scale applications. This involves developing techniques for upscaling laboratory results to predict heat flow in larger geological formations and integrating calorimetry data with other geophysical and geological information to create comprehensive models of subsurface thermal regimes.
Market Analysis for Geothermal Energy Applications
The geothermal energy market has been experiencing significant growth in recent years, driven by the increasing demand for clean and renewable energy sources. As governments and industries worldwide focus on reducing carbon emissions and transitioning to sustainable energy solutions, geothermal energy has emerged as a promising alternative. The global geothermal power generation market was valued at approximately $4.6 billion in 2020 and is projected to reach $6.8 billion by 2026, growing at a CAGR of 5.0% during the forecast period.
The characterization of heat flow in geological samples using calorimetry plays a crucial role in the geothermal energy sector, as it provides essential data for assessing the potential of geothermal resources. This technology enables more accurate mapping of subsurface heat distribution, leading to improved site selection and resource estimation for geothermal power plants. The demand for advanced calorimetry techniques in geothermal exploration is expected to increase, driven by the need for more efficient and cost-effective methods of identifying and evaluating geothermal reservoirs.
Key market segments for geothermal energy applications include power generation, direct use, and ground source heat pumps. The power generation segment currently dominates the market, accounting for over 70% of the total installed capacity. However, direct use applications, such as district heating and industrial processes, are gaining traction due to their versatility and lower implementation costs.
Geographically, the Asia-Pacific region is expected to witness the highest growth rate in the geothermal energy market, with countries like Indonesia, Philippines, and New Zealand leading the way. North America and Europe also present significant opportunities, particularly in the development of enhanced geothermal systems (EGS) and the expansion of district heating networks.
The market for calorimetry equipment and services in geothermal applications is projected to grow in tandem with the overall geothermal energy market. Advancements in calorimetry technology, such as high-temperature and high-pressure capabilities, are expected to drive demand for new equipment and upgrades to existing systems. This trend is likely to create opportunities for equipment manufacturers, service providers, and research institutions specializing in geothermal heat flow characterization.
Challenges in the market include the high upfront costs associated with geothermal exploration and development, as well as the geological risks involved in drilling. However, ongoing research and development efforts, including improvements in heat flow characterization techniques, are expected to mitigate these challenges and further drive market growth in the coming years.
The characterization of heat flow in geological samples using calorimetry plays a crucial role in the geothermal energy sector, as it provides essential data for assessing the potential of geothermal resources. This technology enables more accurate mapping of subsurface heat distribution, leading to improved site selection and resource estimation for geothermal power plants. The demand for advanced calorimetry techniques in geothermal exploration is expected to increase, driven by the need for more efficient and cost-effective methods of identifying and evaluating geothermal reservoirs.
Key market segments for geothermal energy applications include power generation, direct use, and ground source heat pumps. The power generation segment currently dominates the market, accounting for over 70% of the total installed capacity. However, direct use applications, such as district heating and industrial processes, are gaining traction due to their versatility and lower implementation costs.
Geographically, the Asia-Pacific region is expected to witness the highest growth rate in the geothermal energy market, with countries like Indonesia, Philippines, and New Zealand leading the way. North America and Europe also present significant opportunities, particularly in the development of enhanced geothermal systems (EGS) and the expansion of district heating networks.
The market for calorimetry equipment and services in geothermal applications is projected to grow in tandem with the overall geothermal energy market. Advancements in calorimetry technology, such as high-temperature and high-pressure capabilities, are expected to drive demand for new equipment and upgrades to existing systems. This trend is likely to create opportunities for equipment manufacturers, service providers, and research institutions specializing in geothermal heat flow characterization.
Challenges in the market include the high upfront costs associated with geothermal exploration and development, as well as the geological risks involved in drilling. However, ongoing research and development efforts, including improvements in heat flow characterization techniques, are expected to mitigate these challenges and further drive market growth in the coming years.
Current Challenges in Heat Flow Characterization
The characterization of heat flow in geological samples using calorimetry faces several significant challenges in the current scientific landscape. One of the primary obstacles is the inherent heterogeneity of geological materials, which can lead to inconsistent heat flow patterns within a single sample. This variability makes it difficult to obtain accurate and representative measurements, as the heat flow can differ substantially across different regions of the same specimen.
Another major challenge lies in the precise control and measurement of temperature gradients within the sample during calorimetric analysis. Achieving uniform temperature distribution throughout the geological material is crucial for accurate heat flow characterization, yet it remains a complex task due to the diverse thermal properties of minerals and rocks. The presence of pores, fractures, and varying mineral compositions further complicates the establishment of stable thermal conditions.
The time-dependent nature of heat flow in geological samples also poses a significant hurdle. Many geological processes occur over extended periods, making it challenging to capture and interpret heat flow data that accurately reflects long-term thermal behavior. Researchers must develop innovative methods to extrapolate short-term measurements to geologically relevant timescales, which introduces additional uncertainties and potential sources of error.
Furthermore, the influence of external factors on calorimetric measurements presents ongoing challenges. Ambient temperature fluctuations, pressure changes, and even subtle variations in sample preparation can significantly impact the accuracy of heat flow characterization. Developing robust experimental protocols that minimize these external influences while maintaining the integrity of the geological sample remains an active area of research.
The limited availability of standardized reference materials for geological heat flow measurements also hinders progress in this field. Unlike other areas of materials science, the complex and varied nature of geological samples makes it difficult to establish universally accepted standards for calibration and validation of calorimetric techniques. This lack of standardization complicates the comparison of results between different studies and laboratories.
Lastly, the interpretation of calorimetric data in the context of geological processes presents its own set of challenges. Translating heat flow measurements into meaningful insights about the thermal history, composition, and behavior of geological formations requires sophisticated modeling and analysis techniques. Researchers must continually refine these interpretative frameworks to account for the complex interplay of factors that influence heat flow in geological materials.
Another major challenge lies in the precise control and measurement of temperature gradients within the sample during calorimetric analysis. Achieving uniform temperature distribution throughout the geological material is crucial for accurate heat flow characterization, yet it remains a complex task due to the diverse thermal properties of minerals and rocks. The presence of pores, fractures, and varying mineral compositions further complicates the establishment of stable thermal conditions.
The time-dependent nature of heat flow in geological samples also poses a significant hurdle. Many geological processes occur over extended periods, making it challenging to capture and interpret heat flow data that accurately reflects long-term thermal behavior. Researchers must develop innovative methods to extrapolate short-term measurements to geologically relevant timescales, which introduces additional uncertainties and potential sources of error.
Furthermore, the influence of external factors on calorimetric measurements presents ongoing challenges. Ambient temperature fluctuations, pressure changes, and even subtle variations in sample preparation can significantly impact the accuracy of heat flow characterization. Developing robust experimental protocols that minimize these external influences while maintaining the integrity of the geological sample remains an active area of research.
The limited availability of standardized reference materials for geological heat flow measurements also hinders progress in this field. Unlike other areas of materials science, the complex and varied nature of geological samples makes it difficult to establish universally accepted standards for calibration and validation of calorimetric techniques. This lack of standardization complicates the comparison of results between different studies and laboratories.
Lastly, the interpretation of calorimetric data in the context of geological processes presents its own set of challenges. Translating heat flow measurements into meaningful insights about the thermal history, composition, and behavior of geological formations requires sophisticated modeling and analysis techniques. Researchers must continually refine these interpretative frameworks to account for the complex interplay of factors that influence heat flow in geological materials.
Existing Methodologies for Heat Flow Measurement
- 01 Heat flow measurement techniques for geological samplesVarious techniques are employed to measure heat flow in geological samples, including thermal conductivity measurements, temperature gradient analysis, and heat flux determinations. These methods help in understanding the thermal properties of rock formations and subsurface heat transfer processes.- Heat flow measurement techniques in geological samples: Various techniques are employed to measure heat flow in geological samples, including thermal conductivity measurements, temperature gradient analysis, and borehole temperature logging. These methods help in understanding the thermal properties of rock formations and subsurface heat transfer processes.
- Geothermal exploration and resource assessment: Heat flow analysis is crucial in geothermal exploration and resource assessment. It involves studying the thermal characteristics of geological formations to identify potential geothermal reservoirs and estimate their energy potential. This information is used to guide geothermal energy development projects.
- Thermal modeling and simulation of geological processes: Advanced thermal modeling and simulation techniques are used to analyze heat flow in geological samples. These methods help in understanding the thermal evolution of sedimentary basins, metamorphic processes, and the thermal history of rock formations. Such models aid in predicting subsurface temperature distributions and heat transfer mechanisms.
- Heat flow analysis in hydrocarbon exploration: Heat flow analysis plays a significant role in hydrocarbon exploration. It helps in determining the thermal maturity of source rocks, predicting the timing of hydrocarbon generation, and assessing the potential for oil and gas accumulations. This information is crucial for identifying promising exploration targets and optimizing drilling strategies.
- Innovative tools and equipment for heat flow measurements: New tools and equipment are being developed to improve the accuracy and efficiency of heat flow measurements in geological samples. These innovations include advanced thermal probes, high-precision temperature sensors, and automated data collection systems. Such advancements enhance the quality and reliability of heat flow data in various geological settings.
 
- 02 Geothermal exploration using heat flow dataHeat flow data from geological samples is crucial for geothermal exploration. It helps in identifying potential geothermal resources, assessing reservoir characteristics, and optimizing the development of geothermal energy projects. Advanced modeling techniques are used to interpret heat flow data for resource evaluation.Expand Specific Solutions
- 03 Thermal property analysis of core samplesCore samples from geological formations are analyzed for their thermal properties, including thermal conductivity, heat capacity, and thermal diffusivity. These analyses provide valuable information about the heat flow characteristics of different rock types and help in understanding subsurface thermal regimes.Expand Specific Solutions
- 04 Heat flow modeling and simulationAdvanced computational methods are used to model and simulate heat flow in geological formations. These models incorporate data from geological samples and help in predicting thermal behavior, estimating temperature distributions, and assessing the impact of heat flow on resource potential and environmental factors.Expand Specific Solutions
- 05 Integration of heat flow data with other geological informationHeat flow data from geological samples is integrated with other geological and geophysical information to create comprehensive models of subsurface thermal conditions. This integration enhances the understanding of basin evolution, hydrocarbon maturation, and mineral resource formation processes.Expand Specific Solutions
Key Players in Geothermal Calorimetry Industry
The characterization of heat flow in geological samples using calorimetry is a niche but crucial field in geothermal energy and petroleum exploration. The market is in a growth phase, driven by increasing demand for renewable energy sources and more efficient fossil fuel extraction. The global market size for this technology is estimated to be in the hundreds of millions of dollars, with steady growth projected. Technologically, the field is moderately mature, with ongoing innovations. Key players like IFP Energies Nouvelles, China Petroleum & Chemical Corp., and PetroChina Co., Ltd. are investing in research and development to improve measurement accuracy and efficiency. Companies such as Halliburton Energy Services and Schlumberger Technologies are integrating these technologies into their broader service offerings for the energy sector.
IFP Energies Nouvelles
Technical Solution:  IFP Energies Nouvelles has developed advanced calorimetry techniques for characterizing heat flow in geological samples. Their approach combines high-precision differential scanning calorimetry (DSC) with thermogravimetric analysis (TGA) to provide comprehensive thermal characterization of rock samples[1]. This method allows for the simultaneous measurement of heat capacity, thermal conductivity, and phase transitions in geological materials. They have also implemented a novel sample preparation technique that minimizes thermal gradients within the sample, ensuring more accurate heat flow measurements[3]. Additionally, IFP Energies Nouvelles has developed custom software for data analysis and interpretation, which can correlate thermal properties with mineralogical composition and porosity[5].
Strengths: High precision measurements, comprehensive thermal characterization, and advanced data analysis capabilities. Weaknesses: Potentially time-consuming sample preparation and high equipment costs.
China Petroleum & Chemical Corp.
Technical Solution:  China Petroleum & Chemical Corp. (Sinopec) has implemented a multi-scale approach to characterize heat flow in geological samples. Their method combines micro-calorimetry for small-scale measurements with larger, custom-built calorimeters for bulk rock samples[2]. Sinopec has developed a proprietary algorithm that integrates data from different scales to create a comprehensive heat flow model for reservoir characterization. They have also pioneered the use of high-pressure calorimetry techniques to simulate in-situ conditions of deep geological formations[4]. This approach allows for more accurate predictions of thermal behavior in oil and gas reservoirs. Sinopec's research has led to the development of a database of thermal properties for various rock types found in Chinese oil fields, enhancing their exploration and production capabilities[6].
Strengths: Multi-scale approach, simulation of in-situ conditions, and extensive thermal property database. Weaknesses: Potential complexity in data integration and interpretation.
Innovative Calorimetry Approaches for Geology
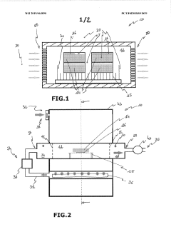
Calorimetry system and method with multiple heat flow determination 
PatentInactiveEP3688431A1
 Innovation 
- Integration of multiple heat flow determination devices (direct and indirect) in a single calorimetry system for improved accuracy and reliability.
- Capability to measure very low heat flows (less than 1W) generated by bodies such as food products.
- Implementation of a containment method for indirect heat flow determination, providing an additional measurement approach.
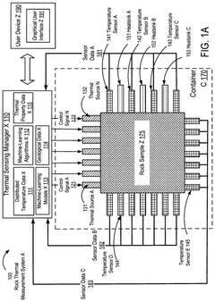
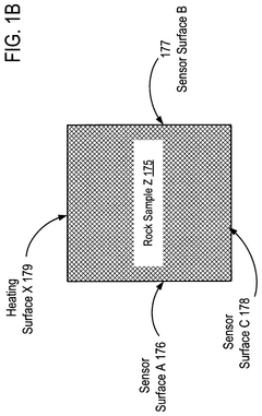
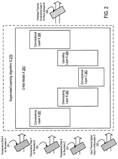
Method and system for predicting properties of rock samples using thermal sensing and machine learning 
PatentPendingUS20240361264A1
 Innovation 
- A system utilizing distributed temperature sensors and thermal sources, coupled with a machine-learning model, to determine thermal property data of rock samples by analyzing temperature changes induced by controlled heat emissions, enabling precise characterization of thermal conductivity and geological properties.
Environmental Impact of Geothermal Exploration
The environmental impact of geothermal exploration, particularly in the context of characterizing heat flow in geological samples with calorimetry, is a critical consideration for sustainable energy development. Geothermal exploration activities can have both direct and indirect effects on the surrounding ecosystem, necessitating careful assessment and mitigation strategies.
One of the primary environmental concerns associated with geothermal exploration is the potential for land disturbance. The process of drilling exploratory wells and conducting calorimetric measurements often requires the construction of access roads and drilling pads. This can lead to habitat fragmentation, soil erosion, and disruption of local flora and fauna. Additionally, the noise and vibrations generated during drilling operations may cause temporary displacement of wildlife in the vicinity.
Water resources are another key environmental factor affected by geothermal exploration. The extraction of geological samples for calorimetric analysis may involve the use of drilling fluids, which can potentially contaminate groundwater if not properly managed. Furthermore, the characterization of heat flow in these samples often requires significant water usage for cooling and testing purposes, potentially straining local water supplies in arid regions.
Air quality can also be impacted during geothermal exploration activities. The operation of drilling rigs and other heavy machinery typically relies on diesel fuel, resulting in emissions of greenhouse gases and particulate matter. While these emissions are generally localized and temporary, they contribute to the overall carbon footprint of the exploration process and may affect air quality in the immediate area.
The disposal of waste materials generated during the exploration and sample analysis phases presents another environmental challenge. Drill cuttings, spent drilling fluids, and other byproducts must be properly managed to prevent soil and water contamination. In some cases, these materials may contain naturally occurring radioactive materials (NORM) or heavy metals, requiring specialized handling and disposal procedures.
Despite these potential impacts, geothermal exploration, when conducted responsibly, can offer significant environmental benefits in the long term. By advancing our understanding of subsurface heat flow through calorimetric analysis of geological samples, we can improve the efficiency and sustainability of geothermal energy production. This, in turn, can contribute to the reduction of greenhouse gas emissions and dependence on fossil fuels.
To mitigate the environmental impacts of geothermal exploration, best practices and advanced technologies are continually being developed. These include the use of closed-loop drilling systems to minimize water consumption and prevent groundwater contamination, as well as the implementation of low-impact drilling techniques to reduce surface disturbance. Additionally, comprehensive environmental impact assessments and ongoing monitoring programs are essential to identify and address potential issues throughout the exploration process.
One of the primary environmental concerns associated with geothermal exploration is the potential for land disturbance. The process of drilling exploratory wells and conducting calorimetric measurements often requires the construction of access roads and drilling pads. This can lead to habitat fragmentation, soil erosion, and disruption of local flora and fauna. Additionally, the noise and vibrations generated during drilling operations may cause temporary displacement of wildlife in the vicinity.
Water resources are another key environmental factor affected by geothermal exploration. The extraction of geological samples for calorimetric analysis may involve the use of drilling fluids, which can potentially contaminate groundwater if not properly managed. Furthermore, the characterization of heat flow in these samples often requires significant water usage for cooling and testing purposes, potentially straining local water supplies in arid regions.
Air quality can also be impacted during geothermal exploration activities. The operation of drilling rigs and other heavy machinery typically relies on diesel fuel, resulting in emissions of greenhouse gases and particulate matter. While these emissions are generally localized and temporary, they contribute to the overall carbon footprint of the exploration process and may affect air quality in the immediate area.
The disposal of waste materials generated during the exploration and sample analysis phases presents another environmental challenge. Drill cuttings, spent drilling fluids, and other byproducts must be properly managed to prevent soil and water contamination. In some cases, these materials may contain naturally occurring radioactive materials (NORM) or heavy metals, requiring specialized handling and disposal procedures.
Despite these potential impacts, geothermal exploration, when conducted responsibly, can offer significant environmental benefits in the long term. By advancing our understanding of subsurface heat flow through calorimetric analysis of geological samples, we can improve the efficiency and sustainability of geothermal energy production. This, in turn, can contribute to the reduction of greenhouse gas emissions and dependence on fossil fuels.
To mitigate the environmental impacts of geothermal exploration, best practices and advanced technologies are continually being developed. These include the use of closed-loop drilling systems to minimize water consumption and prevent groundwater contamination, as well as the implementation of low-impact drilling techniques to reduce surface disturbance. Additionally, comprehensive environmental impact assessments and ongoing monitoring programs are essential to identify and address potential issues throughout the exploration process.
Data Interpretation and Modeling Techniques
Data interpretation and modeling techniques play a crucial role in the characterization of heat flow in geological samples using calorimetry. These techniques enable researchers to extract meaningful information from raw experimental data and develop accurate models to describe the thermal behavior of geological materials.
One of the primary approaches in data interpretation is the analysis of heat flow curves obtained from calorimetric measurements. These curves typically represent the rate of heat flow as a function of temperature or time. Researchers employ various mathematical methods to process and analyze these curves, including baseline correction, peak integration, and deconvolution techniques. These methods help isolate specific thermal events and quantify the associated heat flow.
Statistical analysis is another essential aspect of data interpretation in calorimetric studies of geological samples. Researchers use statistical tools to assess the reliability and reproducibility of their measurements, as well as to identify trends and correlations within the data. This may involve techniques such as regression analysis, analysis of variance (ANOVA), and principal component analysis (PCA) to extract meaningful patterns from complex datasets.
Modeling techniques are employed to develop mathematical representations of heat flow processes in geological samples. These models range from simple empirical equations to complex numerical simulations. One common approach is the use of kinetic models to describe the thermal decomposition or phase transitions of minerals. These models often incorporate Arrhenius-type equations to account for the temperature dependence of reaction rates.
Finite element analysis (FEA) and computational fluid dynamics (CFD) are advanced modeling techniques used to simulate heat transfer processes in geological samples. These methods allow researchers to account for complex geometries, heterogeneous material properties, and multiphysics phenomena. By solving the governing equations of heat transfer, these models can predict temperature distributions and heat flow patterns within samples under various conditions.
Machine learning and artificial intelligence techniques are increasingly being applied to the interpretation and modeling of calorimetric data from geological samples. These approaches can help identify complex relationships within large datasets and develop predictive models for heat flow behavior. Techniques such as neural networks, support vector machines, and random forests have shown promise in improving the accuracy and efficiency of data analysis in this field.
Visualization techniques play a crucial role in presenting and interpreting calorimetric data. Heat maps, 3D surface plots, and contour diagrams are commonly used to represent temperature distributions and heat flow patterns in geological samples. These visual representations aid in the identification of thermal anomalies and facilitate the communication of complex thermal phenomena to both experts and non-experts in the field.
One of the primary approaches in data interpretation is the analysis of heat flow curves obtained from calorimetric measurements. These curves typically represent the rate of heat flow as a function of temperature or time. Researchers employ various mathematical methods to process and analyze these curves, including baseline correction, peak integration, and deconvolution techniques. These methods help isolate specific thermal events and quantify the associated heat flow.
Statistical analysis is another essential aspect of data interpretation in calorimetric studies of geological samples. Researchers use statistical tools to assess the reliability and reproducibility of their measurements, as well as to identify trends and correlations within the data. This may involve techniques such as regression analysis, analysis of variance (ANOVA), and principal component analysis (PCA) to extract meaningful patterns from complex datasets.
Modeling techniques are employed to develop mathematical representations of heat flow processes in geological samples. These models range from simple empirical equations to complex numerical simulations. One common approach is the use of kinetic models to describe the thermal decomposition or phase transitions of minerals. These models often incorporate Arrhenius-type equations to account for the temperature dependence of reaction rates.
Finite element analysis (FEA) and computational fluid dynamics (CFD) are advanced modeling techniques used to simulate heat transfer processes in geological samples. These methods allow researchers to account for complex geometries, heterogeneous material properties, and multiphysics phenomena. By solving the governing equations of heat transfer, these models can predict temperature distributions and heat flow patterns within samples under various conditions.
Machine learning and artificial intelligence techniques are increasingly being applied to the interpretation and modeling of calorimetric data from geological samples. These approaches can help identify complex relationships within large datasets and develop predictive models for heat flow behavior. Techniques such as neural networks, support vector machines, and random forests have shown promise in improving the accuracy and efficiency of data analysis in this field.
Visualization techniques play a crucial role in presenting and interpreting calorimetric data. Heat maps, 3D surface plots, and contour diagrams are commonly used to represent temperature distributions and heat flow patterns in geological samples. These visual representations aid in the identification of thermal anomalies and facilitate the communication of complex thermal phenomena to both experts and non-experts in the field.
 Unlock deeper insights with  Patsnap Eureka Quick Research — get a full tech report to explore trends and direct your research. Try now! 
 Generate Your Research Report Instantly with AI Agent 
 Supercharge your innovation with Patsnap Eureka AI Agent Platform! 





