How Calorimetry Improves Understanding of Cellular Thermodynamics
AUG 5, 20259 MIN READ
 Generate Your Research Report Instantly with AI Agent 
 Patsnap Eureka helps you evaluate technical feasibility & market potential. 
Calorimetry in Cell Thermodynamics: Background and Objectives
Calorimetry has emerged as a powerful tool in the study of cellular thermodynamics, offering unprecedented insights into the energy dynamics of living systems. The field of cellular thermodynamics has evolved significantly over the past century, with calorimetry playing an increasingly central role in unraveling the complex energetic processes that underpin cellular function.
The development of calorimetry techniques for biological applications can be traced back to the early 20th century, with pioneering work by researchers such as A.V. Hill on muscle thermodynamics. However, it was not until the latter half of the century that advances in technology enabled the application of calorimetry to single cells and subcellular components.
The primary objective of applying calorimetry to cellular thermodynamics is to quantify and characterize the heat flows associated with various cellular processes. This includes metabolic reactions, protein folding, membrane transport, and signal transduction pathways. By measuring these heat flows with high precision, researchers aim to construct a comprehensive energetic map of cellular activities.
One of the key technological trends in this field has been the miniaturization of calorimetric devices, allowing for measurements at increasingly smaller scales. This has culminated in the development of nanocalorimetry, which enables the study of heat production in individual cells or even subcellular organelles.
Another significant trend is the integration of calorimetry with other analytical techniques, such as microscopy and spectroscopy. This multi-modal approach provides a more holistic view of cellular processes, correlating energy changes with structural and functional alterations.
The application of calorimetry to cellular thermodynamics has far-reaching implications for various fields of biology and medicine. In basic research, it offers new perspectives on cellular metabolism, adaptation, and stress responses. In the pharmaceutical industry, calorimetric techniques are being employed to study drug-target interactions and assess the efficacy of potential therapeutics at the cellular level.
Looking ahead, the field is poised for further advancements, with emerging technologies such as quantum sensors promising even greater sensitivity and resolution in thermal measurements. The integration of artificial intelligence and machine learning algorithms is also expected to enhance data analysis and interpretation, potentially uncovering novel patterns and relationships in cellular energetics.
As we delve deeper into the intricate world of cellular thermodynamics, calorimetry continues to evolve as an indispensable tool, pushing the boundaries of our understanding of life's fundamental energetic principles. The ongoing refinement of calorimetric techniques and their application to increasingly complex biological systems holds the promise of unlocking new insights into cellular function, disease mechanisms, and potential therapeutic interventions.
The development of calorimetry techniques for biological applications can be traced back to the early 20th century, with pioneering work by researchers such as A.V. Hill on muscle thermodynamics. However, it was not until the latter half of the century that advances in technology enabled the application of calorimetry to single cells and subcellular components.
The primary objective of applying calorimetry to cellular thermodynamics is to quantify and characterize the heat flows associated with various cellular processes. This includes metabolic reactions, protein folding, membrane transport, and signal transduction pathways. By measuring these heat flows with high precision, researchers aim to construct a comprehensive energetic map of cellular activities.
One of the key technological trends in this field has been the miniaturization of calorimetric devices, allowing for measurements at increasingly smaller scales. This has culminated in the development of nanocalorimetry, which enables the study of heat production in individual cells or even subcellular organelles.
Another significant trend is the integration of calorimetry with other analytical techniques, such as microscopy and spectroscopy. This multi-modal approach provides a more holistic view of cellular processes, correlating energy changes with structural and functional alterations.
The application of calorimetry to cellular thermodynamics has far-reaching implications for various fields of biology and medicine. In basic research, it offers new perspectives on cellular metabolism, adaptation, and stress responses. In the pharmaceutical industry, calorimetric techniques are being employed to study drug-target interactions and assess the efficacy of potential therapeutics at the cellular level.
Looking ahead, the field is poised for further advancements, with emerging technologies such as quantum sensors promising even greater sensitivity and resolution in thermal measurements. The integration of artificial intelligence and machine learning algorithms is also expected to enhance data analysis and interpretation, potentially uncovering novel patterns and relationships in cellular energetics.
As we delve deeper into the intricate world of cellular thermodynamics, calorimetry continues to evolve as an indispensable tool, pushing the boundaries of our understanding of life's fundamental energetic principles. The ongoing refinement of calorimetric techniques and their application to increasingly complex biological systems holds the promise of unlocking new insights into cellular function, disease mechanisms, and potential therapeutic interventions.
Market Demand for Cellular Thermodynamic Analysis
The market demand for cellular thermodynamic analysis has been steadily growing in recent years, driven by advancements in biotechnology, pharmaceutical research, and the increasing focus on personalized medicine. This demand is primarily fueled by the need for more precise and comprehensive understanding of cellular processes, which is crucial for drug development, disease research, and optimization of biomanufacturing processes.
In the pharmaceutical industry, there is a significant interest in utilizing cellular thermodynamic analysis to improve drug discovery and development processes. By understanding the thermodynamic properties of cells and their interactions with potential drug candidates, researchers can better predict drug efficacy and toxicity, potentially reducing the time and cost associated with bringing new drugs to market. This application alone represents a substantial market opportunity, given the global pharmaceutical R&D spending, which continues to grow year over year.
The field of oncology research has also emerged as a key driver for cellular thermodynamic analysis. Cancer cells often exhibit altered metabolic profiles and energy utilization patterns compared to normal cells. Calorimetry techniques provide valuable insights into these differences, potentially leading to new therapeutic targets and strategies for cancer treatment. As cancer remains a leading cause of death worldwide, the demand for innovative research tools in this area is expected to remain strong.
Biotechnology companies focusing on cell-based therapies and regenerative medicine are another significant market segment for cellular thermodynamic analysis. These companies require detailed understanding of cellular behavior and metabolism to optimize cell culture conditions, improve cell viability, and enhance the overall efficacy of their products. As the cell therapy market continues to expand, the demand for advanced analytical tools like calorimetry is likely to grow in parallel.
Academic research institutions represent a stable and growing market for cellular thermodynamic analysis tools. With increasing research funding in life sciences and a growing emphasis on interdisciplinary approaches, there is a rising interest in applying physical principles, including thermodynamics, to biological systems. This trend is expected to drive demand for calorimetry instruments and related services in academic settings.
The biomanufacturing sector, particularly in the production of biologics and vaccines, is another area where cellular thermodynamic analysis is gaining traction. Understanding the thermodynamics of cellular processes can lead to optimized production conditions, improved yield, and better quality control. As the global demand for biologics and vaccines continues to rise, especially in light of recent global health challenges, this sector is poised to become a significant driver of market growth for cellular thermodynamic analysis tools and services.
In the pharmaceutical industry, there is a significant interest in utilizing cellular thermodynamic analysis to improve drug discovery and development processes. By understanding the thermodynamic properties of cells and their interactions with potential drug candidates, researchers can better predict drug efficacy and toxicity, potentially reducing the time and cost associated with bringing new drugs to market. This application alone represents a substantial market opportunity, given the global pharmaceutical R&D spending, which continues to grow year over year.
The field of oncology research has also emerged as a key driver for cellular thermodynamic analysis. Cancer cells often exhibit altered metabolic profiles and energy utilization patterns compared to normal cells. Calorimetry techniques provide valuable insights into these differences, potentially leading to new therapeutic targets and strategies for cancer treatment. As cancer remains a leading cause of death worldwide, the demand for innovative research tools in this area is expected to remain strong.
Biotechnology companies focusing on cell-based therapies and regenerative medicine are another significant market segment for cellular thermodynamic analysis. These companies require detailed understanding of cellular behavior and metabolism to optimize cell culture conditions, improve cell viability, and enhance the overall efficacy of their products. As the cell therapy market continues to expand, the demand for advanced analytical tools like calorimetry is likely to grow in parallel.
Academic research institutions represent a stable and growing market for cellular thermodynamic analysis tools. With increasing research funding in life sciences and a growing emphasis on interdisciplinary approaches, there is a rising interest in applying physical principles, including thermodynamics, to biological systems. This trend is expected to drive demand for calorimetry instruments and related services in academic settings.
The biomanufacturing sector, particularly in the production of biologics and vaccines, is another area where cellular thermodynamic analysis is gaining traction. Understanding the thermodynamics of cellular processes can lead to optimized production conditions, improved yield, and better quality control. As the global demand for biologics and vaccines continues to rise, especially in light of recent global health challenges, this sector is poised to become a significant driver of market growth for cellular thermodynamic analysis tools and services.
Current Challenges in Cellular Calorimetry
Cellular calorimetry, while a powerful tool for understanding cellular thermodynamics, faces several significant challenges that limit its widespread application and reliability. One of the primary obstacles is the inherent sensitivity required to detect the minute heat changes associated with cellular processes. The heat produced by individual cells or small populations is often in the nanowatt range, necessitating extremely sensitive measurement techniques and sophisticated instrumentation.
Another major challenge lies in the isolation of specific cellular processes for thermodynamic analysis. Cells are complex systems with numerous simultaneous reactions and processes occurring at any given time. Distinguishing the heat signature of a particular pathway or reaction from background cellular activity remains a formidable task, often requiring careful experimental design and data interpretation.
The temporal resolution of calorimetric measurements also presents a significant hurdle. Many cellular processes occur on rapid timescales, ranging from milliseconds to seconds. Current calorimetric techniques often struggle to capture these fast events with sufficient temporal resolution, potentially missing critical thermodynamic information.
Environmental control during measurements is another crucial challenge. Cellular metabolism is highly sensitive to temperature, pH, and nutrient availability. Maintaining a stable and physiologically relevant environment within the calorimeter while simultaneously conducting accurate heat measurements is technically demanding and can introduce experimental artifacts if not properly managed.
Sample preparation and handling pose additional difficulties. The process of isolating cells or tissues and transferring them to the calorimeter can induce stress responses that alter cellular metabolism, potentially skewing the thermodynamic data. Moreover, ensuring a consistent and representative sample across multiple measurements is essential for reproducibility but can be challenging to achieve.
Data interpretation and analysis represent yet another set of challenges in cellular calorimetry. The complex nature of cellular systems often results in convoluted heat signals that require sophisticated mathematical models and algorithms to deconvolute. Developing and validating these analytical tools is an ongoing challenge in the field.
Lastly, the integration of calorimetric data with other cellular and molecular biology techniques remains a significant hurdle. Correlating heat measurements with specific molecular events or pathways often requires complementary experiments and data integration strategies, which are not always straightforward to implement or interpret.
Another major challenge lies in the isolation of specific cellular processes for thermodynamic analysis. Cells are complex systems with numerous simultaneous reactions and processes occurring at any given time. Distinguishing the heat signature of a particular pathway or reaction from background cellular activity remains a formidable task, often requiring careful experimental design and data interpretation.
The temporal resolution of calorimetric measurements also presents a significant hurdle. Many cellular processes occur on rapid timescales, ranging from milliseconds to seconds. Current calorimetric techniques often struggle to capture these fast events with sufficient temporal resolution, potentially missing critical thermodynamic information.
Environmental control during measurements is another crucial challenge. Cellular metabolism is highly sensitive to temperature, pH, and nutrient availability. Maintaining a stable and physiologically relevant environment within the calorimeter while simultaneously conducting accurate heat measurements is technically demanding and can introduce experimental artifacts if not properly managed.
Sample preparation and handling pose additional difficulties. The process of isolating cells or tissues and transferring them to the calorimeter can induce stress responses that alter cellular metabolism, potentially skewing the thermodynamic data. Moreover, ensuring a consistent and representative sample across multiple measurements is essential for reproducibility but can be challenging to achieve.
Data interpretation and analysis represent yet another set of challenges in cellular calorimetry. The complex nature of cellular systems often results in convoluted heat signals that require sophisticated mathematical models and algorithms to deconvolute. Developing and validating these analytical tools is an ongoing challenge in the field.
Lastly, the integration of calorimetric data with other cellular and molecular biology techniques remains a significant hurdle. Correlating heat measurements with specific molecular events or pathways often requires complementary experiments and data integration strategies, which are not always straightforward to implement or interpret.
State-of-the-Art Calorimetric Methods for Cell Studies
- 01 Calorimetry measurement techniquesVarious techniques are employed in calorimetry to measure heat transfer and energy changes in chemical or physical processes. These methods may include differential scanning calorimetry, isothermal titration calorimetry, and bomb calorimetry. Advanced measurement systems often incorporate precise temperature control and data acquisition to ensure accurate results.- Calorimetry measurement techniques: Various techniques are employed in calorimetry to measure heat changes in chemical or physical processes. These methods include differential scanning calorimetry, isothermal titration calorimetry, and bomb calorimetry. Each technique is suited for specific applications and provides valuable data on thermodynamic properties of materials.
- Data analysis and interpretation in calorimetry: Advanced data analysis methods are crucial for interpreting calorimetric measurements. This includes software algorithms for peak detection, baseline correction, and thermodynamic parameter calculation. Machine learning and artificial intelligence techniques are increasingly used to enhance data interpretation and predict material properties.
- Applications of calorimetry in various fields: Calorimetry finds applications in diverse fields such as materials science, pharmaceuticals, and biochemistry. It is used for studying phase transitions, drug-protein interactions, and metabolic processes. In industry, calorimetry plays a crucial role in quality control and process optimization.
- Miniaturization and automation of calorimetric devices: Recent advancements focus on developing miniaturized and automated calorimetric devices. These innovations aim to increase throughput, reduce sample size requirements, and improve measurement precision. Microfluidic calorimetry and lab-on-a-chip devices are emerging technologies in this area.
- Integration of calorimetry with other analytical techniques: Combining calorimetry with complementary analytical techniques enhances the depth of information obtained. This integration includes coupling calorimetry with spectroscopy, chromatography, or microscopy. Such hyphenated techniques provide comprehensive insights into material properties and reaction mechanisms.
 
- 02 Calorimetry data analysis and interpretationSophisticated algorithms and software tools are used to analyze and interpret calorimetric data. These may involve machine learning techniques, statistical analysis, and pattern recognition to extract meaningful information from raw calorimetry measurements. Such analysis can help in understanding complex thermal behaviors and material properties.Expand Specific Solutions
- 03 Applications of calorimetry in various fieldsCalorimetry finds applications in diverse fields such as materials science, pharmaceuticals, food industry, and biochemistry. It is used for studying phase transitions, determining reaction enthalpies, assessing drug-target interactions, and evaluating food quality and safety. The versatility of calorimetric techniques makes them valuable tools in research and development across multiple disciplines.Expand Specific Solutions
- 04 Miniaturization and integration of calorimetric devicesAdvancements in microfabrication and nanotechnology have led to the development of miniaturized calorimetric devices. These compact systems often integrate multiple functionalities, such as sample handling, temperature control, and data processing, into a single chip or portable device. Such innovations enhance the accessibility and applicability of calorimetry in various settings.Expand Specific Solutions
- 05 Calorimetry in energy and environmental studiesCalorimetry plays a crucial role in energy-related research and environmental studies. It is used to assess the efficiency of energy storage materials, evaluate the thermal properties of building materials, and study the heat generation in batteries and fuel cells. Additionally, calorimetric techniques contribute to understanding climate change effects and developing sustainable technologies.Expand Specific Solutions
Key Players in Cellular Calorimetry Instrumentation
The field of cellular thermodynamics, as explored through calorimetry, is in a growth phase with increasing market potential. The technology's maturity is advancing, driven by research from institutions like Harvard, Northeastern University, and The Scripps Research Institute. Companies such as Palo Alto Research Center and Xerox are contributing to the development of innovative calorimetric techniques. The market is expanding as the importance of understanding cellular energy processes becomes more apparent in fields like drug discovery and metabolic research. While still evolving, the technology is gaining traction in both academic and industrial settings, with a diverse range of players contributing to its advancement.
President & Fellows of Harvard College
Technical Solution:  Harvard College has developed advanced calorimetry techniques to improve understanding of cellular thermodynamics. Their approach utilizes high-sensitivity nanocalorimetry to measure heat production in single cells with unprecedented precision[1]. This method allows for real-time monitoring of metabolic processes and thermal events at the cellular level. The technology incorporates microfluidic devices with integrated temperature sensors, enabling the detection of minute temperature changes associated with cellular activities[2]. Harvard's research has also focused on developing mathematical models to interpret calorimetric data in the context of cellular energetics, providing insights into how cells regulate their energy balance and respond to environmental stimuli[3].
Strengths: Cutting-edge nanocalorimetry technology, high sensitivity for single-cell measurements, integration with microfluidics. Weaknesses: Complexity of data interpretation, potential limitations in scaling up for high-throughput applications.
Northeastern University
Technical Solution:  Northeastern University has made significant contributions to calorimetry in cellular thermodynamics through the development of novel biosensing platforms. Their approach combines calorimetry with other analytical techniques, such as electrochemistry and spectroscopy, to provide a comprehensive view of cellular metabolic processes[4]. The university has pioneered the use of nanomaterial-based calorimetric sensors that can detect and quantify specific biochemical reactions within cells[5]. These sensors offer high specificity and sensitivity, allowing researchers to measure the heat generated by individual enzymatic reactions or signaling pathways. Northeastern's work also extends to the application of machine learning algorithms for analyzing complex calorimetric data, enabling the identification of subtle thermal signatures associated with different cellular states or diseases[6].
Strengths: Multidisciplinary approach combining calorimetry with other techniques, innovative nanomaterial-based sensors, advanced data analysis methods. Weaknesses: Potential challenges in sensor stability and reproducibility, need for specialized expertise in multiple fields.
Breakthrough Calorimetric Technologies for Cellular Research
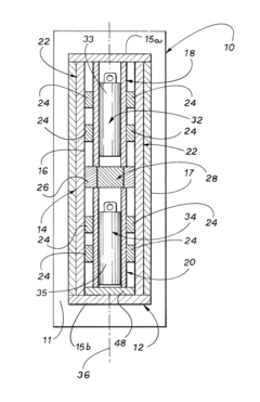
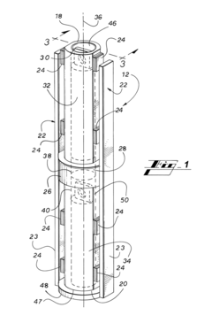
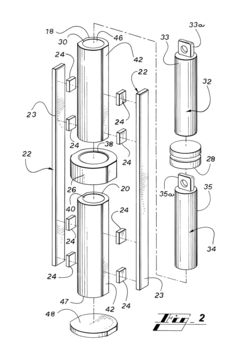
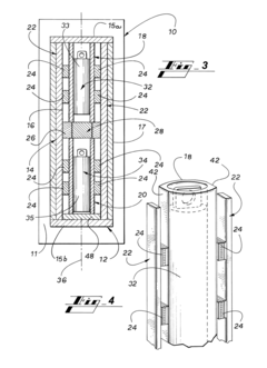
Top loaded twin cell calorimeter system with removable reference 
PatentInactiveUS8147133B2
 Innovation 
- A measured system for a calorimeter that includes a cell with a sample holder, a reference holder, and a thermally insulating separator, along with heat sensing modules, allowing for precise thermal characterization by minimizing heat exchange between the sample and reference cells through a longitudinally arranged configuration and the use of thermal insulation.
Use of physical barriers to minimize evaporative heat losses 
PatentActiveUS20060159585A1
 Innovation 
- An anti-evaporation device is integrated with the detection system to enclose the drop-merging region, using a planar member with extending members to form a seal and limit evaporation, allowing for precise measurement of signals from merged drops.
Regulatory Considerations for Calorimetric Instruments
Calorimetric instruments used in cellular thermodynamics research are subject to various regulatory considerations due to their application in sensitive biological studies. These instruments must comply with Good Laboratory Practice (GLP) guidelines, which ensure the quality and integrity of non-clinical laboratory studies. GLP compliance involves maintaining detailed records of instrument calibration, validation, and maintenance procedures.
In the United States, the Food and Drug Administration (FDA) oversees the regulation of calorimetric instruments used in drug development and biomedical research. Manufacturers must adhere to FDA's Quality System Regulation (QSR) for medical devices, which includes requirements for design controls, manufacturing processes, and post-market surveillance. The European Union's Medical Device Regulation (MDR) imposes similar requirements for calorimetric instruments used in clinical settings or for diagnostic purposes.
Calorimetric instruments used in academic research may fall under the purview of institutional biosafety committees, which ensure compliance with national and international biosafety standards. These committees often require risk assessments and safety protocols for experiments involving potentially hazardous biological materials.
Data integrity is a critical regulatory concern for calorimetric instruments. Manufacturers must implement measures to prevent data manipulation and ensure the traceability of results. This often involves the use of secure, auditable data management systems that comply with 21 CFR Part 11 regulations on electronic records and signatures.
Environmental regulations also apply to calorimetric instruments, particularly those using hazardous materials or generating potentially harmful waste. Proper disposal protocols must be established in accordance with local and national environmental protection laws.
Standardization bodies, such as the International Organization for Standardization (ISO), provide guidelines for the performance and calibration of calorimetric instruments. Adherence to these standards is often necessary for regulatory compliance and ensures the comparability of results across different laboratories and studies.
As calorimetric techniques advance and find new applications in cellular thermodynamics research, regulatory frameworks continue to evolve. Manufacturers and researchers must stay informed about emerging regulations and adapt their practices accordingly to ensure compliance and maintain the validity of their scientific findings.
In the United States, the Food and Drug Administration (FDA) oversees the regulation of calorimetric instruments used in drug development and biomedical research. Manufacturers must adhere to FDA's Quality System Regulation (QSR) for medical devices, which includes requirements for design controls, manufacturing processes, and post-market surveillance. The European Union's Medical Device Regulation (MDR) imposes similar requirements for calorimetric instruments used in clinical settings or for diagnostic purposes.
Calorimetric instruments used in academic research may fall under the purview of institutional biosafety committees, which ensure compliance with national and international biosafety standards. These committees often require risk assessments and safety protocols for experiments involving potentially hazardous biological materials.
Data integrity is a critical regulatory concern for calorimetric instruments. Manufacturers must implement measures to prevent data manipulation and ensure the traceability of results. This often involves the use of secure, auditable data management systems that comply with 21 CFR Part 11 regulations on electronic records and signatures.
Environmental regulations also apply to calorimetric instruments, particularly those using hazardous materials or generating potentially harmful waste. Proper disposal protocols must be established in accordance with local and national environmental protection laws.
Standardization bodies, such as the International Organization for Standardization (ISO), provide guidelines for the performance and calibration of calorimetric instruments. Adherence to these standards is often necessary for regulatory compliance and ensures the comparability of results across different laboratories and studies.
As calorimetric techniques advance and find new applications in cellular thermodynamics research, regulatory frameworks continue to evolve. Manufacturers and researchers must stay informed about emerging regulations and adapt their practices accordingly to ensure compliance and maintain the validity of their scientific findings.
Interdisciplinary Applications of Cellular Calorimetry
Cellular calorimetry has emerged as a powerful tool with diverse applications across multiple scientific disciplines. Its ability to provide precise measurements of heat production in living cells has opened new avenues for research in fields beyond traditional biology and biochemistry.
In medicine, cellular calorimetry is revolutionizing drug discovery and development processes. By measuring the metabolic responses of cells to potential therapeutic compounds, researchers can quickly assess drug efficacy and toxicity. This approach allows for more efficient screening of drug candidates, potentially accelerating the path to clinical trials and reducing development costs.
Environmental science has also benefited from cellular calorimetry techniques. Scientists are using this technology to study the metabolic activities of microorganisms in various ecosystems. This information is crucial for understanding biogeochemical cycles and the impact of environmental changes on microbial communities, which play vital roles in nutrient cycling and ecosystem health.
In the field of biotechnology, cellular calorimetry is enhancing the optimization of bioprocesses. By monitoring the heat production of microorganisms during fermentation or other industrial processes, engineers can fine-tune conditions for maximum efficiency and product yield. This application has significant implications for the production of biofuels, pharmaceuticals, and other bio-based products.
Nanotechnology researchers are leveraging cellular calorimetry to investigate the interactions between nanoparticles and living cells. This approach provides valuable insights into the potential toxicity and biocompatibility of nanomaterials, which is essential for developing safe and effective nanomedical applications.
In the realm of agriculture, cellular calorimetry is being applied to study plant metabolism and stress responses. This information is valuable for developing more resilient crop varieties and optimizing growing conditions. By understanding the energetics of plant cells under various environmental stresses, scientists can work towards improving crop yields and food security.
The field of synthetic biology is also benefiting from cellular calorimetry. As researchers design and construct artificial biological systems, calorimetric measurements provide crucial data on the energetic costs and efficiencies of these engineered organisms. This information guides the optimization of synthetic pathways and helps in the creation of more robust and efficient biological systems for various applications.
In conclusion, the interdisciplinary applications of cellular calorimetry demonstrate its versatility as a research tool. From medicine to environmental science, biotechnology to agriculture, this technique is providing valuable insights across a wide range of scientific disciplines, contributing to advancements that have far-reaching impacts on society and the environment.
In medicine, cellular calorimetry is revolutionizing drug discovery and development processes. By measuring the metabolic responses of cells to potential therapeutic compounds, researchers can quickly assess drug efficacy and toxicity. This approach allows for more efficient screening of drug candidates, potentially accelerating the path to clinical trials and reducing development costs.
Environmental science has also benefited from cellular calorimetry techniques. Scientists are using this technology to study the metabolic activities of microorganisms in various ecosystems. This information is crucial for understanding biogeochemical cycles and the impact of environmental changes on microbial communities, which play vital roles in nutrient cycling and ecosystem health.
In the field of biotechnology, cellular calorimetry is enhancing the optimization of bioprocesses. By monitoring the heat production of microorganisms during fermentation or other industrial processes, engineers can fine-tune conditions for maximum efficiency and product yield. This application has significant implications for the production of biofuels, pharmaceuticals, and other bio-based products.
Nanotechnology researchers are leveraging cellular calorimetry to investigate the interactions between nanoparticles and living cells. This approach provides valuable insights into the potential toxicity and biocompatibility of nanomaterials, which is essential for developing safe and effective nanomedical applications.
In the realm of agriculture, cellular calorimetry is being applied to study plant metabolism and stress responses. This information is valuable for developing more resilient crop varieties and optimizing growing conditions. By understanding the energetics of plant cells under various environmental stresses, scientists can work towards improving crop yields and food security.
The field of synthetic biology is also benefiting from cellular calorimetry. As researchers design and construct artificial biological systems, calorimetric measurements provide crucial data on the energetic costs and efficiencies of these engineered organisms. This information guides the optimization of synthetic pathways and helps in the creation of more robust and efficient biological systems for various applications.
In conclusion, the interdisciplinary applications of cellular calorimetry demonstrate its versatility as a research tool. From medicine to environmental science, biotechnology to agriculture, this technique is providing valuable insights across a wide range of scientific disciplines, contributing to advancements that have far-reaching impacts on society and the environment.
 Unlock deeper insights with  Patsnap Eureka Quick Research — get a full tech report to explore trends and direct your research. Try now! 
 Generate Your Research Report Instantly with AI Agent 
 Supercharge your innovation with Patsnap Eureka AI Agent Platform! 







