Comparing Manual vs Automated Column Chromatography Systems — Throughput, Cost and Data Quality
AUG 21, 20259 MIN READ
 Generate Your Research Report Instantly with AI Agent 
 Patsnap Eureka helps you evaluate technical feasibility & market potential. 
Chromatography Evolution and Research Objectives
Column chromatography has evolved significantly since its inception in the early 20th century. Initially developed as a manual separation technique by Russian botanist Mikhail Tsvet in 1903, chromatography has transformed from simple glass columns packed with adsorbents to sophisticated automated systems capable of high-precision separations. The transition from manual to automated systems represents one of the most significant paradigm shifts in analytical chemistry and biochemical research.
The evolution of chromatography technology has been driven by increasing demands for higher throughput, improved reproducibility, and enhanced data quality across pharmaceutical, biotechnology, and chemical industries. Manual column chromatography, while foundational to the field, presents inherent limitations in terms of operational consistency, labor requirements, and data documentation capabilities.
Automated chromatography systems emerged in the 1970s and have undergone continuous refinement, incorporating advanced features such as precise flow control, real-time monitoring, automated fraction collection, and integrated data analysis. These developments have paralleled advancements in computing power, sensor technology, and materials science, creating increasingly sophisticated platforms for molecular separation.
The current technological landscape presents a dichotomy between traditional manual approaches and modern automated systems, each with distinct advantages and limitations. This dichotomy raises important questions about optimal resource allocation, particularly for laboratories with varying throughput requirements, budget constraints, and analytical needs.
This research aims to conduct a comprehensive comparative analysis of manual versus automated column chromatography systems across three critical dimensions: throughput capacity, cost efficiency, and data quality. The objective is to establish quantifiable metrics for evaluating these parameters and provide evidence-based insights to guide technology adoption decisions.
Specifically, this investigation will examine how automation affects sample processing rates, operational efficiency, and laboratory productivity. It will analyze the total cost of ownership for both approaches, including initial capital expenditure, operational costs, maintenance requirements, and personnel expenses. Furthermore, it will assess the impact of automation on data reproducibility, precision, accuracy, and traceability—factors increasingly important in regulated environments.
By establishing a clear understanding of the performance differentials between manual and automated chromatography approaches, this research seeks to develop a decision framework that organizations can utilize to optimize their chromatography operations based on their specific requirements, constraints, and objectives.
The evolution of chromatography technology has been driven by increasing demands for higher throughput, improved reproducibility, and enhanced data quality across pharmaceutical, biotechnology, and chemical industries. Manual column chromatography, while foundational to the field, presents inherent limitations in terms of operational consistency, labor requirements, and data documentation capabilities.
Automated chromatography systems emerged in the 1970s and have undergone continuous refinement, incorporating advanced features such as precise flow control, real-time monitoring, automated fraction collection, and integrated data analysis. These developments have paralleled advancements in computing power, sensor technology, and materials science, creating increasingly sophisticated platforms for molecular separation.
The current technological landscape presents a dichotomy between traditional manual approaches and modern automated systems, each with distinct advantages and limitations. This dichotomy raises important questions about optimal resource allocation, particularly for laboratories with varying throughput requirements, budget constraints, and analytical needs.
This research aims to conduct a comprehensive comparative analysis of manual versus automated column chromatography systems across three critical dimensions: throughput capacity, cost efficiency, and data quality. The objective is to establish quantifiable metrics for evaluating these parameters and provide evidence-based insights to guide technology adoption decisions.
Specifically, this investigation will examine how automation affects sample processing rates, operational efficiency, and laboratory productivity. It will analyze the total cost of ownership for both approaches, including initial capital expenditure, operational costs, maintenance requirements, and personnel expenses. Furthermore, it will assess the impact of automation on data reproducibility, precision, accuracy, and traceability—factors increasingly important in regulated environments.
By establishing a clear understanding of the performance differentials between manual and automated chromatography approaches, this research seeks to develop a decision framework that organizations can utilize to optimize their chromatography operations based on their specific requirements, constraints, and objectives.
Market Analysis for Column Chromatography Systems
The global column chromatography systems market has been experiencing steady growth, valued at approximately $8.2 billion in 2022 and projected to reach $11.5 billion by 2027, growing at a CAGR of 7.0%. This growth is primarily driven by increasing pharmaceutical research, expanding biotechnology applications, and rising demand for purification processes in various industries.
The market is segmented into manual and automated systems, with automated systems gaining significant traction due to their efficiency advantages. Currently, manual systems hold approximately 40% of the market share, while automated systems account for 60% and are expected to increase their dominance over the next five years.
Pharmaceutical and biotechnology companies represent the largest end-user segment, accounting for nearly 65% of the total market. Academic and research institutions follow at 20%, with the remaining 15% distributed among food and beverage, environmental testing, and other industrial applications. This distribution reflects the critical importance of chromatography in drug development and quality control processes.
Regionally, North America leads the market with approximately 38% share, followed by Europe (30%), Asia-Pacific (25%), and the rest of the world (7%). The Asia-Pacific region is witnessing the fastest growth rate, driven by expanding pharmaceutical manufacturing capabilities in China and India, increased research funding, and growing adoption of advanced analytical technologies.
Key market trends include the integration of artificial intelligence and machine learning capabilities into automated systems, miniaturization for point-of-use applications, and the development of hybrid systems that combine multiple separation techniques. Additionally, there is growing demand for systems with enhanced data management capabilities that facilitate compliance with regulatory requirements and improve reproducibility.
The market exhibits moderate fragmentation, with the top five players controlling approximately 65% of the global market. Price sensitivity varies significantly by segment, with academic institutions being highly price-conscious while pharmaceutical companies prioritize performance and reliability over initial acquisition costs.
Return on investment (ROI) analysis indicates that while automated systems require 2-3 times higher initial investment than manual systems, they typically achieve ROI within 2-3 years through increased throughput, reduced labor costs, and improved data quality. This economic advantage is driving the transition from manual to automated systems, particularly in high-throughput environments.
The market is segmented into manual and automated systems, with automated systems gaining significant traction due to their efficiency advantages. Currently, manual systems hold approximately 40% of the market share, while automated systems account for 60% and are expected to increase their dominance over the next five years.
Pharmaceutical and biotechnology companies represent the largest end-user segment, accounting for nearly 65% of the total market. Academic and research institutions follow at 20%, with the remaining 15% distributed among food and beverage, environmental testing, and other industrial applications. This distribution reflects the critical importance of chromatography in drug development and quality control processes.
Regionally, North America leads the market with approximately 38% share, followed by Europe (30%), Asia-Pacific (25%), and the rest of the world (7%). The Asia-Pacific region is witnessing the fastest growth rate, driven by expanding pharmaceutical manufacturing capabilities in China and India, increased research funding, and growing adoption of advanced analytical technologies.
Key market trends include the integration of artificial intelligence and machine learning capabilities into automated systems, miniaturization for point-of-use applications, and the development of hybrid systems that combine multiple separation techniques. Additionally, there is growing demand for systems with enhanced data management capabilities that facilitate compliance with regulatory requirements and improve reproducibility.
The market exhibits moderate fragmentation, with the top five players controlling approximately 65% of the global market. Price sensitivity varies significantly by segment, with academic institutions being highly price-conscious while pharmaceutical companies prioritize performance and reliability over initial acquisition costs.
Return on investment (ROI) analysis indicates that while automated systems require 2-3 times higher initial investment than manual systems, they typically achieve ROI within 2-3 years through increased throughput, reduced labor costs, and improved data quality. This economic advantage is driving the transition from manual to automated systems, particularly in high-throughput environments.
Technical Challenges in Manual vs Automated Chromatography
Column chromatography represents a cornerstone technique in analytical chemistry and biochemistry, with significant applications across pharmaceutical development, biotechnology, and chemical manufacturing. The technical landscape of chromatography systems presents distinct challenges when comparing manual and automated approaches, each with inherent limitations that impact laboratory efficiency and research outcomes.
Manual chromatography systems face several technical hurdles that limit their performance. Pressure consistency remains a primary challenge, as maintaining uniform flow rates through gravity-fed columns depends heavily on operator technique and environmental conditions. This inconsistency directly affects separation quality and reproducibility. Additionally, sample loading precision in manual systems suffers from human error, with variations in loading techniques causing band broadening and reduced resolution.
Temperature control presents another significant technical obstacle in manual setups. Without sophisticated thermal regulation mechanisms, column performance fluctuates with ambient conditions, compromising separation efficiency and method transferability. The lack of real-time monitoring capabilities further complicates troubleshooting, as operators cannot detect issues until post-separation analysis reveals problems.
Automated chromatography systems address many of these challenges but introduce their own technical complexities. System calibration and maintenance demand specialized expertise, with sophisticated sensors and pumps requiring regular validation to ensure accuracy. Software integration challenges emerge as laboratories attempt to connect chromatography systems with laboratory information management systems (LIMS) and electronic lab notebooks, creating data transfer bottlenecks.
Detector sensitivity and range limitations affect both approaches but manifest differently. Manual systems typically employ simpler detection methods with narrower dynamic ranges, while automated systems offer advanced detection capabilities that require careful calibration and method development to fully utilize their potential. Cross-contamination risks persist in both paradigms, though automated systems generally provide better safeguards through programmable cleaning protocols.
Scale-up challenges represent a critical technical hurdle when transitioning from laboratory to production environments. Manual methods often prove difficult to scale linearly, while automated systems require significant reconfiguration and validation when adjusting to different production volumes. This scaling challenge directly impacts technology transfer timelines and manufacturing efficiency.
Power dependency creates vulnerability in automated systems, with potential for run failures during electrical interruptions. Conversely, manual systems face limitations in handling hazardous or oxygen-sensitive compounds that require controlled environments. These technical constraints shape method selection decisions across different application contexts and organizational settings.
Manual chromatography systems face several technical hurdles that limit their performance. Pressure consistency remains a primary challenge, as maintaining uniform flow rates through gravity-fed columns depends heavily on operator technique and environmental conditions. This inconsistency directly affects separation quality and reproducibility. Additionally, sample loading precision in manual systems suffers from human error, with variations in loading techniques causing band broadening and reduced resolution.
Temperature control presents another significant technical obstacle in manual setups. Without sophisticated thermal regulation mechanisms, column performance fluctuates with ambient conditions, compromising separation efficiency and method transferability. The lack of real-time monitoring capabilities further complicates troubleshooting, as operators cannot detect issues until post-separation analysis reveals problems.
Automated chromatography systems address many of these challenges but introduce their own technical complexities. System calibration and maintenance demand specialized expertise, with sophisticated sensors and pumps requiring regular validation to ensure accuracy. Software integration challenges emerge as laboratories attempt to connect chromatography systems with laboratory information management systems (LIMS) and electronic lab notebooks, creating data transfer bottlenecks.
Detector sensitivity and range limitations affect both approaches but manifest differently. Manual systems typically employ simpler detection methods with narrower dynamic ranges, while automated systems offer advanced detection capabilities that require careful calibration and method development to fully utilize their potential. Cross-contamination risks persist in both paradigms, though automated systems generally provide better safeguards through programmable cleaning protocols.
Scale-up challenges represent a critical technical hurdle when transitioning from laboratory to production environments. Manual methods often prove difficult to scale linearly, while automated systems require significant reconfiguration and validation when adjusting to different production volumes. This scaling challenge directly impacts technology transfer timelines and manufacturing efficiency.
Power dependency creates vulnerability in automated systems, with potential for run failures during electrical interruptions. Conversely, manual systems face limitations in handling hazardous or oxygen-sensitive compounds that require controlled environments. These technical constraints shape method selection decisions across different application contexts and organizational settings.
Current Manual and Automated Chromatography Solutions
- 01 High-throughput chromatography systemsAdvanced column chromatography systems designed for high-throughput processing can significantly increase sample analysis efficiency. These systems incorporate parallel processing capabilities, automated sample handling, and optimized flow rates to maximize the number of samples processed in a given time period. Such high-throughput systems are particularly valuable in pharmaceutical research, clinical diagnostics, and industrial quality control where large numbers of samples need to be analyzed quickly while maintaining data quality.- High-throughput chromatography systems: Advanced column chromatography systems designed for high-throughput processing can significantly increase sample analysis efficiency. These systems incorporate parallel processing capabilities, automated sample handling, and optimized flow rates to maximize the number of samples processed in a given time period. High-throughput systems often feature multiple columns operating simultaneously and integrated data management to handle the increased volume of results.
- Cost optimization in chromatography systems: Cost-effective chromatography solutions focus on reducing operational expenses while maintaining analytical performance. These approaches include using reusable columns, optimizing mobile phase consumption, implementing energy-efficient components, and extending column life through proper maintenance protocols. Some systems incorporate cost analysis software to track expenses and identify areas for potential savings in chromatographic workflows.
- Data quality enhancement technologies: Technologies focused on improving chromatography data quality incorporate advanced detection systems, noise reduction algorithms, and calibration methods. These systems feature improved signal-to-noise ratios, enhanced baseline stability, and sophisticated peak integration algorithms. Data quality enhancement may also include automated system suitability testing, real-time monitoring of critical parameters, and validation protocols to ensure consistent and reliable analytical results.
- Integrated chromatography management systems: Comprehensive software platforms that integrate instrument control, data acquisition, analysis, and reporting functions for chromatography systems. These management systems provide centralized control of multiple instruments, automated data processing workflows, and compliance with regulatory requirements. Features often include audit trails, electronic signatures, method development tools, and integration with laboratory information management systems to streamline operations and improve overall efficiency.
- Novel column technologies for improved performance: Innovative column technologies that enhance separation efficiency, resolution, and sample capacity in chromatography systems. These advancements include new stationary phase materials, column packing techniques, and column geometries designed to improve analytical performance. Some technologies focus on reducing analysis time while maintaining separation quality, while others emphasize robustness under challenging conditions or compatibility with specific sample types.
 
- 02 Cost optimization in chromatography systemsCost-effective chromatography solutions focus on reducing operational expenses through efficient resource utilization. These approaches include minimizing solvent consumption, extending column life, reducing energy usage, and implementing reusable components. Additionally, integrated systems that combine multiple analytical functions can provide better return on investment by reducing the need for separate instruments. Cost optimization strategies also consider maintenance requirements and total cost of ownership over the system's lifecycle.Expand Specific Solutions
- 03 Data quality enhancement technologiesTechnologies focused on improving data quality in column chromatography systems include advanced detection methods, signal processing algorithms, and noise reduction techniques. These systems incorporate sophisticated calibration protocols, baseline correction methods, and peak integration algorithms to ensure accurate and reproducible results. Real-time data validation and automated system suitability testing help maintain consistent data quality across multiple analyses. Enhanced data management systems also facilitate compliance with regulatory requirements while improving the reliability of analytical results.Expand Specific Solutions
- 04 Integrated chromatography data management systemsIntegrated data management systems for chromatography combine hardware control, data acquisition, analysis, and reporting in a unified platform. These systems provide seamless data flow from instrument to final report, with features such as automated data processing, centralized storage, and comprehensive audit trails. Advanced software solutions offer visualization tools, statistical analysis capabilities, and integration with laboratory information management systems (LIMS). Such integration improves laboratory efficiency while ensuring data integrity and facilitating regulatory compliance.Expand Specific Solutions
- 05 Novel column technologies for improved separation efficiencyInnovative column technologies focus on enhancing separation efficiency while reducing analysis time and operational costs. These advancements include novel stationary phase materials, monolithic columns, core-shell particles, and specialized surface chemistries that provide improved selectivity and resolution. Miniaturized column formats enable reduced solvent consumption and faster analyses. Multi-dimensional chromatography approaches combine different separation mechanisms to resolve complex mixtures more effectively. These technologies collectively contribute to better data quality while optimizing throughput and cost-effectiveness.Expand Specific Solutions
Industry Leaders in Chromatography Equipment Manufacturing
The column chromatography systems market is currently in a growth phase, with increasing demand driven by biopharmaceutical research and production needs. The market is witnessing a transition from manual to automated systems, with major players like Cytiva Sweden AB, Agilent Technologies, and Shimadzu Corp leading technological innovation. These companies are developing integrated solutions that offer higher throughput, improved data quality, and better cost efficiency. The competitive landscape features established analytical instrumentation companies alongside pharmaceutical giants such as F. Hoffmann-La Roche and Biogen MA, who are both users and developers of advanced chromatography technologies. Waters Technology and EMD Millipore are focusing on specialized applications, while newer entrants like ChromaCon AG are disrupting the market with novel continuous chromatography principles that promise significant operational cost reductions.
Cytiva Sweden AB
Technical Solution:  Cytiva's ÄKTA automated chromatography platform represents a comprehensive solution for comparing manual and automated chromatography systems. The ÄKTA series incorporates advanced flow path technology with integrated sensors for real-time monitoring of multiple parameters including UV absorbance, conductivity, pH, and pressure. Their systems feature automated sample loading, column equilibration, and fraction collection capabilities that significantly reduce hands-on time compared to manual operations. Cytiva's UNICORN control software provides extensive data analysis tools, enabling automated method development and optimization through Design of Experiments (DoE) approaches. Recent innovations include the ÄKTA pilot and ÄKTA process systems that scale from R&D to production while maintaining consistent performance metrics. Their systems demonstrate up to 60% reduction in process development time and can handle multiple samples simultaneously with minimal operator intervention, addressing throughput limitations inherent in manual systems.
Strengths: Comprehensive integration of hardware and software solutions; scalability from lab to production; extensive data management capabilities; high reproducibility with CV <2% between runs. Weaknesses: Higher initial capital investment compared to manual systems; requires specialized training; potential over-reliance on proprietary consumables and software ecosystem.
Agilent Technologies, Inc.
Technical Solution:  Agilent Technologies offers the 1260 Infinity II and 1290 Infinity II automated liquid chromatography systems that directly address the manual vs. automated comparison. Their systems feature precise quaternary pumps capable of delivering flow rates from 0.001-10 mL/min with <0.07% RSD precision, significantly outperforming manual systems. The automated sample handling capabilities include capacity for up to 432 samples with injection precision of <0.25% RSD. Agilent's OpenLAB CDS software platform provides comprehensive data acquisition, analysis, and reporting tools with built-in compliance features for regulated environments. Their automated systems incorporate intelligent system emulation technology (ISET) that allows method transfer between different instruments while maintaining equivalent chromatographic results. Agilent's research demonstrates that their automated systems reduce sample preparation time by approximately 60% and increase throughput by up to 300% compared to manual operations, while simultaneously improving data reproducibility with inter-injection precision improvements of 3-5 fold.
Strengths: Superior analytical precision and reproducibility; comprehensive software integration; extensive method development capabilities; strong regulatory compliance features. Weaknesses: Complex systems require significant training; higher maintenance costs; substantial bench space requirements compared to simpler manual setups.
Key Patents and Innovations in Chromatography Automation
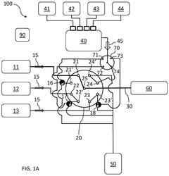
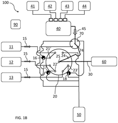
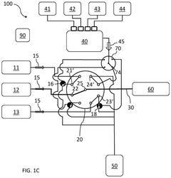
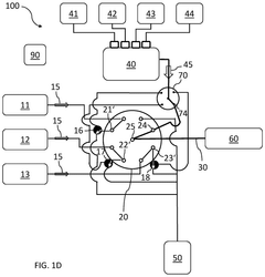
LC system and method with column backflushing 
PatentActiveUS12123856B2
 Innovation 
- An automated liquid chromatography system and method that includes a downstream pump and valve configuration to enable automated backflushing of HPLC columns, minimizing manual intervention and extending column lifetime, reducing downtime, and lowering costs.
Automated column chromatography device 
PatentPendingIN202111054375A
 Innovation 
- An automated column chromatography device with a touch interactive display panel, telescopic gripper, artificial intelligence image capturing module, motorized conveyor, stopcock, and density sensor, which processes commands, prepares the column, monitors separation, collects molecules, and determines their density and identity without human intervention.
ROI Analysis of Manual vs Automated Chromatography Systems
The investment in automated chromatography systems represents a significant financial decision for laboratories and research facilities. A comprehensive Return on Investment (ROI) analysis reveals that while automated systems require substantial initial capital expenditure—typically 3-5 times higher than manual setups—the long-term economic benefits often justify this investment.
Time efficiency constitutes a primary factor in ROI calculations. Automated systems demonstrate 40-60% reduction in processing time compared to manual methods, allowing laboratories to increase sample throughput significantly. This efficiency translates directly to increased productivity, with most facilities reporting the ability to process 2-3 times more samples within the same timeframe.
Labor cost savings emerge as another crucial ROI component. Manual chromatography demands constant technician supervision, whereas automated systems operate with minimal human intervention. Quantitative assessments indicate that labor costs decrease by approximately 30-45% after automation implementation, freeing skilled personnel for more complex analytical tasks.
Consumable utilization efficiency further enhances ROI metrics. Automated systems typically reduce solvent consumption by 20-30% through precise delivery mechanisms and optimized gradient formations. Additionally, column lifespan extends by 15-25% due to consistent operating conditions, reducing replacement frequency and associated costs.
Error reduction and reproducibility improvements contribute substantially to ROI through decreased repeat analysis requirements. Studies demonstrate that automated systems reduce experimental failures by 25-35%, eliminating costly sample reprocessing and reagent waste. This reliability factor alone can recover 10-15% of the initial investment annually.
Maintenance considerations must factor into comprehensive ROI calculations. While automated systems require specialized maintenance, the predictable nature of these costs (typically 5-8% of purchase price annually) allows for better financial planning compared to the unpredictable downtime associated with manual systems.
The payback period for automated chromatography systems varies by laboratory throughput, but typically ranges from 18-36 months for facilities processing moderate to high sample volumes. Organizations handling fewer than 20 samples weekly may experience extended ROI timelines, potentially exceeding 48 months, necessitating careful evaluation of workflow requirements before investment.
Time efficiency constitutes a primary factor in ROI calculations. Automated systems demonstrate 40-60% reduction in processing time compared to manual methods, allowing laboratories to increase sample throughput significantly. This efficiency translates directly to increased productivity, with most facilities reporting the ability to process 2-3 times more samples within the same timeframe.
Labor cost savings emerge as another crucial ROI component. Manual chromatography demands constant technician supervision, whereas automated systems operate with minimal human intervention. Quantitative assessments indicate that labor costs decrease by approximately 30-45% after automation implementation, freeing skilled personnel for more complex analytical tasks.
Consumable utilization efficiency further enhances ROI metrics. Automated systems typically reduce solvent consumption by 20-30% through precise delivery mechanisms and optimized gradient formations. Additionally, column lifespan extends by 15-25% due to consistent operating conditions, reducing replacement frequency and associated costs.
Error reduction and reproducibility improvements contribute substantially to ROI through decreased repeat analysis requirements. Studies demonstrate that automated systems reduce experimental failures by 25-35%, eliminating costly sample reprocessing and reagent waste. This reliability factor alone can recover 10-15% of the initial investment annually.
Maintenance considerations must factor into comprehensive ROI calculations. While automated systems require specialized maintenance, the predictable nature of these costs (typically 5-8% of purchase price annually) allows for better financial planning compared to the unpredictable downtime associated with manual systems.
The payback period for automated chromatography systems varies by laboratory throughput, but typically ranges from 18-36 months for facilities processing moderate to high sample volumes. Organizations handling fewer than 20 samples weekly may experience extended ROI timelines, potentially exceeding 48 months, necessitating careful evaluation of workflow requirements before investment.
Validation Standards and Regulatory Compliance
Validation standards and regulatory compliance are critical considerations when evaluating manual versus automated column chromatography systems in laboratory and industrial settings. Regulatory bodies such as the FDA, EMA, and ICH have established stringent guidelines that govern analytical procedures in pharmaceutical, biotechnology, and clinical research environments.
For manual chromatography systems, validation presents significant challenges due to inherent variability in human operation. Operators must meticulously document each step of the process, including column preparation, sample loading, and fraction collection. This documentation burden increases compliance costs and introduces potential points of failure in the validation chain. Manual systems typically require more extensive Standard Operating Procedures (SOPs) to account for operator variability.
Automated chromatography systems offer substantial advantages in meeting regulatory requirements through built-in compliance features. These systems typically include audit trail capabilities, electronic records management, and user authentication controls that align with 21 CFR Part 11 requirements for electronic records. The reproducibility of automated processes significantly simplifies validation protocols and reduces the documentation burden.
Method validation parameters such as accuracy, precision, specificity, and robustness are more readily demonstrated with automated systems due to their inherent consistency. This translates to more straightforward compliance with ICH Q2(R1) guidelines for analytical method validation. The reduced variability in automated systems also facilitates adherence to Quality by Design (QbD) principles emphasized by regulatory authorities.
Risk assessment frameworks, including Failure Mode and Effects Analysis (FMEA), typically identify fewer critical control points in automated systems compared to manual operations. This streamlined risk profile can expedite regulatory approval processes and simplify ongoing compliance maintenance.
From a data integrity perspective, automated systems provide superior traceability and data security. The ALCOA+ principles (Attributable, Legible, Contemporaneous, Original, Accurate, plus Complete, Consistent, Enduring, and Available) are more easily satisfied through automated data capture and storage systems. This reduces the risk of data integrity findings during regulatory inspections.
Cost considerations for validation differ significantly between system types. While manual systems have lower initial validation costs, they require more frequent revalidation and ongoing compliance monitoring. Automated systems demand higher upfront validation investment but typically demonstrate lower long-term compliance maintenance costs and reduced risk of regulatory citations.
For manual chromatography systems, validation presents significant challenges due to inherent variability in human operation. Operators must meticulously document each step of the process, including column preparation, sample loading, and fraction collection. This documentation burden increases compliance costs and introduces potential points of failure in the validation chain. Manual systems typically require more extensive Standard Operating Procedures (SOPs) to account for operator variability.
Automated chromatography systems offer substantial advantages in meeting regulatory requirements through built-in compliance features. These systems typically include audit trail capabilities, electronic records management, and user authentication controls that align with 21 CFR Part 11 requirements for electronic records. The reproducibility of automated processes significantly simplifies validation protocols and reduces the documentation burden.
Method validation parameters such as accuracy, precision, specificity, and robustness are more readily demonstrated with automated systems due to their inherent consistency. This translates to more straightforward compliance with ICH Q2(R1) guidelines for analytical method validation. The reduced variability in automated systems also facilitates adherence to Quality by Design (QbD) principles emphasized by regulatory authorities.
Risk assessment frameworks, including Failure Mode and Effects Analysis (FMEA), typically identify fewer critical control points in automated systems compared to manual operations. This streamlined risk profile can expedite regulatory approval processes and simplify ongoing compliance maintenance.
From a data integrity perspective, automated systems provide superior traceability and data security. The ALCOA+ principles (Attributable, Legible, Contemporaneous, Original, Accurate, plus Complete, Consistent, Enduring, and Available) are more easily satisfied through automated data capture and storage systems. This reduces the risk of data integrity findings during regulatory inspections.
Cost considerations for validation differ significantly between system types. While manual systems have lower initial validation costs, they require more frequent revalidation and ongoing compliance monitoring. Automated systems demand higher upfront validation investment but typically demonstrate lower long-term compliance maintenance costs and reduced risk of regulatory citations.
 Unlock deeper insights with  Patsnap Eureka Quick Research — get a full tech report to explore trends and direct your research. Try now! 
 Generate Your Research Report Instantly with AI Agent 
 Supercharge your innovation with Patsnap Eureka AI Agent Platform! 




