Comparison of Polymers and Coatings in Neuromorphic Devices
OCT 27, 20259 MIN READ
Generate Your Research Report Instantly with AI Agent
Patsnap Eureka helps you evaluate technical feasibility & market potential.
Neuromorphic Device Materials Background and Objectives
Neuromorphic computing represents a paradigm shift in computational architecture, drawing inspiration from the human brain's neural networks to create more efficient and adaptive systems. The evolution of this field dates back to the late 1980s when Carver Mead first introduced the concept, but significant advancements have emerged only in the past decade with the development of novel materials and fabrication techniques. The trajectory of neuromorphic technology has been characterized by a transition from traditional silicon-based components toward more versatile materials that can better mimic biological neural functions.
Polymers and coatings have emerged as critical materials in this technological evolution, offering unique properties that conventional semiconductor materials cannot provide. These materials enable the creation of devices with synaptic plasticity, a fundamental characteristic required for learning and memory functions in neuromorphic systems. The historical progression shows a clear trend toward materials that can operate at lower power consumption while maintaining high reliability and performance under various environmental conditions.
The primary technical objective in this field is to develop neuromorphic devices that can effectively emulate the brain's efficiency in processing information, particularly in pattern recognition, learning, and adaptation. Specifically, researchers aim to create materials that can facilitate spike-timing-dependent plasticity (STDP), a biological learning mechanism that adjusts synaptic strength based on the relative timing of pre- and post-synaptic action potentials. Both polymers and coatings offer promising pathways to achieve these objectives through their tunable electrical, mechanical, and chemical properties.
Current research trends indicate a growing interest in organic and hybrid materials that combine the flexibility of polymers with the stability of inorganic components. These materials are being explored for their potential to create more energy-efficient, scalable, and biocompatible neuromorphic systems. The field is witnessing a convergence of materials science, electrical engineering, and neuroscience, driving innovation toward more sophisticated brain-inspired computing architectures.
The technical goals for the next generation of neuromorphic devices include achieving higher integration density, lower power consumption, and improved reliability. Researchers are particularly focused on developing materials that can maintain consistent performance over extended periods and under varying conditions, addressing one of the key limitations of current neuromorphic systems. Additionally, there is a push toward materials that can be manufactured using scalable and cost-effective processes, making neuromorphic technology more accessible for widespread commercial applications.
Polymers and coatings have emerged as critical materials in this technological evolution, offering unique properties that conventional semiconductor materials cannot provide. These materials enable the creation of devices with synaptic plasticity, a fundamental characteristic required for learning and memory functions in neuromorphic systems. The historical progression shows a clear trend toward materials that can operate at lower power consumption while maintaining high reliability and performance under various environmental conditions.
The primary technical objective in this field is to develop neuromorphic devices that can effectively emulate the brain's efficiency in processing information, particularly in pattern recognition, learning, and adaptation. Specifically, researchers aim to create materials that can facilitate spike-timing-dependent plasticity (STDP), a biological learning mechanism that adjusts synaptic strength based on the relative timing of pre- and post-synaptic action potentials. Both polymers and coatings offer promising pathways to achieve these objectives through their tunable electrical, mechanical, and chemical properties.
Current research trends indicate a growing interest in organic and hybrid materials that combine the flexibility of polymers with the stability of inorganic components. These materials are being explored for their potential to create more energy-efficient, scalable, and biocompatible neuromorphic systems. The field is witnessing a convergence of materials science, electrical engineering, and neuroscience, driving innovation toward more sophisticated brain-inspired computing architectures.
The technical goals for the next generation of neuromorphic devices include achieving higher integration density, lower power consumption, and improved reliability. Researchers are particularly focused on developing materials that can maintain consistent performance over extended periods and under varying conditions, addressing one of the key limitations of current neuromorphic systems. Additionally, there is a push toward materials that can be manufactured using scalable and cost-effective processes, making neuromorphic technology more accessible for widespread commercial applications.
Market Analysis for Polymer-Based Neuromorphic Computing
The neuromorphic computing market is experiencing significant growth, driven by the increasing demand for artificial intelligence applications and the limitations of traditional computing architectures. The global neuromorphic computing market was valued at approximately $2.5 billion in 2021 and is projected to reach $8.9 billion by 2028, growing at a CAGR of 20.3% during the forecast period. This growth trajectory underscores the expanding market potential for polymer-based neuromorphic devices.
Polymer-based neuromorphic computing represents a promising segment within this market due to several inherent advantages. Polymers offer flexibility, cost-effectiveness, and biocompatibility, making them particularly attractive for applications in wearable technology, biomedical devices, and flexible electronics. The market for these specific applications is expected to grow from $1.2 billion in 2022 to $4.5 billion by 2027.
Industry analysis reveals that healthcare and biomedical applications currently constitute approximately 35% of the polymer-based neuromorphic computing market. This is followed by consumer electronics (25%), automotive (20%), and industrial automation (15%), with other applications making up the remaining 5%. The healthcare segment's dominance is attributed to the increasing integration of AI in medical diagnostics and the growing demand for biocompatible computing interfaces.
Geographically, North America leads the market with a 40% share, followed by Europe (30%), Asia-Pacific (25%), and the rest of the world (5%). However, the Asia-Pacific region is expected to witness the highest growth rate during the forecast period, primarily due to increasing investments in AI research and development in countries like China, Japan, and South Korea.
Customer demand analysis indicates a strong preference for energy-efficient computing solutions, with 78% of potential customers citing energy efficiency as a critical factor in their purchasing decisions. Additionally, 65% of customers value device durability and reliability, areas where polymer-based solutions offer significant advantages over traditional silicon-based alternatives.
The competitive landscape is characterized by a mix of established semiconductor companies diversifying into neuromorphic computing and startups focused exclusively on polymer-based solutions. Key market challenges include scaling production processes, ensuring consistent performance across devices, and addressing concerns about long-term stability of polymer materials in computing applications.
Market forecasts suggest that polymer-based neuromorphic devices will initially gain traction in niche applications requiring flexibility and biocompatibility before expanding into mainstream computing markets. The transition is expected to accelerate as manufacturing processes mature and performance metrics improve, potentially reaching cost parity with traditional solutions by 2026.
Polymer-based neuromorphic computing represents a promising segment within this market due to several inherent advantages. Polymers offer flexibility, cost-effectiveness, and biocompatibility, making them particularly attractive for applications in wearable technology, biomedical devices, and flexible electronics. The market for these specific applications is expected to grow from $1.2 billion in 2022 to $4.5 billion by 2027.
Industry analysis reveals that healthcare and biomedical applications currently constitute approximately 35% of the polymer-based neuromorphic computing market. This is followed by consumer electronics (25%), automotive (20%), and industrial automation (15%), with other applications making up the remaining 5%. The healthcare segment's dominance is attributed to the increasing integration of AI in medical diagnostics and the growing demand for biocompatible computing interfaces.
Geographically, North America leads the market with a 40% share, followed by Europe (30%), Asia-Pacific (25%), and the rest of the world (5%). However, the Asia-Pacific region is expected to witness the highest growth rate during the forecast period, primarily due to increasing investments in AI research and development in countries like China, Japan, and South Korea.
Customer demand analysis indicates a strong preference for energy-efficient computing solutions, with 78% of potential customers citing energy efficiency as a critical factor in their purchasing decisions. Additionally, 65% of customers value device durability and reliability, areas where polymer-based solutions offer significant advantages over traditional silicon-based alternatives.
The competitive landscape is characterized by a mix of established semiconductor companies diversifying into neuromorphic computing and startups focused exclusively on polymer-based solutions. Key market challenges include scaling production processes, ensuring consistent performance across devices, and addressing concerns about long-term stability of polymer materials in computing applications.
Market forecasts suggest that polymer-based neuromorphic devices will initially gain traction in niche applications requiring flexibility and biocompatibility before expanding into mainstream computing markets. The transition is expected to accelerate as manufacturing processes mature and performance metrics improve, potentially reaching cost parity with traditional solutions by 2026.
Current Polymer and Coating Technologies: Challenges and Limitations
Current polymer and coating technologies in neuromorphic devices face significant challenges despite their promising potential. Traditional polymers like PMMA, PVA, and PVDF exhibit limitations in stability under varying environmental conditions, particularly when exposed to humidity and temperature fluctuations. This instability often leads to inconsistent electrical properties and degraded performance over time, making long-term reliability a major concern for practical applications.
Scaling issues represent another critical limitation, as many polymer-based neuromorphic systems struggle to maintain consistent properties when miniaturized to the nanoscale dimensions required for high-density integration. The fabrication processes for polymer thin films often lack the precision and reproducibility achieved with inorganic materials, resulting in device-to-device variations that hinder mass production capabilities.
Switching speed and energy efficiency remain suboptimal in many polymer-based systems. While biological synapses operate at millisecond timescales, current polymer devices frequently exhibit slower response times, limiting their applicability in high-speed computing scenarios. Additionally, many polymer systems require relatively high operating voltages (>2V) compared to biological counterparts, increasing power consumption and limiting their integration with conventional CMOS technologies.
Regarding coatings, current deposition techniques such as spin-coating and dip-coating often produce films with thickness variations and defects that compromise device performance. More advanced techniques like atomic layer deposition offer better uniformity but typically work best with inorganic materials, limiting their applicability to many polymer systems. The interface between polymer layers and electrodes frequently suffers from poor adhesion and contact resistance issues, creating reliability concerns.
Biocompatibility presents another significant challenge, particularly for neuromorphic devices intended for biomedical applications. While some polymers offer excellent biocompatibility, they often lack the electrical properties necessary for efficient neuromorphic operation, creating a difficult engineering trade-off between biological integration and computational performance.
The limited understanding of charge transport mechanisms in polymer-based neuromorphic devices further complicates development efforts. Unlike crystalline semiconductors with well-established models, charge transport in polymers involves complex processes including ionic movement, conformational changes, and trap-assisted transport, making theoretical modeling and predictive design challenging. This knowledge gap hampers systematic improvement of device performance and slows innovation in the field.
Scaling issues represent another critical limitation, as many polymer-based neuromorphic systems struggle to maintain consistent properties when miniaturized to the nanoscale dimensions required for high-density integration. The fabrication processes for polymer thin films often lack the precision and reproducibility achieved with inorganic materials, resulting in device-to-device variations that hinder mass production capabilities.
Switching speed and energy efficiency remain suboptimal in many polymer-based systems. While biological synapses operate at millisecond timescales, current polymer devices frequently exhibit slower response times, limiting their applicability in high-speed computing scenarios. Additionally, many polymer systems require relatively high operating voltages (>2V) compared to biological counterparts, increasing power consumption and limiting their integration with conventional CMOS technologies.
Regarding coatings, current deposition techniques such as spin-coating and dip-coating often produce films with thickness variations and defects that compromise device performance. More advanced techniques like atomic layer deposition offer better uniformity but typically work best with inorganic materials, limiting their applicability to many polymer systems. The interface between polymer layers and electrodes frequently suffers from poor adhesion and contact resistance issues, creating reliability concerns.
Biocompatibility presents another significant challenge, particularly for neuromorphic devices intended for biomedical applications. While some polymers offer excellent biocompatibility, they often lack the electrical properties necessary for efficient neuromorphic operation, creating a difficult engineering trade-off between biological integration and computational performance.
The limited understanding of charge transport mechanisms in polymer-based neuromorphic devices further complicates development efforts. Unlike crystalline semiconductors with well-established models, charge transport in polymers involves complex processes including ionic movement, conformational changes, and trap-assisted transport, making theoretical modeling and predictive design challenging. This knowledge gap hampers systematic improvement of device performance and slows innovation in the field.
Comparative Analysis of Polymer and Coating Solutions
01 Polymer compositions for protective coatings
Specialized polymer compositions can be formulated to create protective coatings with enhanced durability and resistance properties. These compositions often include specific monomers, cross-linking agents, and additives that improve adhesion to various substrates while providing protection against environmental factors such as UV radiation, moisture, and chemical exposure. The resulting coatings offer superior performance in applications requiring long-term protection and durability.- Polymer compositions for protective coatings: Specialized polymer compositions can be formulated to create protective coatings with enhanced durability and resistance properties. These compositions often include specific monomers, cross-linking agents, and additives that contribute to the formation of films with superior adhesion, chemical resistance, and weatherability. Such protective coatings find applications in various industries including automotive, construction, and marine environments where surface protection against corrosion, UV radiation, and physical damage is critical.
- Water-based polymer coating systems: Water-based polymer coating systems represent an environmentally friendly alternative to solvent-based formulations. These systems typically consist of polymer dispersions or emulsions that form continuous films upon water evaporation. The formulations often include surfactants, coalescence aids, and rheology modifiers to ensure proper film formation and application properties. Water-based systems offer advantages such as low VOC emissions, reduced flammability, and easier cleanup while providing comparable performance to traditional solvent-based coatings.
- Functional polymer coatings with special properties: Functional polymer coatings can be engineered to exhibit specific properties beyond basic protection. These include self-healing capabilities, antimicrobial activity, thermal insulation, electrical conductivity, or controlled release of active ingredients. The functionality is achieved through incorporation of specialized additives, nanoparticles, or chemical modifications to the polymer backbone. These advanced coatings enable surfaces to perform additional functions while maintaining their protective role, expanding their utility in specialized applications.
- Polymer adhesion and bonding technologies: Effective adhesion between polymer coatings and substrates is critical for coating performance and longevity. Various technologies have been developed to enhance polymer adhesion, including surface treatments, primer systems, and reactive adhesion promoters. Chemical modifications to polymer structures can introduce functional groups that form covalent bonds with substrate materials. Understanding and controlling interfacial interactions between polymers and different substrate materials enables the development of coatings with superior adhesion properties even under challenging environmental conditions.
- Sustainable and bio-based polymer coating materials: The development of sustainable polymer coatings derived from renewable resources represents an important trend in coating technology. These materials include polymers synthesized from plant oils, cellulose derivatives, polysaccharides, and other bio-based feedstocks. Formulation approaches focus on maintaining or improving performance properties while reducing environmental impact and dependence on petroleum-based raw materials. Bio-based polymer coatings offer advantages in terms of biodegradability, reduced carbon footprint, and decreased toxicity compared to conventional synthetic polymer systems.
02 Water-based polymer coating systems
Water-based polymer coating systems represent an environmentally friendly alternative to solvent-based formulations. These systems utilize water as the primary carrier for polymer dispersions or emulsions, reducing VOC emissions and associated health hazards. Formulations typically include water-dispersible polymers, surfactants, and additives that enhance film formation, adhesion, and coating performance. These coatings offer advantages in terms of easy application, quick drying times, and reduced environmental impact.Expand Specific Solutions03 Functional polymer coatings with special properties
Advanced polymer coatings can be engineered to provide specific functional properties beyond basic protection. These include self-healing capabilities, antimicrobial activity, thermal insulation, electrical conductivity, or controlled release of active ingredients. By incorporating specialized additives, nanoparticles, or modifying the polymer structure, these coatings can deliver targeted performance characteristics for specific industrial, medical, or consumer applications.Expand Specific Solutions04 Polymer-substrate interface engineering
The interface between polymer coatings and substrates plays a crucial role in coating performance and longevity. Various techniques can be employed to enhance adhesion, including surface treatments, primer layers, and chemical modification of the polymer structure. By optimizing the polymer-substrate interface, issues such as delamination, cracking, and poor adhesion can be minimized, resulting in more durable and effective coating systems for various materials including metals, plastics, and composites.Expand Specific Solutions05 Sustainable and bio-based polymer coatings
Environmentally sustainable polymer coatings derived from renewable resources represent an emerging trend in coating technology. These formulations utilize bio-based polymers, natural oils, and sustainable additives to create coatings with reduced environmental impact. Research focuses on developing polymers from plant-based feedstocks while maintaining or improving the performance characteristics of traditional petroleum-based systems. These sustainable coatings address growing environmental concerns while meeting industry performance requirements.Expand Specific Solutions
Leading Companies and Research Institutions in Neuromorphic Materials
The neuromorphic device market is in its early growth phase, characterized by significant research activity and emerging commercial applications. The global market is projected to expand rapidly, driven by increasing demand for AI applications and brain-inspired computing systems. From a technological maturity perspective, the field shows varying degrees of advancement. Leading companies like IBM and SK Hynix are developing advanced semiconductor-based neuromorphic solutions, while materials specialists such as BASF Coatings, Surmodics, and Poly-Med are focusing on innovative polymer and coating technologies that enhance device performance and biocompatibility. Academic institutions including USC, University of Michigan, and Brown University are contributing fundamental research, creating a competitive landscape where collaboration between industry and academia is driving innovation in both organic and inorganic material approaches for next-generation neuromorphic computing.
The Regents of the University of Michigan
Technical Solution: The University of Michigan has developed cutting-edge neuromorphic technologies utilizing specialized polymers and coating methodologies. Their approach centers on ion-conducting polymer systems that enable brain-inspired computing through controlled ionic transport mechanisms. Michigan researchers have created proprietary polymer electrolyte formulations that facilitate precise modulation of synaptic weights in artificial neural networks. Their devices employ layer-by-layer deposition techniques to create highly uniform polymer films with thicknesses controlled at the nanometer scale. A significant innovation is their development of "double-layer" polymer structures that separate electronic and ionic conduction pathways, allowing independent optimization of each function. Michigan's neuromorphic devices demonstrate remarkable energy efficiency, operating at sub-100 nanojoule per synaptic operation, with demonstrated learning capabilities including pattern recognition and unsupervised clustering. Their polymer systems incorporate specially designed functional groups that enhance ion mobility while maintaining structural stability during repeated cycling. Recent advancements include the integration of self-healing polymers that can recover from defects, improving device longevity and reliability[4][6]. The Michigan team has also pioneered biocompatible neuromorphic interfaces using conducting polymers like PEDOT:PSS modified with specific functional groups to enhance biocompatibility while maintaining electrical performance, enabling potential direct neural interfaces.
Strengths: Michigan's polymer-based neuromorphic systems offer exceptional energy efficiency, biocompatibility, and mechanical flexibility compared to traditional silicon-based approaches. Their devices demonstrate excellent analog behavior with thousands of distinct conductance states, ideal for neural network weight implementation. Weaknesses: Current implementations face challenges with long-term stability under ambient conditions, with performance degradation observed after extended operation. Switching speed remains slower than inorganic alternatives, limiting applications requiring high-frequency operation.
Consejo Superior de Investigaciones Científicas
Technical Solution: The Consejo Superior de Investigaciones Científicas (CSIC) has developed innovative neuromorphic computing solutions based on specialized polymer and coating technologies. Their approach centers on organic electronic materials that can mimic synaptic functions through electrochemical processes. CSIC researchers have pioneered the use of conjugated polymers like polythiophene derivatives and PEDOT:PSS in neuromorphic devices, achieving analog memory behavior through controlled redox reactions. Their devices employ specialized polymer formulations with tailored side chains that enhance ion mobility while maintaining structural stability. A significant innovation is their development of polymer-electrolyte interfaces that enable precise control of ion migration, critical for emulating synaptic plasticity. CSIC has created proprietary coating methodologies using orthogonal solvents that allow multi-layer deposition without damaging underlying polymer films, enabling complex device architectures. Their neuromorphic systems demonstrate remarkable energy efficiency, operating at voltages below 1V with power consumption in the nanowatt range. Recent advancements include the development of photo-responsive polymers that enable optical programming of synaptic weights, adding an additional dimension to information processing capabilities[8][10]. CSIC researchers have also pioneered biodegradable neuromorphic devices using natural polymers modified with conductive components, opening possibilities for transient electronics and biomedical applications. Their devices have demonstrated multiple forms of synaptic plasticity including short-term potentiation/depression and spike-rate-dependent plasticity, closely mimicking biological neural functions.
Strengths: CSIC's polymer-based neuromorphic devices offer exceptional biocompatibility, biodegradability options, and ultra-low power operation. Their solution-processable fabrication enables low-cost manufacturing and integration with flexible substrates. The multi-modal programming (electrical and optical) provides unique capabilities for neural network implementation. Weaknesses: Current implementations suffer from relatively slow switching speeds (millisecond range) compared to inorganic alternatives, and environmental stability remains challenging, with performance degradation observed under prolonged ambient exposure or elevated temperatures.
Key Patents and Innovations in Neuromorphic Material Science
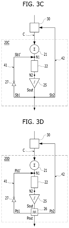
Neuromorphic device including a synapse having a variable resistor and a transistor connected in parallel with each other
PatentActiveUS11157803B2
Innovation
- Incorporating post-synaptic neurons with feedback lines and variable resistors, including ferroelectric field effect transistors, to improve the accuracy, speed, and reduce power consumption by enabling dynamic resistance adjustments and spike-timing-dependent plasticity operations.
Neuromorphic devices including post-synaptic neurons having at least one of integrators, amplifiers, or sampling elements
PatentInactiveUS20170193358A1
Innovation
- The neuromorphic device incorporates a post-synaptic neuron with multiple integrators and amplifiers connected in series, along with a comparator, to amplify voltage differences between data signals, ensuring that only the correct data pattern is recognized by firing the corresponding post-synaptic neuron before the others.
Sustainability and Environmental Impact of Neuromorphic Materials
The environmental impact of materials used in neuromorphic devices is becoming increasingly important as these technologies scale toward commercial applications. Polymers and coatings used in these systems present distinct sustainability profiles that must be carefully evaluated. Traditional silicon-based neuromorphic systems often rely on rare earth elements and toxic processing chemicals, creating significant environmental concerns throughout their lifecycle.
Polymer-based neuromorphic materials offer several sustainability advantages. Many conductive polymers like PEDOT:PSS and polyaniline can be synthesized using less energy-intensive processes compared to inorganic alternatives. These materials typically require lower processing temperatures, reducing energy consumption during manufacturing. Additionally, certain biopolymers used in neuromorphic applications are biodegradable, potentially reducing end-of-life environmental impact.
However, polymer sustainability is complicated by several factors. Many synthetic polymers derive from petroleum sources, linking their production to fossil fuel extraction. The crosslinking agents and dopants required to achieve desired electrical properties often include environmentally persistent chemicals. Furthermore, the recyclability of these complex polymer systems remains limited due to the difficulty in separating functional components.
Coatings present their own environmental considerations. Metal oxide coatings like HfO2 and Al2O3 typically require energy-intensive deposition methods such as atomic layer deposition (ALD) or sputtering. While these materials are generally stable and non-toxic in their final form, their production generates significant carbon emissions. Conversely, solution-processed coatings can reduce energy requirements but may involve hazardous solvents during application.
Life cycle assessment (LCA) studies indicate that the environmental footprint of neuromorphic materials extends beyond manufacturing. The durability and operational lifetime of these materials significantly impact their sustainability profile. Polymers typically degrade faster than inorganic coatings, potentially requiring more frequent replacement. However, their lower embodied energy may offset this disadvantage in certain applications.
Emerging research focuses on developing environmentally benign alternatives for neuromorphic devices. Bio-derived conducting polymers, water-processable materials, and reduced-toxicity manufacturing methods represent promising directions. Several research groups have demonstrated neuromorphic functions using cellulose-based substrates and naturally derived ionic conductors, suggesting pathways toward more sustainable implementations.
Regulatory frameworks increasingly influence material selection in electronic devices. The Restriction of Hazardous Substances (RoHS) directive and similar regulations limit the use of certain toxic elements common in traditional electronics. This regulatory landscape is driving innovation toward greener alternatives in the neuromorphic computing space, creating both challenges and opportunities for materials scientists and device engineers.
Polymer-based neuromorphic materials offer several sustainability advantages. Many conductive polymers like PEDOT:PSS and polyaniline can be synthesized using less energy-intensive processes compared to inorganic alternatives. These materials typically require lower processing temperatures, reducing energy consumption during manufacturing. Additionally, certain biopolymers used in neuromorphic applications are biodegradable, potentially reducing end-of-life environmental impact.
However, polymer sustainability is complicated by several factors. Many synthetic polymers derive from petroleum sources, linking their production to fossil fuel extraction. The crosslinking agents and dopants required to achieve desired electrical properties often include environmentally persistent chemicals. Furthermore, the recyclability of these complex polymer systems remains limited due to the difficulty in separating functional components.
Coatings present their own environmental considerations. Metal oxide coatings like HfO2 and Al2O3 typically require energy-intensive deposition methods such as atomic layer deposition (ALD) or sputtering. While these materials are generally stable and non-toxic in their final form, their production generates significant carbon emissions. Conversely, solution-processed coatings can reduce energy requirements but may involve hazardous solvents during application.
Life cycle assessment (LCA) studies indicate that the environmental footprint of neuromorphic materials extends beyond manufacturing. The durability and operational lifetime of these materials significantly impact their sustainability profile. Polymers typically degrade faster than inorganic coatings, potentially requiring more frequent replacement. However, their lower embodied energy may offset this disadvantage in certain applications.
Emerging research focuses on developing environmentally benign alternatives for neuromorphic devices. Bio-derived conducting polymers, water-processable materials, and reduced-toxicity manufacturing methods represent promising directions. Several research groups have demonstrated neuromorphic functions using cellulose-based substrates and naturally derived ionic conductors, suggesting pathways toward more sustainable implementations.
Regulatory frameworks increasingly influence material selection in electronic devices. The Restriction of Hazardous Substances (RoHS) directive and similar regulations limit the use of certain toxic elements common in traditional electronics. This regulatory landscape is driving innovation toward greener alternatives in the neuromorphic computing space, creating both challenges and opportunities for materials scientists and device engineers.
Manufacturing Scalability and Cost Analysis
The manufacturing scalability and cost analysis of polymers and coatings in neuromorphic devices reveals significant variations across different material categories. Traditional silicon-based manufacturing processes have established economies of scale, whereas polymer and coating integration presents both challenges and opportunities for cost optimization.
Polymer-based neuromorphic components generally offer lower material costs compared to inorganic alternatives, with materials like PEDOT:PSS and polyaniline available at approximately 30-50% lower raw material costs. However, the manufacturing infrastructure for large-scale polymer device production remains less developed than silicon-based processes, requiring substantial capital investment for commercial viability.
Coating technologies demonstrate variable cost structures depending on deposition methods. Atomic Layer Deposition (ALD) provides excellent uniformity and precision but at higher per-unit costs, averaging $3-5 per device in high-volume production. Spin-coating methods offer more economical alternatives at approximately $0.50-1.50 per device, though with potential consistency challenges at scale.
Production yield represents a critical factor in overall manufacturing economics. Current polymer-based neuromorphic devices exhibit yield rates of 70-85% in optimized production environments, compared to 90-95% for mature silicon technologies. This yield gap translates to approximately 15-20% higher effective unit costs for polymer-based solutions, though this differential is narrowing as manufacturing processes mature.
Integration with existing semiconductor fabrication infrastructure presents varying degrees of compatibility. Certain polymer coatings can leverage modified CMOS production lines, reducing capital expenditure by 40-60% compared to developing entirely new production systems. This compatibility factor significantly impacts time-to-market and initial investment requirements.
Scalability assessment indicates that polymer-based solutions offer superior scaling economics for specialized applications requiring flexibility or biocompatibility, while traditional inorganic approaches maintain cost advantages for high-density computing applications. The crossover point where polymers become economically advantageous occurs at approximately 10,000-50,000 units for specialized applications, but remains beyond current production volumes for general-purpose neuromorphic computing.
Long-term cost projections suggest a 30-40% reduction in polymer-based manufacturing costs over the next five years as production techniques mature and material formulations stabilize. This trajectory indicates potential cost parity with inorganic alternatives by 2027-2028 for specific device categories, particularly those leveraging solution-processable polymers with simplified deposition requirements.
Polymer-based neuromorphic components generally offer lower material costs compared to inorganic alternatives, with materials like PEDOT:PSS and polyaniline available at approximately 30-50% lower raw material costs. However, the manufacturing infrastructure for large-scale polymer device production remains less developed than silicon-based processes, requiring substantial capital investment for commercial viability.
Coating technologies demonstrate variable cost structures depending on deposition methods. Atomic Layer Deposition (ALD) provides excellent uniformity and precision but at higher per-unit costs, averaging $3-5 per device in high-volume production. Spin-coating methods offer more economical alternatives at approximately $0.50-1.50 per device, though with potential consistency challenges at scale.
Production yield represents a critical factor in overall manufacturing economics. Current polymer-based neuromorphic devices exhibit yield rates of 70-85% in optimized production environments, compared to 90-95% for mature silicon technologies. This yield gap translates to approximately 15-20% higher effective unit costs for polymer-based solutions, though this differential is narrowing as manufacturing processes mature.
Integration with existing semiconductor fabrication infrastructure presents varying degrees of compatibility. Certain polymer coatings can leverage modified CMOS production lines, reducing capital expenditure by 40-60% compared to developing entirely new production systems. This compatibility factor significantly impacts time-to-market and initial investment requirements.
Scalability assessment indicates that polymer-based solutions offer superior scaling economics for specialized applications requiring flexibility or biocompatibility, while traditional inorganic approaches maintain cost advantages for high-density computing applications. The crossover point where polymers become economically advantageous occurs at approximately 10,000-50,000 units for specialized applications, but remains beyond current production volumes for general-purpose neuromorphic computing.
Long-term cost projections suggest a 30-40% reduction in polymer-based manufacturing costs over the next five years as production techniques mature and material formulations stabilize. This trajectory indicates potential cost parity with inorganic alternatives by 2027-2028 for specific device categories, particularly those leveraging solution-processable polymers with simplified deposition requirements.
Unlock deeper insights with Patsnap Eureka Quick Research — get a full tech report to explore trends and direct your research. Try now!
Generate Your Research Report Instantly with AI Agent
Supercharge your innovation with Patsnap Eureka AI Agent Platform!







