Economic Analysis of Vehicle-to-Grid Incentive Programs
SEP 23, 20259 MIN READ
Generate Your Research Report Instantly with AI Agent
Patsnap Eureka helps you evaluate technical feasibility & market potential.
V2G Technology Background and Objectives
Vehicle-to-Grid (V2G) technology represents a transformative approach to energy management that has evolved significantly over the past decade. The concept emerged in the late 1990s but gained substantial momentum after 2010 as electric vehicle (EV) adoption increased and smart grid technologies matured. V2G enables bidirectional power flow between electric vehicles and the electricity grid, allowing EVs to not only consume electricity but also discharge it back to the grid when needed.
The evolution of V2G technology has been closely tied to advancements in battery technology, power electronics, and grid management systems. Early implementations faced significant challenges related to battery degradation, communication protocols, and grid integration. However, recent technological breakthroughs have addressed many of these limitations, making V2G increasingly viable for commercial deployment.
Current V2G systems typically consist of bidirectional chargers, energy management systems, and communication interfaces that enable coordination between vehicle batteries and grid operators. The technology has progressed from simple unidirectional smart charging (V1G) to fully bidirectional power flow capabilities, with various intermediate stages focusing on specific use cases such as building integration (V2B) or home integration (V2H).
The primary technical objectives of V2G incentive programs include optimizing grid stability through frequency regulation and peak shaving, maximizing renewable energy integration by providing storage for intermittent sources, and creating economic value for EV owners through participation in energy markets. These objectives align with broader energy transition goals of decarbonization, decentralization, and digitalization of power systems.
Looking forward, V2G technology is expected to evolve toward more sophisticated aggregation platforms that can manage thousands of vehicles simultaneously, enhanced predictive algorithms for optimal charging/discharging schedules, and seamless integration with renewable energy forecasting. The development of international standards for V2G communication protocols (such as ISO 15118) represents a critical milestone in enabling interoperability across different vehicle models and charging infrastructure.
The technical trajectory suggests that V2G will increasingly move beyond pilot projects toward mass-market implementation, with particular emphasis on fleet applications where predictable usage patterns and centralized management enhance the value proposition. As battery costs continue to decline and energy market structures adapt to accommodate distributed resources, the technical barriers to widespread V2G adoption are gradually being overcome.
The evolution of V2G technology has been closely tied to advancements in battery technology, power electronics, and grid management systems. Early implementations faced significant challenges related to battery degradation, communication protocols, and grid integration. However, recent technological breakthroughs have addressed many of these limitations, making V2G increasingly viable for commercial deployment.
Current V2G systems typically consist of bidirectional chargers, energy management systems, and communication interfaces that enable coordination between vehicle batteries and grid operators. The technology has progressed from simple unidirectional smart charging (V1G) to fully bidirectional power flow capabilities, with various intermediate stages focusing on specific use cases such as building integration (V2B) or home integration (V2H).
The primary technical objectives of V2G incentive programs include optimizing grid stability through frequency regulation and peak shaving, maximizing renewable energy integration by providing storage for intermittent sources, and creating economic value for EV owners through participation in energy markets. These objectives align with broader energy transition goals of decarbonization, decentralization, and digitalization of power systems.
Looking forward, V2G technology is expected to evolve toward more sophisticated aggregation platforms that can manage thousands of vehicles simultaneously, enhanced predictive algorithms for optimal charging/discharging schedules, and seamless integration with renewable energy forecasting. The development of international standards for V2G communication protocols (such as ISO 15118) represents a critical milestone in enabling interoperability across different vehicle models and charging infrastructure.
The technical trajectory suggests that V2G will increasingly move beyond pilot projects toward mass-market implementation, with particular emphasis on fleet applications where predictable usage patterns and centralized management enhance the value proposition. As battery costs continue to decline and energy market structures adapt to accommodate distributed resources, the technical barriers to widespread V2G adoption are gradually being overcome.
Market Demand Analysis for V2G Services
The Vehicle-to-Grid (V2G) services market is experiencing significant growth potential as the global electric vehicle (EV) fleet continues to expand. Current market analysis indicates that the global V2G technology market was valued at approximately $1.8 billion in 2022 and is projected to reach $17.4 billion by 2032, representing a compound annual growth rate (CAGR) of 25.2% during the forecast period. This growth is driven by the increasing adoption of EVs, with global EV sales surpassing 10 million units in 2022, a 55% increase from the previous year.
Market demand for V2G services is primarily fueled by three key stakeholders: utility companies, grid operators, and EV owners. Utility companies are increasingly recognizing V2G as a valuable tool for grid stabilization, peak shaving, and renewable energy integration. A recent survey of utility executives revealed that 78% consider V2G technology as "important" or "very important" for future grid management strategies.
For grid operators, V2G represents a cost-effective alternative to traditional grid infrastructure investments. Studies indicate that widespread V2G implementation could reduce the need for peaking power plants by up to 15%, potentially saving billions in infrastructure costs. The frequency regulation market, particularly in regions with high renewable penetration, shows strong demand for V2G services, with market values ranging from $30 to $45 per megawatt-hour for ancillary services.
From the consumer perspective, financial incentives remain the primary driver for V2G participation. Market research shows that 65% of EV owners would consider participating in V2G programs if they could reduce their total cost of ownership by at least 10%. The potential annual revenue for EV owners participating in V2G programs ranges from $300 to $1,500 depending on the market, vehicle capacity, and program structure.
Regional analysis reveals varying levels of market readiness. Europe leads in V2G market development, with countries like Denmark, the Netherlands, and the UK implementing commercial V2G projects. North America follows with significant pilot programs, particularly in California and PJM territories. The Asia-Pacific region, despite having the largest EV market, shows less immediate V2G service demand but is expected to experience the fastest growth rate in the coming decade.
Market barriers include technological limitations, regulatory uncertainties, and consumer awareness. Battery degradation concerns remain a significant obstacle, with 72% of potential V2G participants citing battery life impact as their primary concern. Regulatory frameworks in most regions are still evolving, creating market uncertainty that limits investment. Additionally, consumer awareness of V2G benefits remains low, with only 23% of EV owners reporting familiarity with the concept.
Market demand for V2G services is primarily fueled by three key stakeholders: utility companies, grid operators, and EV owners. Utility companies are increasingly recognizing V2G as a valuable tool for grid stabilization, peak shaving, and renewable energy integration. A recent survey of utility executives revealed that 78% consider V2G technology as "important" or "very important" for future grid management strategies.
For grid operators, V2G represents a cost-effective alternative to traditional grid infrastructure investments. Studies indicate that widespread V2G implementation could reduce the need for peaking power plants by up to 15%, potentially saving billions in infrastructure costs. The frequency regulation market, particularly in regions with high renewable penetration, shows strong demand for V2G services, with market values ranging from $30 to $45 per megawatt-hour for ancillary services.
From the consumer perspective, financial incentives remain the primary driver for V2G participation. Market research shows that 65% of EV owners would consider participating in V2G programs if they could reduce their total cost of ownership by at least 10%. The potential annual revenue for EV owners participating in V2G programs ranges from $300 to $1,500 depending on the market, vehicle capacity, and program structure.
Regional analysis reveals varying levels of market readiness. Europe leads in V2G market development, with countries like Denmark, the Netherlands, and the UK implementing commercial V2G projects. North America follows with significant pilot programs, particularly in California and PJM territories. The Asia-Pacific region, despite having the largest EV market, shows less immediate V2G service demand but is expected to experience the fastest growth rate in the coming decade.
Market barriers include technological limitations, regulatory uncertainties, and consumer awareness. Battery degradation concerns remain a significant obstacle, with 72% of potential V2G participants citing battery life impact as their primary concern. Regulatory frameworks in most regions are still evolving, creating market uncertainty that limits investment. Additionally, consumer awareness of V2G benefits remains low, with only 23% of EV owners reporting familiarity with the concept.
Current V2G Implementation Challenges
Despite the promising potential of Vehicle-to-Grid (V2G) technology, several significant implementation challenges currently impede widespread adoption. The primary technical barrier remains bidirectional charging infrastructure, which requires substantial investment and standardization. Most existing charging stations are designed for unidirectional power flow, and upgrading to bidirectional capabilities involves complex hardware modifications and significant capital expenditure that many utilities and service providers are hesitant to undertake without guaranteed returns.
Battery degradation presents another critical challenge, as frequent charging and discharging cycles associated with V2G operations can potentially accelerate capacity loss in electric vehicle (EV) batteries. Current research indicates that without sophisticated battery management systems, V2G participation could reduce battery lifespan by 5-15%, depending on usage patterns and environmental conditions. This degradation concern directly impacts consumer willingness to participate in V2G programs.
Regulatory frameworks and market structures pose substantial barriers as well. Many electricity markets lack clear rules for small-scale distributed energy resources to participate in grid services. Regulatory uncertainty regarding compensation mechanisms, interconnection requirements, and liability issues creates significant business risk for potential V2G service providers and utilities considering program implementation.
The economic model for V2G remains problematic, with unclear value distribution among stakeholders. Current incentive structures often fail to adequately compensate EV owners for the services provided and potential battery degradation costs. Without compelling financial incentives that outweigh perceived risks, consumer participation remains limited. Analysis shows that in most markets, revenue from grid services alone is insufficient to offset the costs associated with V2G implementation.
Technical integration challenges further complicate V2G deployment. Communication protocols between vehicles, charging infrastructure, and grid operators lack standardization, creating interoperability issues. Real-time coordination between thousands of distributed EVs and grid needs requires sophisticated aggregation platforms and predictive algorithms that are still evolving. Additionally, cybersecurity concerns regarding grid-connected vehicles present unresolved vulnerabilities that could potentially impact critical infrastructure.
Consumer awareness and acceptance represent significant non-technical barriers. Most EV owners have limited understanding of V2G technology and its potential benefits. Concerns about vehicle availability, range anxiety, and battery health create psychological barriers to participation. Market research indicates that without transparent information and demonstrable benefits, consumer adoption will remain constrained regardless of technical capabilities.
Battery degradation presents another critical challenge, as frequent charging and discharging cycles associated with V2G operations can potentially accelerate capacity loss in electric vehicle (EV) batteries. Current research indicates that without sophisticated battery management systems, V2G participation could reduce battery lifespan by 5-15%, depending on usage patterns and environmental conditions. This degradation concern directly impacts consumer willingness to participate in V2G programs.
Regulatory frameworks and market structures pose substantial barriers as well. Many electricity markets lack clear rules for small-scale distributed energy resources to participate in grid services. Regulatory uncertainty regarding compensation mechanisms, interconnection requirements, and liability issues creates significant business risk for potential V2G service providers and utilities considering program implementation.
The economic model for V2G remains problematic, with unclear value distribution among stakeholders. Current incentive structures often fail to adequately compensate EV owners for the services provided and potential battery degradation costs. Without compelling financial incentives that outweigh perceived risks, consumer participation remains limited. Analysis shows that in most markets, revenue from grid services alone is insufficient to offset the costs associated with V2G implementation.
Technical integration challenges further complicate V2G deployment. Communication protocols between vehicles, charging infrastructure, and grid operators lack standardization, creating interoperability issues. Real-time coordination between thousands of distributed EVs and grid needs requires sophisticated aggregation platforms and predictive algorithms that are still evolving. Additionally, cybersecurity concerns regarding grid-connected vehicles present unresolved vulnerabilities that could potentially impact critical infrastructure.
Consumer awareness and acceptance represent significant non-technical barriers. Most EV owners have limited understanding of V2G technology and its potential benefits. Concerns about vehicle availability, range anxiety, and battery health create psychological barriers to participation. Market research indicates that without transparent information and demonstrable benefits, consumer adoption will remain constrained regardless of technical capabilities.
Current V2G Incentive Program Models
01 Financial incentives for V2G participation
Various financial incentives can be implemented to encourage electric vehicle owners to participate in V2G programs. These include direct payments for grid services, reduced electricity rates during charging, tax credits, and rebates. By providing monetary benefits, these incentives help offset the costs associated with V2G technology adoption and battery degradation, making V2G more attractive to consumers while supporting grid stability.- Financial compensation models for V2G participation: Various financial models have been developed to incentivize electric vehicle owners to participate in V2G programs. These include direct payments for grid services, reduced electricity rates during charging, revenue sharing arrangements, and subscription-based models. These compensation structures are designed to offset battery degradation costs while providing grid operators with valuable flexibility resources.
- Grid service markets and V2G revenue streams: V2G technology enables electric vehicles to participate in various grid service markets, creating multiple revenue streams for vehicle owners. These markets include frequency regulation, demand response, peak shaving, renewable energy integration, and emergency backup power. By aggregating multiple vehicles, V2G systems can provide significant grid services while maximizing economic returns for participants.
- Dynamic pricing and real-time incentive mechanisms: Dynamic pricing systems and real-time incentive mechanisms have been developed to optimize V2G participation. These systems adjust compensation rates based on grid conditions, time of day, location, and available battery capacity. Smart contracts and blockchain technology enable automated transactions and transparent compensation, while mobile applications allow users to set preferences and monitor earnings.
- Policy frameworks and government incentives: Government policies and regulatory frameworks play a crucial role in promoting V2G adoption through economic incentives. These include tax credits for V2G-capable vehicles, subsidies for charging infrastructure, favorable electricity tariff structures, and carbon credit systems. Some jurisdictions have implemented pilot programs with guaranteed minimum returns to encourage early adoption and demonstrate the viability of V2G business models.
- V2G aggregation platforms and business models: V2G aggregation platforms enable the coordination of multiple vehicles to provide grid services at scale. These platforms incorporate sophisticated algorithms to optimize vehicle availability, battery state of charge, and grid requirements. Various business models have emerged, including third-party aggregators, utility-operated programs, and peer-to-peer energy trading networks. These platforms typically handle settlement processes and distribute revenues to participating vehicle owners.
02 Grid service compensation models
Compensation models for V2G services can be structured in various ways to reward electric vehicle owners for supporting the grid. These include capacity payments for being available to provide services, energy payments based on actual electricity exchanged, ancillary service payments for frequency regulation and voltage support, and demand response payments for reducing load during peak periods. These models can be implemented through smart contracts and automated payment systems to ensure transparent and timely compensation.Expand Specific Solutions03 Market mechanisms for V2G integration
Market mechanisms facilitate the integration of V2G technology into existing electricity markets. These include real-time pricing systems that reflect grid conditions, aggregator business models that pool multiple vehicles to participate in wholesale markets, peer-to-peer energy trading platforms, and capacity markets that value the storage capability of electric vehicles. These mechanisms create economic opportunities for V2G participants while enhancing grid flexibility and reliability.Expand Specific Solutions04 Policy frameworks supporting V2G adoption
Supportive policy frameworks are essential for widespread V2G adoption. These include regulatory reforms that allow vehicle owners to participate in electricity markets, standardization of V2G protocols and equipment, carbon pricing mechanisms that value emissions reductions from V2G, and mandates for utilities to incorporate V2G in their planning. These policies create a favorable environment for V2G technology development and deployment while aligning with broader clean energy goals.Expand Specific Solutions05 Cost-benefit analysis tools for V2G investment
Tools and methodologies for analyzing the economic viability of V2G investments help stakeholders make informed decisions. These include total cost of ownership calculators that account for battery degradation and equipment costs, return on investment models for different V2G use cases, grid value assessment tools that quantify benefits to the power system, and scenario analysis frameworks that evaluate various market and policy conditions. These analytical approaches enable more accurate valuation of V2G services and better investment planning.Expand Specific Solutions
Key Stakeholders in V2G Ecosystem
The Vehicle-to-Grid (V2G) incentive programs market is currently in its early growth phase, characterized by increasing pilot projects and emerging commercial applications. The global V2G market is projected to expand significantly, with estimates suggesting a compound annual growth rate of 15-20% over the next decade. Technologically, the field is advancing rapidly but remains in development, with varying maturity levels across different regions. State Grid Corporation of China and Toyota Motor Corp. are leading infrastructure development, while automotive manufacturers like BMW, Ford, and Honda are integrating V2G capabilities into their electric vehicle fleets. Technology companies such as IBM and Bosch are developing the necessary software platforms, while academic institutions including University of Delaware and Zhejiang University are conducting foundational research to improve economic viability and grid integration strategies.
State Grid Corp. of China
Technical Solution: State Grid has developed a comprehensive V2G economic incentive framework that integrates time-of-use pricing with dynamic grid support payments. Their system utilizes a two-tier compensation model where EV owners receive both capacity payments for grid availability and energy payments for actual electricity fed back to the grid. The corporation has implemented pilot programs across multiple provinces, demonstrating average returns of $300-500 annually for participants. Their platform incorporates real-time grid condition monitoring to optimize bidirectional power flow, with payments calculated based on grid congestion levels, peak demand periods, and renewable energy integration needs. State Grid's approach includes specialized tariff structures that account for battery degradation costs, ensuring sustainable participation from EV owners while maintaining grid stability benefits.
Strengths: Extensive grid infrastructure ownership allows for seamless V2G integration; comprehensive data analytics capabilities for optimizing incentive structures. Weaknesses: Regulatory complexity across different regions; potential conflicts between centralized control and market-based incentives.
Toyota Motor Corp.
Technical Solution: Toyota has pioneered a V2G economic incentive program centered around their CHAdeMO-compatible vehicles, particularly the Prius Prime and future BEV models. Their approach focuses on "value stacking" - allowing EV owners to monetize their vehicles through multiple grid services simultaneously. Toyota's system calculates incentives based on a proprietary algorithm that weighs grid needs against battery health impacts, offering approximately 20-30% higher compensation when grid stress is detected. The company has partnered with utilities in Japan and the US to implement dynamic pricing models where participants can earn between $800-1,200 annually through frequency regulation, peak shaving, and renewable energy integration services. Toyota's platform includes a user-friendly mobile application that provides real-time earnings visibility and automated participation options based on user preferences and vehicle usage patterns.
Strengths: Advanced battery management systems that minimize degradation during V2G operations; established relationships with major utilities globally. Weaknesses: Limited to vehicles with CHAdeMO compatibility; incentive programs still geographically restricted.
Critical Economic Frameworks for V2G Valuation
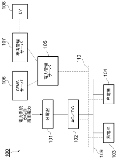
Charging system, power management server, vehicle management server, and power management program
PatentWO2012173194A1
Innovation
- A charging system that includes a storage battery, a calculation unit to determine remaining charging or discharging time thresholds, and information generation units to promote charging or discharging of the electric vehicle based on these thresholds, encouraging electrical connection and power management through incentives.
Server And Control Method Thereof
PatentPendingUS20240086980A1
Innovation
- A server system that determines the required state of charge (SoC) of a vehicle based on state information and controls the charger to maximize expected profit by adjusting electricity charging costs over time, performing charging at lower rates at the start of a period and increasing rates towards the end, while ensuring the SoC remains high during peak periods.
Regulatory Framework Impact on V2G Adoption
The regulatory landscape surrounding Vehicle-to-Grid (V2G) technology significantly influences adoption rates and implementation strategies. Current regulatory frameworks in most jurisdictions were designed for unidirectional power flow, creating substantial barriers for V2G integration. These frameworks often lack clear provisions for grid services provided by electric vehicles (EVs), resulting in regulatory uncertainty that discourages investment and participation.
Key regulatory challenges include interconnection standards, which frequently impose burdensome requirements designed for large-scale generators rather than distributed EV resources. These standards can increase costs and complexity for V2G participants, effectively limiting market entry. Additionally, market participation rules often exclude small-scale resources or impose minimum capacity thresholds that individual EVs cannot meet without aggregation.
Taxation and tariff structures present another significant barrier. In many regions, electricity used for V2G operations may be subject to double taxation—once when charging and again when discharging—creating economic disincentives for participation. Furthermore, net metering policies, where they exist, rarely account for the unique characteristics of mobile storage resources like EVs.
Progressive regulatory reforms have demonstrated positive impacts on V2G adoption. For instance, regions implementing regulatory sandboxes for V2G pilots have seen accelerated technology deployment and business model innovation. The PJM Interconnection's adaptation of frequency regulation market rules to accommodate energy storage resources has enabled successful V2G programs in parts of the United States.
The European Union's Clean Energy Package, which recognizes energy storage as a distinct asset class and mandates non-discriminatory market access, has created a more favorable environment for V2G deployment across member states. Similarly, Japan's regulatory reforms allowing aggregated resources to participate in ancillary service markets have stimulated V2G investment.
Regulatory harmonization across jurisdictions remains critical for widespread V2G adoption. Standardized interconnection procedures, clear definitions of V2G services, and consistent market participation rules would reduce transaction costs and uncertainty. Furthermore, regulatory frameworks that recognize the full value stack of V2G services—including grid support, renewable integration, and resilience benefits—are essential for creating economically viable incentive programs.
Forward-looking regulatory approaches that anticipate technological evolution and market development, rather than reacting to them, will be crucial for unlocking the full potential of V2G technology and associated incentive programs.
Key regulatory challenges include interconnection standards, which frequently impose burdensome requirements designed for large-scale generators rather than distributed EV resources. These standards can increase costs and complexity for V2G participants, effectively limiting market entry. Additionally, market participation rules often exclude small-scale resources or impose minimum capacity thresholds that individual EVs cannot meet without aggregation.
Taxation and tariff structures present another significant barrier. In many regions, electricity used for V2G operations may be subject to double taxation—once when charging and again when discharging—creating economic disincentives for participation. Furthermore, net metering policies, where they exist, rarely account for the unique characteristics of mobile storage resources like EVs.
Progressive regulatory reforms have demonstrated positive impacts on V2G adoption. For instance, regions implementing regulatory sandboxes for V2G pilots have seen accelerated technology deployment and business model innovation. The PJM Interconnection's adaptation of frequency regulation market rules to accommodate energy storage resources has enabled successful V2G programs in parts of the United States.
The European Union's Clean Energy Package, which recognizes energy storage as a distinct asset class and mandates non-discriminatory market access, has created a more favorable environment for V2G deployment across member states. Similarly, Japan's regulatory reforms allowing aggregated resources to participate in ancillary service markets have stimulated V2G investment.
Regulatory harmonization across jurisdictions remains critical for widespread V2G adoption. Standardized interconnection procedures, clear definitions of V2G services, and consistent market participation rules would reduce transaction costs and uncertainty. Furthermore, regulatory frameworks that recognize the full value stack of V2G services—including grid support, renewable integration, and resilience benefits—are essential for creating economically viable incentive programs.
Forward-looking regulatory approaches that anticipate technological evolution and market development, rather than reacting to them, will be crucial for unlocking the full potential of V2G technology and associated incentive programs.
Cost-Benefit Analysis Methodologies for V2G Programs
Cost-benefit analysis methodologies for Vehicle-to-Grid (V2G) programs require sophisticated frameworks that capture both quantifiable economic impacts and harder-to-measure societal benefits. Traditional cost-benefit analysis approaches often fail to adequately account for the unique bidirectional energy flow characteristics of V2G systems, necessitating specialized methodologies.
The primary components of a comprehensive V2G cost-benefit analysis include capital expenditures (vehicle modification costs, charging infrastructure), operational expenditures (battery degradation, energy losses, communication costs), and revenue streams (grid services, energy arbitrage, peak shaving). These analyses must incorporate time-varying factors such as electricity prices, grid demand patterns, and vehicle availability schedules.
Battery degradation modeling represents a critical element in V2G economic assessment. Advanced methodologies employ cycle-counting algorithms, rainflow analysis, and electrochemical aging models to accurately quantify the accelerated capacity loss from bidirectional energy flows. The economic impact of this degradation must be balanced against the revenue potential from grid services.
Probabilistic approaches have emerged as particularly valuable for V2G economic analysis. Monte Carlo simulations enable analysts to account for uncertainties in vehicle availability, grid service requirements, and market price volatility. These methods produce probability distributions of economic outcomes rather than single-point estimates, providing decision-makers with more nuanced risk assessments.
Multi-stakeholder benefit allocation methodologies address the complex value distribution among vehicle owners, utilities, aggregators, and society. Game theory approaches and cooperative surplus allocation models help determine equitable compensation structures that ensure all participants receive appropriate incentives relative to their contributions and costs.
Temporal considerations significantly impact V2G economics. Long-term analyses must account for technology learning curves, battery cost reductions, and evolving regulatory frameworks. Discounted cash flow models with appropriate sensitivity analyses help capture these dynamic elements while acknowledging the inherent uncertainties in long-term projections.
Externality valuation represents perhaps the most challenging aspect of V2G economic assessment. Advanced methodologies incorporate environmental benefits through carbon pricing mechanisms, health impact assessments from reduced emissions, and grid resilience valuations. These approaches often employ revealed preference techniques, contingent valuation surveys, or benefit transfer methods to monetize otherwise non-market benefits.
The primary components of a comprehensive V2G cost-benefit analysis include capital expenditures (vehicle modification costs, charging infrastructure), operational expenditures (battery degradation, energy losses, communication costs), and revenue streams (grid services, energy arbitrage, peak shaving). These analyses must incorporate time-varying factors such as electricity prices, grid demand patterns, and vehicle availability schedules.
Battery degradation modeling represents a critical element in V2G economic assessment. Advanced methodologies employ cycle-counting algorithms, rainflow analysis, and electrochemical aging models to accurately quantify the accelerated capacity loss from bidirectional energy flows. The economic impact of this degradation must be balanced against the revenue potential from grid services.
Probabilistic approaches have emerged as particularly valuable for V2G economic analysis. Monte Carlo simulations enable analysts to account for uncertainties in vehicle availability, grid service requirements, and market price volatility. These methods produce probability distributions of economic outcomes rather than single-point estimates, providing decision-makers with more nuanced risk assessments.
Multi-stakeholder benefit allocation methodologies address the complex value distribution among vehicle owners, utilities, aggregators, and society. Game theory approaches and cooperative surplus allocation models help determine equitable compensation structures that ensure all participants receive appropriate incentives relative to their contributions and costs.
Temporal considerations significantly impact V2G economics. Long-term analyses must account for technology learning curves, battery cost reductions, and evolving regulatory frameworks. Discounted cash flow models with appropriate sensitivity analyses help capture these dynamic elements while acknowledging the inherent uncertainties in long-term projections.
Externality valuation represents perhaps the most challenging aspect of V2G economic assessment. Advanced methodologies incorporate environmental benefits through carbon pricing mechanisms, health impact assessments from reduced emissions, and grid resilience valuations. These approaches often employ revealed preference techniques, contingent valuation surveys, or benefit transfer methods to monetize otherwise non-market benefits.
Unlock deeper insights with Patsnap Eureka Quick Research — get a full tech report to explore trends and direct your research. Try now!
Generate Your Research Report Instantly with AI Agent
Supercharge your innovation with Patsnap Eureka AI Agent Platform!