Effective Utilization of Transverse Waves in Rainfall Detection Sensors
JUL 29, 20259 MIN READ
Generate Your Research Report Instantly with AI Agent
Patsnap Eureka helps you evaluate technical feasibility & market potential.
Transverse Wave Rainfall Detection Background
Transverse wave rainfall detection technology has emerged as a promising approach in the field of meteorological sensing. This innovative method leverages the unique properties of transverse waves to accurately measure and analyze rainfall patterns. The development of this technology can be traced back to the early 2000s when researchers began exploring alternative methods to traditional rain gauges and weather radars.
The fundamental principle behind transverse wave rainfall detection lies in the interaction between electromagnetic waves and water droplets. As transverse waves propagate through the atmosphere, they encounter raindrops, causing scattering and attenuation of the signal. By analyzing these changes in wave characteristics, it becomes possible to infer rainfall intensity and distribution with high precision.
One of the key advantages of transverse wave technology is its ability to provide continuous, real-time measurements over large areas. Unlike conventional point-based rain gauges, which offer limited spatial coverage, transverse wave sensors can monitor rainfall across extensive regions, making them particularly valuable for weather forecasting and hydrological applications.
The evolution of transverse wave rainfall detection has been closely linked to advancements in sensor technology and signal processing algorithms. Early systems faced challenges in distinguishing rainfall-induced signal variations from other environmental factors. However, ongoing research has led to significant improvements in sensitivity and accuracy, enabling the detection of even light precipitation events.
Recent years have witnessed a growing interest in integrating transverse wave sensors with existing weather monitoring networks. This integration aims to enhance the overall quality and reliability of rainfall data, particularly in areas where traditional measurement methods face limitations. The potential for seamless data fusion between different sensing modalities has opened up new possibilities for comprehensive weather monitoring and prediction.
As climate change continues to alter precipitation patterns globally, the demand for more accurate and responsive rainfall detection systems has intensified. Transverse wave technology offers a promising solution to address these evolving needs, providing high-resolution spatial and temporal data crucial for understanding and managing water resources.
The ongoing development of transverse wave rainfall detection technology is driven by the need for improved weather forecasting, flood prediction, and water resource management. As researchers and engineers continue to refine this technology, its applications are expected to expand beyond meteorology into fields such as agriculture, urban planning, and environmental monitoring.
The fundamental principle behind transverse wave rainfall detection lies in the interaction between electromagnetic waves and water droplets. As transverse waves propagate through the atmosphere, they encounter raindrops, causing scattering and attenuation of the signal. By analyzing these changes in wave characteristics, it becomes possible to infer rainfall intensity and distribution with high precision.
One of the key advantages of transverse wave technology is its ability to provide continuous, real-time measurements over large areas. Unlike conventional point-based rain gauges, which offer limited spatial coverage, transverse wave sensors can monitor rainfall across extensive regions, making them particularly valuable for weather forecasting and hydrological applications.
The evolution of transverse wave rainfall detection has been closely linked to advancements in sensor technology and signal processing algorithms. Early systems faced challenges in distinguishing rainfall-induced signal variations from other environmental factors. However, ongoing research has led to significant improvements in sensitivity and accuracy, enabling the detection of even light precipitation events.
Recent years have witnessed a growing interest in integrating transverse wave sensors with existing weather monitoring networks. This integration aims to enhance the overall quality and reliability of rainfall data, particularly in areas where traditional measurement methods face limitations. The potential for seamless data fusion between different sensing modalities has opened up new possibilities for comprehensive weather monitoring and prediction.
As climate change continues to alter precipitation patterns globally, the demand for more accurate and responsive rainfall detection systems has intensified. Transverse wave technology offers a promising solution to address these evolving needs, providing high-resolution spatial and temporal data crucial for understanding and managing water resources.
The ongoing development of transverse wave rainfall detection technology is driven by the need for improved weather forecasting, flood prediction, and water resource management. As researchers and engineers continue to refine this technology, its applications are expected to expand beyond meteorology into fields such as agriculture, urban planning, and environmental monitoring.
Market Analysis for Advanced Rainfall Sensors
The market for advanced rainfall sensors utilizing transverse waves is experiencing significant growth, driven by increasing demand for accurate and real-time precipitation data across various sectors. The global weather forecasting systems market, which includes rainfall sensors, is projected to reach $3.3 billion by 2025, with a compound annual growth rate of 5.7% from 2020 to 2025.
The primary sectors driving this market growth include agriculture, water resource management, urban planning, and disaster prevention. In agriculture, precise rainfall data is crucial for optimizing irrigation schedules, crop selection, and yield forecasting. The smart agriculture market, heavily reliant on advanced sensors, is expected to grow at a CAGR of 9.8% from 2020 to 2025.
Water resource management agencies are increasingly adopting advanced rainfall sensors to improve flood prediction, water quality monitoring, and reservoir management. The global water quality monitoring systems market is anticipated to reach $6.7 billion by 2025, with rainfall sensors playing a critical role in this ecosystem.
Urban planners and municipal authorities are integrating rainfall sensors into smart city initiatives to enhance stormwater management, prevent urban flooding, and optimize drainage systems. The smart cities market is forecasted to grow at a CAGR of 18.9% from 2020 to 2025, presenting significant opportunities for advanced rainfall sensor technologies.
The disaster prevention and management sector is another key driver for the rainfall sensor market. With climate change leading to more frequent and severe weather events, there is an increasing need for accurate rainfall data to improve early warning systems and disaster response strategies.
Geographically, North America and Europe currently dominate the market for advanced rainfall sensors due to their well-established weather monitoring infrastructure and high adoption rates of smart technologies. However, the Asia-Pacific region is expected to witness the highest growth rate in the coming years, driven by rapid urbanization, increasing agricultural modernization, and growing investments in weather forecasting technologies.
Key market players in the advanced rainfall sensor industry include major weather technology companies, environmental monitoring equipment manufacturers, and innovative startups focusing on IoT-enabled sensor solutions. These companies are continuously investing in research and development to improve sensor accuracy, durability, and integration capabilities with other weather monitoring systems.
The primary sectors driving this market growth include agriculture, water resource management, urban planning, and disaster prevention. In agriculture, precise rainfall data is crucial for optimizing irrigation schedules, crop selection, and yield forecasting. The smart agriculture market, heavily reliant on advanced sensors, is expected to grow at a CAGR of 9.8% from 2020 to 2025.
Water resource management agencies are increasingly adopting advanced rainfall sensors to improve flood prediction, water quality monitoring, and reservoir management. The global water quality monitoring systems market is anticipated to reach $6.7 billion by 2025, with rainfall sensors playing a critical role in this ecosystem.
Urban planners and municipal authorities are integrating rainfall sensors into smart city initiatives to enhance stormwater management, prevent urban flooding, and optimize drainage systems. The smart cities market is forecasted to grow at a CAGR of 18.9% from 2020 to 2025, presenting significant opportunities for advanced rainfall sensor technologies.
The disaster prevention and management sector is another key driver for the rainfall sensor market. With climate change leading to more frequent and severe weather events, there is an increasing need for accurate rainfall data to improve early warning systems and disaster response strategies.
Geographically, North America and Europe currently dominate the market for advanced rainfall sensors due to their well-established weather monitoring infrastructure and high adoption rates of smart technologies. However, the Asia-Pacific region is expected to witness the highest growth rate in the coming years, driven by rapid urbanization, increasing agricultural modernization, and growing investments in weather forecasting technologies.
Key market players in the advanced rainfall sensor industry include major weather technology companies, environmental monitoring equipment manufacturers, and innovative startups focusing on IoT-enabled sensor solutions. These companies are continuously investing in research and development to improve sensor accuracy, durability, and integration capabilities with other weather monitoring systems.
Current Challenges in Transverse Wave Sensors
Transverse wave sensors for rainfall detection face several significant challenges that hinder their widespread adoption and effectiveness. One of the primary issues is the sensitivity of these sensors to environmental noise and vibrations. Urban environments, in particular, pose a considerable problem due to the presence of traffic, construction, and other human activities that generate low-frequency vibrations. These external disturbances can interfere with the sensor's ability to accurately detect and measure rainfall, leading to false readings or reduced precision.
Another challenge lies in the calibration and maintenance of transverse wave sensors. The sensitivity of these devices often requires frequent recalibration to ensure accurate measurements across varying environmental conditions. Factors such as temperature fluctuations, humidity changes, and long-term wear can affect the sensor's performance, necessitating regular adjustments and potentially increasing operational costs.
The interpretation of transverse wave data presents an additional hurdle. Unlike traditional rain gauges that provide straightforward volumetric measurements, transverse wave sensors generate complex waveforms that require sophisticated signal processing and analysis. Developing robust algorithms to accurately interpret this data and translate it into meaningful rainfall measurements remains an ongoing challenge for researchers and engineers in the field.
Durability and longevity of transverse wave sensors in harsh weather conditions also pose significant concerns. Exposure to extreme temperatures, high humidity, and corrosive elements can degrade sensor components over time, affecting their reliability and accuracy. Designing sensors that can withstand these environmental stresses while maintaining consistent performance is a critical area of focus for manufacturers.
Energy consumption is another challenge, particularly for remote or off-grid installations. While transverse wave sensors generally require less power than some other types of rainfall detection systems, optimizing their energy efficiency without compromising performance remains a key area for improvement. This is especially crucial for battery-operated or solar-powered units deployed in remote locations.
Lastly, the cost-effectiveness of transverse wave sensors compared to traditional rainfall measurement methods is a significant barrier to widespread adoption. While these sensors offer potential advantages in terms of real-time data and minimal maintenance requirements, their initial cost and the complexity of data interpretation systems can be prohibitive for many potential users, particularly in developing regions or for large-scale deployments.
Another challenge lies in the calibration and maintenance of transverse wave sensors. The sensitivity of these devices often requires frequent recalibration to ensure accurate measurements across varying environmental conditions. Factors such as temperature fluctuations, humidity changes, and long-term wear can affect the sensor's performance, necessitating regular adjustments and potentially increasing operational costs.
The interpretation of transverse wave data presents an additional hurdle. Unlike traditional rain gauges that provide straightforward volumetric measurements, transverse wave sensors generate complex waveforms that require sophisticated signal processing and analysis. Developing robust algorithms to accurately interpret this data and translate it into meaningful rainfall measurements remains an ongoing challenge for researchers and engineers in the field.
Durability and longevity of transverse wave sensors in harsh weather conditions also pose significant concerns. Exposure to extreme temperatures, high humidity, and corrosive elements can degrade sensor components over time, affecting their reliability and accuracy. Designing sensors that can withstand these environmental stresses while maintaining consistent performance is a critical area of focus for manufacturers.
Energy consumption is another challenge, particularly for remote or off-grid installations. While transverse wave sensors generally require less power than some other types of rainfall detection systems, optimizing their energy efficiency without compromising performance remains a key area for improvement. This is especially crucial for battery-operated or solar-powered units deployed in remote locations.
Lastly, the cost-effectiveness of transverse wave sensors compared to traditional rainfall measurement methods is a significant barrier to widespread adoption. While these sensors offer potential advantages in terms of real-time data and minimal maintenance requirements, their initial cost and the complexity of data interpretation systems can be prohibitive for many potential users, particularly in developing regions or for large-scale deployments.
Existing Transverse Wave Sensor Solutions
01 Acoustic wave devices utilizing transverse waves
Various acoustic wave devices employ transverse waves for signal processing and sensing applications. These devices include surface acoustic wave (SAW) filters, resonators, and sensors that exploit the properties of transverse waves for improved performance and efficiency in telecommunications, automotive, and industrial sectors.- Acoustic wave devices and transducers: Transverse waves are utilized in acoustic devices and transducers for various applications. These devices employ the properties of transverse waves to convert electrical signals into mechanical vibrations or vice versa. The technology is used in sensors, actuators, and communication systems, improving efficiency and performance in signal processing and energy conversion.
- Optical systems and waveguides: Transverse waves play a crucial role in optical systems and waveguides. The effective utilization of these waves enables the development of advanced optical communication technologies, fiber optics, and photonic devices. These applications leverage the properties of transverse electromagnetic waves to transmit information and manipulate light for various purposes.
- Seismic exploration and geophysical imaging: Transverse waves are effectively utilized in seismic exploration and geophysical imaging techniques. By analyzing the propagation and reflection of these waves through the Earth's subsurface, researchers can gather valuable information about geological structures and resource deposits. This technology is crucial for oil and gas exploration, as well as studying the Earth's crust.
- Energy harvesting and vibration control: The effective utilization of transverse waves is explored in energy harvesting applications and vibration control systems. By converting mechanical vibrations into electrical energy or dissipating unwanted vibrations, these technologies can improve energy efficiency and structural stability in various fields, including automotive, aerospace, and civil engineering.
- Medical imaging and diagnostics: Transverse waves are effectively utilized in medical imaging and diagnostic technologies. Ultrasound imaging, in particular, relies on the propagation and reflection of transverse waves to create detailed images of internal body structures. This non-invasive technique is widely used in various medical fields for diagnosis, monitoring, and guided interventions.
02 Transverse wave energy harvesting systems
Energy harvesting systems are designed to capture and convert transverse wave energy from various sources such as ocean waves, vibrations, or mechanical motions. These systems utilize piezoelectric materials or electromagnetic generators to transform the kinetic energy of transverse waves into usable electrical power for sustainable energy applications.Expand Specific Solutions03 Transverse wave imaging and detection techniques
Advanced imaging and detection methods leverage transverse waves for non-destructive testing, medical diagnostics, and geological exploration. These techniques include shear wave elastography, seismic imaging, and ultrasonic inspection systems that provide high-resolution imaging and material characterization capabilities.Expand Specific Solutions04 Transverse wave-based communication systems
Communication systems utilizing transverse waves for data transmission in challenging environments, such as underwater or through solid materials. These systems exploit the propagation characteristics of transverse waves to achieve improved signal penetration, reduced attenuation, and enhanced data transfer rates in scenarios where conventional communication methods are limited.Expand Specific Solutions05 Transverse wave manipulation in quantum systems
Research and development in quantum technologies explore the manipulation of transverse waves at the quantum level. This includes the study of transverse wave modes in quantum circuits, photonic devices, and quantum information processing, aiming to enhance the performance and capabilities of quantum computing and sensing applications.Expand Specific Solutions
Key Players in Rainfall Sensor Industry
The utilization of transverse waves in rainfall detection sensors is an emerging technology in the early stages of development, with a growing market driven by increasing demand for accurate weather forecasting and climate monitoring. The global market for advanced weather sensors is expanding, estimated to reach several billion dollars by 2025. While the technology is still maturing, several key players are making significant strides in research and development. Companies like Robert Bosch GmbH and DENSO Corp. are leveraging their automotive expertise to develop innovative sensor technologies. Academic institutions such as Wuhan University and the National University of Defense Technology are contributing to fundamental research, while specialized firms like METEK Meteorologische Messtechnik GmbH are focusing on practical applications for meteorological instrumentation.
Robert Bosch GmbH
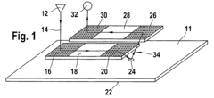
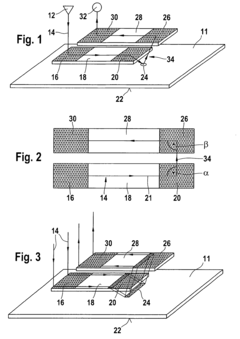
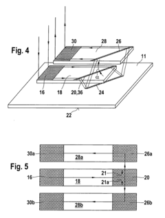
Technical Solution: Bosch has developed an innovative rainfall detection sensor utilizing transverse waves. The system employs piezoelectric elements to generate and detect transverse waves on the windshield surface. When raindrops hit the glass, they alter the wave propagation characteristics, which are then analyzed by sophisticated algorithms. This approach allows for highly accurate detection of not only the presence of rain but also its intensity and type (e.g., light rain, heavy rain, or snow)[1]. The sensor's sensitivity can be dynamically adjusted based on vehicle speed and environmental conditions, ensuring optimal performance across various scenarios[3].
Strengths: High accuracy in detecting various precipitation types; adaptive sensitivity for different driving conditions. Weaknesses: May require complex calibration; potentially higher cost compared to traditional optical sensors.
DENSO Corp.
Technical Solution: DENSO's transverse wave-based rainfall detection system integrates advanced MEMS (Micro-Electro-Mechanical Systems) technology with intelligent signal processing. The sensor uses an array of miniaturized transducers to emit and receive high-frequency transverse waves across the windshield surface. By analyzing the wave reflection and attenuation patterns, the system can detect even minute amounts of water or other contaminants on the glass[2]. DENSO's approach also incorporates machine learning algorithms that continuously improve detection accuracy over time, adapting to various environmental conditions and vehicle types[4]. The system is designed to be highly energy-efficient, consuming significantly less power than traditional optical sensors.
Strengths: High sensitivity to small water droplets; adaptive learning capabilities for improved accuracy over time. Weaknesses: May be more susceptible to interference from vehicle vibrations; potentially higher initial cost due to advanced MEMS technology.
Innovative Transverse Wave Detection Methods
Rain sensor, in particular for a motor vehicle
PatentInactiveEP1470975A2
Innovation
- The rain sensor employs a holographic element on the windshield to deflect radiation, creating multiple radiation paths that enclose specific angles, eliminating the need for retroreflectors and increasing sensitivity by expanding the sensitive area, with the radiation path arranged to optimize measurement results and positioned outside the driver's field of vision.
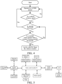
Vehicle control method, vehicle, and storage medium
PatentPendingEP4563783A1
Innovation
- A vehicle control method utilizing an ultra-wide band (UWB) sensor to accurately detect rainfall by measuring the time of flight of electromagnetic waves, enabling precise control of vehicle windows and wipers based on detected rainfall values.
Environmental Impact of Rainfall Sensors
The environmental impact of rainfall sensors, particularly those utilizing transverse waves for detection, is a crucial consideration in their development and deployment. These sensors play a vital role in monitoring precipitation patterns, which is essential for various applications such as weather forecasting, flood prediction, and water resource management. However, their implementation and operation can have both positive and negative effects on the environment.
One of the primary environmental benefits of rainfall sensors is their contribution to more accurate weather forecasting and climate monitoring. By providing precise data on rainfall patterns, these sensors enable better understanding of local and global climate trends. This information is crucial for developing strategies to mitigate the effects of climate change and manage water resources more effectively. Additionally, improved rainfall detection can lead to more efficient irrigation practices in agriculture, reducing water waste and conserving this precious resource.
However, the production and installation of rainfall sensors can have some negative environmental impacts. The manufacturing process of electronic components used in these sensors may involve the use of hazardous materials and energy-intensive processes. Furthermore, the deployment of sensors in remote or ecologically sensitive areas may disrupt local ecosystems, particularly if not done with care.
The use of transverse waves in rainfall detection sensors presents unique environmental considerations. These sensors typically have a lower power consumption compared to traditional rain gauges, which can reduce their overall environmental footprint. However, the emission of electromagnetic waves, albeit at low levels, may have potential effects on local wildlife, particularly in areas with high sensor density.
Proper disposal of rainfall sensors at the end of their lifecycle is another environmental concern. Electronic waste can be harmful to ecosystems if not managed correctly. Implementing recycling programs and using environmentally friendly materials in sensor construction can help mitigate this issue.
On a broader scale, the data collected by rainfall sensors can indirectly benefit the environment by informing policy decisions and urban planning. For instance, accurate rainfall data can help in designing more effective stormwater management systems, reducing the risk of urban flooding and the associated environmental damage.
In conclusion, while rainfall sensors utilizing transverse waves offer significant environmental benefits through improved weather monitoring and resource management, their implementation must be carefully considered to minimize potential negative impacts. Balancing the need for comprehensive rainfall data with environmental conservation efforts is crucial for the sustainable development and use of these technologies.
One of the primary environmental benefits of rainfall sensors is their contribution to more accurate weather forecasting and climate monitoring. By providing precise data on rainfall patterns, these sensors enable better understanding of local and global climate trends. This information is crucial for developing strategies to mitigate the effects of climate change and manage water resources more effectively. Additionally, improved rainfall detection can lead to more efficient irrigation practices in agriculture, reducing water waste and conserving this precious resource.
However, the production and installation of rainfall sensors can have some negative environmental impacts. The manufacturing process of electronic components used in these sensors may involve the use of hazardous materials and energy-intensive processes. Furthermore, the deployment of sensors in remote or ecologically sensitive areas may disrupt local ecosystems, particularly if not done with care.
The use of transverse waves in rainfall detection sensors presents unique environmental considerations. These sensors typically have a lower power consumption compared to traditional rain gauges, which can reduce their overall environmental footprint. However, the emission of electromagnetic waves, albeit at low levels, may have potential effects on local wildlife, particularly in areas with high sensor density.
Proper disposal of rainfall sensors at the end of their lifecycle is another environmental concern. Electronic waste can be harmful to ecosystems if not managed correctly. Implementing recycling programs and using environmentally friendly materials in sensor construction can help mitigate this issue.
On a broader scale, the data collected by rainfall sensors can indirectly benefit the environment by informing policy decisions and urban planning. For instance, accurate rainfall data can help in designing more effective stormwater management systems, reducing the risk of urban flooding and the associated environmental damage.
In conclusion, while rainfall sensors utilizing transverse waves offer significant environmental benefits through improved weather monitoring and resource management, their implementation must be carefully considered to minimize potential negative impacts. Balancing the need for comprehensive rainfall data with environmental conservation efforts is crucial for the sustainable development and use of these technologies.
Data Processing in Transverse Wave Detection
Data processing plays a crucial role in the effective utilization of transverse waves for rainfall detection sensors. The primary challenge lies in extracting meaningful information from the complex waveforms generated by transverse wave interactions with raindrops. Advanced signal processing techniques are essential to filter out noise, enhance signal quality, and accurately interpret the data.
One of the key aspects of data processing in this context is the implementation of adaptive filtering algorithms. These algorithms dynamically adjust their parameters based on the incoming signal characteristics, allowing for real-time optimization of the detection process. This approach is particularly valuable in rainfall detection, where environmental conditions can rapidly change, affecting the quality and nature of the received signals.
Frequency domain analysis is another critical component of the data processing pipeline. By applying Fourier transforms or wavelet analysis to the received signals, it becomes possible to identify specific frequency components associated with different rainfall intensities and droplet sizes. This spectral information can be used to create more accurate rainfall estimates and distinguish between various types of precipitation.
Machine learning algorithms have also found significant applications in transverse wave data processing for rainfall detection. Supervised learning techniques, such as support vector machines and neural networks, can be trained on large datasets to recognize patterns indicative of different rainfall conditions. These models can then be deployed in real-time systems to provide rapid and accurate rainfall classifications based on the processed transverse wave data.
Data fusion techniques are employed to integrate information from multiple sensors or different sensing modalities. By combining transverse wave data with other meteorological measurements, such as temperature and humidity, a more comprehensive and accurate picture of the rainfall conditions can be obtained. This multi-sensor approach helps to mitigate the limitations of any single detection method and improves overall system reliability.
Error correction and calibration procedures are essential components of the data processing workflow. Regular calibration of the sensors against known rainfall conditions ensures the accuracy of the measurements over time. Additionally, error correction algorithms can be applied to compensate for systematic biases or distortions in the received signals, further enhancing the precision of the rainfall detection system.
Real-time processing capabilities are crucial for many applications of rainfall detection sensors. High-performance computing architectures, including parallel processing and dedicated signal processing hardware, are often employed to handle the large volumes of data generated by these sensors. This enables rapid analysis and decision-making in time-critical scenarios, such as flood warning systems or agricultural irrigation management.
One of the key aspects of data processing in this context is the implementation of adaptive filtering algorithms. These algorithms dynamically adjust their parameters based on the incoming signal characteristics, allowing for real-time optimization of the detection process. This approach is particularly valuable in rainfall detection, where environmental conditions can rapidly change, affecting the quality and nature of the received signals.
Frequency domain analysis is another critical component of the data processing pipeline. By applying Fourier transforms or wavelet analysis to the received signals, it becomes possible to identify specific frequency components associated with different rainfall intensities and droplet sizes. This spectral information can be used to create more accurate rainfall estimates and distinguish between various types of precipitation.
Machine learning algorithms have also found significant applications in transverse wave data processing for rainfall detection. Supervised learning techniques, such as support vector machines and neural networks, can be trained on large datasets to recognize patterns indicative of different rainfall conditions. These models can then be deployed in real-time systems to provide rapid and accurate rainfall classifications based on the processed transverse wave data.
Data fusion techniques are employed to integrate information from multiple sensors or different sensing modalities. By combining transverse wave data with other meteorological measurements, such as temperature and humidity, a more comprehensive and accurate picture of the rainfall conditions can be obtained. This multi-sensor approach helps to mitigate the limitations of any single detection method and improves overall system reliability.
Error correction and calibration procedures are essential components of the data processing workflow. Regular calibration of the sensors against known rainfall conditions ensures the accuracy of the measurements over time. Additionally, error correction algorithms can be applied to compensate for systematic biases or distortions in the received signals, further enhancing the precision of the rainfall detection system.
Real-time processing capabilities are crucial for many applications of rainfall detection sensors. High-performance computing architectures, including parallel processing and dedicated signal processing hardware, are often employed to handle the large volumes of data generated by these sensors. This enables rapid analysis and decision-making in time-critical scenarios, such as flood warning systems or agricultural irrigation management.
Unlock deeper insights with Patsnap Eureka Quick Research — get a full tech report to explore trends and direct your research. Try now!
Generate Your Research Report Instantly with AI Agent
Supercharge your innovation with Patsnap Eureka AI Agent Platform!