How Surface Tensions Affect Transverse Waves in Liquid Interface Analysis
JUL 29, 20259 MIN READ
Generate Your Research Report Instantly with AI Agent
Patsnap Eureka helps you evaluate technical feasibility & market potential.
Surface Tension Background and Objectives
Surface tension, a fundamental property of liquids, has been a subject of scientific inquiry for centuries. This phenomenon arises from the cohesive forces between liquid molecules at the interface between a liquid and a gas or between two immiscible liquids. The study of surface tension has its roots in the pioneering work of scientists like Thomas Young and Pierre-Simon Laplace in the early 19th century, who laid the groundwork for understanding capillary action and surface energy.
The evolution of surface tension research has been closely tied to advancements in experimental techniques and theoretical models. From simple observations of capillary rise to sophisticated methods like the Wilhelmy plate technique and pendant drop analysis, our ability to measure and quantify surface tension has greatly improved. This progress has enabled researchers to explore the intricate relationships between surface tension and various physical phenomena, including wave propagation at liquid interfaces.
In recent years, the focus has shifted towards understanding how surface tension affects dynamic processes, particularly in the context of transverse waves at liquid interfaces. This area of study has gained significant importance due to its relevance in numerous applications, ranging from microfluidics and soft matter physics to oceanography and industrial processes involving multiphase flows.
The primary objective of investigating surface tension's impact on transverse waves in liquid interface analysis is to develop a comprehensive understanding of the complex interplay between surface forces and wave dynamics. This knowledge is crucial for predicting and controlling the behavior of liquid interfaces in various scenarios, such as the stability of emulsions, the formation of droplets, and the propagation of waves in thin films.
Key goals in this field include:
1. Elucidating the mechanisms by which surface tension modulates the characteristics of transverse waves, including their amplitude, frequency, and propagation speed.
2. Developing accurate mathematical models that incorporate surface tension effects in wave equations for liquid interfaces.
3. Exploring the influence of surfactants and other surface-active agents on wave behavior at liquid interfaces.
4. Investigating the role of surface tension in energy dissipation and wave damping processes.
5. Applying insights from surface tension-wave interactions to optimize industrial processes and design novel microfluidic devices.
As we delve deeper into this fascinating area of research, we aim to bridge the gap between theoretical predictions and experimental observations, paving the way for innovative applications in fields such as materials science, bioengineering, and environmental monitoring. The ongoing exploration of surface tension's effects on transverse waves promises to yield valuable insights that will contribute to our broader understanding of fluid dynamics and interfacial phenomena.
The evolution of surface tension research has been closely tied to advancements in experimental techniques and theoretical models. From simple observations of capillary rise to sophisticated methods like the Wilhelmy plate technique and pendant drop analysis, our ability to measure and quantify surface tension has greatly improved. This progress has enabled researchers to explore the intricate relationships between surface tension and various physical phenomena, including wave propagation at liquid interfaces.
In recent years, the focus has shifted towards understanding how surface tension affects dynamic processes, particularly in the context of transverse waves at liquid interfaces. This area of study has gained significant importance due to its relevance in numerous applications, ranging from microfluidics and soft matter physics to oceanography and industrial processes involving multiphase flows.
The primary objective of investigating surface tension's impact on transverse waves in liquid interface analysis is to develop a comprehensive understanding of the complex interplay between surface forces and wave dynamics. This knowledge is crucial for predicting and controlling the behavior of liquid interfaces in various scenarios, such as the stability of emulsions, the formation of droplets, and the propagation of waves in thin films.
Key goals in this field include:
1. Elucidating the mechanisms by which surface tension modulates the characteristics of transverse waves, including their amplitude, frequency, and propagation speed.
2. Developing accurate mathematical models that incorporate surface tension effects in wave equations for liquid interfaces.
3. Exploring the influence of surfactants and other surface-active agents on wave behavior at liquid interfaces.
4. Investigating the role of surface tension in energy dissipation and wave damping processes.
5. Applying insights from surface tension-wave interactions to optimize industrial processes and design novel microfluidic devices.
As we delve deeper into this fascinating area of research, we aim to bridge the gap between theoretical predictions and experimental observations, paving the way for innovative applications in fields such as materials science, bioengineering, and environmental monitoring. The ongoing exploration of surface tension's effects on transverse waves promises to yield valuable insights that will contribute to our broader understanding of fluid dynamics and interfacial phenomena.
Market Applications of Liquid Interface Analysis
Liquid interface analysis has found extensive applications across various industries, driving innovation and enhancing product performance. In the field of microfluidics, this technology has revolutionized the development of lab-on-a-chip devices, enabling precise control and manipulation of small fluid volumes. These devices are crucial in medical diagnostics, drug discovery, and environmental monitoring, offering rapid and cost-effective analysis of complex samples.
The oil and gas industry heavily relies on liquid interface analysis for optimizing extraction processes and improving the efficiency of separation techniques. By understanding the behavior of multiphase fluids at interfaces, companies can enhance oil recovery methods and develop more effective surfactants for enhanced oil recovery (EOR) operations. This application has significant economic implications, as even small improvements in recovery rates can translate to substantial increases in production.
In the pharmaceutical sector, liquid interface analysis plays a vital role in drug formulation and delivery systems. The technology aids in the development of stable emulsions and suspensions, crucial for creating effective and long-lasting medications. It also contributes to the design of controlled-release systems, allowing for more precise and targeted drug delivery, ultimately improving patient outcomes and reducing side effects.
The food and beverage industry utilizes liquid interface analysis to enhance product quality and stability. This technology helps in the formulation of emulsions and foams, which are essential components in many food products. By optimizing surface tensions and understanding interfacial phenomena, manufacturers can improve the texture, appearance, and shelf life of their products, leading to increased consumer satisfaction and reduced food waste.
In the realm of materials science, liquid interface analysis has opened new avenues for developing advanced coatings and thin films. Industries such as electronics, aerospace, and automotive benefit from this technology in creating high-performance surfaces with specific properties like hydrophobicity, corrosion resistance, or enhanced adhesion. These applications contribute to the development of more durable and efficient products across various sectors.
Environmental applications of liquid interface analysis include water treatment and pollution control. The technology aids in developing more effective methods for oil-water separation, crucial for cleaning up oil spills and managing industrial wastewater. Additionally, it contributes to the design of advanced filtration systems and membranes, improving water purification processes and addressing global water scarcity challenges.
The oil and gas industry heavily relies on liquid interface analysis for optimizing extraction processes and improving the efficiency of separation techniques. By understanding the behavior of multiphase fluids at interfaces, companies can enhance oil recovery methods and develop more effective surfactants for enhanced oil recovery (EOR) operations. This application has significant economic implications, as even small improvements in recovery rates can translate to substantial increases in production.
In the pharmaceutical sector, liquid interface analysis plays a vital role in drug formulation and delivery systems. The technology aids in the development of stable emulsions and suspensions, crucial for creating effective and long-lasting medications. It also contributes to the design of controlled-release systems, allowing for more precise and targeted drug delivery, ultimately improving patient outcomes and reducing side effects.
The food and beverage industry utilizes liquid interface analysis to enhance product quality and stability. This technology helps in the formulation of emulsions and foams, which are essential components in many food products. By optimizing surface tensions and understanding interfacial phenomena, manufacturers can improve the texture, appearance, and shelf life of their products, leading to increased consumer satisfaction and reduced food waste.
In the realm of materials science, liquid interface analysis has opened new avenues for developing advanced coatings and thin films. Industries such as electronics, aerospace, and automotive benefit from this technology in creating high-performance surfaces with specific properties like hydrophobicity, corrosion resistance, or enhanced adhesion. These applications contribute to the development of more durable and efficient products across various sectors.
Environmental applications of liquid interface analysis include water treatment and pollution control. The technology aids in developing more effective methods for oil-water separation, crucial for cleaning up oil spills and managing industrial wastewater. Additionally, it contributes to the design of advanced filtration systems and membranes, improving water purification processes and addressing global water scarcity challenges.
Current Challenges in Transverse Wave Analysis
The analysis of transverse waves in liquid interfaces faces several significant challenges that hinder our full understanding and practical applications. One of the primary obstacles is the complex interplay between surface tension and wave dynamics. Surface tension, a property inherent to liquid interfaces, significantly influences the behavior of transverse waves, making it difficult to isolate and study their characteristics independently.
The measurement and quantification of surface tension effects on transverse waves present another major challenge. Current experimental setups often struggle to maintain precise control over surface conditions, leading to inconsistencies in data collection and interpretation. Furthermore, the microscopic nature of surface tension phenomena requires highly sensitive instruments, which are susceptible to external disturbances and measurement errors.
Theoretical modeling of transverse waves in the presence of surface tension is also problematic. Existing models often rely on simplifying assumptions that may not fully capture the complexity of real-world liquid interfaces. The non-linear nature of wave-surface tension interactions further complicates the development of accurate predictive models, limiting our ability to extrapolate experimental findings to diverse scenarios.
Another significant challenge lies in the multiscale nature of the problem. Transverse waves can span a wide range of frequencies and amplitudes, while surface tension effects are predominantly observed at smaller scales. Bridging this gap and developing a unified framework that accurately describes wave behavior across different scales remains a formidable task for researchers in the field.
The influence of external factors, such as temperature, pressure, and contaminants, on surface tension and wave propagation adds another layer of complexity to the analysis. These variables can significantly alter the properties of liquid interfaces, making it challenging to isolate the specific effects of surface tension on transverse waves. Controlling and accounting for these external factors in both experimental and theoretical studies is crucial for obtaining reliable and reproducible results.
Lastly, the application of transverse wave analysis in real-world scenarios poses its own set of challenges. Translating laboratory findings to practical applications, such as in fluid dynamics, materials science, or biomedical engineering, requires overcoming issues related to scaling, environmental conditions, and the presence of multiple interfacial phenomena. Developing robust methodologies that can accurately analyze transverse waves in complex, multi-component systems remains an ongoing challenge in the field.
The measurement and quantification of surface tension effects on transverse waves present another major challenge. Current experimental setups often struggle to maintain precise control over surface conditions, leading to inconsistencies in data collection and interpretation. Furthermore, the microscopic nature of surface tension phenomena requires highly sensitive instruments, which are susceptible to external disturbances and measurement errors.
Theoretical modeling of transverse waves in the presence of surface tension is also problematic. Existing models often rely on simplifying assumptions that may not fully capture the complexity of real-world liquid interfaces. The non-linear nature of wave-surface tension interactions further complicates the development of accurate predictive models, limiting our ability to extrapolate experimental findings to diverse scenarios.
Another significant challenge lies in the multiscale nature of the problem. Transverse waves can span a wide range of frequencies and amplitudes, while surface tension effects are predominantly observed at smaller scales. Bridging this gap and developing a unified framework that accurately describes wave behavior across different scales remains a formidable task for researchers in the field.
The influence of external factors, such as temperature, pressure, and contaminants, on surface tension and wave propagation adds another layer of complexity to the analysis. These variables can significantly alter the properties of liquid interfaces, making it challenging to isolate the specific effects of surface tension on transverse waves. Controlling and accounting for these external factors in both experimental and theoretical studies is crucial for obtaining reliable and reproducible results.
Lastly, the application of transverse wave analysis in real-world scenarios poses its own set of challenges. Translating laboratory findings to practical applications, such as in fluid dynamics, materials science, or biomedical engineering, requires overcoming issues related to scaling, environmental conditions, and the presence of multiple interfacial phenomena. Developing robust methodologies that can accurately analyze transverse waves in complex, multi-component systems remains an ongoing challenge in the field.
Existing Methods for Analyzing Transverse Waves
01 Measurement of surface tension using transverse waves
Transverse waves can be utilized to measure surface tension in liquids. This method involves generating waves on the liquid surface and analyzing their properties, such as wavelength and frequency, to determine the surface tension. The technique can be applied in various fields, including material science and fluid dynamics.- Wave propagation in fluids with surface tension: This category focuses on the study of transverse wave propagation in fluids where surface tension plays a significant role. It involves the analysis of wave behavior, including amplitude, frequency, and energy transfer, in liquids with varying surface tension properties. The research in this area contributes to understanding phenomena such as capillary waves and their interactions with other fluid dynamics.
- Measurement techniques for surface tension using wave properties: This point covers methods and devices for measuring surface tension by analyzing the properties of transverse waves. These techniques often involve generating waves on a liquid surface and observing their characteristics, such as wavelength, speed, or damping, to deduce the surface tension. Such measurements are crucial in various fields, including material science and fluid dynamics.
- Applications of transverse waves in surface tension-dependent systems: This category explores practical applications that utilize the interaction between transverse waves and surface tension. It includes technologies such as liquid crystal displays, microfluidic devices, and acoustic wave sensors. These applications leverage the unique properties of waves in surface tension-controlled environments to achieve specific functionalities or improve existing processes.
- Modeling and simulation of transverse waves with surface tension effects: This point focuses on the development of mathematical models and computational simulations to predict and analyze the behavior of transverse waves in systems where surface tension is significant. These models help in understanding complex wave phenomena, optimizing designs, and predicting outcomes in various scientific and engineering applications involving fluid interfaces.
- Control and manipulation of surface waves using external forces: This category deals with methods and devices for controlling and manipulating transverse waves on fluid surfaces using external forces or fields. It includes techniques such as electrowetting, acoustic forcing, and magnetic field application to modify surface tension and wave characteristics. These approaches have applications in areas like microfluidics, liquid lenses, and advanced manufacturing processes.
02 Wave propagation in thin films and interfaces
The study of transverse wave propagation in thin films and at interfaces between different media is crucial for understanding surface tension effects. This research area focuses on how wave characteristics are influenced by surface tension and other interfacial properties, with applications in microfluidics and nanotechnology.Expand Specific Solutions03 Acoustic wave devices for surface tension analysis
Acoustic wave devices, such as surface acoustic wave (SAW) sensors, can be used to analyze surface tension. These devices generate transverse waves that interact with the liquid-air interface, allowing for precise measurements of surface properties. This technology has applications in chemical sensing and biomedical diagnostics.Expand Specific Solutions04 Modeling and simulation of surface tension effects on waves
Computational models and simulations are developed to study the effects of surface tension on transverse wave behavior. These models help predict wave dynamics in various scenarios, considering factors such as fluid properties, container geometry, and external forces. This approach is valuable for optimizing industrial processes and designing new materials.Expand Specific Solutions05 Applications of transverse waves in surface tension-driven phenomena
Transverse waves play a crucial role in various surface tension-driven phenomena, such as capillary action, droplet formation, and interfacial instabilities. Understanding these processes is essential for developing technologies in areas like microfluidics, inkjet printing, and oil recovery. Research in this field focuses on manipulating surface tension to control wave behavior and achieve desired outcomes.Expand Specific Solutions
Key Players in Liquid Interface Analysis Industry
The analysis of surface tensions affecting transverse waves in liquid interface analysis is in a developing stage, with growing market potential as industries seek more precise fluid dynamics understanding. The technology's maturity varies across applications, with some sectors like microfluidics showing advanced progress. Key players such as Zhejiang University, Université des Sciences et Technologies de Lille, and Ricoh Co., Ltd. are contributing significant research. The market is expected to expand as industries like semiconductor manufacturing and biomedical engineering increasingly rely on precise liquid interface control. Collaboration between academic institutions and industry leaders is driving innovation, with companies like Koninklijke Philips NV and BAE Systems integrating this technology into their product development strategies.
Zhejiang University
Technical Solution: Zhejiang University has conducted extensive research on the effects of surface tension on transverse waves in liquid interfaces. Their approach combines experimental techniques with theoretical modeling to study wave dynamics in various liquid systems. They have developed a novel optical method for measuring surface tension gradients and their impact on wave propagation[9]. Their research has led to a deeper understanding of how surface active agents influence wave characteristics in thin liquid films and at liquid-liquid interfaces. The university has also explored applications of their findings in areas such as microfluidics and soft matter physics[10].
Strengths: Strong integration of experimental and theoretical approaches, broad range of applications. Weaknesses: May lack immediate industrial applications compared to corporate research efforts.
The Regents of the University of California
Technical Solution: The University of California has developed advanced techniques for analyzing transverse waves in liquid interfaces, focusing on the effects of surface tension. Their approach combines high-resolution imaging with computational fluid dynamics to study wave propagation and damping in thin liquid films. They have created a novel microfluidic platform that allows precise control of surface tension gradients, enabling the investigation of Marangoni effects on wave dynamics[1]. Their research has led to breakthroughs in understanding how surface tension influences wave characteristics, including amplitude, frequency, and propagation speed in various liquid-gas and liquid-liquid interfaces[3].
Strengths: Cutting-edge microfluidic technology and advanced imaging techniques. Weaknesses: May be limited to laboratory-scale experiments, potentially challenging to scale up for industrial applications.
Core Innovations in Surface Tension Measurement
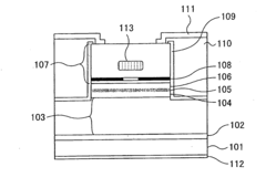
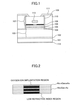
Surface-emission laser diode and surface-emission laser array, optical interconnection system, optical communication system, electrophotographic system, and optical disk system
PatentInactiveUS20090268769A1
Innovation
- The development of a surface-emission laser diode with a current confinement structure formed by selective oxidation or ion implantation, incorporating a region with a low refractive index oxide of Al, and a distributed Bragg reflector made of semiconductor materials, allowing for effective current injection and reduced device resistance, along with an antiguiding structure formed by oxygen ion implantation and thermal annealing, which enhances design freedom and suppresses higher-order transverse modes.
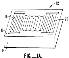
Surface transverse wave resonator
PatentInactiveUS4965479A
Innovation
- A surface transverse wave resonator is designed with a piezoelectric substrate and periodic perturbations, including transducing, receiving, and reflecting structures, to trap transverse waves near the surface, utilizing a central grating region to maximize energy retention and employing elongated bar members or grooves for efficient wave propagation and reflection.
Computational Modeling of Surface Tension Effects
Computational modeling of surface tension effects plays a crucial role in understanding and predicting the behavior of transverse waves in liquid interface analysis. These models provide valuable insights into the complex interactions between surface tension and wave dynamics, enabling researchers and engineers to optimize various processes and applications.
One of the primary approaches in computational modeling of surface tension effects is the use of numerical methods to solve the governing equations of fluid dynamics. These equations, such as the Navier-Stokes equations, are modified to incorporate surface tension forces at the liquid-gas interface. Finite element methods (FEM) and finite volume methods (FVM) are commonly employed to discretize the computational domain and solve these equations numerically.
Advanced computational techniques, such as the Volume of Fluid (VOF) method and the Level Set method, have been developed to accurately track the evolution of the liquid interface. These methods allow for the precise representation of complex interface geometries and the calculation of surface tension forces acting on the interface. The VOF method, in particular, has gained popularity due to its ability to handle large interface deformations and topological changes.
To model the effects of surface tension on transverse waves, researchers often employ spectral methods or pseudo-spectral methods. These approaches are particularly effective for simulating periodic wave patterns and capturing the high-frequency components of wave motion. By incorporating surface tension terms into the wave equations, these models can accurately predict the dispersion and damping of transverse waves at the liquid interface.
Molecular dynamics (MD) simulations provide another powerful tool for studying surface tension effects at the microscopic level. These simulations allow researchers to investigate the molecular interactions that give rise to surface tension and their influence on wave propagation. By combining MD simulations with continuum-scale models, multi-scale modeling approaches can bridge the gap between molecular-level phenomena and macroscopic wave behavior.
Recent advancements in machine learning and artificial intelligence have also found applications in the computational modeling of surface tension effects. Deep learning algorithms, such as convolutional neural networks (CNNs) and recurrent neural networks (RNNs), can be trained on large datasets of experimental and simulation results to predict wave behavior under various surface tension conditions. These data-driven approaches offer the potential for rapid and accurate predictions, complementing traditional physics-based modeling techniques.
As computational power continues to increase, more sophisticated models incorporating additional physical phenomena, such as viscosity, thermal effects, and chemical reactions, are being developed. These comprehensive models provide a more accurate representation of real-world liquid interface systems and enable the optimization of various industrial processes and applications involving surface tension-driven wave phenomena.
One of the primary approaches in computational modeling of surface tension effects is the use of numerical methods to solve the governing equations of fluid dynamics. These equations, such as the Navier-Stokes equations, are modified to incorporate surface tension forces at the liquid-gas interface. Finite element methods (FEM) and finite volume methods (FVM) are commonly employed to discretize the computational domain and solve these equations numerically.
Advanced computational techniques, such as the Volume of Fluid (VOF) method and the Level Set method, have been developed to accurately track the evolution of the liquid interface. These methods allow for the precise representation of complex interface geometries and the calculation of surface tension forces acting on the interface. The VOF method, in particular, has gained popularity due to its ability to handle large interface deformations and topological changes.
To model the effects of surface tension on transverse waves, researchers often employ spectral methods or pseudo-spectral methods. These approaches are particularly effective for simulating periodic wave patterns and capturing the high-frequency components of wave motion. By incorporating surface tension terms into the wave equations, these models can accurately predict the dispersion and damping of transverse waves at the liquid interface.
Molecular dynamics (MD) simulations provide another powerful tool for studying surface tension effects at the microscopic level. These simulations allow researchers to investigate the molecular interactions that give rise to surface tension and their influence on wave propagation. By combining MD simulations with continuum-scale models, multi-scale modeling approaches can bridge the gap between molecular-level phenomena and macroscopic wave behavior.
Recent advancements in machine learning and artificial intelligence have also found applications in the computational modeling of surface tension effects. Deep learning algorithms, such as convolutional neural networks (CNNs) and recurrent neural networks (RNNs), can be trained on large datasets of experimental and simulation results to predict wave behavior under various surface tension conditions. These data-driven approaches offer the potential for rapid and accurate predictions, complementing traditional physics-based modeling techniques.
As computational power continues to increase, more sophisticated models incorporating additional physical phenomena, such as viscosity, thermal effects, and chemical reactions, are being developed. These comprehensive models provide a more accurate representation of real-world liquid interface systems and enable the optimization of various industrial processes and applications involving surface tension-driven wave phenomena.
Environmental Factors Influencing Surface Tension
Surface tension, a critical factor in liquid interface analysis, is significantly influenced by various environmental factors. Temperature plays a pivotal role in determining surface tension, with higher temperatures generally leading to lower surface tension values. This inverse relationship is due to the increased kinetic energy of molecules at elevated temperatures, which reduces their cohesive forces and, consequently, the surface tension.
Atmospheric pressure also affects surface tension, albeit to a lesser extent than temperature. Higher atmospheric pressure can slightly increase surface tension by compressing the liquid surface, enhancing molecular interactions. However, this effect is often negligible in most practical applications unless dealing with extreme pressure conditions.
Humidity is another environmental factor that can impact surface tension, particularly for water and aqueous solutions. Increased humidity can lead to the formation of a thin water layer on the liquid surface, potentially altering its surface tension characteristics. This effect is especially relevant in outdoor or non-controlled environments where humidity fluctuations are common.
The presence of contaminants or impurities in the surrounding environment can dramatically influence surface tension. Even trace amounts of surfactants or other surface-active compounds can significantly reduce surface tension by disrupting the cohesive forces between liquid molecules at the interface. This phenomenon is particularly important in industrial and laboratory settings where maintaining a clean environment is crucial for accurate measurements and analyses.
Electromagnetic fields, while not typically considered an environmental factor, can induce changes in surface tension under certain conditions. Strong electric fields can cause polarization of liquid molecules, potentially altering their surface behavior and, consequently, the surface tension. This effect is more pronounced in polar liquids and can be relevant in specialized applications or research settings.
Light exposure, particularly intense or prolonged UV radiation, can induce photochemical reactions in some liquids, potentially altering their surface properties. While this effect is generally minimal for most common liquids, it can be significant for photosensitive substances or in specific analytical techniques that involve light-sensitive measurements.
The composition of the surrounding gas phase can also influence surface tension, especially when the gas is soluble in the liquid. For instance, the presence of carbon dioxide in the air can slightly alter the surface tension of water due to its dissolution and subsequent formation of carbonic acid. This effect is particularly relevant in environmental studies and certain industrial processes.
Understanding these environmental factors and their impacts on surface tension is crucial for accurate liquid interface analysis. Researchers and engineers must carefully control and account for these variables to ensure reliable measurements and interpretations of transverse wave behavior at liquid interfaces. Proper environmental control and monitoring are essential for maintaining the integrity of surface tension-dependent analyses and applications.
Atmospheric pressure also affects surface tension, albeit to a lesser extent than temperature. Higher atmospheric pressure can slightly increase surface tension by compressing the liquid surface, enhancing molecular interactions. However, this effect is often negligible in most practical applications unless dealing with extreme pressure conditions.
Humidity is another environmental factor that can impact surface tension, particularly for water and aqueous solutions. Increased humidity can lead to the formation of a thin water layer on the liquid surface, potentially altering its surface tension characteristics. This effect is especially relevant in outdoor or non-controlled environments where humidity fluctuations are common.
The presence of contaminants or impurities in the surrounding environment can dramatically influence surface tension. Even trace amounts of surfactants or other surface-active compounds can significantly reduce surface tension by disrupting the cohesive forces between liquid molecules at the interface. This phenomenon is particularly important in industrial and laboratory settings where maintaining a clean environment is crucial for accurate measurements and analyses.
Electromagnetic fields, while not typically considered an environmental factor, can induce changes in surface tension under certain conditions. Strong electric fields can cause polarization of liquid molecules, potentially altering their surface behavior and, consequently, the surface tension. This effect is more pronounced in polar liquids and can be relevant in specialized applications or research settings.
Light exposure, particularly intense or prolonged UV radiation, can induce photochemical reactions in some liquids, potentially altering their surface properties. While this effect is generally minimal for most common liquids, it can be significant for photosensitive substances or in specific analytical techniques that involve light-sensitive measurements.
The composition of the surrounding gas phase can also influence surface tension, especially when the gas is soluble in the liquid. For instance, the presence of carbon dioxide in the air can slightly alter the surface tension of water due to its dissolution and subsequent formation of carbonic acid. This effect is particularly relevant in environmental studies and certain industrial processes.
Understanding these environmental factors and their impacts on surface tension is crucial for accurate liquid interface analysis. Researchers and engineers must carefully control and account for these variables to ensure reliable measurements and interpretations of transverse wave behavior at liquid interfaces. Proper environmental control and monitoring are essential for maintaining the integrity of surface tension-dependent analyses and applications.
Unlock deeper insights with Patsnap Eureka Quick Research — get a full tech report to explore trends and direct your research. Try now!
Generate Your Research Report Instantly with AI Agent
Supercharge your innovation with Patsnap Eureka AI Agent Platform!