The Implications of Transverse Wave Effects in Nano Fluidic Systems
JUL 29, 20259 MIN READ
Generate Your Research Report Instantly with AI Agent
Patsnap Eureka helps you evaluate technical feasibility & market potential.
Nano Fluidic Transverse Wave Background and Objectives
Transverse wave effects in nanofluidic systems represent a cutting-edge area of research at the intersection of nanotechnology, fluid dynamics, and wave physics. This field has evolved rapidly over the past two decades, driven by advancements in nanofabrication techniques and the increasing demand for precise control of fluids at the nanoscale. The study of transverse waves in nanofluidic environments has emerged as a critical component in understanding and manipulating fluid behavior in confined spaces.
The historical context of this technology can be traced back to the early 2000s when researchers first began to explore the unique properties of fluids at the nanoscale. Initial studies focused primarily on laminar flow and molecular interactions within nanofluidic channels. However, as the field progressed, scientists discovered that transverse wave phenomena could significantly impact fluid dynamics at these scales, leading to a paradigm shift in nanofluidic research.
The technological evolution in this domain has been marked by several key milestones. Early experiments utilized basic nanofluidic channels to observe fluid behavior, while more recent studies have employed sophisticated nanostructures, including nanopores, nanotubes, and nanoslits. These advancements have enabled researchers to generate and manipulate transverse waves with unprecedented precision, opening up new possibilities for applications in areas such as drug delivery, water purification, and energy harvesting.
The primary objectives of current research in nanofluidic transverse wave effects are multifaceted. Firstly, there is a strong focus on developing a comprehensive theoretical framework that accurately describes the behavior of transverse waves in nanoconfined fluids. This includes understanding the interplay between wave propagation, fluid properties, and channel geometry. Secondly, researchers aim to exploit these wave effects for practical applications, such as enhancing mixing in nanofluidic devices or improving the efficiency of nanofluidic-based sensors.
Another crucial goal is to bridge the gap between theoretical predictions and experimental observations. This involves refining measurement techniques and developing new tools for visualizing and quantifying transverse wave phenomena at the nanoscale. Additionally, there is a growing interest in exploring the potential of transverse waves for energy transfer and information processing in nanofluidic systems, which could lead to novel nanofluidic computing paradigms.
Looking ahead, the field is poised for significant advancements. Researchers are exploring the integration of smart materials and responsive surfaces in nanofluidic devices to dynamically control transverse wave effects. There is also increasing interest in leveraging artificial intelligence and machine learning algorithms to predict and optimize wave behavior in complex nanofluidic environments. These developments are expected to pave the way for next-generation nanofluidic technologies with applications spanning from healthcare to environmental monitoring.
The historical context of this technology can be traced back to the early 2000s when researchers first began to explore the unique properties of fluids at the nanoscale. Initial studies focused primarily on laminar flow and molecular interactions within nanofluidic channels. However, as the field progressed, scientists discovered that transverse wave phenomena could significantly impact fluid dynamics at these scales, leading to a paradigm shift in nanofluidic research.
The technological evolution in this domain has been marked by several key milestones. Early experiments utilized basic nanofluidic channels to observe fluid behavior, while more recent studies have employed sophisticated nanostructures, including nanopores, nanotubes, and nanoslits. These advancements have enabled researchers to generate and manipulate transverse waves with unprecedented precision, opening up new possibilities for applications in areas such as drug delivery, water purification, and energy harvesting.
The primary objectives of current research in nanofluidic transverse wave effects are multifaceted. Firstly, there is a strong focus on developing a comprehensive theoretical framework that accurately describes the behavior of transverse waves in nanoconfined fluids. This includes understanding the interplay between wave propagation, fluid properties, and channel geometry. Secondly, researchers aim to exploit these wave effects for practical applications, such as enhancing mixing in nanofluidic devices or improving the efficiency of nanofluidic-based sensors.
Another crucial goal is to bridge the gap between theoretical predictions and experimental observations. This involves refining measurement techniques and developing new tools for visualizing and quantifying transverse wave phenomena at the nanoscale. Additionally, there is a growing interest in exploring the potential of transverse waves for energy transfer and information processing in nanofluidic systems, which could lead to novel nanofluidic computing paradigms.
Looking ahead, the field is poised for significant advancements. Researchers are exploring the integration of smart materials and responsive surfaces in nanofluidic devices to dynamically control transverse wave effects. There is also increasing interest in leveraging artificial intelligence and machine learning algorithms to predict and optimize wave behavior in complex nanofluidic environments. These developments are expected to pave the way for next-generation nanofluidic technologies with applications spanning from healthcare to environmental monitoring.
Market Analysis for Nano Fluidic Applications
The market for nano fluidic applications is experiencing rapid growth, driven by advancements in nanotechnology and increasing demand for miniaturized systems across various industries. The global nano fluidics market is expected to expand significantly in the coming years, with key applications in healthcare, pharmaceuticals, and environmental monitoring.
In the healthcare sector, nano fluidic systems are revolutionizing diagnostic tools and drug delivery methods. Point-of-care diagnostics utilizing nano fluidic technology offer faster, more accurate, and cost-effective solutions for disease detection and monitoring. This market segment is particularly promising due to the growing emphasis on personalized medicine and the need for rapid, on-site testing capabilities.
The pharmaceutical industry is another major driver of nano fluidic market growth. Drug discovery and development processes benefit greatly from nano fluidic systems, which enable high-throughput screening, precise drug formulation, and targeted delivery mechanisms. As the industry continues to seek more efficient and cost-effective methods for drug development, the demand for nano fluidic solutions is expected to rise.
Environmental monitoring applications represent an emerging market for nano fluidic systems. These technologies offer enhanced sensitivity and specificity in detecting pollutants, pathogens, and other contaminants in water and air samples. With increasing global concerns about environmental quality and safety, this sector is poised for substantial growth in the coming years.
The integration of nano fluidic systems with other emerging technologies, such as artificial intelligence and Internet of Things (IoT), is opening up new market opportunities. Smart nano fluidic devices capable of real-time data collection and analysis are finding applications in various fields, from industrial process control to wearable health monitoring devices.
Geographically, North America and Europe currently lead the nano fluidics market, owing to their strong research and development infrastructure and early adoption of advanced technologies. However, the Asia-Pacific region is expected to witness the fastest growth, driven by increasing investments in nanotechnology research and rising demand for advanced healthcare solutions in countries like China and India.
Despite the promising outlook, the nano fluidics market faces challenges such as high development costs, complex manufacturing processes, and regulatory hurdles. Overcoming these obstacles will be crucial for realizing the full market potential of nano fluidic applications. As research in transverse wave effects in nano fluidic systems progresses, it may lead to new breakthroughs that could further expand market opportunities and enhance the performance of existing applications.
In the healthcare sector, nano fluidic systems are revolutionizing diagnostic tools and drug delivery methods. Point-of-care diagnostics utilizing nano fluidic technology offer faster, more accurate, and cost-effective solutions for disease detection and monitoring. This market segment is particularly promising due to the growing emphasis on personalized medicine and the need for rapid, on-site testing capabilities.
The pharmaceutical industry is another major driver of nano fluidic market growth. Drug discovery and development processes benefit greatly from nano fluidic systems, which enable high-throughput screening, precise drug formulation, and targeted delivery mechanisms. As the industry continues to seek more efficient and cost-effective methods for drug development, the demand for nano fluidic solutions is expected to rise.
Environmental monitoring applications represent an emerging market for nano fluidic systems. These technologies offer enhanced sensitivity and specificity in detecting pollutants, pathogens, and other contaminants in water and air samples. With increasing global concerns about environmental quality and safety, this sector is poised for substantial growth in the coming years.
The integration of nano fluidic systems with other emerging technologies, such as artificial intelligence and Internet of Things (IoT), is opening up new market opportunities. Smart nano fluidic devices capable of real-time data collection and analysis are finding applications in various fields, from industrial process control to wearable health monitoring devices.
Geographically, North America and Europe currently lead the nano fluidics market, owing to their strong research and development infrastructure and early adoption of advanced technologies. However, the Asia-Pacific region is expected to witness the fastest growth, driven by increasing investments in nanotechnology research and rising demand for advanced healthcare solutions in countries like China and India.
Despite the promising outlook, the nano fluidics market faces challenges such as high development costs, complex manufacturing processes, and regulatory hurdles. Overcoming these obstacles will be crucial for realizing the full market potential of nano fluidic applications. As research in transverse wave effects in nano fluidic systems progresses, it may lead to new breakthroughs that could further expand market opportunities and enhance the performance of existing applications.
Current Challenges in Nano Fluidic Transverse Wave Research
The field of nano fluidic transverse wave research is currently grappling with several significant challenges that impede further progress and practical applications. One of the primary obstacles is the difficulty in accurately measuring and controlling transverse wave effects at the nanoscale. The extremely small dimensions involved make it challenging to develop precise instrumentation and measurement techniques capable of detecting and quantifying these subtle wave phenomena.
Another major hurdle is the complex interplay between transverse waves and the unique properties of fluids at the nanoscale. Nano fluidic systems often exhibit behavior that deviates from classical fluid dynamics, due to factors such as increased surface-to-volume ratios and dominant surface forces. This complexity makes it difficult to develop comprehensive models that accurately predict transverse wave behavior in these systems.
The fabrication of nano fluidic devices capable of generating and manipulating transverse waves presents its own set of challenges. Current manufacturing techniques struggle to produce structures with the necessary precision and consistency at the nanoscale. This limitation hinders the development of reliable experimental platforms for studying transverse wave effects and their potential applications.
Energy dissipation and damping effects pose significant obstacles in nano fluidic transverse wave research. As waves propagate through nano-confined fluids, they experience rapid attenuation due to viscous effects and interactions with channel walls. Overcoming these energy losses to maintain wave propagation over useful distances remains a critical challenge.
The integration of transverse wave effects into practical nano fluidic devices and systems is another area of difficulty. Researchers face the task of harnessing these wave phenomena for specific applications, such as fluid mixing, particle manipulation, or signal processing. Developing robust and scalable methods to control and utilize transverse waves in functional devices is an ongoing challenge.
Multiphysics coupling in nano fluidic systems adds another layer of complexity to transverse wave research. The interplay between fluid dynamics, electrostatics, thermodynamics, and other physical phenomena at the nanoscale creates a highly interdisciplinary challenge. Developing comprehensive models and experimental techniques that account for these coupled effects is crucial for advancing the field.
Lastly, the translation of laboratory findings to real-world applications remains a significant hurdle. Bridging the gap between fundamental research and practical, commercially viable nano fluidic devices that leverage transverse wave effects is a challenge that requires addressing issues of scalability, reliability, and cost-effectiveness.
Another major hurdle is the complex interplay between transverse waves and the unique properties of fluids at the nanoscale. Nano fluidic systems often exhibit behavior that deviates from classical fluid dynamics, due to factors such as increased surface-to-volume ratios and dominant surface forces. This complexity makes it difficult to develop comprehensive models that accurately predict transverse wave behavior in these systems.
The fabrication of nano fluidic devices capable of generating and manipulating transverse waves presents its own set of challenges. Current manufacturing techniques struggle to produce structures with the necessary precision and consistency at the nanoscale. This limitation hinders the development of reliable experimental platforms for studying transverse wave effects and their potential applications.
Energy dissipation and damping effects pose significant obstacles in nano fluidic transverse wave research. As waves propagate through nano-confined fluids, they experience rapid attenuation due to viscous effects and interactions with channel walls. Overcoming these energy losses to maintain wave propagation over useful distances remains a critical challenge.
The integration of transverse wave effects into practical nano fluidic devices and systems is another area of difficulty. Researchers face the task of harnessing these wave phenomena for specific applications, such as fluid mixing, particle manipulation, or signal processing. Developing robust and scalable methods to control and utilize transverse waves in functional devices is an ongoing challenge.
Multiphysics coupling in nano fluidic systems adds another layer of complexity to transverse wave research. The interplay between fluid dynamics, electrostatics, thermodynamics, and other physical phenomena at the nanoscale creates a highly interdisciplinary challenge. Developing comprehensive models and experimental techniques that account for these coupled effects is crucial for advancing the field.
Lastly, the translation of laboratory findings to real-world applications remains a significant hurdle. Bridging the gap between fundamental research and practical, commercially viable nano fluidic devices that leverage transverse wave effects is a challenge that requires addressing issues of scalability, reliability, and cost-effectiveness.
Existing Transverse Wave Solutions in Nano Fluidics
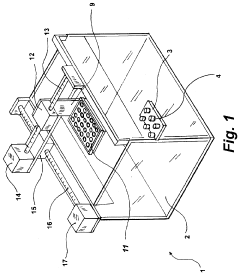
01 Nanofluidic devices with transverse wave generation
Nanofluidic systems incorporating mechanisms for generating transverse waves within the fluid channels. These devices utilize various techniques to create controlled wave patterns perpendicular to the flow direction, enhancing mixing, separation, or detection processes at the nanoscale.- Nanofluidic devices with transverse wave generation: Nanofluidic systems incorporating mechanisms for generating transverse waves within the fluid channels. These devices utilize various techniques to create and control transverse wave effects, enhancing fluid manipulation and analysis at the nanoscale. The transverse waves can be used for mixing, separation, or detection purposes in nanofluidic applications.
- Optical detection methods in nanofluidic systems: Integration of optical detection techniques in nanofluidic devices to analyze transverse wave effects. These methods may include spectroscopy, interferometry, or fluorescence-based detection to observe and measure the behavior of fluids and particles under the influence of transverse waves in nanochannels.
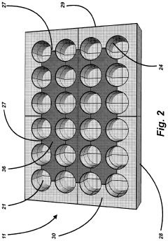
- Acoustic wave generation in nanofluidic devices: Utilization of acoustic waves to induce transverse effects in nanofluidic systems. This approach involves the integration of acoustic transducers or piezoelectric materials to generate controlled vibrations, creating transverse waves that interact with the fluid in nanochannels for various applications such as particle manipulation or fluid mixing.
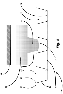
- Microfluidic and nanofluidic chip design for wave manipulation: Specialized design of microfluidic and nanofluidic chips to facilitate the generation and control of transverse waves. These designs may incorporate specific channel geometries, surface modifications, or integrated actuators to enhance the interaction between the fluid and the induced transverse waves.
- Applications of transverse wave effects in nanofluidics: Exploration of various applications leveraging transverse wave effects in nanofluidic systems. These may include enhanced particle separation, improved mixing in laminar flow regimes, precise fluid control, or novel sensing mechanisms based on the interaction between transverse waves and nanoscale fluid dynamics.
02 Optical detection methods in nanofluidic systems
Integration of optical detection techniques in nanofluidic devices to analyze transverse wave effects. These methods may include laser-based sensing, fluorescence detection, or spectroscopic analysis to observe and quantify wave-induced phenomena in nanochannels.Expand Specific Solutions03 Acoustic wave manipulation in nanofluidics
Utilization of acoustic waves to induce transverse effects in nanofluidic systems. This approach involves generating controlled sound waves to manipulate fluid behavior, particle positioning, or molecular interactions within nanochannels.Expand Specific Solutions04 Microfluidic chip design for transverse wave studies
Development of specialized microfluidic chip designs that facilitate the study of transverse wave effects in nanofluidic environments. These chips may incorporate unique channel geometries, electrode configurations, or surface modifications to enhance wave-related phenomena.Expand Specific Solutions05 Applications of transverse wave effects in nanofluidics
Exploration of practical applications leveraging transverse wave effects in nanofluidic systems. This may include enhanced mixing protocols, novel separation techniques, or improved sensing methodologies that exploit wave-induced phenomena at the nanoscale.Expand Specific Solutions
Key Players in Nano Fluidic Systems Industry
The field of transverse wave effects in nano fluidic systems is in its early developmental stages, with significant potential for growth. The market size is relatively small but expanding rapidly as nanotechnology applications increase across industries. Technical maturity is still evolving, with leading research institutions like MIT, Princeton University, and the University of Tokyo driving advancements. Companies such as IBM and TSMC are exploring practical applications, while specialized firms like Nabsys 2.0 LLC focus on niche areas. The competitive landscape is characterized by a mix of academic research, large tech corporations, and innovative startups, each contributing to the field's progression through diverse approaches and applications.
The Regents of the University of California
Technical Solution: The University of California system has conducted extensive research on the implications of transverse wave effects in nanofluidic systems across multiple campuses. Their approach combines experimental studies with theoretical modeling to elucidate the fundamental physics of transverse waves in nanoconfined fluids. UC researchers have developed novel nanofluidic platforms that allow for the precise generation and measurement of transverse waves at the nanoscale [12]. These platforms have been used to investigate phenomena such as enhanced mass transport, anomalous diffusion, and unique rheological properties of fluids under the influence of transverse waves in nanoconfinement [14]. The UC system has also explored potential applications of these effects in areas such as water desalination, energy harvesting, and drug delivery systems [16].
Strengths: Comprehensive research spanning fundamental physics to practical applications; multi-disciplinary approach leveraging expertise across multiple campuses; diverse range of potential applications. Weaknesses: Challenges in translating research findings into commercially viable technologies; potential competition between different research groups within the UC system.
TAIWAN SEMICONDUCTOR CO., LTD.
Technical Solution: TSMC has developed nanofluidic systems that leverage transverse wave effects for enhancing semiconductor manufacturing processes. Their approach focuses on utilizing transverse waves to improve the precision and efficiency of chemical mechanical planarization (CMP) and photoresist stripping in advanced node semiconductor fabrication. TSMC's technology incorporates specially designed nanofluidic channels within the CMP pads and photoresist removal tools, which generate controlled transverse waves to enhance slurry distribution and chemical reactant transport [8]. This results in more uniform material removal and improved cleaning efficiency at the nanoscale. TSMC has also explored the use of transverse wave effects for enhancing the deposition of ultra-thin films in atomic layer deposition (ALD) processes, potentially enabling the creation of more uniform and defect-free layers for next-generation semiconductor devices [10].
Strengths: Direct application to semiconductor manufacturing; improved precision and efficiency in critical processes; potential for enabling next-generation device fabrication. Weaknesses: High implementation costs; need for extensive retooling of existing manufacturing equipment.
Core Innovations in Nano Fluidic Transverse Wave Effects
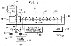
Traveling wave device providing prebunched transverse-wave beam
PatentInactiveUS3760219A
Innovation
- A novel electron gun design with a grid-cathode signal-propagating delay line that simulates a moving electron gun, creating a helical electron beam synchronized with circuit waves, enhancing prebunching and interaction efficiency by establishing a moving window for electron emission aligned with signal peaks.
Ultrasound test method, and related test device and well plate
PatentActiveUS20210354125A1
Innovation
- A modified well plate design with insulated wells and a lid made of materials with controlled sound transmission speed, along with a sound-absorbing layer and a separate ultrasound transmission liquid, minimizes transverse wave invasion and reduces reflections, ensuring consistent energy delivery to samples by preventing significant reflections and refractions.
Nano Fluidic System Fabrication Techniques
Nano fluidic system fabrication techniques have evolved significantly in recent years, driven by the need for precise control over fluid behavior at the nanoscale. These techniques are crucial for developing advanced systems that can leverage transverse wave effects in nano fluidic environments. The fabrication process typically involves a combination of top-down and bottom-up approaches, each offering unique advantages in creating intricate nano fluidic structures.
One of the primary fabrication methods is photolithography, which allows for the creation of precise patterns on substrates. This technique has been refined to achieve feature sizes below 100 nanometers, enabling the production of complex nano fluidic channels and structures. Electron beam lithography offers even higher resolution, capable of creating features as small as 10 nanometers, but at the cost of lower throughput.
Etching processes, both wet and dry, are essential for transferring patterns onto substrates and creating three-dimensional structures. Reactive ion etching, in particular, has become a staple in nano fluidic system fabrication due to its ability to create high aspect ratio structures with vertical sidewalls. This is crucial for maintaining consistent fluid behavior within nano channels.
Soft lithography techniques, such as replica molding and microcontact printing, have gained popularity for their versatility and cost-effectiveness. These methods allow for the rapid prototyping of nano fluidic devices using elastomeric materials like polydimethylsiloxane (PDMS). The flexibility of PDMS enables the creation of complex channel geometries and the integration of functional elements such as valves and pumps.
Advanced deposition techniques play a vital role in creating the necessary surface properties for nano fluidic systems. Atomic layer deposition (ALD) allows for the precise control of surface chemistry and the creation of ultra-thin, conformal coatings. This is particularly important for modifying channel surfaces to control fluid-wall interactions and enhance the effects of transverse waves.
Nanoimprint lithography has emerged as a promising technique for high-throughput fabrication of nano fluidic systems. This method involves pressing a mold into a polymer resist and curing it, allowing for the replication of nanoscale features over large areas. The ability to produce consistent nano structures at scale is crucial for the commercial viability of nano fluidic devices that exploit transverse wave effects.
The integration of these fabrication techniques often requires cleanroom facilities and specialized equipment. As the field progresses, there is a growing emphasis on developing fabrication methods that can be scaled up for mass production while maintaining the precision required for nano fluidic applications. This includes the exploration of roll-to-roll fabrication processes and the use of self-assembly techniques to create complex nano structures.
One of the primary fabrication methods is photolithography, which allows for the creation of precise patterns on substrates. This technique has been refined to achieve feature sizes below 100 nanometers, enabling the production of complex nano fluidic channels and structures. Electron beam lithography offers even higher resolution, capable of creating features as small as 10 nanometers, but at the cost of lower throughput.
Etching processes, both wet and dry, are essential for transferring patterns onto substrates and creating three-dimensional structures. Reactive ion etching, in particular, has become a staple in nano fluidic system fabrication due to its ability to create high aspect ratio structures with vertical sidewalls. This is crucial for maintaining consistent fluid behavior within nano channels.
Soft lithography techniques, such as replica molding and microcontact printing, have gained popularity for their versatility and cost-effectiveness. These methods allow for the rapid prototyping of nano fluidic devices using elastomeric materials like polydimethylsiloxane (PDMS). The flexibility of PDMS enables the creation of complex channel geometries and the integration of functional elements such as valves and pumps.
Advanced deposition techniques play a vital role in creating the necessary surface properties for nano fluidic systems. Atomic layer deposition (ALD) allows for the precise control of surface chemistry and the creation of ultra-thin, conformal coatings. This is particularly important for modifying channel surfaces to control fluid-wall interactions and enhance the effects of transverse waves.
Nanoimprint lithography has emerged as a promising technique for high-throughput fabrication of nano fluidic systems. This method involves pressing a mold into a polymer resist and curing it, allowing for the replication of nanoscale features over large areas. The ability to produce consistent nano structures at scale is crucial for the commercial viability of nano fluidic devices that exploit transverse wave effects.
The integration of these fabrication techniques often requires cleanroom facilities and specialized equipment. As the field progresses, there is a growing emphasis on developing fabrication methods that can be scaled up for mass production while maintaining the precision required for nano fluidic applications. This includes the exploration of roll-to-roll fabrication processes and the use of self-assembly techniques to create complex nano structures.
Environmental Impact of Nano Fluidic Technologies
The environmental impact of nano fluidic technologies is a critical consideration as these systems become increasingly prevalent in various applications. Transverse wave effects in nano fluidic systems can have both positive and negative implications for the environment. One of the primary concerns is the potential release of nanoparticles into ecosystems. As transverse waves propagate through nano fluidic channels, they may cause the detachment of nanoparticles from surfaces or generate new nanoparticles through cavitation processes. These released nanoparticles could potentially enter water systems or become airborne, leading to unintended environmental exposure.
However, the precise control of fluid dynamics at the nanoscale, enabled by transverse wave effects, may also offer environmental benefits. For instance, enhanced mixing and transport phenomena in nano fluidic systems could lead to more efficient chemical reactions and separations. This improved efficiency could result in reduced energy consumption and waste generation in various industrial processes, contributing to overall environmental sustainability.
The interaction between transverse waves and nano fluidic systems may also influence the behavior of pollutants in natural environments. Understanding these effects could lead to the development of more effective environmental remediation technologies. For example, transverse wave-induced phenomena could be harnessed to enhance the removal of contaminants from soil or water, potentially offering more eco-friendly cleanup solutions.
Moreover, the study of transverse wave effects in nano fluidic systems may provide insights into natural processes occurring at the nanoscale in the environment. This knowledge could improve our understanding of how pollutants interact with and move through ecosystems, enabling more accurate environmental modeling and risk assessment.
It is important to note that the long-term environmental consequences of nano fluidic technologies are not yet fully understood. As research in this field progresses, it will be crucial to conduct comprehensive life cycle assessments of nano fluidic devices and systems. These assessments should consider the environmental impacts associated with the production, use, and disposal of nano fluidic technologies, including the potential release of nanomaterials throughout their lifecycle.
However, the precise control of fluid dynamics at the nanoscale, enabled by transverse wave effects, may also offer environmental benefits. For instance, enhanced mixing and transport phenomena in nano fluidic systems could lead to more efficient chemical reactions and separations. This improved efficiency could result in reduced energy consumption and waste generation in various industrial processes, contributing to overall environmental sustainability.
The interaction between transverse waves and nano fluidic systems may also influence the behavior of pollutants in natural environments. Understanding these effects could lead to the development of more effective environmental remediation technologies. For example, transverse wave-induced phenomena could be harnessed to enhance the removal of contaminants from soil or water, potentially offering more eco-friendly cleanup solutions.
Moreover, the study of transverse wave effects in nano fluidic systems may provide insights into natural processes occurring at the nanoscale in the environment. This knowledge could improve our understanding of how pollutants interact with and move through ecosystems, enabling more accurate environmental modeling and risk assessment.
It is important to note that the long-term environmental consequences of nano fluidic technologies are not yet fully understood. As research in this field progresses, it will be crucial to conduct comprehensive life cycle assessments of nano fluidic devices and systems. These assessments should consider the environmental impacts associated with the production, use, and disposal of nano fluidic technologies, including the potential release of nanomaterials throughout their lifecycle.
Unlock deeper insights with Patsnap Eureka Quick Research — get a full tech report to explore trends and direct your research. Try now!
Generate Your Research Report Instantly with AI Agent
Supercharge your innovation with Patsnap Eureka AI Agent Platform!