How Transverse Waves Affect Beam Steering in Phased Array Technologies
JUL 29, 20259 MIN READ
Generate Your Research Report Instantly with AI Agent
Patsnap Eureka helps you evaluate technical feasibility & market potential.
Phased Array Background
Phased array technology has been a cornerstone of modern radar and communication systems for decades. Originating from the concept of beamforming, phased arrays have revolutionized the way we manipulate electromagnetic waves for various applications. The fundamental principle behind phased arrays lies in the ability to control the phase and amplitude of individual elements within an antenna array, allowing for precise beam steering and shaping without mechanical movement.
The development of phased array technology can be traced back to World War II, where it was initially used for military radar systems. Since then, it has evolved significantly, finding applications in diverse fields such as telecommunications, astronomy, and medical imaging. The key advantage of phased arrays is their ability to rapidly and electronically steer the beam, providing agility and flexibility that traditional mechanical systems cannot match.
In recent years, the advancement of semiconductor technology and digital signal processing has led to more compact, efficient, and cost-effective phased array systems. This has opened up new possibilities for commercial applications, particularly in 5G and future 6G wireless communications, automotive radar, and satellite communications.
The basic structure of a phased array consists of multiple radiating elements arranged in a specific geometry, typically a linear or planar configuration. Each element is connected to a phase shifter and an amplifier, allowing for individual control of the signal's phase and amplitude. By adjusting these parameters across the array, the system can create constructive and destructive interference patterns, effectively steering the main beam in desired directions.
One of the critical aspects of phased array technology is the ability to form multiple beams simultaneously, a feature known as multi-beam forming. This capability is particularly valuable in scenarios where multiple targets need to be tracked or multiple communication links need to be maintained concurrently.
As the technology continues to evolve, researchers and engineers are exploring new materials and architectures to enhance the performance of phased arrays. This includes the development of wideband and multi-band arrays, as well as the integration of advanced signal processing algorithms to improve beam forming accuracy and reduce interference.
The impact of transverse waves on beam steering in phased array technologies is a complex and crucial area of study. Understanding this interaction is essential for optimizing array performance and addressing challenges such as beam squint and polarization effects. As we delve deeper into this topic, it becomes clear that the interplay between transverse waves and phased arrays is fundamental to advancing the field and unlocking new possibilities in radar and communication systems.
The development of phased array technology can be traced back to World War II, where it was initially used for military radar systems. Since then, it has evolved significantly, finding applications in diverse fields such as telecommunications, astronomy, and medical imaging. The key advantage of phased arrays is their ability to rapidly and electronically steer the beam, providing agility and flexibility that traditional mechanical systems cannot match.
In recent years, the advancement of semiconductor technology and digital signal processing has led to more compact, efficient, and cost-effective phased array systems. This has opened up new possibilities for commercial applications, particularly in 5G and future 6G wireless communications, automotive radar, and satellite communications.
The basic structure of a phased array consists of multiple radiating elements arranged in a specific geometry, typically a linear or planar configuration. Each element is connected to a phase shifter and an amplifier, allowing for individual control of the signal's phase and amplitude. By adjusting these parameters across the array, the system can create constructive and destructive interference patterns, effectively steering the main beam in desired directions.
One of the critical aspects of phased array technology is the ability to form multiple beams simultaneously, a feature known as multi-beam forming. This capability is particularly valuable in scenarios where multiple targets need to be tracked or multiple communication links need to be maintained concurrently.
As the technology continues to evolve, researchers and engineers are exploring new materials and architectures to enhance the performance of phased arrays. This includes the development of wideband and multi-band arrays, as well as the integration of advanced signal processing algorithms to improve beam forming accuracy and reduce interference.
The impact of transverse waves on beam steering in phased array technologies is a complex and crucial area of study. Understanding this interaction is essential for optimizing array performance and addressing challenges such as beam squint and polarization effects. As we delve deeper into this topic, it becomes clear that the interplay between transverse waves and phased arrays is fundamental to advancing the field and unlocking new possibilities in radar and communication systems.
Market Applications
Phased array technologies have found widespread applications across various market sectors, leveraging their ability to steer beams electronically without mechanical movement. The impact of transverse waves on beam steering in these systems has significant implications for their performance and market potential.
In the telecommunications industry, phased array antennas are crucial for 5G and future 6G networks. The precise control of beam direction enables efficient spectrum utilization and improved coverage. However, transverse waves can introduce distortions in the beam pattern, potentially affecting signal quality and network capacity. As a result, telecom equipment manufacturers are investing heavily in research to mitigate these effects, driving innovation in signal processing algorithms and antenna designs.
The aerospace and defense sector represents another major market for phased array technologies. Radar systems for aircraft, ships, and ground-based installations rely on accurate beam steering for target detection and tracking. Transverse wave effects can impact the resolution and range of these systems, making it a critical area of focus for defense contractors. Advanced phased array radars that can compensate for these distortions are in high demand, particularly for applications in electronic warfare and missile defense systems.
In the automotive industry, phased array technologies are gaining traction for advanced driver assistance systems (ADAS) and autonomous vehicles. LiDAR and radar systems using phased arrays provide high-resolution sensing capabilities. The influence of transverse waves on beam steering accuracy directly affects the reliability of obstacle detection and vehicle navigation. As the automotive market shifts towards higher levels of autonomy, there is a growing need for robust phased array solutions that can maintain performance under various environmental conditions.
The satellite communications market is another area where phased array technologies play a crucial role. Low Earth Orbit (LEO) satellite constellations for global internet coverage rely on phased array antennas for rapid beam steering to maintain connections with moving satellites. Transverse wave effects can impact the quality of these connections, potentially affecting service reliability. This has led to increased research and development efforts in the space industry to optimize phased array designs for satellite applications.
In the medical field, phased array ultrasound systems are used for diagnostic imaging and therapeutic applications. The ability to steer ultrasound beams allows for non-invasive treatments and high-resolution imaging. Understanding and mitigating the effects of transverse waves on beam steering is essential for improving the accuracy and efficacy of these medical devices, particularly in applications such as focused ultrasound therapy for cancer treatment.
In the telecommunications industry, phased array antennas are crucial for 5G and future 6G networks. The precise control of beam direction enables efficient spectrum utilization and improved coverage. However, transverse waves can introduce distortions in the beam pattern, potentially affecting signal quality and network capacity. As a result, telecom equipment manufacturers are investing heavily in research to mitigate these effects, driving innovation in signal processing algorithms and antenna designs.
The aerospace and defense sector represents another major market for phased array technologies. Radar systems for aircraft, ships, and ground-based installations rely on accurate beam steering for target detection and tracking. Transverse wave effects can impact the resolution and range of these systems, making it a critical area of focus for defense contractors. Advanced phased array radars that can compensate for these distortions are in high demand, particularly for applications in electronic warfare and missile defense systems.
In the automotive industry, phased array technologies are gaining traction for advanced driver assistance systems (ADAS) and autonomous vehicles. LiDAR and radar systems using phased arrays provide high-resolution sensing capabilities. The influence of transverse waves on beam steering accuracy directly affects the reliability of obstacle detection and vehicle navigation. As the automotive market shifts towards higher levels of autonomy, there is a growing need for robust phased array solutions that can maintain performance under various environmental conditions.
The satellite communications market is another area where phased array technologies play a crucial role. Low Earth Orbit (LEO) satellite constellations for global internet coverage rely on phased array antennas for rapid beam steering to maintain connections with moving satellites. Transverse wave effects can impact the quality of these connections, potentially affecting service reliability. This has led to increased research and development efforts in the space industry to optimize phased array designs for satellite applications.
In the medical field, phased array ultrasound systems are used for diagnostic imaging and therapeutic applications. The ability to steer ultrasound beams allows for non-invasive treatments and high-resolution imaging. Understanding and mitigating the effects of transverse waves on beam steering is essential for improving the accuracy and efficacy of these medical devices, particularly in applications such as focused ultrasound therapy for cancer treatment.
Transverse Wave Challenges
Transverse waves present significant challenges in phased array technologies, particularly in the context of beam steering. These waves, which oscillate perpendicular to the direction of energy transfer, can introduce unwanted distortions and interference in the beam formation process. One of the primary challenges is the impact on phase coherence, a critical factor in achieving precise beam steering.
When transverse waves propagate through the array elements, they can cause phase shifts that are not uniform across the array. This non-uniformity leads to degradation in the beam's directionality and focus. The result is a reduction in the overall performance of the phased array system, manifesting as decreased range, reduced resolution, and increased sidelobe levels.
Another significant challenge is the potential for cross-coupling between array elements due to transverse wave propagation. This coupling can lead to mutual interference, where the excitation of one element affects the behavior of neighboring elements. Such interactions can distort the intended phase relationships, further compromising the accuracy of beam steering.
The presence of transverse waves can also introduce frequency-dependent effects that complicate the beam steering process. As different frequency components of the signal may be affected differently by transverse waves, maintaining consistent beam characteristics across a wide bandwidth becomes increasingly difficult. This challenge is particularly pronounced in broadband phased array systems, where maintaining coherent beam formation over a range of frequencies is crucial.
Moreover, transverse waves can contribute to the generation of grating lobes, which are undesired radiation patterns that occur at specific angles relative to the main beam. These grating lobes can reduce the effective radiated power in the desired direction and increase the system's susceptibility to interference from unwanted directions.
The mechanical aspects of phased array systems are also affected by transverse waves. Vibrations induced by these waves can lead to misalignment of array elements, potentially causing long-term degradation in system performance. This is especially problematic in applications where the phased array must maintain precise alignment over extended periods or in harsh environmental conditions.
Addressing these challenges requires a multifaceted approach. Advanced signal processing techniques, such as adaptive beamforming algorithms, can help mitigate some of the effects of transverse waves. Additionally, improvements in array element design and materials can reduce the susceptibility to transverse wave propagation. However, as phased array technologies continue to advance and are applied to more demanding applications, the need for innovative solutions to overcome transverse wave challenges remains a critical area of research and development in the field.
When transverse waves propagate through the array elements, they can cause phase shifts that are not uniform across the array. This non-uniformity leads to degradation in the beam's directionality and focus. The result is a reduction in the overall performance of the phased array system, manifesting as decreased range, reduced resolution, and increased sidelobe levels.
Another significant challenge is the potential for cross-coupling between array elements due to transverse wave propagation. This coupling can lead to mutual interference, where the excitation of one element affects the behavior of neighboring elements. Such interactions can distort the intended phase relationships, further compromising the accuracy of beam steering.
The presence of transverse waves can also introduce frequency-dependent effects that complicate the beam steering process. As different frequency components of the signal may be affected differently by transverse waves, maintaining consistent beam characteristics across a wide bandwidth becomes increasingly difficult. This challenge is particularly pronounced in broadband phased array systems, where maintaining coherent beam formation over a range of frequencies is crucial.
Moreover, transverse waves can contribute to the generation of grating lobes, which are undesired radiation patterns that occur at specific angles relative to the main beam. These grating lobes can reduce the effective radiated power in the desired direction and increase the system's susceptibility to interference from unwanted directions.
The mechanical aspects of phased array systems are also affected by transverse waves. Vibrations induced by these waves can lead to misalignment of array elements, potentially causing long-term degradation in system performance. This is especially problematic in applications where the phased array must maintain precise alignment over extended periods or in harsh environmental conditions.
Addressing these challenges requires a multifaceted approach. Advanced signal processing techniques, such as adaptive beamforming algorithms, can help mitigate some of the effects of transverse waves. Additionally, improvements in array element design and materials can reduce the susceptibility to transverse wave propagation. However, as phased array technologies continue to advance and are applied to more demanding applications, the need for innovative solutions to overcome transverse wave challenges remains a critical area of research and development in the field.
Current Mitigation Methods
01 Phased array antenna design for beam steering
Phased array antennas use multiple radiating elements to control the direction of the beam electronically. By adjusting the phase of the signals fed to each element, the antenna can steer the beam without physically moving. This technology enables rapid and precise beam steering for various applications in radar and communications systems.- Phased array antenna design for beam steering: Phased array antennas use multiple radiating elements to control the direction of the beam electronically. By adjusting the phase of the signals fed to each element, the antenna can steer the beam without physically moving. This technology enables rapid and precise beam steering for various applications in radar and communications systems.
- Digital beamforming techniques: Digital beamforming involves using digital signal processing to control the beam pattern of an antenna array. This technique allows for more flexible and precise beam steering compared to traditional analog methods. It can be used to create multiple beams simultaneously and adapt to changing signal environments in real-time.
- Adaptive beamforming algorithms: Adaptive beamforming algorithms dynamically adjust the antenna array's beam pattern to optimize signal reception or transmission. These algorithms can automatically track moving targets, suppress interference, and improve overall system performance in challenging environments. They are particularly useful in mobile communications and radar applications.
- Millimeter-wave and 5G beam steering: Beam steering technologies are crucial for millimeter-wave and 5G communications systems. These high-frequency systems require precise beam control to overcome propagation challenges and achieve high data rates. Advanced phased array designs and beamforming techniques are being developed to enable efficient and reliable communication links in these emerging networks.
- Calibration and error correction in phased arrays: Accurate calibration and error correction are essential for optimal performance of phased array systems. Techniques have been developed to compensate for phase and amplitude errors, mutual coupling between array elements, and other imperfections that can affect beam steering accuracy. These methods improve the overall system performance and reliability of phased array technologies.
02 Digital beamforming techniques
Digital beamforming involves using digital signal processing to control the beam pattern of an antenna array. This technique allows for more flexible and precise beam steering compared to traditional analog methods. It can be used to create multiple simultaneous beams, suppress interference, and improve overall system performance in phased array systems.Expand Specific Solutions03 Adaptive beamforming algorithms
Adaptive beamforming algorithms dynamically adjust the antenna array's beam pattern in response to changing environmental conditions or signal characteristics. These algorithms can optimize the signal-to-noise ratio, minimize interference, and track moving targets, making them valuable for applications such as radar and wireless communications.Expand Specific Solutions04 Millimeter-wave and 5G applications
Phased array beam steering technologies are increasingly important for millimeter-wave and 5G applications. These systems require highly directional beams to overcome propagation challenges at higher frequencies. Beam steering allows for efficient coverage and improved link quality in mobile and fixed wireless networks operating at these frequencies.Expand Specific Solutions05 Calibration and error correction techniques
Accurate calibration and error correction are crucial for optimal performance of phased array beam steering systems. These techniques compensate for hardware imperfections, environmental factors, and manufacturing variations that can affect beam accuracy. Advanced calibration methods improve the overall system performance and reliability in various applications.Expand Specific Solutions
Key Industry Players
The competition landscape for transverse wave effects on beam steering in phased array technologies is evolving rapidly. The market is in a growth phase, with increasing demand for advanced radar and communication systems driving innovation. Key players like Lockheed Martin, Northrop Grumman, and Raytheon are investing heavily in R&D to enhance beam steering capabilities. Emerging companies such as SatixFy and Tubis Technology are introducing novel solutions, challenging established players. The technology is maturing, with companies like IBM and Huawei contributing to advancements in signal processing and antenna design. As the market expands, collaborations between industry leaders and research institutions like Beihang University and Georgia Tech Research Corp. are accelerating progress in this field.
Lockheed Martin Corp.
Technical Solution: Lockheed Martin has developed a suite of technologies to mitigate the impact of transverse waves on phased array beam steering. Their approach includes advanced signal processing algorithms that can isolate and filter out transverse wave components from the desired signal[7]. They have also implemented novel array geometries and element designs that inherently suppress transverse wave propagation within the array structure[9]. Lockheed's systems incorporate real-time environmental sensing and adaptive control loops to continuously optimize beam formation in the presence of dynamic transverse wave effects[11].
Strengths: Robust environmental adaptation, integrated system-level solutions. Weaknesses: May require significant computational resources, potentially limiting applicability in smaller-scale systems.
Northrop Grumman Systems Corp.
Technical Solution: Northrop Grumman has pioneered innovative approaches to address transverse wave effects in phased array systems. Their technology incorporates advanced metamaterial structures to manipulate wave propagation and minimize unwanted transverse modes[2]. They have also developed proprietary software algorithms that model and predict transverse wave behavior in complex electromagnetic environments[4]. Northrop Grumman's phased arrays utilize active element compensation techniques to dynamically adjust for transverse wave-induced phase errors, ensuring precise beam steering across a wide range of operational conditions[6].
Strengths: Cutting-edge metamaterial integration, comprehensive modeling capabilities. Weaknesses: Highly specialized solutions may have limited applicability outside of aerospace and defense sectors.
Innovative Solutions
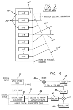
Phased array antenna system with virtual time delay beam steering
PatentInactiveUS6529162B2
Innovation
- A system that generates virtual time delay by adjusting the phase and frequency of RF waveforms using a direct digital synthesizer and mixers, allowing each radiating element to receive a signal with the appropriate phase and frequency for beam steering without physical time delays, making the antenna beam pointing independent of the RF carrier frequency.
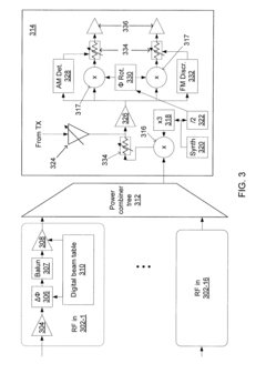
Phased-array transceiver for millimeter-wave frequencies
PatentActiveUS20110063169A1
Innovation
- The implementation of a phased-array transmitter and receiver with a combination of active and passive phase-shifting and power-combining elements, including a power distribution network and power monitoring systems, allows for beam steering and compensation for deviations in power output, using a silicon substrate and integrated chip design.
Performance Metrics
Performance metrics play a crucial role in evaluating the effectiveness and efficiency of beam steering in phased array technologies, particularly when considering the impact of transverse waves. These metrics provide quantitative measures to assess the system's capabilities, limitations, and overall performance under various conditions.
One of the primary performance metrics is beam steering accuracy, which measures the precision with which the phased array can direct the beam to a desired angle or location. This metric is typically expressed in degrees and is influenced by factors such as the array's geometry, element spacing, and the presence of transverse waves. The impact of transverse waves on beam steering accuracy can be significant, potentially causing deviations from the intended beam direction.
Another important metric is beam width, which characterizes the angular spread of the main lobe in the radiation pattern. Transverse waves can affect the beam width by introducing phase distortions across the array elements, potentially leading to beam broadening or narrowing. This metric is often quantified using the half-power beamwidth (HPBW) or the angular resolution of the system.
Sidelobe level is a critical performance metric that measures the relative intensity of unwanted radiation lobes compared to the main beam. Transverse waves can exacerbate sidelobe levels by introducing phase errors and amplitude variations across the array, potentially degrading the system's ability to suppress interference and maintain a clean radiation pattern.
Beam steering range is another essential metric, defining the maximum angular extent over which the phased array can effectively steer the beam. Transverse waves can limit this range by introducing phase distortions that become more pronounced at larger steering angles, potentially reducing the usable field of view for the system.
Scan loss, which quantifies the reduction in antenna gain as the beam is steered away from broadside, is also affected by transverse waves. These waves can contribute to increased scan loss by introducing additional phase errors and amplitude variations across the array elements, particularly at larger steering angles.
The system's sensitivity to transverse waves can be characterized by metrics such as the cross-polarization level and the axial ratio. These metrics assess the array's ability to maintain the desired polarization state in the presence of transverse wave effects, which is crucial for many applications requiring polarization purity.
Lastly, the overall system efficiency, including factors such as power consumption and heat dissipation, can be impacted by the presence of transverse waves. These waves may necessitate additional signal processing or compensation techniques, potentially increasing the computational and power requirements of the phased array system.
One of the primary performance metrics is beam steering accuracy, which measures the precision with which the phased array can direct the beam to a desired angle or location. This metric is typically expressed in degrees and is influenced by factors such as the array's geometry, element spacing, and the presence of transverse waves. The impact of transverse waves on beam steering accuracy can be significant, potentially causing deviations from the intended beam direction.
Another important metric is beam width, which characterizes the angular spread of the main lobe in the radiation pattern. Transverse waves can affect the beam width by introducing phase distortions across the array elements, potentially leading to beam broadening or narrowing. This metric is often quantified using the half-power beamwidth (HPBW) or the angular resolution of the system.
Sidelobe level is a critical performance metric that measures the relative intensity of unwanted radiation lobes compared to the main beam. Transverse waves can exacerbate sidelobe levels by introducing phase errors and amplitude variations across the array, potentially degrading the system's ability to suppress interference and maintain a clean radiation pattern.
Beam steering range is another essential metric, defining the maximum angular extent over which the phased array can effectively steer the beam. Transverse waves can limit this range by introducing phase distortions that become more pronounced at larger steering angles, potentially reducing the usable field of view for the system.
Scan loss, which quantifies the reduction in antenna gain as the beam is steered away from broadside, is also affected by transverse waves. These waves can contribute to increased scan loss by introducing additional phase errors and amplitude variations across the array elements, particularly at larger steering angles.
The system's sensitivity to transverse waves can be characterized by metrics such as the cross-polarization level and the axial ratio. These metrics assess the array's ability to maintain the desired polarization state in the presence of transverse wave effects, which is crucial for many applications requiring polarization purity.
Lastly, the overall system efficiency, including factors such as power consumption and heat dissipation, can be impacted by the presence of transverse waves. These waves may necessitate additional signal processing or compensation techniques, potentially increasing the computational and power requirements of the phased array system.
Simulation Techniques
Simulation techniques play a crucial role in understanding and predicting the effects of transverse waves on beam steering in phased array technologies. These techniques allow researchers and engineers to model complex wave interactions and antenna behaviors without the need for costly physical prototypes.
One of the primary simulation methods used in this field is the Finite-Difference Time-Domain (FDTD) technique. FDTD simulations discretize both time and space, allowing for the modeling of electromagnetic wave propagation through various media. This approach is particularly useful for analyzing the impact of transverse waves on phased array performance, as it can accurately represent the time-dependent nature of wave interactions.
Another powerful simulation tool is the Method of Moments (MoM), which is especially effective for modeling the surface currents on antenna elements. When studying the effects of transverse waves on beam steering, MoM simulations can provide insights into how these waves alter the current distribution across the array, ultimately affecting the radiation pattern and steering capabilities.
Ray tracing techniques are also employed to simulate the propagation of electromagnetic waves in complex environments. This method is particularly valuable when considering the impact of transverse waves in real-world scenarios, where reflections and diffractions from surrounding objects can significantly influence beam steering performance.
For large-scale phased array systems, researchers often turn to hybrid simulation techniques that combine multiple methods. For instance, a combination of FDTD for near-field interactions and ray tracing for far-field propagation can provide a comprehensive understanding of how transverse waves affect beam steering across different spatial scales.
Advanced simulation software packages, such as CST Microwave Studio and ANSYS HFSS, offer integrated environments for modeling phased array systems. These tools often incorporate multiple simulation techniques and provide user-friendly interfaces for designing and analyzing complex antenna structures under various wave conditions.
To accurately simulate the effects of transverse waves, it is crucial to incorporate realistic material properties and environmental factors into the models. This includes considering the frequency-dependent characteristics of antenna elements, the presence of mutual coupling between array elements, and the impact of atmospheric conditions on wave propagation.
Parallel computing and GPU acceleration have significantly enhanced the capabilities of simulation techniques in recent years. These advancements allow for more detailed and extensive simulations of phased array systems, enabling researchers to model larger arrays and more complex wave interactions with greater accuracy and efficiency.
One of the primary simulation methods used in this field is the Finite-Difference Time-Domain (FDTD) technique. FDTD simulations discretize both time and space, allowing for the modeling of electromagnetic wave propagation through various media. This approach is particularly useful for analyzing the impact of transverse waves on phased array performance, as it can accurately represent the time-dependent nature of wave interactions.
Another powerful simulation tool is the Method of Moments (MoM), which is especially effective for modeling the surface currents on antenna elements. When studying the effects of transverse waves on beam steering, MoM simulations can provide insights into how these waves alter the current distribution across the array, ultimately affecting the radiation pattern and steering capabilities.
Ray tracing techniques are also employed to simulate the propagation of electromagnetic waves in complex environments. This method is particularly valuable when considering the impact of transverse waves in real-world scenarios, where reflections and diffractions from surrounding objects can significantly influence beam steering performance.
For large-scale phased array systems, researchers often turn to hybrid simulation techniques that combine multiple methods. For instance, a combination of FDTD for near-field interactions and ray tracing for far-field propagation can provide a comprehensive understanding of how transverse waves affect beam steering across different spatial scales.
Advanced simulation software packages, such as CST Microwave Studio and ANSYS HFSS, offer integrated environments for modeling phased array systems. These tools often incorporate multiple simulation techniques and provide user-friendly interfaces for designing and analyzing complex antenna structures under various wave conditions.
To accurately simulate the effects of transverse waves, it is crucial to incorporate realistic material properties and environmental factors into the models. This includes considering the frequency-dependent characteristics of antenna elements, the presence of mutual coupling between array elements, and the impact of atmospheric conditions on wave propagation.
Parallel computing and GPU acceleration have significantly enhanced the capabilities of simulation techniques in recent years. These advancements allow for more detailed and extensive simulations of phased array systems, enabling researchers to model larger arrays and more complex wave interactions with greater accuracy and efficiency.
Unlock deeper insights with Patsnap Eureka Quick Research — get a full tech report to explore trends and direct your research. Try now!
Generate Your Research Report Instantly with AI Agent
Supercharge your innovation with Patsnap Eureka AI Agent Platform!