How Transverse Waves Enhance the Capabilities of Subsurface Radar Technologies
JUL 29, 20259 MIN READ
Generate Your Research Report Instantly with AI Agent
Patsnap Eureka helps you evaluate technical feasibility & market potential.
Transverse Wave Radar Background and Objectives
Transverse wave radar technology represents a significant advancement in subsurface imaging capabilities, building upon decades of research and development in ground-penetrating radar (GPR) systems. The evolution of this technology can be traced back to the early applications of electromagnetic waves for subsurface exploration in the mid-20th century. As traditional GPR systems faced limitations in penetration depth and resolution, particularly in challenging environments, the need for more sophisticated techniques became apparent.
The primary objective of transverse wave radar technology is to enhance the capabilities of subsurface imaging by leveraging the unique properties of transverse electromagnetic waves. These waves, characterized by their oscillation perpendicular to the direction of propagation, offer several advantages over conventional longitudinal waves used in traditional GPR systems. The goal is to achieve greater penetration depths, improved resolution, and enhanced target discrimination in various subsurface environments.
One of the key technological trends driving the development of transverse wave radar is the increasing demand for non-invasive subsurface imaging across multiple industries. From civil engineering and archaeology to environmental monitoring and defense applications, the need for accurate and detailed subsurface information continues to grow. This has spurred research into novel wave propagation techniques and advanced signal processing algorithms to extract more meaningful data from subsurface reflections.
The evolution of transverse wave radar technology has been marked by several significant milestones. Early experiments demonstrated the potential of using polarized electromagnetic waves to improve target detection and characterization. Subsequent advancements in antenna design and signal processing techniques have further enhanced the capabilities of these systems. The integration of artificial intelligence and machine learning algorithms has also played a crucial role in improving data interpretation and reducing false positives.
Looking ahead, the technological objectives for transverse wave radar systems include achieving higher resolution imaging at greater depths, developing more compact and portable systems, and improving real-time data processing capabilities. There is also a focus on enhancing the technology's performance in challenging environments, such as highly conductive soils or areas with significant electromagnetic interference. Additionally, researchers are exploring the potential of combining transverse wave radar with other sensing technologies to create more comprehensive subsurface imaging solutions.
As the technology continues to mature, it is expected to open up new possibilities in fields such as precision agriculture, urban planning, and natural resource exploration. The ongoing research aims to push the boundaries of what is possible in subsurface imaging, potentially revolutionizing our understanding and interaction with the hidden world beneath our feet.
The primary objective of transverse wave radar technology is to enhance the capabilities of subsurface imaging by leveraging the unique properties of transverse electromagnetic waves. These waves, characterized by their oscillation perpendicular to the direction of propagation, offer several advantages over conventional longitudinal waves used in traditional GPR systems. The goal is to achieve greater penetration depths, improved resolution, and enhanced target discrimination in various subsurface environments.
One of the key technological trends driving the development of transverse wave radar is the increasing demand for non-invasive subsurface imaging across multiple industries. From civil engineering and archaeology to environmental monitoring and defense applications, the need for accurate and detailed subsurface information continues to grow. This has spurred research into novel wave propagation techniques and advanced signal processing algorithms to extract more meaningful data from subsurface reflections.
The evolution of transverse wave radar technology has been marked by several significant milestones. Early experiments demonstrated the potential of using polarized electromagnetic waves to improve target detection and characterization. Subsequent advancements in antenna design and signal processing techniques have further enhanced the capabilities of these systems. The integration of artificial intelligence and machine learning algorithms has also played a crucial role in improving data interpretation and reducing false positives.
Looking ahead, the technological objectives for transverse wave radar systems include achieving higher resolution imaging at greater depths, developing more compact and portable systems, and improving real-time data processing capabilities. There is also a focus on enhancing the technology's performance in challenging environments, such as highly conductive soils or areas with significant electromagnetic interference. Additionally, researchers are exploring the potential of combining transverse wave radar with other sensing technologies to create more comprehensive subsurface imaging solutions.
As the technology continues to mature, it is expected to open up new possibilities in fields such as precision agriculture, urban planning, and natural resource exploration. The ongoing research aims to push the boundaries of what is possible in subsurface imaging, potentially revolutionizing our understanding and interaction with the hidden world beneath our feet.
Market Analysis for Advanced Subsurface Radar Systems
The market for advanced subsurface radar systems is experiencing significant growth, driven by increasing demand across various sectors. The integration of transverse wave technology has opened up new possibilities, enhancing the capabilities and applications of these systems. In the construction and infrastructure sector, there is a growing need for accurate underground mapping to prevent damage to existing utilities during excavation and construction projects. This has led to a surge in demand for high-resolution subsurface imaging technologies.
The oil and gas industry continues to be a major market driver, as companies seek more efficient and cost-effective methods for resource exploration and reservoir characterization. Advanced subsurface radar systems utilizing transverse waves offer improved depth penetration and resolution, making them invaluable tools for identifying potential drilling sites and optimizing production strategies.
Environmental and geological applications represent another rapidly expanding market segment. As climate change concerns grow, there is an increased focus on monitoring soil moisture, groundwater resources, and permafrost conditions. Transverse wave-enhanced radar systems provide more detailed subsurface information, enabling better management of water resources and assessment of environmental risks.
The defense and security sector is also showing keen interest in advanced subsurface radar technologies. These systems are being employed for detecting buried explosives, locating underground tunnels, and conducting covert surveillance operations. The enhanced capabilities offered by transverse wave technology make these radar systems more effective in challenging environments and against sophisticated concealment techniques.
In the field of archaeology and cultural heritage preservation, there is a growing demand for non-invasive methods to locate and map buried artifacts and structures. Advanced subsurface radar systems offer a solution that minimizes site disturbance while providing high-resolution imaging of underground features.
The global market for advanced subsurface radar systems is projected to show strong growth over the next decade. North America and Europe currently lead in terms of market share, but rapid adoption is expected in Asia-Pacific and Middle Eastern regions, particularly in countries with significant infrastructure development plans or natural resource exploration activities.
Key factors driving market growth include technological advancements in signal processing and data interpretation, increasing awareness of the benefits of non-destructive testing methods, and the growing need for efficient underground asset management in urban areas. However, challenges such as high initial costs and the need for specialized training may slow adoption rates in some sectors.
The oil and gas industry continues to be a major market driver, as companies seek more efficient and cost-effective methods for resource exploration and reservoir characterization. Advanced subsurface radar systems utilizing transverse waves offer improved depth penetration and resolution, making them invaluable tools for identifying potential drilling sites and optimizing production strategies.
Environmental and geological applications represent another rapidly expanding market segment. As climate change concerns grow, there is an increased focus on monitoring soil moisture, groundwater resources, and permafrost conditions. Transverse wave-enhanced radar systems provide more detailed subsurface information, enabling better management of water resources and assessment of environmental risks.
The defense and security sector is also showing keen interest in advanced subsurface radar technologies. These systems are being employed for detecting buried explosives, locating underground tunnels, and conducting covert surveillance operations. The enhanced capabilities offered by transverse wave technology make these radar systems more effective in challenging environments and against sophisticated concealment techniques.
In the field of archaeology and cultural heritage preservation, there is a growing demand for non-invasive methods to locate and map buried artifacts and structures. Advanced subsurface radar systems offer a solution that minimizes site disturbance while providing high-resolution imaging of underground features.
The global market for advanced subsurface radar systems is projected to show strong growth over the next decade. North America and Europe currently lead in terms of market share, but rapid adoption is expected in Asia-Pacific and Middle Eastern regions, particularly in countries with significant infrastructure development plans or natural resource exploration activities.
Key factors driving market growth include technological advancements in signal processing and data interpretation, increasing awareness of the benefits of non-destructive testing methods, and the growing need for efficient underground asset management in urban areas. However, challenges such as high initial costs and the need for specialized training may slow adoption rates in some sectors.
Current Challenges in Subsurface Radar Technologies
Subsurface radar technologies, while powerful, face several significant challenges that limit their effectiveness and widespread adoption. One of the primary obstacles is the attenuation of radar signals as they penetrate deeper into the ground. This signal loss is particularly pronounced in conductive or moisture-rich soils, severely restricting the depth of penetration and the quality of data obtained from greater depths.
Another critical challenge is the resolution and accuracy of subsurface imaging. Current technologies often struggle to provide clear, high-resolution images of underground structures, especially when dealing with complex geological formations or closely spaced objects. This limitation can lead to misinterpretations of subsurface conditions and potentially costly errors in applications such as archaeological excavations or utility mapping.
Interference from surface clutter and unwanted reflections poses a significant problem for subsurface radar systems. These unwanted signals can mask or distort the reflections from target objects, making it difficult to distinguish between relevant data and noise. This issue is particularly pronounced in urban environments or areas with dense surface features.
The interpretation of radar data remains a complex task, often requiring significant expertise and experience. Automated interpretation algorithms, while improving, still struggle with the variability and complexity of subsurface environments. This reliance on human interpretation can lead to inconsistencies and limits the speed at which large areas can be surveyed and analyzed.
Power consumption and equipment size are ongoing challenges, especially for portable or drone-mounted systems. The need for high-power transmitters to achieve adequate penetration depth conflicts with the desire for compact, energy-efficient devices suitable for field use. This trade-off often results in compromises between performance and portability.
Environmental factors such as temperature fluctuations, moisture content, and soil composition can significantly affect radar performance. These variables can change rapidly, making it difficult to maintain consistent results across different survey conditions. Calibration and adaptation to these changing conditions remain challenging for many subsurface radar systems.
Lastly, the regulatory landscape surrounding the use of radar technologies can be complex and restrictive. Frequency allocations and power limitations vary across jurisdictions, potentially limiting the deployment and effectiveness of subsurface radar systems in certain areas or applications.
Another critical challenge is the resolution and accuracy of subsurface imaging. Current technologies often struggle to provide clear, high-resolution images of underground structures, especially when dealing with complex geological formations or closely spaced objects. This limitation can lead to misinterpretations of subsurface conditions and potentially costly errors in applications such as archaeological excavations or utility mapping.
Interference from surface clutter and unwanted reflections poses a significant problem for subsurface radar systems. These unwanted signals can mask or distort the reflections from target objects, making it difficult to distinguish between relevant data and noise. This issue is particularly pronounced in urban environments or areas with dense surface features.
The interpretation of radar data remains a complex task, often requiring significant expertise and experience. Automated interpretation algorithms, while improving, still struggle with the variability and complexity of subsurface environments. This reliance on human interpretation can lead to inconsistencies and limits the speed at which large areas can be surveyed and analyzed.
Power consumption and equipment size are ongoing challenges, especially for portable or drone-mounted systems. The need for high-power transmitters to achieve adequate penetration depth conflicts with the desire for compact, energy-efficient devices suitable for field use. This trade-off often results in compromises between performance and portability.
Environmental factors such as temperature fluctuations, moisture content, and soil composition can significantly affect radar performance. These variables can change rapidly, making it difficult to maintain consistent results across different survey conditions. Calibration and adaptation to these changing conditions remain challenging for many subsurface radar systems.
Lastly, the regulatory landscape surrounding the use of radar technologies can be complex and restrictive. Frequency allocations and power limitations vary across jurisdictions, potentially limiting the deployment and effectiveness of subsurface radar systems in certain areas or applications.
Existing Transverse Wave Radar Solutions
01 Ground Penetrating Radar (GPR) Systems
GPR systems use electromagnetic waves to detect subsurface objects and structures. These systems can penetrate various materials, including soil, rock, and concrete, providing high-resolution images of underground features. GPR technology is widely used in geological surveys, archaeological investigations, and infrastructure assessment.- Ground Penetrating Radar Systems: Advanced subsurface radar technologies capable of detecting and imaging objects beneath the ground. These systems use electromagnetic waves to penetrate soil, rock, or other materials, providing high-resolution images of buried structures, utilities, or geological features. They are widely used in archaeology, civil engineering, and environmental studies.
- Through-Wall Radar Imaging: Radar technologies designed to detect and visualize objects or people behind walls or other solid barriers. These systems employ ultra-wideband signals to penetrate various building materials, enabling applications in law enforcement, search and rescue operations, and military reconnaissance.
- Subsurface Positioning and Navigation: Radar-based technologies for accurate positioning and navigation in underground environments where GPS signals are unavailable. These systems use a combination of inertial sensors and radar measurements to track movement and create maps of subsurface spaces, crucial for mining operations and underground rescue missions.
- Borehole Radar Systems: Specialized radar technologies designed for use in boreholes or wells. These systems provide high-resolution imaging of the surrounding rock formations, helping to identify fractures, voids, and other geological features. They are particularly valuable in oil and gas exploration, geothermal energy development, and groundwater studies.
- Multi-Frequency and Multi-Channel Radar: Advanced radar systems that utilize multiple frequencies or channels to enhance subsurface imaging capabilities. By combining data from different frequency ranges, these technologies can improve depth penetration, resolution, and target discrimination in various subsurface environments, making them valuable for complex geological surveys and infrastructure assessment.
02 Synthetic Aperture Radar (SAR) for Subsurface Imaging
SAR technology utilizes radar signals to create high-resolution images of the Earth's surface and subsurface features. By processing multiple radar echoes, SAR can generate detailed 3D maps of terrain and detect hidden structures beneath the ground. This technology is particularly useful for large-scale geological surveys and remote sensing applications.Expand Specific Solutions03 Through-Wall Radar Imaging
Through-wall radar systems can detect and image objects behind obstacles such as walls, debris, or foliage. These systems use ultra-wideband signals to penetrate various materials and create images of hidden targets. Applications include search and rescue operations, law enforcement, and military reconnaissance.Expand Specific Solutions04 Borehole Radar Technology
Borehole radar systems are designed for subsurface exploration in deep wells or boreholes. These systems can provide high-resolution images of geological structures, fractures, and fluid-filled zones around the borehole. Borehole radar is particularly useful in oil and gas exploration, geothermal energy development, and groundwater studies.Expand Specific Solutions05 Advanced Signal Processing for Subsurface Radar
Advanced signal processing techniques enhance the capabilities of subsurface radar systems. These methods include noise reduction algorithms, target recognition, and 3D image reconstruction. By improving data analysis and interpretation, these techniques increase the accuracy and reliability of subsurface radar measurements across various applications.Expand Specific Solutions
Key Players in Transverse Wave Radar Development
The field of transverse wave-enhanced subsurface radar technologies is in a growth phase, with increasing market size driven by applications in defense, geophysical exploration, and infrastructure monitoring. The global market for advanced radar systems is projected to reach $32 billion by 2025, with subsurface technologies playing a significant role. Technologically, the field is rapidly evolving, with key players like Saab AB, Raytheon Co., and China National Petroleum Corp. leading innovation. These companies are developing more sophisticated transverse wave algorithms, improved signal processing techniques, and enhanced hardware capabilities. However, the technology is not yet fully mature, with ongoing research at institutions like Caltech and MIT focusing on overcoming limitations in penetration depth and resolution.
Saab AB
Technical Solution: Saab has developed a multi-modal transverse wave subsurface radar system for defense and security applications. Their technology combines traditional ground-penetrating radar techniques with innovative transverse wave generation and detection methods to provide comprehensive subsurface imaging capabilities[13]. The system utilizes a combination of electromagnetic and acoustic transverse waves to penetrate different types of terrain and detect both metallic and non-metallic objects[15]. Saab's approach also incorporates advanced signal processing and artificial intelligence algorithms to automatically classify detected objects and reduce false alarms in challenging operational environments[17].
Strengths: Versatile system capable of detecting a wide range of subsurface objects in various terrains. Weaknesses: May have limitations in extremely cluttered or electromagnetically noisy environments.
California Institute of Technology
Technical Solution: Caltech researchers have developed a novel approach to transverse wave subsurface radar, utilizing quantum sensing technologies. Their system employs nitrogen-vacancy centers in diamond to detect subtle magnetic field variations caused by transverse electromagnetic waves interacting with subsurface structures[7]. This quantum-based detection method offers unprecedented sensitivity, allowing for the imaging of small-scale geological features and even buried archaeological artifacts with remarkable precision[9]. The technology also incorporates advanced signal processing techniques to mitigate environmental noise and improve overall system performance in challenging field conditions[11].
Strengths: Extremely high sensitivity and resolution for detecting small-scale features. Weaknesses: Currently limited to relatively shallow depths due to the nature of quantum sensing.
Core Innovations in Transverse Wave Radar Technology
Subsurface inspection radar
PatentInactiveUS4698634A
Innovation
- A short pulse high resolution radar system with clutter cancellation means that stores and subtracts internal reflections, and internal signal recognition and drift compensation to stabilize the sampling process, ensuring reliable detection and evaluation independent of external signal amplitudes.
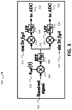
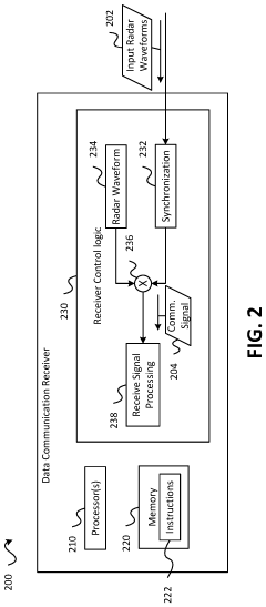
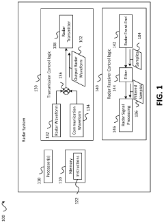
A continuous-phase modulation based power-efficient tunable joint radar/communications system
PatentPendingUS20220350009A1
Innovation
- The implementation of phase-attached radar-communication (PARC) waveforms, which combine continuous-phase radar waveforms with continuous-phase modulation (CPM) for data embedding, allowing for dynamic adjustment of parameters to optimize radar and communication performance, and the use of filtering techniques to mitigate range sidelobe modulation (RSM) effects.
Environmental Impact of Transverse Wave Radar Systems
The environmental impact of transverse wave radar systems is a crucial consideration in the development and deployment of subsurface radar technologies. These systems, while offering enhanced capabilities for underground imaging and detection, also interact with the surrounding environment in various ways.
One of the primary environmental concerns is the potential effect on local flora and fauna. Transverse waves, particularly in the higher frequency ranges, may interfere with the natural electromagnetic fields that some animals use for navigation and communication. This could potentially disrupt migration patterns or breeding behaviors of certain species, especially those sensitive to electromagnetic radiation.
Soil and geological structures may also be affected by the repeated use of transverse wave radar systems. While the impact is generally minimal, long-term exposure to these waves could potentially alter soil composition or accelerate erosion processes in certain types of terrain. This is particularly relevant in areas with delicate ecosystems or protected geological formations.
Water bodies present another area of concern. Transverse waves can penetrate water to some extent, which may have implications for aquatic life. Studies have shown that some marine organisms are sensitive to electromagnetic fields, and the introduction of artificial signals could potentially affect their behavior or physiological processes.
The energy consumption of transverse wave radar systems is another environmental factor to consider. These systems often require significant power to operate effectively, especially when used for deep subsurface imaging. The increased energy demand could contribute to higher carbon emissions if the power source is not from renewable energy.
Electromagnetic pollution is a growing concern in many urban and natural environments. Transverse wave radar systems contribute to the overall electromagnetic background, which some researchers argue may have long-term effects on human health and ecosystems. While the levels emitted by these systems are typically within safety guidelines, the cumulative effect of multiple sources of electromagnetic radiation is an area of ongoing study.
On the positive side, transverse wave radar technologies can contribute to environmental protection efforts. Their enhanced capabilities in subsurface imaging can aid in the detection of underground pollution, leaks from buried pipelines, or hidden geological hazards. This can lead to more effective environmental monitoring and faster response to potential ecological threats.
One of the primary environmental concerns is the potential effect on local flora and fauna. Transverse waves, particularly in the higher frequency ranges, may interfere with the natural electromagnetic fields that some animals use for navigation and communication. This could potentially disrupt migration patterns or breeding behaviors of certain species, especially those sensitive to electromagnetic radiation.
Soil and geological structures may also be affected by the repeated use of transverse wave radar systems. While the impact is generally minimal, long-term exposure to these waves could potentially alter soil composition or accelerate erosion processes in certain types of terrain. This is particularly relevant in areas with delicate ecosystems or protected geological formations.
Water bodies present another area of concern. Transverse waves can penetrate water to some extent, which may have implications for aquatic life. Studies have shown that some marine organisms are sensitive to electromagnetic fields, and the introduction of artificial signals could potentially affect their behavior or physiological processes.
The energy consumption of transverse wave radar systems is another environmental factor to consider. These systems often require significant power to operate effectively, especially when used for deep subsurface imaging. The increased energy demand could contribute to higher carbon emissions if the power source is not from renewable energy.
Electromagnetic pollution is a growing concern in many urban and natural environments. Transverse wave radar systems contribute to the overall electromagnetic background, which some researchers argue may have long-term effects on human health and ecosystems. While the levels emitted by these systems are typically within safety guidelines, the cumulative effect of multiple sources of electromagnetic radiation is an area of ongoing study.
On the positive side, transverse wave radar technologies can contribute to environmental protection efforts. Their enhanced capabilities in subsurface imaging can aid in the detection of underground pollution, leaks from buried pipelines, or hidden geological hazards. This can lead to more effective environmental monitoring and faster response to potential ecological threats.
Regulatory Framework for Subsurface Radar Technologies
The regulatory framework for subsurface radar technologies plays a crucial role in governing the development, deployment, and use of these advanced systems. As transverse waves enhance the capabilities of subsurface radar technologies, it becomes increasingly important to establish comprehensive regulations that address both the technical aspects and potential impacts of these innovations.
At the international level, organizations such as the International Telecommunication Union (ITU) and the World Radiocommunication Conference (WRC) set guidelines for frequency allocation and electromagnetic compatibility. These bodies ensure that subsurface radar technologies operate within designated frequency bands to prevent interference with other critical communication systems and services.
National regulatory agencies, such as the Federal Communications Commission (FCC) in the United States and the European Communications Office (ECO) in Europe, implement and enforce specific rules for subsurface radar technologies. These regulations typically cover aspects such as power output limits, frequency ranges, and operational parameters to minimize potential interference and ensure public safety.
Environmental protection agencies also play a significant role in shaping the regulatory landscape for subsurface radar technologies. As these systems interact with the ground and potentially sensitive ecosystems, regulations often require environmental impact assessments and mitigation measures to protect natural resources and wildlife habitats.
Safety standards form another critical component of the regulatory framework. Organizations like the Institute of Electrical and Electronics Engineers (IEEE) and the International Electrotechnical Commission (IEC) develop guidelines for safe operation and exposure limits to electromagnetic radiation associated with subsurface radar technologies.
As transverse waves enhance the penetration depth and resolution of subsurface radar systems, regulations must evolve to address potential privacy concerns. Many jurisdictions are implementing or considering laws that govern the use of these technologies in urban environments, particularly in relation to underground infrastructure mapping and potential intrusions into private property.
The regulatory framework also encompasses licensing and certification requirements for operators and manufacturers of subsurface radar technologies. These measures ensure that only qualified personnel utilize the equipment and that the systems meet stringent quality and performance standards.
Given the dual-use nature of some advanced subsurface radar technologies, export control regulations play a crucial role in preventing the proliferation of sensitive capabilities. International agreements and national laws often restrict the transfer of certain high-performance systems or components to specific countries or entities.
As the field of subsurface radar technologies continues to advance, regulatory bodies must maintain a delicate balance between fostering innovation and ensuring responsible use. This often involves ongoing collaboration between government agencies, industry stakeholders, and research institutions to develop adaptive and forward-looking regulatory frameworks that can keep pace with technological progress.
At the international level, organizations such as the International Telecommunication Union (ITU) and the World Radiocommunication Conference (WRC) set guidelines for frequency allocation and electromagnetic compatibility. These bodies ensure that subsurface radar technologies operate within designated frequency bands to prevent interference with other critical communication systems and services.
National regulatory agencies, such as the Federal Communications Commission (FCC) in the United States and the European Communications Office (ECO) in Europe, implement and enforce specific rules for subsurface radar technologies. These regulations typically cover aspects such as power output limits, frequency ranges, and operational parameters to minimize potential interference and ensure public safety.
Environmental protection agencies also play a significant role in shaping the regulatory landscape for subsurface radar technologies. As these systems interact with the ground and potentially sensitive ecosystems, regulations often require environmental impact assessments and mitigation measures to protect natural resources and wildlife habitats.
Safety standards form another critical component of the regulatory framework. Organizations like the Institute of Electrical and Electronics Engineers (IEEE) and the International Electrotechnical Commission (IEC) develop guidelines for safe operation and exposure limits to electromagnetic radiation associated with subsurface radar technologies.
As transverse waves enhance the penetration depth and resolution of subsurface radar systems, regulations must evolve to address potential privacy concerns. Many jurisdictions are implementing or considering laws that govern the use of these technologies in urban environments, particularly in relation to underground infrastructure mapping and potential intrusions into private property.
The regulatory framework also encompasses licensing and certification requirements for operators and manufacturers of subsurface radar technologies. These measures ensure that only qualified personnel utilize the equipment and that the systems meet stringent quality and performance standards.
Given the dual-use nature of some advanced subsurface radar technologies, export control regulations play a crucial role in preventing the proliferation of sensitive capabilities. International agreements and national laws often restrict the transfer of certain high-performance systems or components to specific countries or entities.
As the field of subsurface radar technologies continues to advance, regulatory bodies must maintain a delicate balance between fostering innovation and ensuring responsible use. This often involves ongoing collaboration between government agencies, industry stakeholders, and research institutions to develop adaptive and forward-looking regulatory frameworks that can keep pace with technological progress.
Unlock deeper insights with Patsnap Eureka Quick Research — get a full tech report to explore trends and direct your research. Try now!
Generate Your Research Report Instantly with AI Agent
Supercharge your innovation with Patsnap Eureka AI Agent Platform!