Transverse Wave Applications in Tactile Feedback Devices for Virtual Reality
JUL 29, 20259 MIN READ
Generate Your Research Report Instantly with AI Agent
Patsnap Eureka helps you evaluate technical feasibility & market potential.
Transverse Wave Tech Evolution and Objectives
Transverse wave technology has evolved significantly in the realm of tactile feedback devices for virtual reality (VR) applications. The journey began with simple vibration motors, which provided limited tactile sensations. As the demand for more immersive VR experiences grew, researchers and engineers sought to develop more sophisticated tactile feedback mechanisms.
The evolution of transverse wave technology in VR tactile feedback can be traced through several key stages. Initially, basic haptic feedback was achieved through vibration motors, which offered limited control over the intensity and frequency of sensations. This was followed by the introduction of linear resonant actuators (LRAs), which provided more precise control over vibration patterns and improved energy efficiency.
A significant breakthrough came with the development of surface haptics technology, which utilized ultrasonic transverse waves to create tactile sensations on flat surfaces. This innovation allowed for more localized and diverse tactile feedback, enhancing the realism of virtual interactions. Further advancements led to the creation of mid-air haptics, where focused ultrasound waves generate tactile sensations without direct contact with a physical surface.
The current state-of-the-art in transverse wave applications for VR tactile feedback involves the integration of multiple technologies. Advanced systems now combine ultrasonic transducers, microfluidics, and smart materials to create highly responsive and versatile tactile interfaces. These systems can simulate a wide range of textures, pressures, and temperatures, significantly enhancing the immersive quality of VR experiences.
Looking ahead, the objectives for transverse wave technology in VR tactile feedback are ambitious and multifaceted. One primary goal is to achieve higher resolution and fidelity in tactile sensations, allowing users to perceive fine details and subtle textures in virtual environments. Another objective is to develop more compact and energy-efficient tactile feedback devices, making them suitable for integration into wearable VR systems.
Researchers are also focusing on expanding the range of sensations that can be simulated using transverse waves. This includes replicating complex tactile experiences such as wetness, stickiness, and temperature variations. Additionally, there is a push towards creating adaptive tactile feedback systems that can dynamically adjust to user interactions and environmental changes within virtual worlds.
The ultimate aim is to create a seamless and natural tactile experience that closely mimics real-world sensations, thereby enhancing the overall immersion and presence in virtual reality environments. This involves not only improving the hardware but also developing sophisticated algorithms and software to interpret and generate appropriate tactile feedback based on virtual interactions.
The evolution of transverse wave technology in VR tactile feedback can be traced through several key stages. Initially, basic haptic feedback was achieved through vibration motors, which offered limited control over the intensity and frequency of sensations. This was followed by the introduction of linear resonant actuators (LRAs), which provided more precise control over vibration patterns and improved energy efficiency.
A significant breakthrough came with the development of surface haptics technology, which utilized ultrasonic transverse waves to create tactile sensations on flat surfaces. This innovation allowed for more localized and diverse tactile feedback, enhancing the realism of virtual interactions. Further advancements led to the creation of mid-air haptics, where focused ultrasound waves generate tactile sensations without direct contact with a physical surface.
The current state-of-the-art in transverse wave applications for VR tactile feedback involves the integration of multiple technologies. Advanced systems now combine ultrasonic transducers, microfluidics, and smart materials to create highly responsive and versatile tactile interfaces. These systems can simulate a wide range of textures, pressures, and temperatures, significantly enhancing the immersive quality of VR experiences.
Looking ahead, the objectives for transverse wave technology in VR tactile feedback are ambitious and multifaceted. One primary goal is to achieve higher resolution and fidelity in tactile sensations, allowing users to perceive fine details and subtle textures in virtual environments. Another objective is to develop more compact and energy-efficient tactile feedback devices, making them suitable for integration into wearable VR systems.
Researchers are also focusing on expanding the range of sensations that can be simulated using transverse waves. This includes replicating complex tactile experiences such as wetness, stickiness, and temperature variations. Additionally, there is a push towards creating adaptive tactile feedback systems that can dynamically adjust to user interactions and environmental changes within virtual worlds.
The ultimate aim is to create a seamless and natural tactile experience that closely mimics real-world sensations, thereby enhancing the overall immersion and presence in virtual reality environments. This involves not only improving the hardware but also developing sophisticated algorithms and software to interpret and generate appropriate tactile feedback based on virtual interactions.
VR Haptic Feedback Market Analysis
The virtual reality (VR) haptic feedback market has been experiencing significant growth and transformation in recent years, driven by the increasing demand for more immersive and realistic VR experiences. As VR technology continues to advance, the importance of tactile feedback in enhancing user engagement and presence has become increasingly apparent.
The global VR haptic feedback market is projected to expand at a compound annual growth rate (CAGR) of over 20% from 2021 to 2026. This growth is primarily fueled by the rising adoption of VR technologies across various industries, including gaming, entertainment, healthcare, education, and training simulations. The gaming and entertainment sectors currently dominate the market, accounting for a substantial portion of the overall revenue.
North America leads the VR haptic feedback market, followed by Europe and Asia-Pacific. The United States, in particular, holds a significant market share due to the presence of major technology companies and a strong ecosystem of VR developers and startups. However, the Asia-Pacific region is expected to witness the fastest growth rate in the coming years, driven by increasing investments in VR technologies and the rapid adoption of immersive experiences in countries like China, Japan, and South Korea.
Key players in the VR haptic feedback market include established technology giants such as Meta (formerly Facebook), Sony, HTC, and Microsoft, as well as specialized haptic technology companies like Immersion Corporation, Ultraleap, and Tactical Haptics. These companies are continuously innovating to develop more sophisticated and realistic tactile feedback solutions, including those utilizing transverse wave technologies.
The market for VR haptic feedback devices is segmented into wearable devices (such as gloves, suits, and vests) and non-wearable devices (like controllers and haptic displays). Wearable devices are gaining traction due to their ability to provide more comprehensive and nuanced tactile sensations across the user's body. However, non-wearable devices, particularly haptic controllers, still dominate the market due to their lower cost and ease of integration with existing VR systems.
Consumer demand for more realistic and immersive VR experiences is a primary driver of innovation in the haptic feedback market. Users are increasingly seeking tactile sensations that closely mimic real-world interactions, leading to the development of advanced haptic technologies like those employing transverse waves. This trend is particularly evident in applications such as virtual training simulations for medical procedures, industrial skills development, and high-fidelity gaming experiences.
The integration of haptic feedback with other sensory inputs, such as visual and auditory cues, is another significant trend shaping the market. This multi-modal approach to VR experiences is creating new opportunities for developers and hardware manufacturers to differentiate their products and create more compelling user experiences.
The global VR haptic feedback market is projected to expand at a compound annual growth rate (CAGR) of over 20% from 2021 to 2026. This growth is primarily fueled by the rising adoption of VR technologies across various industries, including gaming, entertainment, healthcare, education, and training simulations. The gaming and entertainment sectors currently dominate the market, accounting for a substantial portion of the overall revenue.
North America leads the VR haptic feedback market, followed by Europe and Asia-Pacific. The United States, in particular, holds a significant market share due to the presence of major technology companies and a strong ecosystem of VR developers and startups. However, the Asia-Pacific region is expected to witness the fastest growth rate in the coming years, driven by increasing investments in VR technologies and the rapid adoption of immersive experiences in countries like China, Japan, and South Korea.
Key players in the VR haptic feedback market include established technology giants such as Meta (formerly Facebook), Sony, HTC, and Microsoft, as well as specialized haptic technology companies like Immersion Corporation, Ultraleap, and Tactical Haptics. These companies are continuously innovating to develop more sophisticated and realistic tactile feedback solutions, including those utilizing transverse wave technologies.
The market for VR haptic feedback devices is segmented into wearable devices (such as gloves, suits, and vests) and non-wearable devices (like controllers and haptic displays). Wearable devices are gaining traction due to their ability to provide more comprehensive and nuanced tactile sensations across the user's body. However, non-wearable devices, particularly haptic controllers, still dominate the market due to their lower cost and ease of integration with existing VR systems.
Consumer demand for more realistic and immersive VR experiences is a primary driver of innovation in the haptic feedback market. Users are increasingly seeking tactile sensations that closely mimic real-world interactions, leading to the development of advanced haptic technologies like those employing transverse waves. This trend is particularly evident in applications such as virtual training simulations for medical procedures, industrial skills development, and high-fidelity gaming experiences.
The integration of haptic feedback with other sensory inputs, such as visual and auditory cues, is another significant trend shaping the market. This multi-modal approach to VR experiences is creating new opportunities for developers and hardware manufacturers to differentiate their products and create more compelling user experiences.
Transverse Wave Challenges in VR Tactile Devices
The implementation of transverse wave technology in tactile feedback devices for virtual reality presents several significant challenges. One of the primary obstacles is the precise control and generation of transverse waves at the microscopic level. These waves must be accurately produced and directed to create realistic tactile sensations, which requires advanced actuator designs and sophisticated control systems.
Another major challenge lies in the miniaturization of transverse wave generators. VR devices demand compact and lightweight components, yet the current technology for producing transverse waves often involves bulky equipment. Reducing the size while maintaining performance is a critical engineering hurdle that researchers are actively addressing.
Power consumption is also a considerable concern. Generating transverse waves continuously for extended VR sessions can be energy-intensive. Developing energy-efficient wave generation methods and optimizing power management systems are essential for creating practical, long-lasting VR tactile devices.
The integration of transverse wave technology with existing VR systems poses interoperability challenges. Ensuring seamless communication between the tactile feedback system and the VR environment's visual and audio components requires complex software and hardware integration.
Latency is another critical issue. For a truly immersive experience, the tactile feedback must be perfectly synchronized with visual and auditory cues. Even milliseconds of delay can disrupt the user's sense of presence, making ultra-low latency a key requirement for transverse wave applications in VR.
Durability and reliability of tactile feedback devices are also significant concerns. The constant vibration and movement associated with transverse waves can lead to wear and tear on components, potentially reducing the lifespan of VR devices. Developing robust materials and designs that can withstand prolonged use is crucial.
Furthermore, the human perception of tactile sensations varies greatly among individuals. Creating a standardized system that can adapt to different users' sensitivities and preferences is a complex challenge that requires extensive research in human-computer interaction and psychophysics.
Lastly, the cost of implementing transverse wave technology in consumer-grade VR devices remains a significant barrier. Current prototypes often rely on expensive, specialized components. Finding ways to mass-produce these devices cost-effectively without compromising on quality is essential for widespread adoption in the VR market.
Another major challenge lies in the miniaturization of transverse wave generators. VR devices demand compact and lightweight components, yet the current technology for producing transverse waves often involves bulky equipment. Reducing the size while maintaining performance is a critical engineering hurdle that researchers are actively addressing.
Power consumption is also a considerable concern. Generating transverse waves continuously for extended VR sessions can be energy-intensive. Developing energy-efficient wave generation methods and optimizing power management systems are essential for creating practical, long-lasting VR tactile devices.
The integration of transverse wave technology with existing VR systems poses interoperability challenges. Ensuring seamless communication between the tactile feedback system and the VR environment's visual and audio components requires complex software and hardware integration.
Latency is another critical issue. For a truly immersive experience, the tactile feedback must be perfectly synchronized with visual and auditory cues. Even milliseconds of delay can disrupt the user's sense of presence, making ultra-low latency a key requirement for transverse wave applications in VR.
Durability and reliability of tactile feedback devices are also significant concerns. The constant vibration and movement associated with transverse waves can lead to wear and tear on components, potentially reducing the lifespan of VR devices. Developing robust materials and designs that can withstand prolonged use is crucial.
Furthermore, the human perception of tactile sensations varies greatly among individuals. Creating a standardized system that can adapt to different users' sensitivities and preferences is a complex challenge that requires extensive research in human-computer interaction and psychophysics.
Lastly, the cost of implementing transverse wave technology in consumer-grade VR devices remains a significant barrier. Current prototypes often rely on expensive, specialized components. Finding ways to mass-produce these devices cost-effectively without compromising on quality is essential for widespread adoption in the VR market.
Current Transverse Wave Haptic Solutions
01 Transverse wave generation for haptic feedback
Devices and methods for generating transverse waves to provide tactile feedback in user interfaces. These systems use actuators or vibration elements to create lateral or shear forces on the skin, producing a unique tactile sensation distinct from traditional vibration feedback.- Transverse wave generation for tactile feedback: Devices and methods for generating transverse waves to provide tactile feedback in user interfaces. These systems use actuators or vibration elements to create lateral or shear forces that users can perceive as texture or haptic sensations on touch surfaces.
- Haptic feedback in touchscreens and mobile devices: Implementation of transverse wave tactile feedback in touchscreen displays and mobile devices to enhance user interaction. This technology provides localized haptic responses to touch inputs, improving the user experience in smartphones, tablets, and other portable electronics.
- Automotive applications of transverse wave feedback: Integration of transverse wave tactile feedback systems in automotive interfaces, including steering wheels, dashboard controls, and infotainment systems. This technology aims to improve driver safety by providing non-visual feedback and enhancing the in-vehicle user experience.
- Gaming and virtual reality haptic feedback: Application of transverse wave tactile feedback in gaming controllers, virtual reality systems, and immersive environments. This technology enhances the realism and immersion in gaming and VR experiences by providing detailed haptic sensations to users.
- Wearable devices with tactile feedback: Development of wearable devices incorporating transverse wave tactile feedback, such as smartwatches, fitness trackers, and haptic clothing. These devices use miniaturized actuators to provide discreet and personalized haptic notifications and interactions.
02 Surface deformation for tactile feedback
Techniques involving the deformation of touch surfaces to create tactile sensations. This approach uses mechanisms to alter the physical properties of the interface, such as creating bumps, textures, or waves on the surface, providing users with tangible feedback.Expand Specific Solutions03 Integration with display technologies
Methods for incorporating transverse wave tactile feedback into display systems, including touchscreens and flexible displays. These innovations aim to enhance user interaction by providing localized haptic feedback corresponding to visual elements on the screen.Expand Specific Solutions04 Haptic feedback in virtual and augmented reality
Applications of transverse wave tactile feedback in virtual and augmented reality environments. These systems aim to increase immersion and realism by providing tactile sensations that correspond to virtual objects and interactions.Expand Specific Solutions05 Control systems for precise tactile feedback
Advanced control systems and algorithms for managing transverse wave generation, ensuring precise and responsive tactile feedback. These innovations focus on optimizing the timing, intensity, and patterns of haptic sensations to enhance user experience and interaction.Expand Specific Solutions
Key VR Haptic Feedback Industry Players
The transverse wave applications in tactile feedback devices for virtual reality represent an emerging field in the immersive technology sector. This market is in its early growth stage, with increasing interest from both established tech companies and startups. The global VR market size is projected to reach $92.31 billion by 2027, indicating significant potential for tactile feedback innovations. Technologically, the field is still evolving, with companies like Immersion Corp., Alps Alpine, and GoerTek leading in haptic technology development. Research institutions such as South China University of Technology and Industrial Technology Research Institute are also contributing to advancements. While the technology shows promise, it is not yet fully mature, with ongoing research focusing on improving precision, latency, and user experience in VR tactile feedback applications.
Immersion Corp.
Technical Solution: Immersion Corp. has developed advanced haptic feedback technologies utilizing transverse waves for virtual reality applications. Their HD Haptics technology employs high-definition vibrotactile effects to create realistic touch sensations[1]. The company's TouchSense Force technology uses electromagnetic actuators to generate precise force feedback, simulating textures and resistances in VR environments[2]. Immersion's haptic SDK allows developers to integrate these transverse wave-based tactile effects into VR applications, enhancing user immersion and interaction[3].
Strengths: Industry-leading haptic technology, extensive patent portfolio, and wide adoption in consumer electronics. Weaknesses: Reliance on licensing model and potential competition from emerging haptic technologies.
Alps Alpine Co., Ltd.
Technical Solution: Alps Alpine has developed advanced tactile feedback solutions for VR using transverse wave technology. Their haptic reactors employ proprietary magnetic circuit designs to generate high-fidelity vibrations with precise control over frequency and amplitude[13]. The company's haptic technologies can simulate a wide range of tactile sensations, from subtle textures to strong impacts, enhancing the realism of VR interactions[14]. Alps Alpine has also developed compact, low-power haptic actuators suitable for integration into VR controllers and wearables, allowing for distributed tactile feedback across multiple points of contact[15].
Strengths: Extensive experience in haptic component manufacturing, strong automotive industry presence, and high-quality haptic solutions. Weaknesses: Less direct involvement in consumer VR markets compared to some competitors.
Innovative Transverse Wave Tactile Patents
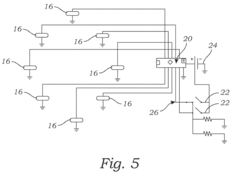
Tactile feedback generating apparatus and system for virtual object manipulation
PatentActiveUS10671169B2
Innovation
- A tactile feedback generating apparatus comprising a finger tactile feedback device and a palm tactile feedback device, where the palm device includes a pressurizing module that converts rotational operation into linear movement to provide pressurized feedback, and a control device that calculates feedback based on virtual object and hand interaction data to adjust both finger and palm stimulation.
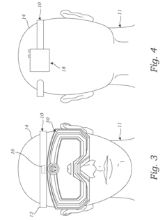
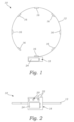
Tactile feedback systems and methods for augmented reality and virtual reality systems
PatentActiveUS20180050267A1
Innovation
- A multi-directional tactile feedback system integrated with a virtual reality headset, utilizing a support structure with angularly spaced tactile feedback units and a microcontroller that applies forces, vibrations, or motions in response to control signals, providing directional and intensity-based feedback to enhance user interaction and immersion.
VR Haptic Safety and Ergonomics
The integration of transverse wave applications in tactile feedback devices for virtual reality (VR) systems necessitates a thorough examination of safety and ergonomic considerations. As these haptic technologies become more sophisticated and widely adopted, ensuring user well-being and comfort is paramount.
One primary concern is the potential for repetitive strain injuries (RSI) associated with prolonged use of haptic devices. The continuous exposure to vibrations and forces, even at low intensities, may lead to musculoskeletal disorders if not properly managed. Manufacturers must conduct extensive ergonomic studies to determine safe exposure limits and implement safeguards to prevent overuse.
Thermal management is another critical aspect of VR haptic safety. Transverse wave generators can produce heat during operation, which may cause discomfort or, in extreme cases, burns. Effective heat dissipation mechanisms and temperature monitoring systems are essential to maintain safe operating conditions, especially for devices in direct contact with the user's skin.
The psychological impact of realistic haptic feedback in VR environments should not be overlooked. While enhanced tactile sensations can greatly improve immersion, they may also intensify emotional responses to virtual stimuli. Developers must carefully calibrate haptic feedback to avoid inducing excessive stress or anxiety, particularly in applications simulating high-stakes or potentially traumatic scenarios.
Electromagnetic compatibility (EMC) is a crucial consideration for VR haptic devices utilizing transverse wave technology. These systems must not interfere with other electronic devices, including medical implants such as pacemakers. Rigorous EMC testing and compliance with international standards are necessary to ensure safe operation in various environments.
Ergonomic design principles play a vital role in the development of haptic feedback devices. The form factor, weight distribution, and attachment mechanisms of these devices must be optimized to minimize user fatigue and discomfort during extended VR sessions. Adjustability features to accommodate different body types and preferences are essential for ensuring a positive user experience.
Long-term effects of regular exposure to haptic feedback, particularly those utilizing transverse waves, remain an area requiring further research. Longitudinal studies are needed to assess potential impacts on nerve sensitivity, proprioception, and overall tactile perception. This information will be crucial for establishing guidelines on safe usage durations and intensities.
One primary concern is the potential for repetitive strain injuries (RSI) associated with prolonged use of haptic devices. The continuous exposure to vibrations and forces, even at low intensities, may lead to musculoskeletal disorders if not properly managed. Manufacturers must conduct extensive ergonomic studies to determine safe exposure limits and implement safeguards to prevent overuse.
Thermal management is another critical aspect of VR haptic safety. Transverse wave generators can produce heat during operation, which may cause discomfort or, in extreme cases, burns. Effective heat dissipation mechanisms and temperature monitoring systems are essential to maintain safe operating conditions, especially for devices in direct contact with the user's skin.
The psychological impact of realistic haptic feedback in VR environments should not be overlooked. While enhanced tactile sensations can greatly improve immersion, they may also intensify emotional responses to virtual stimuli. Developers must carefully calibrate haptic feedback to avoid inducing excessive stress or anxiety, particularly in applications simulating high-stakes or potentially traumatic scenarios.
Electromagnetic compatibility (EMC) is a crucial consideration for VR haptic devices utilizing transverse wave technology. These systems must not interfere with other electronic devices, including medical implants such as pacemakers. Rigorous EMC testing and compliance with international standards are necessary to ensure safe operation in various environments.
Ergonomic design principles play a vital role in the development of haptic feedback devices. The form factor, weight distribution, and attachment mechanisms of these devices must be optimized to minimize user fatigue and discomfort during extended VR sessions. Adjustability features to accommodate different body types and preferences are essential for ensuring a positive user experience.
Long-term effects of regular exposure to haptic feedback, particularly those utilizing transverse waves, remain an area requiring further research. Longitudinal studies are needed to assess potential impacts on nerve sensitivity, proprioception, and overall tactile perception. This information will be crucial for establishing guidelines on safe usage durations and intensities.
Cross-industry Transverse Wave Applications
Transverse wave technology, initially developed for tactile feedback in virtual reality devices, has found diverse applications across multiple industries. In the automotive sector, transverse waves are being integrated into steering wheels and seats to provide haptic alerts for driver assistance systems. This enhances safety by delivering non-visual warnings for lane departure, collision avoidance, and blind spot detection. The technology's precise control over vibration patterns allows for nuanced communication of different alert types without distracting the driver visually.
In the healthcare industry, transverse wave applications have emerged in rehabilitation and physical therapy. Wearable devices utilizing this technology can provide targeted muscle stimulation and proprioceptive feedback, aiding in the recovery of motor functions for patients with neurological disorders or injuries. The ability to generate localized, controlled vibrations has also shown promise in pain management therapies, offering a non-invasive alternative to traditional treatments.
The manufacturing sector has adopted transverse wave technology for quality control and precision assembly processes. High-frequency transverse waves are used in non-destructive testing of materials, detecting microscopic flaws and inconsistencies in product components. In assembly lines, tactile feedback systems guide workers in precise placement and alignment of parts, reducing errors and improving efficiency.
In the field of robotics, transverse wave applications have enhanced the tactile sensing capabilities of robotic hands and grippers. This technology enables robots to detect subtle changes in surface texture and pressure, improving their ability to handle delicate objects and perform complex manipulation tasks. The increased sensitivity provided by transverse wave sensors has opened new possibilities for robots in industries such as food processing, electronics assembly, and medical robotics.
The entertainment industry has also embraced transverse wave technology beyond virtual reality. Theme park attractions now incorporate haptic feedback seats and platforms, creating immersive experiences that synchronize physical sensations with visual and audio elements. In gaming, advanced controllers and wearable accessories use transverse waves to deliver realistic tactile feedback, enhancing player engagement and sensory immersion.
As research in transverse wave technology continues, new applications are emerging in fields such as telecommunications, where haptic feedback could revolutionize remote collaboration and telepresence systems. The versatility and precision of transverse wave applications demonstrate the potential for this technology to bridge the gap between digital interfaces and physical sensations across a wide range of industries.
In the healthcare industry, transverse wave applications have emerged in rehabilitation and physical therapy. Wearable devices utilizing this technology can provide targeted muscle stimulation and proprioceptive feedback, aiding in the recovery of motor functions for patients with neurological disorders or injuries. The ability to generate localized, controlled vibrations has also shown promise in pain management therapies, offering a non-invasive alternative to traditional treatments.
The manufacturing sector has adopted transverse wave technology for quality control and precision assembly processes. High-frequency transverse waves are used in non-destructive testing of materials, detecting microscopic flaws and inconsistencies in product components. In assembly lines, tactile feedback systems guide workers in precise placement and alignment of parts, reducing errors and improving efficiency.
In the field of robotics, transverse wave applications have enhanced the tactile sensing capabilities of robotic hands and grippers. This technology enables robots to detect subtle changes in surface texture and pressure, improving their ability to handle delicate objects and perform complex manipulation tasks. The increased sensitivity provided by transverse wave sensors has opened new possibilities for robots in industries such as food processing, electronics assembly, and medical robotics.
The entertainment industry has also embraced transverse wave technology beyond virtual reality. Theme park attractions now incorporate haptic feedback seats and platforms, creating immersive experiences that synchronize physical sensations with visual and audio elements. In gaming, advanced controllers and wearable accessories use transverse waves to deliver realistic tactile feedback, enhancing player engagement and sensory immersion.
As research in transverse wave technology continues, new applications are emerging in fields such as telecommunications, where haptic feedback could revolutionize remote collaboration and telepresence systems. The versatility and precision of transverse wave applications demonstrate the potential for this technology to bridge the gap between digital interfaces and physical sensations across a wide range of industries.
Unlock deeper insights with Patsnap Eureka Quick Research — get a full tech report to explore trends and direct your research. Try now!
Generate Your Research Report Instantly with AI Agent
Supercharge your innovation with Patsnap Eureka AI Agent Platform!