Transverse Waves Exploration in Augmenting Biometric Security Systems
JUL 29, 20259 MIN READ
Generate Your Research Report Instantly with AI Agent
Patsnap Eureka helps you evaluate technical feasibility & market potential.
Transverse Wave Biometrics: Background and Objectives
Transverse wave biometrics represents a cutting-edge approach in the field of security systems, leveraging the unique properties of mechanical waves to enhance identification and authentication processes. This technology has evolved from traditional biometric methods, which primarily relied on static physical characteristics such as fingerprints or facial features. The exploration of transverse waves in biometric security systems marks a significant shift towards dynamic, harder-to-spoof authentication mechanisms.
The development of transverse wave biometrics can be traced back to the early 2000s when researchers began investigating the potential of using various wave forms for identification purposes. Initially, the focus was on acoustic waves, but as technology advanced, the scope expanded to include other types of transverse waves, such as electromagnetic and optical waves. This broadening of the field has opened up new possibilities for creating more robust and versatile security systems.
The primary objective of incorporating transverse waves into biometric security systems is to address the limitations of conventional biometric methods. Traditional systems are often vulnerable to spoofing attacks and can be compromised by high-quality replicas of biometric data. Transverse wave biometrics aims to overcome these challenges by capturing dynamic, time-varying characteristics that are inherently more difficult to replicate.
One of the key goals in this field is to develop sensors and algorithms capable of accurately detecting and analyzing transverse wave patterns produced by the human body. These patterns can include subtle vibrations of the skin, micro-movements of internal organs, or even electromagnetic fields generated by neural activity. By focusing on these dynamic properties, researchers hope to create biometric systems that are not only more secure but also more adaptable to various environmental conditions.
Another important objective is to improve the user experience of biometric authentication systems. Transverse wave biometrics has the potential to offer non-invasive, contactless authentication methods that are both convenient and hygienic. This aspect has gained particular relevance in recent years due to increased awareness of public health concerns.
As the field progresses, researchers are also exploring the integration of transverse wave biometrics with other emerging technologies, such as artificial intelligence and machine learning. The goal is to create intelligent systems that can continuously adapt to changes in an individual's biometric patterns over time, further enhancing the accuracy and reliability of authentication processes.
The development of transverse wave biometrics can be traced back to the early 2000s when researchers began investigating the potential of using various wave forms for identification purposes. Initially, the focus was on acoustic waves, but as technology advanced, the scope expanded to include other types of transverse waves, such as electromagnetic and optical waves. This broadening of the field has opened up new possibilities for creating more robust and versatile security systems.
The primary objective of incorporating transverse waves into biometric security systems is to address the limitations of conventional biometric methods. Traditional systems are often vulnerable to spoofing attacks and can be compromised by high-quality replicas of biometric data. Transverse wave biometrics aims to overcome these challenges by capturing dynamic, time-varying characteristics that are inherently more difficult to replicate.
One of the key goals in this field is to develop sensors and algorithms capable of accurately detecting and analyzing transverse wave patterns produced by the human body. These patterns can include subtle vibrations of the skin, micro-movements of internal organs, or even electromagnetic fields generated by neural activity. By focusing on these dynamic properties, researchers hope to create biometric systems that are not only more secure but also more adaptable to various environmental conditions.
Another important objective is to improve the user experience of biometric authentication systems. Transverse wave biometrics has the potential to offer non-invasive, contactless authentication methods that are both convenient and hygienic. This aspect has gained particular relevance in recent years due to increased awareness of public health concerns.
As the field progresses, researchers are also exploring the integration of transverse wave biometrics with other emerging technologies, such as artificial intelligence and machine learning. The goal is to create intelligent systems that can continuously adapt to changes in an individual's biometric patterns over time, further enhancing the accuracy and reliability of authentication processes.
Market Analysis for Advanced Biometric Security
The biometric security market has experienced significant growth in recent years, driven by increasing concerns over data security and the need for more robust authentication methods. The global biometric system market size was valued at USD 36.6 billion in 2020 and is projected to reach USD 68.6 billion by 2025, growing at a CAGR of 13.4% during the forecast period. This growth is primarily attributed to the rising adoption of biometric technologies across various sectors, including government, banking and finance, healthcare, and consumer electronics.
The exploration of transverse waves in augmenting biometric security systems represents a novel approach that has the potential to revolutionize the industry. This innovative technology leverages the unique properties of transverse waves to enhance the accuracy and reliability of biometric identification methods. The market for advanced biometric security solutions incorporating transverse wave technology is expected to gain traction, particularly in high-security applications where traditional biometric methods may fall short.
Key market drivers for advanced biometric security systems include the increasing incidence of identity theft and fraud, stringent government regulations mandating the use of biometric systems, and the growing demand for seamless and secure authentication processes in various industries. The financial sector, in particular, has shown a strong interest in adopting cutting-edge biometric solutions to enhance security measures and comply with regulatory requirements.
The healthcare industry is another significant market for advanced biometric security systems. With the increasing digitization of medical records and the need to protect sensitive patient information, hospitals and healthcare providers are investing in sophisticated biometric technologies to ensure data privacy and prevent unauthorized access. The market for biometric solutions in healthcare is expected to grow at a CAGR of 22.3% from 2021 to 2026.
Geographically, North America currently holds the largest market share in the biometric security industry, followed by Europe and Asia-Pacific. However, the Asia-Pacific region is anticipated to witness the highest growth rate in the coming years, driven by rapid technological advancements, increasing government initiatives, and rising awareness about the benefits of biometric security systems.
The integration of transverse wave technology in biometric security systems opens up new opportunities for market players to differentiate their offerings and gain a competitive edge. As the technology matures and demonstrates its effectiveness in real-world applications, it is likely to attract significant investment and research attention, further driving market growth and innovation in the biometric security landscape.
The exploration of transverse waves in augmenting biometric security systems represents a novel approach that has the potential to revolutionize the industry. This innovative technology leverages the unique properties of transverse waves to enhance the accuracy and reliability of biometric identification methods. The market for advanced biometric security solutions incorporating transverse wave technology is expected to gain traction, particularly in high-security applications where traditional biometric methods may fall short.
Key market drivers for advanced biometric security systems include the increasing incidence of identity theft and fraud, stringent government regulations mandating the use of biometric systems, and the growing demand for seamless and secure authentication processes in various industries. The financial sector, in particular, has shown a strong interest in adopting cutting-edge biometric solutions to enhance security measures and comply with regulatory requirements.
The healthcare industry is another significant market for advanced biometric security systems. With the increasing digitization of medical records and the need to protect sensitive patient information, hospitals and healthcare providers are investing in sophisticated biometric technologies to ensure data privacy and prevent unauthorized access. The market for biometric solutions in healthcare is expected to grow at a CAGR of 22.3% from 2021 to 2026.
Geographically, North America currently holds the largest market share in the biometric security industry, followed by Europe and Asia-Pacific. However, the Asia-Pacific region is anticipated to witness the highest growth rate in the coming years, driven by rapid technological advancements, increasing government initiatives, and rising awareness about the benefits of biometric security systems.
The integration of transverse wave technology in biometric security systems opens up new opportunities for market players to differentiate their offerings and gain a competitive edge. As the technology matures and demonstrates its effectiveness in real-world applications, it is likely to attract significant investment and research attention, further driving market growth and innovation in the biometric security landscape.
Current Challenges in Transverse Wave Biometrics
The integration of transverse waves in biometric security systems presents several significant challenges that researchers and developers are currently grappling with. One of the primary obstacles is the complexity of accurately capturing and interpreting transverse wave patterns in biological tissues. Unlike longitudinal waves, which have been more extensively studied in biometric applications, transverse waves exhibit unique propagation characteristics that require sophisticated sensing technologies and advanced signal processing algorithms.
Another major challenge lies in the variability of transverse wave responses across different individuals and even within the same individual under varying conditions. Factors such as hydration levels, tissue elasticity, and ambient temperature can significantly affect the propagation of transverse waves through biological media. This variability poses difficulties in establishing consistent and reliable biometric markers, potentially leading to higher false acceptance or rejection rates in security systems.
The development of robust and miniaturized transverse wave generators and detectors presents another hurdle. Current technologies often struggle to produce and measure transverse waves with the precision and consistency required for biometric applications. The need for compact, energy-efficient devices that can be integrated into existing security infrastructure further complicates this challenge.
Data interpretation and feature extraction from transverse wave signals represent additional areas of difficulty. The complex nature of these waves, combined with the potential for interference from environmental factors, necessitates the development of advanced machine learning algorithms and signal processing techniques. These must be capable of distinguishing between genuine biometric markers and noise or artifacts in the signal.
Furthermore, the integration of transverse wave biometrics with existing security protocols and standards poses interoperability challenges. Ensuring seamless compatibility with current systems while maintaining the enhanced security benefits of transverse wave technology requires careful consideration of hardware and software interfaces.
Lastly, there are concerns regarding the long-term stability and reliability of transverse wave biometric markers. As biological tissues change over time due to aging or health conditions, the consistency of these markers may be affected. Developing adaptive systems that can account for these changes while maintaining security integrity remains a significant challenge in the field.
Another major challenge lies in the variability of transverse wave responses across different individuals and even within the same individual under varying conditions. Factors such as hydration levels, tissue elasticity, and ambient temperature can significantly affect the propagation of transverse waves through biological media. This variability poses difficulties in establishing consistent and reliable biometric markers, potentially leading to higher false acceptance or rejection rates in security systems.
The development of robust and miniaturized transverse wave generators and detectors presents another hurdle. Current technologies often struggle to produce and measure transverse waves with the precision and consistency required for biometric applications. The need for compact, energy-efficient devices that can be integrated into existing security infrastructure further complicates this challenge.
Data interpretation and feature extraction from transverse wave signals represent additional areas of difficulty. The complex nature of these waves, combined with the potential for interference from environmental factors, necessitates the development of advanced machine learning algorithms and signal processing techniques. These must be capable of distinguishing between genuine biometric markers and noise or artifacts in the signal.
Furthermore, the integration of transverse wave biometrics with existing security protocols and standards poses interoperability challenges. Ensuring seamless compatibility with current systems while maintaining the enhanced security benefits of transverse wave technology requires careful consideration of hardware and software interfaces.
Lastly, there are concerns regarding the long-term stability and reliability of transverse wave biometric markers. As biological tissues change over time due to aging or health conditions, the consistency of these markers may be affected. Developing adaptive systems that can account for these changes while maintaining security integrity remains a significant challenge in the field.
Existing Transverse Wave Biometric Solutions
01 Transverse wave-based security systems
Security systems utilizing transverse waves for detection and monitoring. These systems employ various sensors and detectors to identify potential threats or unauthorized access through the analysis of transverse wave patterns and disturbances.- Transverse wave-based security systems: Security systems utilizing transverse waves for detection and monitoring. These systems employ various sensors and detectors to identify potential threats or unauthorized access through the analysis of transverse wave patterns and disturbances.
- Acoustic wave devices for security applications: Implementation of acoustic wave devices in security systems. These devices use transverse acoustic waves to detect and analyze vibrations or disturbances, providing enhanced security measures in various environments.
- Optical transverse wave security techniques: Security methods employing optical transverse waves for detection and authentication. These techniques utilize light wave properties to create secure identification systems or to detect intrusions in protected areas.
- Electromagnetic transverse wave security applications: Security applications leveraging electromagnetic transverse waves for protection and monitoring. These systems use various frequencies of electromagnetic waves to create secure communication channels or to detect unauthorized presence or activities.
- Integration of transverse wave technology in IoT security: Incorporation of transverse wave-based security measures in Internet of Things (IoT) devices and networks. This approach enhances the security of interconnected devices by utilizing transverse wave properties for authentication, encryption, or intrusion detection.
02 Acoustic wave devices for security applications
Implementation of acoustic wave devices in security systems. These devices use transverse acoustic waves for sensing, communication, and authentication purposes, enhancing the overall security infrastructure.Expand Specific Solutions03 Optical transverse wave security measures
Security solutions leveraging optical transverse waves for protection and surveillance. These systems utilize light-based transverse waves for tasks such as perimeter monitoring, intrusion detection, and secure communication.Expand Specific Solutions04 Electromagnetic transverse wave security techniques
Security methods employing electromagnetic transverse waves for various protective functions. These techniques include using electromagnetic waves for scanning, identification, and secure data transmission in security applications.Expand Specific Solutions05 Integration of transverse wave technology in multi-layered security systems
Comprehensive security solutions that incorporate transverse wave technology as part of a multi-layered approach. These systems combine various transverse wave-based methods with other security technologies to create robust and versatile protection schemes.Expand Specific Solutions
Key Players in Transverse Wave Biometric Industry
The exploration of transverse waves in augmenting biometric security systems is currently in an emerging phase, with significant potential for growth. The market size is expanding as biometric security becomes increasingly important across various sectors. Technologically, the field is rapidly evolving, with companies like Qualcomm, Intel, and IBM leading research and development efforts. Private Identity LLC and HID Global GmbH are focusing on innovative biometric solutions, while Samsung and Apple are integrating advanced security features into consumer devices. Universities such as Xidian University and Wuhan University are contributing to academic research in this area. The collaboration between industry leaders and academic institutions is driving the maturation of this technology, promising enhanced security measures in the near future.
QUALCOMM, Inc.
Technical Solution: QUALCOMM has developed a novel approach to biometric security using transverse waves in their ultrasonic fingerprint sensors. Their technology utilizes acoustic waves to penetrate the outer layers of skin, creating a 3D map of the fingerprint's ridges and valleys[1]. This method offers enhanced security by capturing subsurface fingerprint details, making it more difficult to spoof. The system employs advanced signal processing algorithms to analyze the reflected waves, enabling accurate authentication even in challenging conditions such as wet or dirty fingers[2]. QUALCOMM's solution also incorporates machine learning techniques to continuously improve recognition accuracy over time, adapting to subtle changes in the user's fingerprint[3].
Strengths: High accuracy, difficult to spoof, works with wet/dirty fingers. Weaknesses: May require specialized hardware, potentially higher cost compared to traditional optical sensors.
NEC Corp.
Technical Solution: NEC has pioneered the use of transverse waves in their contactless palm vein authentication technology. Their system emits near-infrared light, which is partially absorbed by deoxygenated hemoglobin in the veins, creating a unique vein pattern image[4]. NEC's advanced algorithms analyze the complex patterns of palm veins, which are internal and thus extremely difficult to forge. The company has recently enhanced this technology by incorporating transverse wave analysis to capture additional biometric data from the palm's surface texture and subsurface structures[5]. This multi-modal approach combines vein patterns with skin texture information, significantly increasing the system's accuracy and resistance to spoofing attempts.
Strengths: Highly secure, contactless operation, works with internal biometric features. Weaknesses: May be more expensive than simpler biometric systems, requires specialized near-infrared sensors.
Core Innovations in Transverse Wave Technology
Security solution with a digital image with integrated security feature, and image conversion method and image conversion device for the production thereof
PatentWO2023052493A1
Innovation
- An image conversion method that integrates a security feature by distorting pixel values in a digital source image to create a target image with transverse wave trains, making it difficult to reproduce, combined with a verification method using frequency domain analysis to authenticate the image.
Security system comprising biometric authentication sensor, and electronic device
PatentWO2018221429A1
Innovation
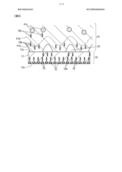
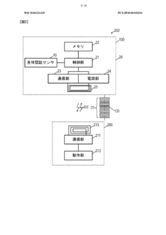
- A security system equipped with a biometric sensor capable of detecting fingerprints, vein patterns, and pulsating blood flow using ultrasonic waves, which provides multiple layers of authentication and verifies the authenticity of the user by matching detected patterns with registered data, ensuring that only registered users with valid biological signatures can access secure areas or devices.
Regulatory Framework for Biometric Security Systems
The regulatory framework for biometric security systems incorporating transverse wave technology is a complex and evolving landscape. As the use of biometric data becomes more prevalent in security applications, governments and international bodies have been working to establish comprehensive guidelines and regulations to ensure the responsible development and deployment of these systems.
In the United States, the Federal Trade Commission (FTC) has taken a leading role in overseeing the use of biometric data in security systems. The FTC has issued guidelines on the collection, storage, and use of biometric information, emphasizing the importance of transparency, consent, and data protection. Additionally, several states have enacted specific biometric privacy laws, with Illinois' Biometric Information Privacy Act (BIPA) being one of the most stringent.
The European Union has implemented the General Data Protection Regulation (GDPR), which includes specific provisions for the processing of biometric data. Under the GDPR, biometric data is classified as a special category of personal data, subject to stricter protection requirements. Organizations must obtain explicit consent from individuals before collecting and processing their biometric information, and they must implement appropriate technical and organizational measures to ensure data security.
In Asia, countries like China and India have been developing their own regulatory frameworks for biometric security systems. China's Cybersecurity Law and Personal Information Protection Law provide guidelines for the collection and use of biometric data, while India's Personal Data Protection Bill includes specific provisions for the handling of biometric information.
International standards organizations, such as the International Organization for Standardization (ISO) and the International Electrotechnical Commission (IEC), have also been working on developing standards for biometric security systems. These standards aim to ensure interoperability, performance, and security across different biometric technologies and applications.
As transverse wave technology is integrated into biometric security systems, regulators are likely to focus on several key areas. These include the accuracy and reliability of the technology, potential vulnerabilities to spoofing or other forms of attack, and the ethical implications of using this advanced biometric data. Privacy concerns, particularly regarding the storage and transmission of transverse wave biometric data, will also be a significant focus for regulatory bodies.
Moving forward, it is expected that regulatory frameworks will continue to evolve to keep pace with technological advancements in biometric security systems. This may include the development of specific guidelines for transverse wave technology, as well as broader regulations addressing the use of emerging biometric modalities in security applications.
In the United States, the Federal Trade Commission (FTC) has taken a leading role in overseeing the use of biometric data in security systems. The FTC has issued guidelines on the collection, storage, and use of biometric information, emphasizing the importance of transparency, consent, and data protection. Additionally, several states have enacted specific biometric privacy laws, with Illinois' Biometric Information Privacy Act (BIPA) being one of the most stringent.
The European Union has implemented the General Data Protection Regulation (GDPR), which includes specific provisions for the processing of biometric data. Under the GDPR, biometric data is classified as a special category of personal data, subject to stricter protection requirements. Organizations must obtain explicit consent from individuals before collecting and processing their biometric information, and they must implement appropriate technical and organizational measures to ensure data security.
In Asia, countries like China and India have been developing their own regulatory frameworks for biometric security systems. China's Cybersecurity Law and Personal Information Protection Law provide guidelines for the collection and use of biometric data, while India's Personal Data Protection Bill includes specific provisions for the handling of biometric information.
International standards organizations, such as the International Organization for Standardization (ISO) and the International Electrotechnical Commission (IEC), have also been working on developing standards for biometric security systems. These standards aim to ensure interoperability, performance, and security across different biometric technologies and applications.
As transverse wave technology is integrated into biometric security systems, regulators are likely to focus on several key areas. These include the accuracy and reliability of the technology, potential vulnerabilities to spoofing or other forms of attack, and the ethical implications of using this advanced biometric data. Privacy concerns, particularly regarding the storage and transmission of transverse wave biometric data, will also be a significant focus for regulatory bodies.
Moving forward, it is expected that regulatory frameworks will continue to evolve to keep pace with technological advancements in biometric security systems. This may include the development of specific guidelines for transverse wave technology, as well as broader regulations addressing the use of emerging biometric modalities in security applications.
Ethical Implications of Transverse Wave Biometrics
The integration of transverse wave technology into biometric security systems raises significant ethical considerations that must be carefully addressed. One primary concern is the potential for increased surveillance and privacy infringement. As transverse wave biometrics offer enhanced accuracy and sensitivity, there is a risk that this technology could be used to collect and analyze personal data beyond the scope of security applications, potentially violating individual privacy rights.
Another ethical implication is the issue of consent and transparency. Users may not fully understand the nature and extent of data collected through transverse wave biometrics, leading to questions about informed consent. There is a need for clear communication and disclosure regarding the type of information gathered, its storage, and its potential uses.
The accuracy and reliability of transverse wave biometrics also present ethical challenges. While improved accuracy can enhance security, it may also lead to overreliance on the technology. This could result in false positives or negatives having severe consequences for individuals, such as wrongful denial of access or false accusations of security breaches.
Data security and protection become even more critical with the implementation of transverse wave biometrics. The sensitive nature of biometric data demands robust safeguards against unauthorized access, hacking, or data breaches. Ethical considerations must include stringent protocols for data encryption, storage, and deletion.
There are also concerns about the potential for discrimination and bias in transverse wave biometric systems. If not properly designed and implemented, these systems could inadvertently discriminate against certain groups based on physical characteristics or medical conditions that affect their biometric readings.
The use of transverse wave biometrics in public spaces raises questions about the balance between security and personal freedom. Widespread deployment of this technology could lead to a sense of constant surveillance, potentially chilling public behavior and free expression.
Lastly, there are ethical implications related to the long-term effects of exposure to transverse waves. While current research suggests minimal health risks, ongoing studies are necessary to ensure the safety of prolonged use, particularly in high-security environments where frequent scans may be required.
Another ethical implication is the issue of consent and transparency. Users may not fully understand the nature and extent of data collected through transverse wave biometrics, leading to questions about informed consent. There is a need for clear communication and disclosure regarding the type of information gathered, its storage, and its potential uses.
The accuracy and reliability of transverse wave biometrics also present ethical challenges. While improved accuracy can enhance security, it may also lead to overreliance on the technology. This could result in false positives or negatives having severe consequences for individuals, such as wrongful denial of access or false accusations of security breaches.
Data security and protection become even more critical with the implementation of transverse wave biometrics. The sensitive nature of biometric data demands robust safeguards against unauthorized access, hacking, or data breaches. Ethical considerations must include stringent protocols for data encryption, storage, and deletion.
There are also concerns about the potential for discrimination and bias in transverse wave biometric systems. If not properly designed and implemented, these systems could inadvertently discriminate against certain groups based on physical characteristics or medical conditions that affect their biometric readings.
The use of transverse wave biometrics in public spaces raises questions about the balance between security and personal freedom. Widespread deployment of this technology could lead to a sense of constant surveillance, potentially chilling public behavior and free expression.
Lastly, there are ethical implications related to the long-term effects of exposure to transverse waves. While current research suggests minimal health risks, ongoing studies are necessary to ensure the safety of prolonged use, particularly in high-security environments where frequent scans may be required.
Unlock deeper insights with Patsnap Eureka Quick Research — get a full tech report to explore trends and direct your research. Try now!
Generate Your Research Report Instantly with AI Agent
Supercharge your innovation with Patsnap Eureka AI Agent Platform!