How Carboxylic Acid Encourages Eco-Friendly Industrial Solutions?
JUL 31, 20259 MIN READ
Generate Your Research Report Instantly with AI Agent
Patsnap Eureka helps you evaluate technical feasibility & market potential.
Carboxylic Acid Background and Objectives
Carboxylic acids have played a pivotal role in industrial processes for decades, but their potential as eco-friendly solutions has gained significant attention in recent years. The evolution of carboxylic acid applications traces back to the early 20th century, with initial uses primarily in the production of pharmaceuticals and food additives. As environmental concerns grew, researchers began exploring the broader potential of these versatile compounds in sustainable industrial practices.
The technological trajectory of carboxylic acids has been marked by continuous innovation, driven by the need for more efficient and environmentally benign processes. From simple organic synthesis to complex catalytic reactions, carboxylic acids have demonstrated remarkable adaptability across various industrial sectors. The development of novel catalysts and reaction pathways has further expanded their utility, enabling more selective and energy-efficient transformations.
In the context of eco-friendly industrial solutions, carboxylic acids offer several advantages. Their biodegradability and low toxicity make them attractive alternatives to traditional petrochemical-based reagents. Moreover, many carboxylic acids can be derived from renewable resources, aligning with the principles of green chemistry and circular economy. This shift towards bio-based carboxylic acids represents a significant trend in the field, promising reduced carbon footprints and enhanced sustainability.
The objectives of current research and development efforts in carboxylic acid technology are multifaceted. Primarily, there is a focus on expanding the range of industrially relevant reactions that can be catalyzed or mediated by carboxylic acids. This includes the development of novel synthetic routes for high-value chemicals and materials using carboxylic acids as key intermediates or catalysts. Additionally, researchers aim to optimize reaction conditions to minimize energy consumption and waste generation, further enhancing the eco-friendly profile of carboxylic acid-based processes.
Another critical objective is the scalability of carboxylic acid technologies. While many promising applications have been demonstrated at the laboratory scale, translating these into commercially viable, large-scale operations remains a challenge. This necessitates collaborative efforts between academic researchers and industrial partners to address engineering and economic considerations.
Looking ahead, the field of carboxylic acid technology is poised for significant advancements. Emerging areas of interest include the integration of carboxylic acids in biocatalytic processes, their use in advanced materials synthesis, and their potential in energy storage applications. As global sustainability initiatives gain momentum, the role of carboxylic acids in enabling eco-friendly industrial solutions is expected to expand, driving innovation and fostering a more sustainable chemical industry.
The technological trajectory of carboxylic acids has been marked by continuous innovation, driven by the need for more efficient and environmentally benign processes. From simple organic synthesis to complex catalytic reactions, carboxylic acids have demonstrated remarkable adaptability across various industrial sectors. The development of novel catalysts and reaction pathways has further expanded their utility, enabling more selective and energy-efficient transformations.
In the context of eco-friendly industrial solutions, carboxylic acids offer several advantages. Their biodegradability and low toxicity make them attractive alternatives to traditional petrochemical-based reagents. Moreover, many carboxylic acids can be derived from renewable resources, aligning with the principles of green chemistry and circular economy. This shift towards bio-based carboxylic acids represents a significant trend in the field, promising reduced carbon footprints and enhanced sustainability.
The objectives of current research and development efforts in carboxylic acid technology are multifaceted. Primarily, there is a focus on expanding the range of industrially relevant reactions that can be catalyzed or mediated by carboxylic acids. This includes the development of novel synthetic routes for high-value chemicals and materials using carboxylic acids as key intermediates or catalysts. Additionally, researchers aim to optimize reaction conditions to minimize energy consumption and waste generation, further enhancing the eco-friendly profile of carboxylic acid-based processes.
Another critical objective is the scalability of carboxylic acid technologies. While many promising applications have been demonstrated at the laboratory scale, translating these into commercially viable, large-scale operations remains a challenge. This necessitates collaborative efforts between academic researchers and industrial partners to address engineering and economic considerations.
Looking ahead, the field of carboxylic acid technology is poised for significant advancements. Emerging areas of interest include the integration of carboxylic acids in biocatalytic processes, their use in advanced materials synthesis, and their potential in energy storage applications. As global sustainability initiatives gain momentum, the role of carboxylic acids in enabling eco-friendly industrial solutions is expected to expand, driving innovation and fostering a more sustainable chemical industry.
Green Chemistry Market Analysis
The green chemistry market has been experiencing significant growth in recent years, driven by increasing environmental concerns and stringent regulations. This market segment focuses on developing and implementing chemical products and processes that reduce or eliminate the use and generation of hazardous substances. Carboxylic acids, as versatile organic compounds, play a crucial role in this eco-friendly industrial revolution.
The global green chemistry market was valued at approximately $100 billion in 2020 and is projected to reach $165 billion by 2026, growing at a CAGR of 8.5% during the forecast period. This growth is primarily attributed to the rising demand for sustainable products across various industries, including pharmaceuticals, agriculture, cosmetics, and cleaning products.
Carboxylic acids, particularly those derived from renewable resources, are gaining traction in the green chemistry market due to their biodegradability and low toxicity. These compounds are increasingly being used as alternatives to petrochemical-based products in various applications. For instance, bio-based succinic acid is emerging as a sustainable platform chemical, with applications in biodegradable plastics, food additives, and pharmaceuticals.
The pharmaceutical industry is one of the largest consumers of carboxylic acids in green chemistry applications. The demand for eco-friendly drug synthesis processes has led to increased adoption of carboxylic acids as starting materials and intermediates. This trend is expected to continue, driven by regulatory pressures and consumer preferences for sustainably produced medications.
In the agriculture sector, carboxylic acids are finding applications in eco-friendly pesticides and herbicides. These compounds offer effective pest control while minimizing environmental impact. The market for bio-based agrochemicals is projected to grow at a CAGR of 15% over the next five years, presenting significant opportunities for carboxylic acid-based solutions.
The cleaning products industry is another key market for carboxylic acids in green chemistry. Citric acid, a naturally occurring carboxylic acid, is widely used as an environmentally friendly alternative to phosphates in detergents and cleaning formulations. The global market for bio-based cleaning products is expected to reach $3.5 billion by 2025, driven by increasing consumer awareness and regulatory initiatives promoting sustainable household products.
Challenges in the green chemistry market include the higher production costs of bio-based carboxylic acids compared to their petrochemical counterparts. However, ongoing research and development efforts are focused on improving production efficiencies and reducing costs. Additionally, government incentives and supportive policies are encouraging the adoption of green chemistry principles across industries, further driving market growth.
In conclusion, the green chemistry market presents significant opportunities for carboxylic acid-based solutions. As industries continue to prioritize sustainability and eco-friendly practices, the demand for these versatile compounds is expected to grow, fostering innovation and driving the transition towards a more sustainable chemical industry.
The global green chemistry market was valued at approximately $100 billion in 2020 and is projected to reach $165 billion by 2026, growing at a CAGR of 8.5% during the forecast period. This growth is primarily attributed to the rising demand for sustainable products across various industries, including pharmaceuticals, agriculture, cosmetics, and cleaning products.
Carboxylic acids, particularly those derived from renewable resources, are gaining traction in the green chemistry market due to their biodegradability and low toxicity. These compounds are increasingly being used as alternatives to petrochemical-based products in various applications. For instance, bio-based succinic acid is emerging as a sustainable platform chemical, with applications in biodegradable plastics, food additives, and pharmaceuticals.
The pharmaceutical industry is one of the largest consumers of carboxylic acids in green chemistry applications. The demand for eco-friendly drug synthesis processes has led to increased adoption of carboxylic acids as starting materials and intermediates. This trend is expected to continue, driven by regulatory pressures and consumer preferences for sustainably produced medications.
In the agriculture sector, carboxylic acids are finding applications in eco-friendly pesticides and herbicides. These compounds offer effective pest control while minimizing environmental impact. The market for bio-based agrochemicals is projected to grow at a CAGR of 15% over the next five years, presenting significant opportunities for carboxylic acid-based solutions.
The cleaning products industry is another key market for carboxylic acids in green chemistry. Citric acid, a naturally occurring carboxylic acid, is widely used as an environmentally friendly alternative to phosphates in detergents and cleaning formulations. The global market for bio-based cleaning products is expected to reach $3.5 billion by 2025, driven by increasing consumer awareness and regulatory initiatives promoting sustainable household products.
Challenges in the green chemistry market include the higher production costs of bio-based carboxylic acids compared to their petrochemical counterparts. However, ongoing research and development efforts are focused on improving production efficiencies and reducing costs. Additionally, government incentives and supportive policies are encouraging the adoption of green chemistry principles across industries, further driving market growth.
In conclusion, the green chemistry market presents significant opportunities for carboxylic acid-based solutions. As industries continue to prioritize sustainability and eco-friendly practices, the demand for these versatile compounds is expected to grow, fostering innovation and driving the transition towards a more sustainable chemical industry.
Current Applications and Challenges
Carboxylic acids have gained significant traction in various industrial applications due to their eco-friendly properties and versatile nature. Currently, these compounds are widely used in the production of biodegradable polymers, serving as key building blocks for sustainable packaging materials and disposable products. The food and beverage industry has also embraced carboxylic acids as natural preservatives and flavor enhancers, reducing the reliance on synthetic additives.
In the pharmaceutical sector, carboxylic acids play a crucial role in drug synthesis and formulation, contributing to the development of more environmentally benign manufacturing processes. Additionally, these compounds have found applications in green solvents, offering alternatives to traditional petroleum-based solvents in industrial cleaning and degreasing operations.
Despite the promising applications, several challenges persist in the widespread adoption of carboxylic acid-based solutions. One significant hurdle is the cost-effectiveness of large-scale production. While some carboxylic acids can be derived from renewable resources, the extraction and purification processes often require substantial energy inputs, potentially offsetting their environmental benefits.
Another challenge lies in the limited stability of certain carboxylic acid derivatives under extreme conditions, which can restrict their use in some industrial settings. Researchers are actively working on developing more robust formulations to expand the range of applications.
The regulatory landscape also presents challenges, as the adoption of new eco-friendly solutions often requires extensive testing and approval processes. This can slow down the integration of carboxylic acid-based products into established industrial practices.
Furthermore, the transition from traditional petrochemical-based processes to those utilizing carboxylic acids often requires significant modifications to existing manufacturing infrastructure. This can be a barrier for companies hesitant to invest in new equipment and technologies.
Lastly, while carboxylic acids offer numerous environmental advantages, their production and use still have some ecological impacts that need to be addressed. Ongoing research focuses on optimizing production methods to minimize water consumption, reduce energy requirements, and enhance overall sustainability throughout the lifecycle of carboxylic acid-based products.
In the pharmaceutical sector, carboxylic acids play a crucial role in drug synthesis and formulation, contributing to the development of more environmentally benign manufacturing processes. Additionally, these compounds have found applications in green solvents, offering alternatives to traditional petroleum-based solvents in industrial cleaning and degreasing operations.
Despite the promising applications, several challenges persist in the widespread adoption of carboxylic acid-based solutions. One significant hurdle is the cost-effectiveness of large-scale production. While some carboxylic acids can be derived from renewable resources, the extraction and purification processes often require substantial energy inputs, potentially offsetting their environmental benefits.
Another challenge lies in the limited stability of certain carboxylic acid derivatives under extreme conditions, which can restrict their use in some industrial settings. Researchers are actively working on developing more robust formulations to expand the range of applications.
The regulatory landscape also presents challenges, as the adoption of new eco-friendly solutions often requires extensive testing and approval processes. This can slow down the integration of carboxylic acid-based products into established industrial practices.
Furthermore, the transition from traditional petrochemical-based processes to those utilizing carboxylic acids often requires significant modifications to existing manufacturing infrastructure. This can be a barrier for companies hesitant to invest in new equipment and technologies.
Lastly, while carboxylic acids offer numerous environmental advantages, their production and use still have some ecological impacts that need to be addressed. Ongoing research focuses on optimizing production methods to minimize water consumption, reduce energy requirements, and enhance overall sustainability throughout the lifecycle of carboxylic acid-based products.
Eco-Friendly Industrial Processes
01 Synthesis of carboxylic acids
Various methods for synthesizing carboxylic acids are described, including oxidation of primary alcohols or aldehydes, hydrolysis of nitriles, and carbonylation reactions. These processes often involve catalysts and specific reaction conditions to achieve high yields and selectivity.- Synthesis of carboxylic acids: Various methods for synthesizing carboxylic acids are described, including oxidation of primary alcohols or aldehydes, hydrolysis of nitriles, and carbonylation reactions. These processes often involve catalysts and specific reaction conditions to achieve high yields and selectivity.
- Derivatives and functionalization of carboxylic acids: Carboxylic acids can be transformed into various derivatives such as esters, amides, and anhydrides. Additionally, methods for functionalizing carboxylic acids to introduce new chemical groups or modify their properties are discussed, expanding their potential applications in different fields.
- Industrial applications of carboxylic acids: Carboxylic acids find widespread use in various industries, including pharmaceuticals, polymers, and food additives. They serve as key intermediates in the production of many important chemicals and materials, highlighting their significance in industrial processes.
- Purification and separation techniques: Various methods for purifying and separating carboxylic acids from reaction mixtures or natural sources are described. These techniques may include distillation, crystallization, extraction, and chromatography, aimed at obtaining high-purity carboxylic acids for specific applications.
- Novel carboxylic acid compounds and their properties: Research on new carboxylic acid compounds with unique structures or properties is presented. These novel compounds may exhibit improved reactivity, stability, or specific functionalities, potentially leading to new applications in areas such as materials science or pharmaceutical development.
02 Derivatives and applications of carboxylic acids
Carboxylic acids serve as precursors for various derivatives such as esters, amides, and anhydrides. These compounds find applications in pharmaceuticals, polymers, and other industrial processes. The synthesis and use of these derivatives are explored in different patents.Expand Specific Solutions03 Purification and separation techniques
Methods for purifying and separating carboxylic acids from reaction mixtures or natural sources are described. These techniques may include crystallization, distillation, extraction, and chromatography, aimed at obtaining high-purity carboxylic acids for various applications.Expand Specific Solutions04 Functionalization of carboxylic acids
Processes for modifying carboxylic acids through various functionalization reactions are presented. These may include halogenation, reduction, and addition reactions, allowing for the creation of more complex molecules and expanding the utility of carboxylic acids in organic synthesis.Expand Specific Solutions05 Industrial production and scale-up
Patents related to the large-scale production of carboxylic acids for industrial purposes are included. These may cover reactor designs, continuous flow processes, and optimization strategies for improving yield and efficiency in manufacturing settings.Expand Specific Solutions
Key Players in Green Chemical Solutions
The eco-friendly industrial solutions utilizing carboxylic acid are in a growth phase, with increasing market size driven by sustainability demands. The technology's maturity varies across applications, but is generally advancing rapidly. Key players like BASF, Evonik, and LANXESS are leading innovation in this field, leveraging their extensive chemical expertise. Research institutions such as the Council of Scientific & Industrial Research and universities like Hunan University are contributing to fundamental advancements. Companies like Unilever and Toyota are exploring applications in consumer products and automotive sectors, respectively, indicating the technology's broad potential. The competitive landscape is diverse, with both established chemical giants and specialized firms like Ceramatec and Inventec Performance Chemicals vying for market share in this promising eco-friendly domain.
Evonik Operations GmbH
Technical Solution: Evonik has made significant strides in leveraging carboxylic acids for eco-friendly industrial solutions. Their VESTENAMER® technology incorporates carboxylic acid functionalities to improve the recycling of rubber products, addressing a major environmental challenge[7]. In the field of personal care, Evonik has developed bio-based carboxylic acid derivatives that serve as sustainable alternatives to traditional petrochemical-based ingredients[8]. The company has also innovated in the area of green solvents, producing carboxylic acid-based alternatives that offer improved safety profiles and reduced environmental impact compared to conventional organic solvents[9].
Strengths: Strong focus on specialty chemicals, innovative product development, and commitment to sustainability. Weaknesses: Relatively smaller scale compared to some competitors, potential challenges in raw material sourcing for bio-based products.
BASF Corp.
Technical Solution: BASF has developed a range of eco-friendly carboxylic acid-based solutions for industrial applications. Their approach includes the production of bio-based succinic acid through fermentation, which serves as a platform chemical for various sustainable products[1]. They have also innovated in the field of superabsorbent polymers, utilizing carboxylic acid functionalities to create biodegradable materials for hygiene products and agriculture[2]. BASF's commitment to green chemistry is further exemplified by their development of carboxylic acid-based surfactants that offer improved biodegradability and reduced environmental impact compared to traditional petrochemical-derived surfactants[3].
Strengths: Extensive R&D capabilities, wide product portfolio, and strong market presence. Weaknesses: High dependence on petrochemical feedstocks for some processes, potential challenges in scaling up bio-based production methods.
Innovative Carboxylic Acid Applications
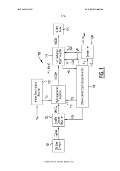
Systems and methods for generating a carboxylic acid from a co2 gas stream
PatentWO2022101287A1
Innovation
- A system and method that convert CO2 into formic acid (HCOOH) and its precursors by reacting CO2 with a base to form bicarbonate, followed by hydrogenation in the presence of a catalyst, and electrolyzing a metal halide solution to produce the necessary reactants, allowing for the scalable production of formic acid with minimized waste.
Environmental Impact Assessment
The environmental impact assessment of carboxylic acid in eco-friendly industrial solutions reveals a multifaceted approach to sustainability. Carboxylic acids, being naturally occurring organic compounds, offer significant advantages in reducing the ecological footprint of various industrial processes.
One of the primary environmental benefits of carboxylic acids is their biodegradability. Unlike many synthetic chemicals, carboxylic acids can be readily broken down by microorganisms in the environment, reducing long-term pollution and accumulation in ecosystems. This characteristic makes them particularly suitable for applications in cleaning products, where they can replace harsher, less environmentally friendly alternatives.
In the realm of industrial solvents, carboxylic acids present a greener alternative to traditional petroleum-based solvents. Their use can lead to reduced emissions of volatile organic compounds (VOCs), which are known contributors to air pollution and smog formation. The transition to carboxylic acid-based solvents in industries such as paints, coatings, and adhesives can significantly lower the overall environmental impact of these sectors.
Furthermore, the production of carboxylic acids often involves more sustainable processes compared to their synthetic counterparts. Many carboxylic acids can be derived from renewable resources, such as plant-based feedstocks, aligning with circular economy principles and reducing dependence on fossil fuels. This shift towards bio-based production not only decreases carbon footprint but also promotes the development of agricultural economies.
In wastewater treatment, carboxylic acids play a crucial role in eco-friendly solutions. Their ability to form complexes with metal ions makes them effective in removing heavy metals from industrial effluents, offering a more environmentally benign approach to water purification. Additionally, certain carboxylic acids can be used in advanced oxidation processes for the breakdown of persistent organic pollutants, further contributing to water quality improvement.
The use of carboxylic acids in agriculture as plant growth regulators and soil conditioners presents another avenue for environmental benefit. These compounds can enhance nutrient uptake and improve soil structure, potentially reducing the need for synthetic fertilizers and mitigating issues related to soil degradation and runoff.
However, it is important to note that while carboxylic acids offer numerous environmental advantages, their production and use are not without impacts. Large-scale production may still require significant energy inputs, and improper handling or disposal can lead to localized environmental issues. Therefore, a comprehensive life cycle assessment is crucial to fully understand and optimize the environmental performance of carboxylic acid-based solutions in various industrial applications.
One of the primary environmental benefits of carboxylic acids is their biodegradability. Unlike many synthetic chemicals, carboxylic acids can be readily broken down by microorganisms in the environment, reducing long-term pollution and accumulation in ecosystems. This characteristic makes them particularly suitable for applications in cleaning products, where they can replace harsher, less environmentally friendly alternatives.
In the realm of industrial solvents, carboxylic acids present a greener alternative to traditional petroleum-based solvents. Their use can lead to reduced emissions of volatile organic compounds (VOCs), which are known contributors to air pollution and smog formation. The transition to carboxylic acid-based solvents in industries such as paints, coatings, and adhesives can significantly lower the overall environmental impact of these sectors.
Furthermore, the production of carboxylic acids often involves more sustainable processes compared to their synthetic counterparts. Many carboxylic acids can be derived from renewable resources, such as plant-based feedstocks, aligning with circular economy principles and reducing dependence on fossil fuels. This shift towards bio-based production not only decreases carbon footprint but also promotes the development of agricultural economies.
In wastewater treatment, carboxylic acids play a crucial role in eco-friendly solutions. Their ability to form complexes with metal ions makes them effective in removing heavy metals from industrial effluents, offering a more environmentally benign approach to water purification. Additionally, certain carboxylic acids can be used in advanced oxidation processes for the breakdown of persistent organic pollutants, further contributing to water quality improvement.
The use of carboxylic acids in agriculture as plant growth regulators and soil conditioners presents another avenue for environmental benefit. These compounds can enhance nutrient uptake and improve soil structure, potentially reducing the need for synthetic fertilizers and mitigating issues related to soil degradation and runoff.
However, it is important to note that while carboxylic acids offer numerous environmental advantages, their production and use are not without impacts. Large-scale production may still require significant energy inputs, and improper handling or disposal can lead to localized environmental issues. Therefore, a comprehensive life cycle assessment is crucial to fully understand and optimize the environmental performance of carboxylic acid-based solutions in various industrial applications.
Regulatory Framework for Green Chemistry
The regulatory framework for green chemistry plays a crucial role in promoting eco-friendly industrial solutions, particularly in the context of carboxylic acid applications. Governments and international organizations have established various policies and guidelines to encourage the adoption of sustainable practices in chemical manufacturing and usage.
In the United States, the Environmental Protection Agency (EPA) has implemented the Green Chemistry Program, which provides a framework for developing and implementing sustainable chemical processes. This program emphasizes the principles of green chemistry, including the use of renewable feedstocks, reduction of waste, and minimization of energy consumption. The EPA also offers incentives and recognition for companies that demonstrate innovative green chemistry solutions, such as the Presidential Green Chemistry Challenge Awards.
The European Union has taken significant steps in regulating chemical use through the Registration, Evaluation, Authorization, and Restriction of Chemicals (REACH) regulation. This comprehensive legislation requires manufacturers and importers to assess and manage the risks associated with chemicals, promoting the use of safer alternatives where possible. The EU's Circular Economy Action Plan further supports the transition to sustainable chemical production by encouraging the development of non-toxic material cycles and increased recycling of chemicals.
International standards, such as ISO 14001 for environmental management systems, provide a framework for organizations to implement and maintain environmentally responsible practices. These standards often include guidelines for reducing the environmental impact of chemical processes, including those involving carboxylic acids.
Many countries have introduced specific regulations targeting the reduction of volatile organic compounds (VOCs) emissions, which can be relevant to carboxylic acid applications. These regulations often set limits on VOC content in products and require the use of best available techniques to minimize emissions during manufacturing processes.
The United Nations' Strategic Approach to International Chemicals Management (SAICM) provides a global policy framework to foster the sound management of chemicals throughout their lifecycle. This initiative promotes information sharing, capacity building, and the development of alternatives to hazardous chemicals, supporting the transition to greener chemistry practices worldwide.
Industry-specific regulations also play a role in shaping the use of carboxylic acids in eco-friendly solutions. For instance, in the food and beverage industry, regulations on food additives and preservatives influence the development and application of carboxylic acid-based products. Similarly, in the pharmaceutical sector, green chemistry principles are increasingly being incorporated into drug development and manufacturing regulations.
As the demand for sustainable industrial practices grows, regulatory frameworks continue to evolve, driving innovation in green chemistry and encouraging the development of eco-friendly solutions based on carboxylic acids and other sustainable chemical compounds.
In the United States, the Environmental Protection Agency (EPA) has implemented the Green Chemistry Program, which provides a framework for developing and implementing sustainable chemical processes. This program emphasizes the principles of green chemistry, including the use of renewable feedstocks, reduction of waste, and minimization of energy consumption. The EPA also offers incentives and recognition for companies that demonstrate innovative green chemistry solutions, such as the Presidential Green Chemistry Challenge Awards.
The European Union has taken significant steps in regulating chemical use through the Registration, Evaluation, Authorization, and Restriction of Chemicals (REACH) regulation. This comprehensive legislation requires manufacturers and importers to assess and manage the risks associated with chemicals, promoting the use of safer alternatives where possible. The EU's Circular Economy Action Plan further supports the transition to sustainable chemical production by encouraging the development of non-toxic material cycles and increased recycling of chemicals.
International standards, such as ISO 14001 for environmental management systems, provide a framework for organizations to implement and maintain environmentally responsible practices. These standards often include guidelines for reducing the environmental impact of chemical processes, including those involving carboxylic acids.
Many countries have introduced specific regulations targeting the reduction of volatile organic compounds (VOCs) emissions, which can be relevant to carboxylic acid applications. These regulations often set limits on VOC content in products and require the use of best available techniques to minimize emissions during manufacturing processes.
The United Nations' Strategic Approach to International Chemicals Management (SAICM) provides a global policy framework to foster the sound management of chemicals throughout their lifecycle. This initiative promotes information sharing, capacity building, and the development of alternatives to hazardous chemicals, supporting the transition to greener chemistry practices worldwide.
Industry-specific regulations also play a role in shaping the use of carboxylic acids in eco-friendly solutions. For instance, in the food and beverage industry, regulations on food additives and preservatives influence the development and application of carboxylic acid-based products. Similarly, in the pharmaceutical sector, green chemistry principles are increasingly being incorporated into drug development and manufacturing regulations.
As the demand for sustainable industrial practices grows, regulatory frameworks continue to evolve, driving innovation in green chemistry and encouraging the development of eco-friendly solutions based on carboxylic acids and other sustainable chemical compounds.
Unlock deeper insights with Patsnap Eureka Quick Research — get a full tech report to explore trends and direct your research. Try now!
Generate Your Research Report Instantly with AI Agent
Supercharge your innovation with Patsnap Eureka AI Agent Platform!



