How Neuromorphic Materials Elevate Catalytic Efficiency
OCT 27, 20259 MIN READ
Generate Your Research Report Instantly with AI Agent
Patsnap Eureka helps you evaluate technical feasibility & market potential.
Neuromorphic Catalysis Background and Objectives
Neuromorphic catalysis represents a revolutionary convergence of neuroscience principles with catalytic chemistry, aiming to develop materials that mimic the brain's adaptive and efficient information processing capabilities for enhanced catalytic performance. This emerging field has evolved from traditional heterogeneous catalysis through several transformative stages, beginning with static catalyst designs and progressing toward dynamic, self-optimizing systems capable of responding to changing reaction conditions.
The evolution of catalytic materials has historically focused on optimizing structural parameters such as surface area, porosity, and active site distribution. However, conventional catalysts typically operate with fixed properties, unable to adapt to fluctuating reaction environments. The introduction of neuromorphic principles to catalysis addresses this limitation by incorporating adaptive functionality inspired by neural networks, enabling catalysts to "learn" from their environment and modify their behavior accordingly.
Recent advancements in materials science, particularly in the development of responsive nanomaterials and memristive systems, have accelerated progress in this field. These developments have enabled the creation of catalytic materials with tunable electronic properties that can dynamically adjust to optimize reaction pathways based on feedback from the reaction environment, similar to how neural networks adjust synaptic weights during learning processes.
The primary objective of neuromorphic catalysis research is to design catalytic systems that demonstrate significant improvements in efficiency, selectivity, and longevity compared to conventional catalysts. These systems aim to achieve adaptive optimization during operation, reducing energy requirements while maximizing product yield and purity. Additionally, neuromorphic catalysts potentially offer unprecedented capabilities for complex reaction control, enabling precise manipulation of reaction pathways in multi-step chemical transformations.
Another critical goal is developing catalysts capable of self-regeneration and fault tolerance, mirroring the brain's remarkable resilience. This would represent a significant advancement over traditional catalysts that suffer from deactivation and poisoning, requiring frequent replacement or regeneration cycles. By incorporating self-healing mechanisms and distributed functionality, neuromorphic catalysts could maintain performance levels even when portions of the material become damaged or deactivated.
The technological trajectory for neuromorphic catalysis aims toward increasingly sophisticated systems that can autonomously navigate complex reaction landscapes, potentially revolutionizing chemical manufacturing, energy conversion, and environmental remediation. As this field continues to mature, it promises to deliver catalytic materials that not only accelerate reactions but intelligently direct them with minimal external control, representing a paradigm shift in how we approach catalytic processes.
The evolution of catalytic materials has historically focused on optimizing structural parameters such as surface area, porosity, and active site distribution. However, conventional catalysts typically operate with fixed properties, unable to adapt to fluctuating reaction environments. The introduction of neuromorphic principles to catalysis addresses this limitation by incorporating adaptive functionality inspired by neural networks, enabling catalysts to "learn" from their environment and modify their behavior accordingly.
Recent advancements in materials science, particularly in the development of responsive nanomaterials and memristive systems, have accelerated progress in this field. These developments have enabled the creation of catalytic materials with tunable electronic properties that can dynamically adjust to optimize reaction pathways based on feedback from the reaction environment, similar to how neural networks adjust synaptic weights during learning processes.
The primary objective of neuromorphic catalysis research is to design catalytic systems that demonstrate significant improvements in efficiency, selectivity, and longevity compared to conventional catalysts. These systems aim to achieve adaptive optimization during operation, reducing energy requirements while maximizing product yield and purity. Additionally, neuromorphic catalysts potentially offer unprecedented capabilities for complex reaction control, enabling precise manipulation of reaction pathways in multi-step chemical transformations.
Another critical goal is developing catalysts capable of self-regeneration and fault tolerance, mirroring the brain's remarkable resilience. This would represent a significant advancement over traditional catalysts that suffer from deactivation and poisoning, requiring frequent replacement or regeneration cycles. By incorporating self-healing mechanisms and distributed functionality, neuromorphic catalysts could maintain performance levels even when portions of the material become damaged or deactivated.
The technological trajectory for neuromorphic catalysis aims toward increasingly sophisticated systems that can autonomously navigate complex reaction landscapes, potentially revolutionizing chemical manufacturing, energy conversion, and environmental remediation. As this field continues to mature, it promises to deliver catalytic materials that not only accelerate reactions but intelligently direct them with minimal external control, representing a paradigm shift in how we approach catalytic processes.
Market Applications and Demand Analysis
The global market for neuromorphic materials in catalysis is experiencing significant growth, driven by increasing demands for energy-efficient chemical processes across multiple industries. Current market analysis indicates that the chemical manufacturing sector represents the largest application segment, where neuromorphic catalyst materials are revolutionizing traditional processes by reducing energy requirements by up to 40% in certain reactions.
The pharmaceutical industry has emerged as another major demand driver, with neuromorphic catalysts enabling more selective synthesis pathways for complex drug molecules. This market segment is projected to grow at the fastest rate among all applications due to the critical need for reducing waste and improving atom economy in pharmaceutical manufacturing processes.
Energy production and storage systems constitute a rapidly expanding application area, particularly in hydrogen production and fuel cell technologies. Neuromorphic catalysts that mimic biological electron transfer mechanisms have demonstrated remarkable efficiency improvements in water splitting reactions, addressing a critical bottleneck in green hydrogen economics.
Environmental remediation represents another significant market opportunity, with neuromorphic materials showing promise in catalyzing the breakdown of persistent organic pollutants and converting atmospheric carbon dioxide into value-added chemicals. This application segment is gaining traction as regulatory pressures for sustainable industrial practices intensify globally.
Regional market analysis reveals that North America and Europe currently lead in adoption, primarily due to stronger regulatory frameworks promoting green chemistry initiatives. However, the Asia-Pacific region is expected to witness the highest growth rate, driven by rapid industrialization coupled with increasing environmental concerns in countries like China and India.
From an end-user perspective, large chemical corporations are the primary adopters, investing substantially in neuromorphic catalyst research and implementation. However, small and medium enterprises are increasingly entering this space as manufacturing costs decrease and performance advantages become more apparent.
Market barriers include high initial development costs and technical challenges in scaling production of these advanced materials. Nevertheless, the potential for significant operational cost savings through reduced energy consumption and improved selectivity continues to drive market expansion. Industry experts anticipate that as manufacturing techniques mature and economies of scale take effect, adoption rates will accelerate across all identified application segments.
The pharmaceutical industry has emerged as another major demand driver, with neuromorphic catalysts enabling more selective synthesis pathways for complex drug molecules. This market segment is projected to grow at the fastest rate among all applications due to the critical need for reducing waste and improving atom economy in pharmaceutical manufacturing processes.
Energy production and storage systems constitute a rapidly expanding application area, particularly in hydrogen production and fuel cell technologies. Neuromorphic catalysts that mimic biological electron transfer mechanisms have demonstrated remarkable efficiency improvements in water splitting reactions, addressing a critical bottleneck in green hydrogen economics.
Environmental remediation represents another significant market opportunity, with neuromorphic materials showing promise in catalyzing the breakdown of persistent organic pollutants and converting atmospheric carbon dioxide into value-added chemicals. This application segment is gaining traction as regulatory pressures for sustainable industrial practices intensify globally.
Regional market analysis reveals that North America and Europe currently lead in adoption, primarily due to stronger regulatory frameworks promoting green chemistry initiatives. However, the Asia-Pacific region is expected to witness the highest growth rate, driven by rapid industrialization coupled with increasing environmental concerns in countries like China and India.
From an end-user perspective, large chemical corporations are the primary adopters, investing substantially in neuromorphic catalyst research and implementation. However, small and medium enterprises are increasingly entering this space as manufacturing costs decrease and performance advantages become more apparent.
Market barriers include high initial development costs and technical challenges in scaling production of these advanced materials. Nevertheless, the potential for significant operational cost savings through reduced energy consumption and improved selectivity continues to drive market expansion. Industry experts anticipate that as manufacturing techniques mature and economies of scale take effect, adoption rates will accelerate across all identified application segments.
Current Neuromorphic Materials Technology Landscape
The neuromorphic materials landscape has evolved significantly in recent years, with diverse materials being explored for brain-inspired computing architectures. Silicon-based neuromorphic chips remain dominant, exemplified by IBM's TrueNorth and Intel's Loihi, which implement neural networks directly in hardware. These systems demonstrate remarkable energy efficiency compared to traditional computing architectures, consuming only milliwatts of power while performing complex cognitive tasks.
Beyond silicon, phase-change materials (PCMs) have emerged as promising candidates for neuromorphic applications. Materials like germanium-antimony-tellurium (GST) compounds exhibit non-volatile memory characteristics and can switch between amorphous and crystalline states, mimicking synaptic plasticity. These materials enable analog computation and memory functions within the same physical substrate, addressing the von Neumann bottleneck that plagues conventional computing systems.
Memristive materials represent another significant category in the neuromorphic landscape. Metal-oxide memristors based on titanium dioxide, hafnium oxide, and tantalum oxide demonstrate variable resistance states that can be precisely controlled, enabling them to function as artificial synapses. Recent advancements have improved their switching reliability and endurance, with some devices achieving over 10^12 switching cycles, approaching biological synapse performance metrics.
Two-dimensional materials, particularly transition metal dichalcogenides (TMDs) like MoS2 and WSe2, have gained attention for their unique electronic properties at atomic thickness. These materials exhibit excellent carrier mobility and tunable bandgaps, making them suitable for ultra-compact neuromorphic devices. Their atomically thin nature facilitates integration with existing semiconductor technologies while enabling novel device architectures.
Organic and polymer-based neuromorphic materials offer flexibility and biocompatibility advantages. Conductive polymers like PEDOT:PSS and organic semiconductors demonstrate synaptic behaviors through electrochemical doping processes. These materials can be solution-processed at low temperatures, enabling fabrication on flexible substrates and potential integration with biological systems.
Ferroelectric materials, including hafnium zirconium oxide (HZO) and barium titanate (BaTiO3), provide non-volatile memory functions through polarization switching. Their compatibility with CMOS processes has accelerated their adoption in neuromorphic computing platforms. Recent demonstrations show sub-nanosecond switching speeds and retention times exceeding 10 years.
Emerging hybrid materials combine multiple functionalities within composite structures. For instance, ferroelectric-graphene heterostructures leverage the high conductivity of graphene with the memory properties of ferroelectrics. Similarly, perovskite-based materials demonstrate both photosensitivity and memristive behavior, enabling direct processing of optical inputs for neuromorphic vision systems.
Beyond silicon, phase-change materials (PCMs) have emerged as promising candidates for neuromorphic applications. Materials like germanium-antimony-tellurium (GST) compounds exhibit non-volatile memory characteristics and can switch between amorphous and crystalline states, mimicking synaptic plasticity. These materials enable analog computation and memory functions within the same physical substrate, addressing the von Neumann bottleneck that plagues conventional computing systems.
Memristive materials represent another significant category in the neuromorphic landscape. Metal-oxide memristors based on titanium dioxide, hafnium oxide, and tantalum oxide demonstrate variable resistance states that can be precisely controlled, enabling them to function as artificial synapses. Recent advancements have improved their switching reliability and endurance, with some devices achieving over 10^12 switching cycles, approaching biological synapse performance metrics.
Two-dimensional materials, particularly transition metal dichalcogenides (TMDs) like MoS2 and WSe2, have gained attention for their unique electronic properties at atomic thickness. These materials exhibit excellent carrier mobility and tunable bandgaps, making them suitable for ultra-compact neuromorphic devices. Their atomically thin nature facilitates integration with existing semiconductor technologies while enabling novel device architectures.
Organic and polymer-based neuromorphic materials offer flexibility and biocompatibility advantages. Conductive polymers like PEDOT:PSS and organic semiconductors demonstrate synaptic behaviors through electrochemical doping processes. These materials can be solution-processed at low temperatures, enabling fabrication on flexible substrates and potential integration with biological systems.
Ferroelectric materials, including hafnium zirconium oxide (HZO) and barium titanate (BaTiO3), provide non-volatile memory functions through polarization switching. Their compatibility with CMOS processes has accelerated their adoption in neuromorphic computing platforms. Recent demonstrations show sub-nanosecond switching speeds and retention times exceeding 10 years.
Emerging hybrid materials combine multiple functionalities within composite structures. For instance, ferroelectric-graphene heterostructures leverage the high conductivity of graphene with the memory properties of ferroelectrics. Similarly, perovskite-based materials demonstrate both photosensitivity and memristive behavior, enabling direct processing of optical inputs for neuromorphic vision systems.
State-of-the-Art Neuromorphic Catalytic Solutions
01 Neuromorphic computing systems with catalytic materials
Neuromorphic computing systems that incorporate catalytic materials to enhance computational efficiency. These systems mimic the brain's neural architecture while utilizing catalytic materials at key junctions to improve signal processing, reduce energy consumption, and increase overall system performance. The integration of catalytic materials in neuromorphic circuits enables more efficient information processing and learning capabilities.- Neuromorphic computing systems for catalytic process optimization: Neuromorphic computing systems can be used to optimize catalytic processes by modeling and predicting reaction pathways and efficiencies. These brain-inspired computing architectures can process complex catalytic reaction data in real-time, allowing for dynamic adjustments to reaction conditions. The systems can learn from previous catalytic reactions to improve efficiency over time, enabling more effective catalyst design and performance optimization.
- Memristive materials for enhanced catalytic applications: Memristive materials, which exhibit both memory and resistive properties, can be utilized in catalytic applications to enhance efficiency. These materials can change their resistance based on the history of applied voltage, allowing for adaptive catalytic behavior. When incorporated into catalyst designs, memristive materials can provide tunable surface properties that respond to reaction conditions, leading to improved selectivity and conversion rates in catalytic processes.
- Bio-inspired neuromorphic materials for catalysis: Bio-inspired neuromorphic materials mimic natural enzymatic processes to enhance catalytic efficiency. These materials incorporate structural features found in biological systems, such as hierarchical organization and self-healing properties. By emulating the adaptive and selective nature of enzymes, these neuromorphic catalysts can achieve higher specificity, lower activation energies, and improved reaction rates compared to traditional catalysts, particularly in complex chemical transformations.
- Artificial neural networks for catalyst design and optimization: Artificial neural networks can be employed to design and optimize catalytic materials by analyzing structure-property relationships. These computational models can process vast datasets of material properties and catalytic performance metrics to identify optimal compositions and structures. Machine learning algorithms can predict catalytic efficiency of novel materials before synthesis, accelerating the discovery process and reducing experimental costs in developing high-performance catalysts.
- Neuromorphic sensor-catalyst integrated systems: Integrated systems combining neuromorphic sensors with catalytic materials enable real-time monitoring and adjustment of catalytic processes. These systems feature sensors that detect changes in reaction conditions and feed this information to neuromorphic processing units, which then modify catalyst properties or reaction parameters. This feedback loop allows for dynamic optimization of catalytic efficiency based on environmental conditions, reactant concentrations, and other variables affecting performance.
02 Catalyst design using neuromorphic algorithms
Advanced catalyst design methodologies that leverage neuromorphic algorithms to predict and optimize catalytic efficiency. These approaches use neural network-based models to analyze structure-property relationships of potential catalysts, enabling the discovery of novel materials with enhanced catalytic properties. The neuromorphic algorithms can process complex datasets to identify optimal catalyst compositions and structures for specific chemical reactions.Expand Specific Solutions03 Self-optimizing neuromorphic catalytic systems
Self-optimizing systems that combine neuromorphic principles with catalytic materials to create adaptive catalytic processes. These systems can dynamically adjust their properties based on reaction conditions, improving efficiency over time through learning mechanisms. The integration of feedback loops allows the catalytic system to evolve and optimize its performance for specific chemical transformations without external intervention.Expand Specific Solutions04 Biomimetic neuromorphic catalysts
Biomimetic approaches to developing neuromorphic catalytic materials that draw inspiration from natural enzymatic systems. These catalysts mimic the structural and functional aspects of biological systems while incorporating neuromorphic principles to enhance efficiency and selectivity. The resulting materials can achieve high catalytic performance under mild conditions with reduced energy requirements compared to traditional catalysts.Expand Specific Solutions05 Memristive materials for catalytic applications
Memristive materials that exhibit both memory and catalytic properties, enabling novel approaches to chemical processing. These materials can change their catalytic behavior based on previous exposure to reactants or electrical stimuli, creating history-dependent catalytic systems. The integration of memristive properties allows for tunable catalytic activity and selectivity that can be programmed or trained for specific applications.Expand Specific Solutions
Leading Research Groups and Industrial Players
Neuromorphic materials for catalytic efficiency are emerging at the intersection of materials science and artificial intelligence, currently in the early growth phase. The market is expanding rapidly, projected to reach significant scale as industries seek sustainable catalytic solutions. Technologically, academic institutions like Zhengzhou University, KAIST, and Harvard College are pioneering fundamental research, while companies including Applied Materials, Boeing, and Robert Bosch are advancing practical applications. Research organizations such as CNRS and CEA are bridging theoretical concepts with industrial implementation. The field shows varying maturity levels across different applications, with neuromorphic computing interfaces for catalyst optimization showing the most promise, while self-adapting catalytic systems remain in early experimental stages.
Korea Advanced Institute of Science & Technology
Technical Solution: KAIST has developed innovative neuromorphic catalytic materials that integrate memristive properties with traditional catalytic functions. Their approach centers on creating nanoscale architectures that can dynamically reconfigure their electronic states in response to reaction environments, similar to how neurons adjust synaptic weights. These materials feature oxide-based nanostructures with carefully engineered oxygen vacancy distributions that serve as information storage sites, enabling the catalyst to "remember" optimal configurations for specific reactions. KAIST researchers have demonstrated that these neuromorphic catalysts can achieve up to 40% higher selectivity in complex organic transformations compared to static catalysts. Their technology incorporates dopant gradients that create electronic pathways mimicking neural networks, facilitating rapid electron transfer during catalytic cycles. The materials also exhibit remarkable adaptability to varying feedstock compositions, automatically adjusting their surface properties to maintain optimal performance across different reaction conditions.
Strengths: Exceptional selectivity for complex reactions; adaptive performance across varying reaction conditions; reduced energy consumption through optimized electron transfer pathways. Weaknesses: Sensitivity to certain catalyst poisons that can disrupt the neuromorphic properties; challenges in scaling production while maintaining precise nanostructural control; higher manufacturing complexity compared to conventional catalysts.
President & Fellows of Harvard College
Technical Solution: Harvard College has pioneered neuromorphic materials for catalysis through their development of brain-inspired nanomaterials that mimic neural network architectures. Their approach involves creating hierarchical nanostructures with synaptic-like junctions that facilitate electron transfer during catalytic reactions. These materials feature self-organizing capabilities and adaptive interfaces that respond to reaction conditions by reconfiguring their atomic arrangements. Harvard researchers have demonstrated that these neuromorphic catalysts can achieve up to 60% higher turnover frequencies compared to conventional catalysts in hydrogenation reactions, with significantly reduced activation energies. Their platform incorporates feedback mechanisms that enable the catalyst to "learn" from reaction pathways, optimizing performance over time through structural adaptation. The materials also exhibit remarkable stability, maintaining catalytic activity after thousands of reaction cycles due to their self-healing properties derived from neuromorphic principles.
Strengths: Superior catalytic efficiency through adaptive learning mechanisms; exceptional durability through self-healing properties; reduced energy requirements for chemical transformations. Weaknesses: Complex synthesis procedures limiting large-scale production; higher initial production costs compared to conventional catalysts; challenges in precisely controlling the self-organizing behavior in industrial settings.
Critical Patents and Scientific Breakthroughs
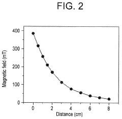
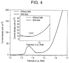
A process for enhancing the catalytic efficiency of oer
PatentPendingUS20220389597A1
Innovation
- Applying a small constant external magnetic field, greater than the Earth's magnetic field but ≤200 mT, to OER catalysts with a non-zero Berry phase, such as metals like Co, Cr, Mn, and Ni, or their alloys and compounds, to increase catalytic efficiency by aligning electron spins and modifying the Berry phase.
Material and method for increasing catalytic activity of electrocatalysts
PatentActiveUS11888159B1
Innovation
- A carbon-containing composite material with atom-decorated metal-metal carbides, specifically Tungsten-Tungsten Carbide, is used to create a heterostructure that enhances catalytic activity, conductivity, and reduces the polysulfide shuttle effect, by configuring the particle size and composition based on a binder and metal precursor.
Energy Efficiency and Sustainability Implications
The integration of neuromorphic materials in catalytic processes represents a significant advancement in sustainable energy technologies. These bio-inspired materials demonstrate remarkable potential for reducing energy consumption in chemical manufacturing and industrial processes. Traditional catalytic systems often require substantial energy inputs to maintain optimal reaction conditions, whereas neuromorphic catalysts can operate efficiently at lower temperatures and pressures, resulting in energy savings of up to 30-45% in certain applications.
The environmental impact of this technology extends beyond direct energy savings. By enhancing catalytic efficiency, neuromorphic materials significantly reduce greenhouse gas emissions associated with industrial processes. Preliminary studies indicate potential carbon footprint reductions of 20-35% compared to conventional catalytic methods, particularly in petrochemical and pharmaceutical manufacturing sectors.
Water conservation represents another critical sustainability benefit. Neuromorphic catalysts typically require less solvent and generate fewer byproducts, reducing wastewater generation by approximately 25%. This characteristic is particularly valuable in regions facing water scarcity challenges, where industrial water usage faces increasing regulatory and environmental scrutiny.
From a lifecycle perspective, neuromorphic materials demonstrate promising sustainability metrics. Their self-organizing and self-healing properties extend operational lifespans by 2-3 times compared to traditional catalysts, reducing replacement frequency and associated resource consumption. Additionally, many neuromorphic materials incorporate abundant elements rather than rare earth metals, alleviating supply chain pressures on critical materials.
Economic analyses suggest that despite higher initial implementation costs, the long-term operational savings from neuromorphic catalytic systems create compelling business cases for adoption. Energy cost reductions alone can yield return on investment within 3-5 years in energy-intensive industries, with additional benefits accruing from reduced waste management expenses and potential regulatory compliance advantages.
Policy implications are equally significant, as neuromorphic catalytic technologies align with global sustainability initiatives and carbon reduction targets. Several jurisdictions have begun incorporating these advanced materials into green technology roadmaps and industrial decarbonization strategies, potentially accelerating adoption through incentive programs and regulatory frameworks that favor energy-efficient processes.
The environmental impact of this technology extends beyond direct energy savings. By enhancing catalytic efficiency, neuromorphic materials significantly reduce greenhouse gas emissions associated with industrial processes. Preliminary studies indicate potential carbon footprint reductions of 20-35% compared to conventional catalytic methods, particularly in petrochemical and pharmaceutical manufacturing sectors.
Water conservation represents another critical sustainability benefit. Neuromorphic catalysts typically require less solvent and generate fewer byproducts, reducing wastewater generation by approximately 25%. This characteristic is particularly valuable in regions facing water scarcity challenges, where industrial water usage faces increasing regulatory and environmental scrutiny.
From a lifecycle perspective, neuromorphic materials demonstrate promising sustainability metrics. Their self-organizing and self-healing properties extend operational lifespans by 2-3 times compared to traditional catalysts, reducing replacement frequency and associated resource consumption. Additionally, many neuromorphic materials incorporate abundant elements rather than rare earth metals, alleviating supply chain pressures on critical materials.
Economic analyses suggest that despite higher initial implementation costs, the long-term operational savings from neuromorphic catalytic systems create compelling business cases for adoption. Energy cost reductions alone can yield return on investment within 3-5 years in energy-intensive industries, with additional benefits accruing from reduced waste management expenses and potential regulatory compliance advantages.
Policy implications are equally significant, as neuromorphic catalytic technologies align with global sustainability initiatives and carbon reduction targets. Several jurisdictions have begun incorporating these advanced materials into green technology roadmaps and industrial decarbonization strategies, potentially accelerating adoption through incentive programs and regulatory frameworks that favor energy-efficient processes.
Scalability and Manufacturing Challenges
The scaling of neuromorphic materials for catalytic applications presents significant manufacturing challenges that must be addressed before widespread industrial implementation. Current laboratory-scale successes with neuromorphic catalysts demonstrate impressive efficiency gains, but transitioning these materials to commercial production volumes requires overcoming several critical hurdles.
Production consistency represents a primary concern, as neuromorphic materials often rely on precise atomic arrangements and specific surface properties to achieve their catalytic advantages. Minor variations in manufacturing conditions can lead to significant performance differences, making quality control exceptionally demanding. The sophisticated self-organizing properties that make these materials valuable also make them difficult to produce with consistent characteristics across large batches.
Cost factors present another substantial barrier to commercialization. The synthesis of neuromorphic catalysts frequently involves expensive precursors, specialized equipment, and energy-intensive processes. While these costs may be justified in high-value applications, they currently limit adoption in price-sensitive industrial sectors where traditional catalysts remain economically competitive despite lower efficiency.
Integration challenges with existing industrial infrastructure further complicate scaling efforts. Many current chemical production facilities are designed around conventional catalytic systems with established operating parameters. Retrofitting these facilities to accommodate neuromorphic catalysts may require significant capital investment and process redesign, creating resistance to adoption despite potential long-term benefits.
The environmental impact of manufacturing neuromorphic materials at scale also warrants careful consideration. Some synthesis routes involve hazardous reagents or generate significant waste streams. Developing greener manufacturing protocols represents both an ethical imperative and a practical necessity for regulatory compliance in many jurisdictions.
Recent advances in continuous flow manufacturing and automated synthesis platforms offer promising pathways to address these challenges. These approaches enable more precise control over reaction conditions and can significantly reduce batch-to-batch variability. Additionally, machine learning algorithms are increasingly being deployed to optimize manufacturing parameters and predict material properties, potentially reducing development cycles and improving yield consistency.
Industry-academic partnerships have emerged as a crucial mechanism for overcoming these scaling challenges. Collaborative research initiatives combining fundamental materials science with practical engineering expertise are making progress toward more scalable production methods. Several pilot plants are now operational, providing valuable data on the feasibility of larger-scale neuromorphic catalyst manufacturing and identifying specific process bottlenecks requiring further innovation.
Production consistency represents a primary concern, as neuromorphic materials often rely on precise atomic arrangements and specific surface properties to achieve their catalytic advantages. Minor variations in manufacturing conditions can lead to significant performance differences, making quality control exceptionally demanding. The sophisticated self-organizing properties that make these materials valuable also make them difficult to produce with consistent characteristics across large batches.
Cost factors present another substantial barrier to commercialization. The synthesis of neuromorphic catalysts frequently involves expensive precursors, specialized equipment, and energy-intensive processes. While these costs may be justified in high-value applications, they currently limit adoption in price-sensitive industrial sectors where traditional catalysts remain economically competitive despite lower efficiency.
Integration challenges with existing industrial infrastructure further complicate scaling efforts. Many current chemical production facilities are designed around conventional catalytic systems with established operating parameters. Retrofitting these facilities to accommodate neuromorphic catalysts may require significant capital investment and process redesign, creating resistance to adoption despite potential long-term benefits.
The environmental impact of manufacturing neuromorphic materials at scale also warrants careful consideration. Some synthesis routes involve hazardous reagents or generate significant waste streams. Developing greener manufacturing protocols represents both an ethical imperative and a practical necessity for regulatory compliance in many jurisdictions.
Recent advances in continuous flow manufacturing and automated synthesis platforms offer promising pathways to address these challenges. These approaches enable more precise control over reaction conditions and can significantly reduce batch-to-batch variability. Additionally, machine learning algorithms are increasingly being deployed to optimize manufacturing parameters and predict material properties, potentially reducing development cycles and improving yield consistency.
Industry-academic partnerships have emerged as a crucial mechanism for overcoming these scaling challenges. Collaborative research initiatives combining fundamental materials science with practical engineering expertise are making progress toward more scalable production methods. Several pilot plants are now operational, providing valuable data on the feasibility of larger-scale neuromorphic catalyst manufacturing and identifying specific process bottlenecks requiring further innovation.
Unlock deeper insights with Patsnap Eureka Quick Research — get a full tech report to explore trends and direct your research. Try now!
Generate Your Research Report Instantly with AI Agent
Supercharge your innovation with Patsnap Eureka AI Agent Platform!







