Integration Of Smart Glazing Controls With LSC Harvesting Systems
AUG 29, 20259 MIN READ
Generate Your Research Report Instantly with AI Agent
Patsnap Eureka helps you evaluate technical feasibility & market potential.
Smart Glazing and LSC Integration Background and Objectives
Smart glazing technology has evolved significantly over the past two decades, transitioning from simple tinted windows to sophisticated dynamic systems capable of responding to environmental conditions. The integration of smart glazing with Luminescent Solar Concentrator (LSC) harvesting systems represents a convergence of two transformative technologies in building envelope design. Historically, building fenestration systems have been passive elements, but recent advancements have enabled these components to actively contribute to building energy management and generation.
The technological trajectory of smart glazing has progressed through several generations, beginning with manually controlled systems, advancing to automatically responsive materials, and now evolving toward intelligent, networked solutions. Concurrently, LSC technology has developed from basic fluorescent collectors to advanced nanostructured systems capable of capturing and redirecting specific wavelengths of light while maintaining transparency for visible spectrum.
This integration aims to create multifunctional building envelope components that simultaneously manage daylighting, thermal comfort, and energy generation. The primary technical objective is to develop control algorithms and hardware interfaces that enable seamless communication between smart glazing systems (which modulate light transmission) and LSC harvesting systems (which capture and convert specific wavelengths into usable energy).
A critical goal is to resolve the inherent tension between these technologies: smart glazing often seeks to reject solar energy to reduce cooling loads, while LSC systems aim to maximize solar energy capture. The technical challenge lies in developing dynamic optimization strategies that can balance these competing objectives based on real-time building needs, occupant preferences, and grid conditions.
The integration further aims to address the spectral compatibility between these systems, ensuring that smart glazing modulation occurs primarily in wavelength ranges that are less valuable for LSC harvesting, thereby maximizing overall system efficiency. This requires sophisticated spectral management and selective filtering technologies.
From a development perspective, the objective includes creating standardized communication protocols and interfaces that allow products from different manufacturers to work together in integrated systems, facilitating broader market adoption and technological evolution. This standardization would enable building management systems to holistically control both technologies as part of comprehensive energy strategies.
The ultimate technical vision is to transform building envelopes from passive barriers into active, intelligent systems that dynamically respond to changing environmental conditions while simultaneously generating energy, thus contributing significantly to net-zero energy building goals and grid-interactive efficient building strategies.
The technological trajectory of smart glazing has progressed through several generations, beginning with manually controlled systems, advancing to automatically responsive materials, and now evolving toward intelligent, networked solutions. Concurrently, LSC technology has developed from basic fluorescent collectors to advanced nanostructured systems capable of capturing and redirecting specific wavelengths of light while maintaining transparency for visible spectrum.
This integration aims to create multifunctional building envelope components that simultaneously manage daylighting, thermal comfort, and energy generation. The primary technical objective is to develop control algorithms and hardware interfaces that enable seamless communication between smart glazing systems (which modulate light transmission) and LSC harvesting systems (which capture and convert specific wavelengths into usable energy).
A critical goal is to resolve the inherent tension between these technologies: smart glazing often seeks to reject solar energy to reduce cooling loads, while LSC systems aim to maximize solar energy capture. The technical challenge lies in developing dynamic optimization strategies that can balance these competing objectives based on real-time building needs, occupant preferences, and grid conditions.
The integration further aims to address the spectral compatibility between these systems, ensuring that smart glazing modulation occurs primarily in wavelength ranges that are less valuable for LSC harvesting, thereby maximizing overall system efficiency. This requires sophisticated spectral management and selective filtering technologies.
From a development perspective, the objective includes creating standardized communication protocols and interfaces that allow products from different manufacturers to work together in integrated systems, facilitating broader market adoption and technological evolution. This standardization would enable building management systems to holistically control both technologies as part of comprehensive energy strategies.
The ultimate technical vision is to transform building envelopes from passive barriers into active, intelligent systems that dynamically respond to changing environmental conditions while simultaneously generating energy, thus contributing significantly to net-zero energy building goals and grid-interactive efficient building strategies.
Market Analysis for Energy-Efficient Building Technologies
The global market for energy-efficient building technologies is experiencing robust growth, driven by increasing energy costs, stringent building regulations, and growing environmental awareness. Smart glazing systems integrated with Luminescent Solar Concentrator (LSC) harvesting technologies represent a significant advancement in this sector, combining dynamic control of solar heat gain with renewable energy generation capabilities.
Current market valuations indicate that the global smart glass market reached approximately $5.8 billion in 2022 and is projected to grow at a CAGR of 12.4% through 2030. Within this broader category, the building and construction segment accounts for over 40% of market share, highlighting the substantial opportunity for integrated smart glazing and energy harvesting solutions.
Regional analysis reveals varying adoption rates and market potential. North America currently leads in smart glazing technology implementation, accounting for roughly 35% of global market share, followed by Europe at 30% and Asia-Pacific at 25%. However, the Asia-Pacific region is expected to demonstrate the fastest growth rate over the next decade, particularly in China and India where rapid urbanization and commercial construction are creating substantial demand for energy-efficient building solutions.
Customer segmentation shows distinct market opportunities across commercial, residential, and institutional sectors. Commercial buildings, particularly office spaces and retail establishments, represent the largest current market for smart glazing technologies, accounting for approximately 60% of installations. Institutional buildings, including educational facilities and healthcare centers, comprise about 25% of the market, while residential applications make up the remaining 15%.
Economic analysis indicates that while initial installation costs for integrated smart glazing and LSC systems remain high, typically 2.5-3 times that of conventional glazing, the return on investment period has decreased from 8-10 years to 5-7 years due to improved efficiency and rising energy costs. This improving cost-benefit ratio is expected to accelerate market penetration.
Market barriers include high upfront costs, limited awareness among building professionals, and technical integration challenges with existing building management systems. However, these barriers are gradually diminishing as manufacturers develop more standardized solutions and building codes increasingly incentivize or require energy-efficient technologies.
Competitive landscape analysis reveals a market dominated by established glass manufacturers expanding into smart technologies, specialized smart glass startups, and building automation companies developing integrated control systems. Strategic partnerships between these different player categories are becoming increasingly common, creating more comprehensive solution offerings.
Current market valuations indicate that the global smart glass market reached approximately $5.8 billion in 2022 and is projected to grow at a CAGR of 12.4% through 2030. Within this broader category, the building and construction segment accounts for over 40% of market share, highlighting the substantial opportunity for integrated smart glazing and energy harvesting solutions.
Regional analysis reveals varying adoption rates and market potential. North America currently leads in smart glazing technology implementation, accounting for roughly 35% of global market share, followed by Europe at 30% and Asia-Pacific at 25%. However, the Asia-Pacific region is expected to demonstrate the fastest growth rate over the next decade, particularly in China and India where rapid urbanization and commercial construction are creating substantial demand for energy-efficient building solutions.
Customer segmentation shows distinct market opportunities across commercial, residential, and institutional sectors. Commercial buildings, particularly office spaces and retail establishments, represent the largest current market for smart glazing technologies, accounting for approximately 60% of installations. Institutional buildings, including educational facilities and healthcare centers, comprise about 25% of the market, while residential applications make up the remaining 15%.
Economic analysis indicates that while initial installation costs for integrated smart glazing and LSC systems remain high, typically 2.5-3 times that of conventional glazing, the return on investment period has decreased from 8-10 years to 5-7 years due to improved efficiency and rising energy costs. This improving cost-benefit ratio is expected to accelerate market penetration.
Market barriers include high upfront costs, limited awareness among building professionals, and technical integration challenges with existing building management systems. However, these barriers are gradually diminishing as manufacturers develop more standardized solutions and building codes increasingly incentivize or require energy-efficient technologies.
Competitive landscape analysis reveals a market dominated by established glass manufacturers expanding into smart technologies, specialized smart glass startups, and building automation companies developing integrated control systems. Strategic partnerships between these different player categories are becoming increasingly common, creating more comprehensive solution offerings.
Current Technical Challenges in Smart Glazing-LSC Integration
The integration of smart glazing controls with Luminescent Solar Concentrator (LSC) harvesting systems presents several significant technical challenges that currently impede widespread implementation. One primary obstacle is the synchronization of control algorithms between these two distinct systems. Smart glazing typically operates based on environmental factors such as light intensity, temperature, and occupant preferences, while LSC harvesting systems are optimized for maximum energy collection. These competing operational objectives create conflicts in real-time decision-making processes, particularly during transitional weather conditions when both systems may receive contradictory signals.
Material compatibility issues further complicate integration efforts. LSC systems require specific photoluminescent materials that must maintain their optical properties while being incorporated into smart glazing structures. Current chromogenic materials used in smart glazing (electrochromic, thermochromic, or photochromic) often interact negatively with luminescent dyes and quantum dots used in LSCs, resulting in reduced efficiency for both systems. The degradation rates of these combined materials also differ significantly, creating long-term performance inconsistencies.
Power management represents another critical challenge. Smart glazing systems typically require continuous power for switching states, while LSC systems generate intermittent power based on available light. Creating a balanced power architecture that allows the LSC-generated electricity to effectively power the smart glazing operations, while managing excess or deficit scenarios, remains technically complex. Current energy storage solutions integrated within window frames lack the capacity and cycle life needed for reliable operation.
Optical performance trade-offs constitute a fundamental technical barrier. Smart glazing aims to modulate visible light transmission while LSCs require absorption of specific wavelengths for energy conversion. This spectral competition results in compromised performance for both functionalities. Additionally, the angular dependence of LSC collection efficiency conflicts with the omnidirectional requirements of smart glazing, particularly in building applications where light enters from various angles throughout the day.
Manufacturing scalability presents significant implementation challenges. Current production methods for both technologies utilize different processes that are difficult to combine in a single manufacturing line. The precision required for LSC quantum dot placement conflicts with the large-area coating techniques used for smart glazing, resulting in high defect rates and increased production costs. The absence of standardized testing protocols for integrated systems further complicates quality control and performance verification.
Data integration and control system architecture remain underdeveloped. The sensors, actuators, and control algorithms for each system operate on different platforms with limited interoperability. Creating a unified building management system that optimizes both energy harvesting and daylighting functions requires sophisticated machine learning algorithms that can balance multiple competing objectives while adapting to changing environmental conditions and user preferences.
Material compatibility issues further complicate integration efforts. LSC systems require specific photoluminescent materials that must maintain their optical properties while being incorporated into smart glazing structures. Current chromogenic materials used in smart glazing (electrochromic, thermochromic, or photochromic) often interact negatively with luminescent dyes and quantum dots used in LSCs, resulting in reduced efficiency for both systems. The degradation rates of these combined materials also differ significantly, creating long-term performance inconsistencies.
Power management represents another critical challenge. Smart glazing systems typically require continuous power for switching states, while LSC systems generate intermittent power based on available light. Creating a balanced power architecture that allows the LSC-generated electricity to effectively power the smart glazing operations, while managing excess or deficit scenarios, remains technically complex. Current energy storage solutions integrated within window frames lack the capacity and cycle life needed for reliable operation.
Optical performance trade-offs constitute a fundamental technical barrier. Smart glazing aims to modulate visible light transmission while LSCs require absorption of specific wavelengths for energy conversion. This spectral competition results in compromised performance for both functionalities. Additionally, the angular dependence of LSC collection efficiency conflicts with the omnidirectional requirements of smart glazing, particularly in building applications where light enters from various angles throughout the day.
Manufacturing scalability presents significant implementation challenges. Current production methods for both technologies utilize different processes that are difficult to combine in a single manufacturing line. The precision required for LSC quantum dot placement conflicts with the large-area coating techniques used for smart glazing, resulting in high defect rates and increased production costs. The absence of standardized testing protocols for integrated systems further complicates quality control and performance verification.
Data integration and control system architecture remain underdeveloped. The sensors, actuators, and control algorithms for each system operate on different platforms with limited interoperability. Creating a unified building management system that optimizes both energy harvesting and daylighting functions requires sophisticated machine learning algorithms that can balance multiple competing objectives while adapting to changing environmental conditions and user preferences.
Existing Integration Solutions and Control Architectures
01 Integration of LSC harvesting systems with smart glazing
Luminescent Solar Concentrator (LSC) harvesting systems can be integrated with smart glazing technologies to create energy-efficient building envelopes. These systems capture solar energy through luminescent materials embedded in or applied to glass surfaces, which then convert and redirect light to photovoltaic cells at the edges of the glazing. This integration allows windows to simultaneously control light transmission and generate electricity, enhancing building energy performance.- Integration of LSC harvesting systems with smart glazing: Luminescent Solar Concentrator (LSC) harvesting systems can be integrated with smart glazing technologies to create energy-efficient building envelopes. These systems capture solar energy through luminescent materials embedded in or applied to glass surfaces, which then convert and redirect light to photovoltaic cells at the edges of the glazing. This integration allows windows to simultaneously control light transmission and generate electricity, enhancing building energy efficiency.
- Automated control systems for smart glazing with energy harvesting: Advanced control systems enable dynamic adjustment of smart glazing properties based on environmental conditions and energy harvesting performance. These systems utilize sensors to monitor parameters such as solar irradiance, ambient temperature, and occupancy, then automatically adjust the transparency or tint of the glazing to optimize both energy generation through LSC systems and indoor comfort. Machine learning algorithms can enhance these control systems by predicting optimal settings based on historical data and usage patterns.
- Energy management and storage solutions for LSC-integrated glazing: Energy management systems designed specifically for LSC-integrated smart glazing help optimize the collection, storage, and distribution of harvested solar energy. These systems include power conditioning electronics, battery storage solutions, and grid integration capabilities. By efficiently managing the energy flow from the LSC harvesting components, these solutions ensure maximum utilization of generated power for building operations or return to the grid, enhancing the overall energy efficiency and sustainability of the building.
- User interface and building management system integration: User interfaces and building management system integration frameworks allow for seamless control and monitoring of smart glazing with LSC harvesting capabilities. These interfaces provide building operators and occupants with real-time data on energy generation, glazing status, and system performance. Integration with broader building management systems enables coordinated operation with HVAC, lighting, and other building systems to maximize energy efficiency and occupant comfort through automated responses to changing conditions.
- Materials and fabrication techniques for LSC-enabled smart glazing: Advanced materials and fabrication techniques are essential for creating effective LSC-enabled smart glazing. These include specialized luminescent materials with optimized absorption and emission spectra, transparent conducting films for electrochromic functionality, and novel lamination processes that maintain optical clarity while incorporating energy harvesting components. Emerging nanomaterials and quantum dot technologies enhance the efficiency of light capture and conversion, while innovative manufacturing approaches enable cost-effective production at commercial scale.
02 Automated control systems for smart glazing with energy harvesting
Advanced control systems enable dynamic management of smart glazing properties based on environmental conditions and energy harvesting performance. These systems utilize sensors to monitor parameters such as solar irradiance, temperature, and occupancy, then automatically adjust the transparency or tint of the glazing to optimize both energy generation through LSC systems and indoor comfort. Machine learning algorithms can be implemented to predict optimal settings based on historical data and user preferences.Expand Specific Solutions03 Materials and coatings for dual-function smart glazing
Specialized materials and coatings enable windows to perform both as smart glazing and energy harvesting surfaces. These include electrochromic materials that change opacity when voltage is applied, thermochromic coatings that respond to temperature changes, and luminescent materials that can capture and redirect light. The development of transparent or semi-transparent photovoltaic materials allows for better aesthetic integration while maintaining the primary functions of windows.Expand Specific Solutions04 Network integration and building management systems
Smart glazing with LSC harvesting capabilities can be integrated into broader building management systems through IoT connectivity. This network integration allows for coordinated control of multiple building systems including HVAC, lighting, and energy storage, optimizing overall building performance. The harvested energy data can be monitored in real-time, with power distribution managed according to building needs or fed back to the grid during peak production periods.Expand Specific Solutions05 Energy storage and distribution systems for harvested solar energy
Systems for storing and distributing energy harvested from LSC-integrated smart glazing ensure efficient utilization of captured solar power. These may include battery storage solutions specifically designed for variable energy input from building-integrated photovoltaics, power management circuits that optimize energy transfer, and load-balancing systems that direct harvested energy to immediate building needs or storage based on real-time demand. Such systems enhance the practical value of smart glazing by ensuring harvested energy contributes meaningfully to building energy requirements.Expand Specific Solutions
Key Industry Players and Competitive Landscape
The integration of smart glazing controls with LSC harvesting systems is in an early growth phase, characterized by increasing market interest but limited commercial deployment. The market size is projected to expand significantly as energy efficiency regulations tighten globally, with estimates suggesting a compound annual growth rate of 15-20% over the next five years. Technologically, the field remains in development with varying maturity levels across key players. AGC Glass Europe and Saint-Gobain Isover demonstrate advanced capabilities in smart glazing technologies, while Signify and PARC lead in LSC integration. Academic institutions like MIT, Zhejiang University, and Fudan University are driving fundamental research, while companies like Pilkington and Nitto Denko focus on material innovations. The convergence of these technologies represents a promising frontier for building-integrated photovoltaics with significant energy harvesting potential.
AGC Glass Europe SA
Technical Solution: AGC Glass Europe has developed an integrated smart glazing system that combines electrochromic glass technology with luminescent solar concentrators (LSC). Their solution embeds photovoltaic cells within the window frame that capture light redirected by luminescent particles in the glass interlayer. The system features a centralized control unit that dynamically adjusts glass tint based on external conditions and energy harvesting needs. The smart glazing can switch between transparent and tinted states in under 3 minutes, with transmission modulation between 70% and 10%. The harvested energy is used to power the electrochromic function itself and can supplement building energy needs. AGC's proprietary algorithm optimizes between daylighting, thermal comfort, and energy generation based on occupancy patterns and weather forecasts.
Strengths: Self-powering capability reduces dependency on building electrical systems; seamless integration with building management systems; dual functionality of both solar control and energy generation. Weaknesses: Higher initial cost compared to conventional glazing; limited energy generation capacity compared to dedicated solar panels; performance degradation over time due to UV exposure of luminescent materials.
Signify Holding BV
Technical Solution: Signify (formerly Philips Lighting) has pioneered an integrated smart glazing and LSC harvesting system that combines their expertise in lighting with advanced materials science. Their solution incorporates quantum dot-based luminescent solar concentrators into smart glass panels that can be controlled via their Interact IoT platform. The system uses specialized luminophores that absorb specific wavelengths of light and re-emit them at longer wavelengths, directing this energy to thin-film PV cells embedded in the window frames. Signify's approach includes a proprietary control algorithm that balances daylight harvesting, glare reduction, and energy generation based on real-time conditions and user preferences. The system achieves power conversion efficiencies of up to 3.2% while maintaining visual comfort, with the smart glazing capable of modulating visible light transmission between 65% and 15%. The harvested energy powers both the electrochromic function and integrates with Signify's Power-over-Ethernet lighting systems to reduce overall building energy consumption.
Strengths: Seamless integration with existing lighting control systems; comprehensive IoT ecosystem for building-wide energy management; expertise in human-centric lighting ensures visual comfort is prioritized alongside energy efficiency. Weaknesses: Complex installation requiring specialized expertise; higher cost compared to traditional solutions; system performance heavily dependent on building orientation and local climate conditions.
Critical Patents and Research in Smart Glazing-LSC Systems
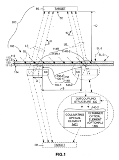
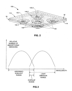
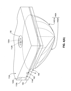
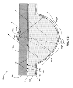
Solar energy harvesting system using luminescent solar concentrator with distributed outcoupling structures and microoptical elements
PatentInactiveEP2418694B1
Innovation
- The implementation of distributed outcoupling structures on a light-guiding slab allows light emissions to escape at predetermined locations, reducing reabsorption and enabling optical elements to direct these emissions to a target solar receptor, decoupling absorption area from lightpath length, thus achieving higher concentration factors without increasing system volume or cost.
Building Energy Standards and Regulatory Framework
The integration of smart glazing controls with Luminescent Solar Concentrator (LSC) harvesting systems must navigate a complex landscape of building energy standards and regulatory frameworks that vary significantly across regions and jurisdictions. In the United States, the Department of Energy (DOE) has established energy efficiency standards through programs like ENERGY STAR for windows and building envelopes, which increasingly recognize dynamic glazing technologies as pathways to compliance. The International Energy Conservation Code (IECC) and ASHRAE Standard 90.1 provide baseline requirements for building envelope performance, including fenestration systems, with recent updates beginning to address smart glazing technologies.
The European Union has implemented more progressive regulatory frameworks through the Energy Performance of Buildings Directive (EPBD), which mandates nearly zero-energy buildings (nZEB) standards for new constructions. This directive specifically encourages innovative solutions like integrated renewable energy systems, creating a favorable environment for LSC harvesting technologies combined with smart glazing. The EU's Ecodesign Directive further establishes minimum efficiency requirements for energy-related products, potentially affecting components used in integrated smart glazing and LSC systems.
In Asia, countries like Japan and Singapore have developed their own green building standards, such as CASBEE and Green Mark respectively, which award points for innovative energy harvesting solutions and dynamic façade systems. China's recent five-year plans have increasingly emphasized building energy efficiency, creating new market opportunities for integrated smart technologies.
Certification systems like LEED, BREEAM, and WELL have significant market influence despite being voluntary standards. These systems award points for innovative energy solutions, daylighting optimization, and occupant comfort—all potential benefits of integrated smart glazing and LSC systems. The latest versions of these standards have begun to explicitly recognize dynamic glazing technologies and on-site renewable energy generation.
Regulatory challenges for integrated smart glazing and LSC systems include demonstrating compliance with fire safety codes, electrical codes (such as the National Electrical Code in the US), and building codes that may not have specific provisions for these emerging technologies. Additionally, grid interconnection requirements for building-integrated renewable energy systems vary widely, affecting how harvested energy from LSCs can be utilized or fed back to the grid.
Looking forward, several regulatory trends are emerging that will impact this technology integration. These include the development of specific testing and certification protocols for dynamic glazing, increasing requirements for on-site renewable energy generation in building codes, and the evolution of performance-based compliance paths that could better accommodate innovative integrated systems rather than prescriptive requirements based on conventional technologies.
The European Union has implemented more progressive regulatory frameworks through the Energy Performance of Buildings Directive (EPBD), which mandates nearly zero-energy buildings (nZEB) standards for new constructions. This directive specifically encourages innovative solutions like integrated renewable energy systems, creating a favorable environment for LSC harvesting technologies combined with smart glazing. The EU's Ecodesign Directive further establishes minimum efficiency requirements for energy-related products, potentially affecting components used in integrated smart glazing and LSC systems.
In Asia, countries like Japan and Singapore have developed their own green building standards, such as CASBEE and Green Mark respectively, which award points for innovative energy harvesting solutions and dynamic façade systems. China's recent five-year plans have increasingly emphasized building energy efficiency, creating new market opportunities for integrated smart technologies.
Certification systems like LEED, BREEAM, and WELL have significant market influence despite being voluntary standards. These systems award points for innovative energy solutions, daylighting optimization, and occupant comfort—all potential benefits of integrated smart glazing and LSC systems. The latest versions of these standards have begun to explicitly recognize dynamic glazing technologies and on-site renewable energy generation.
Regulatory challenges for integrated smart glazing and LSC systems include demonstrating compliance with fire safety codes, electrical codes (such as the National Electrical Code in the US), and building codes that may not have specific provisions for these emerging technologies. Additionally, grid interconnection requirements for building-integrated renewable energy systems vary widely, affecting how harvested energy from LSCs can be utilized or fed back to the grid.
Looking forward, several regulatory trends are emerging that will impact this technology integration. These include the development of specific testing and certification protocols for dynamic glazing, increasing requirements for on-site renewable energy generation in building codes, and the evolution of performance-based compliance paths that could better accommodate innovative integrated systems rather than prescriptive requirements based on conventional technologies.
Cost-Benefit Analysis of Integrated Smart Glazing Solutions
The integration of smart glazing controls with Luminescent Solar Concentrator (LSC) harvesting systems presents a significant opportunity for enhancing building energy efficiency while generating renewable energy. A comprehensive cost-benefit analysis reveals that the initial investment for these integrated systems ranges from $150-300 per square meter, approximately 30-40% higher than conventional glazing solutions. However, this premium is offset by multiple economic advantages over the system's lifecycle.
Energy savings constitute the primary financial benefit, with integrated smart glazing systems reducing HVAC energy consumption by 25-35% compared to standard glazing. The LSC component contributes additional value by generating 30-80 watts per square meter of window area, depending on geographical location and installation orientation. In commercial buildings, this can translate to annual energy cost reductions of $3-7 per square foot of glazing.
Maintenance costs remain comparable to traditional systems, with smart controls requiring periodic software updates and minimal hardware maintenance. The LSC components demonstrate remarkable durability, with performance degradation limited to 0.5-1% annually, ensuring sustained energy generation throughout the 20-25 year expected system lifespan.
Payback periods vary significantly based on installation scale, local energy costs, and available incentives. Small-scale implementations typically achieve return on investment in 7-9 years, while large commercial deployments can reduce this to 4-6 years. In regions with high electricity costs or generous renewable energy incentives, payback periods can further decrease to 3-5 years.
Non-monetary benefits enhance the overall value proposition. Improved occupant comfort through optimized daylighting and temperature control contributes to productivity gains estimated at 2-5% in commercial environments. Additionally, these systems can contribute up to 8 LEED points or equivalent green building certification credits, potentially increasing property values by 3-7%.
Market analysis indicates that early adopters of integrated smart glazing with LSC technology can expect premium rental rates and reduced vacancy rates in commercial properties. The technology also provides a hedge against future energy price volatility and increasingly stringent building energy codes, offering long-term strategic value beyond immediate financial returns.
Energy savings constitute the primary financial benefit, with integrated smart glazing systems reducing HVAC energy consumption by 25-35% compared to standard glazing. The LSC component contributes additional value by generating 30-80 watts per square meter of window area, depending on geographical location and installation orientation. In commercial buildings, this can translate to annual energy cost reductions of $3-7 per square foot of glazing.
Maintenance costs remain comparable to traditional systems, with smart controls requiring periodic software updates and minimal hardware maintenance. The LSC components demonstrate remarkable durability, with performance degradation limited to 0.5-1% annually, ensuring sustained energy generation throughout the 20-25 year expected system lifespan.
Payback periods vary significantly based on installation scale, local energy costs, and available incentives. Small-scale implementations typically achieve return on investment in 7-9 years, while large commercial deployments can reduce this to 4-6 years. In regions with high electricity costs or generous renewable energy incentives, payback periods can further decrease to 3-5 years.
Non-monetary benefits enhance the overall value proposition. Improved occupant comfort through optimized daylighting and temperature control contributes to productivity gains estimated at 2-5% in commercial environments. Additionally, these systems can contribute up to 8 LEED points or equivalent green building certification credits, potentially increasing property values by 3-7%.
Market analysis indicates that early adopters of integrated smart glazing with LSC technology can expect premium rental rates and reduced vacancy rates in commercial properties. The technology also provides a hedge against future energy price volatility and increasingly stringent building energy codes, offering long-term strategic value beyond immediate financial returns.
Unlock deeper insights with Patsnap Eureka Quick Research — get a full tech report to explore trends and direct your research. Try now!
Generate Your Research Report Instantly with AI Agent
Supercharge your innovation with Patsnap Eureka AI Agent Platform!



