Performance Monitoring And Remote Diagnostics For Building LSCs
AUG 29, 20259 MIN READ
Generate Your Research Report Instantly with AI Agent
Patsnap Eureka helps you evaluate technical feasibility & market potential.
LSC Performance Monitoring Background and Objectives
Luminescent Solar Concentrators (LSCs) have emerged as a promising technology in the field of building-integrated photovoltaics (BIPV) over the past two decades. These devices capture and concentrate solar radiation through luminescent materials embedded in transparent panels, redirecting light to photovoltaic cells positioned at the edges. The evolution of LSC technology has progressed from simple dye-based systems to sophisticated quantum dot and rare-earth material implementations, significantly improving efficiency and durability parameters.
The primary objective of performance monitoring and remote diagnostics for building LSCs is to establish comprehensive real-time assessment frameworks that optimize energy generation while minimizing maintenance costs. This involves developing sensor networks capable of continuously evaluating critical parameters including light conversion efficiency, thermal performance, and degradation rates under varying environmental conditions. Such monitoring systems aim to extend the operational lifespan of LSC installations while maximizing their contribution to building energy profiles.
Current technological trends indicate a shift toward integrated monitoring solutions that combine optical, thermal, and electrical sensors with advanced data analytics platforms. These systems enable predictive maintenance protocols and performance optimization through machine learning algorithms that adapt to seasonal variations and building-specific conditions. The integration of Internet of Things (IoT) capabilities further enhances remote monitoring possibilities, allowing for centralized management of distributed LSC installations across multiple building sites.
Industry forecasts suggest that effective performance monitoring will be crucial for the widespread adoption of LSC technology in commercial and residential buildings. As LSC efficiency continues to improve, the ability to accurately measure and verify performance metrics becomes increasingly important for stakeholders including building owners, energy service companies, and regulatory bodies. Performance data serves as the foundation for financial models that justify LSC investments based on energy savings and carbon reduction potential.
Technical objectives for next-generation LSC monitoring systems include developing non-invasive optical measurement techniques that can assess luminescent quantum yield in situ, implementing distributed temperature sensing to map thermal gradients across large-scale installations, and creating standardized performance metrics that facilitate comparison between different LSC technologies and conventional photovoltaic systems. Additionally, there is growing interest in developing self-diagnostic capabilities that can identify performance anomalies before they lead to significant efficiency losses.
The convergence of advanced sensing technologies, wireless communication protocols, and cloud-based analytics platforms presents unprecedented opportunities for comprehensive LSC performance monitoring. These developments align with broader trends in smart building management systems, potentially positioning LSCs as integral components in the emerging ecosystem of responsive, energy-efficient building envelopes.
The primary objective of performance monitoring and remote diagnostics for building LSCs is to establish comprehensive real-time assessment frameworks that optimize energy generation while minimizing maintenance costs. This involves developing sensor networks capable of continuously evaluating critical parameters including light conversion efficiency, thermal performance, and degradation rates under varying environmental conditions. Such monitoring systems aim to extend the operational lifespan of LSC installations while maximizing their contribution to building energy profiles.
Current technological trends indicate a shift toward integrated monitoring solutions that combine optical, thermal, and electrical sensors with advanced data analytics platforms. These systems enable predictive maintenance protocols and performance optimization through machine learning algorithms that adapt to seasonal variations and building-specific conditions. The integration of Internet of Things (IoT) capabilities further enhances remote monitoring possibilities, allowing for centralized management of distributed LSC installations across multiple building sites.
Industry forecasts suggest that effective performance monitoring will be crucial for the widespread adoption of LSC technology in commercial and residential buildings. As LSC efficiency continues to improve, the ability to accurately measure and verify performance metrics becomes increasingly important for stakeholders including building owners, energy service companies, and regulatory bodies. Performance data serves as the foundation for financial models that justify LSC investments based on energy savings and carbon reduction potential.
Technical objectives for next-generation LSC monitoring systems include developing non-invasive optical measurement techniques that can assess luminescent quantum yield in situ, implementing distributed temperature sensing to map thermal gradients across large-scale installations, and creating standardized performance metrics that facilitate comparison between different LSC technologies and conventional photovoltaic systems. Additionally, there is growing interest in developing self-diagnostic capabilities that can identify performance anomalies before they lead to significant efficiency losses.
The convergence of advanced sensing technologies, wireless communication protocols, and cloud-based analytics platforms presents unprecedented opportunities for comprehensive LSC performance monitoring. These developments align with broader trends in smart building management systems, potentially positioning LSCs as integral components in the emerging ecosystem of responsive, energy-efficient building envelopes.
Market Analysis for Building LSC Monitoring Solutions
The global market for Building Life Safety Components (LSCs) monitoring solutions is experiencing robust growth, driven by increasing regulatory requirements and heightened awareness of safety concerns in commercial and residential buildings. Current market valuations indicate that the global building automation and control systems market, which encompasses LSC monitoring, reached approximately 101 billion USD in 2023 and is projected to grow at a compound annual growth rate of 9.8% through 2030.
The demand for advanced performance monitoring and remote diagnostic solutions for LSCs is particularly strong in developed regions such as North America and Europe, where stringent building codes and safety regulations necessitate sophisticated monitoring systems. The Asia-Pacific region represents the fastest-growing market segment, with rapid urbanization and increasing adoption of smart building technologies driving demand.
Key market drivers include the growing implementation of IoT and cloud-based technologies in building management systems, which enable real-time monitoring and predictive maintenance of critical safety components. The integration of artificial intelligence and machine learning algorithms for anomaly detection and performance optimization is creating significant value propositions for building owners and facility managers.
Customer segments in this market include commercial building owners, facility management companies, safety compliance officers, and insurance providers. Each segment has distinct requirements and pain points. Commercial building owners primarily seek cost-effective solutions that ensure compliance while minimizing operational disruptions. Facility managers require intuitive interfaces and actionable insights to manage multiple building systems efficiently. Safety compliance officers need comprehensive reporting capabilities and audit trails, while insurance providers value risk mitigation features and data-driven insights.
Market research indicates that end-users are increasingly prioritizing solutions that offer remote diagnostics capabilities, allowing for proactive maintenance and reducing the need for on-site inspections. This trend has been accelerated by the global pandemic, which highlighted the importance of remote monitoring capabilities.
Competitive analysis reveals a fragmented market landscape with several specialized providers and larger building automation companies expanding their offerings in this space. Market differentiation is primarily based on integration capabilities, analytics sophistication, user interface design, and service support models. Pricing models vary from traditional capital expenditure approaches to subscription-based services, with the latter gaining popularity due to lower initial investment requirements and continuous updates.
Future market growth is expected to be driven by regulatory developments, technological advancements in sensor technologies, and increasing adoption of predictive maintenance approaches. The convergence of building safety systems with broader smart building initiatives presents significant opportunities for solution providers who can deliver integrated, scalable platforms.
The demand for advanced performance monitoring and remote diagnostic solutions for LSCs is particularly strong in developed regions such as North America and Europe, where stringent building codes and safety regulations necessitate sophisticated monitoring systems. The Asia-Pacific region represents the fastest-growing market segment, with rapid urbanization and increasing adoption of smart building technologies driving demand.
Key market drivers include the growing implementation of IoT and cloud-based technologies in building management systems, which enable real-time monitoring and predictive maintenance of critical safety components. The integration of artificial intelligence and machine learning algorithms for anomaly detection and performance optimization is creating significant value propositions for building owners and facility managers.
Customer segments in this market include commercial building owners, facility management companies, safety compliance officers, and insurance providers. Each segment has distinct requirements and pain points. Commercial building owners primarily seek cost-effective solutions that ensure compliance while minimizing operational disruptions. Facility managers require intuitive interfaces and actionable insights to manage multiple building systems efficiently. Safety compliance officers need comprehensive reporting capabilities and audit trails, while insurance providers value risk mitigation features and data-driven insights.
Market research indicates that end-users are increasingly prioritizing solutions that offer remote diagnostics capabilities, allowing for proactive maintenance and reducing the need for on-site inspections. This trend has been accelerated by the global pandemic, which highlighted the importance of remote monitoring capabilities.
Competitive analysis reveals a fragmented market landscape with several specialized providers and larger building automation companies expanding their offerings in this space. Market differentiation is primarily based on integration capabilities, analytics sophistication, user interface design, and service support models. Pricing models vary from traditional capital expenditure approaches to subscription-based services, with the latter gaining popularity due to lower initial investment requirements and continuous updates.
Future market growth is expected to be driven by regulatory developments, technological advancements in sensor technologies, and increasing adoption of predictive maintenance approaches. The convergence of building safety systems with broader smart building initiatives presents significant opportunities for solution providers who can deliver integrated, scalable platforms.
Technical Challenges in LSC Remote Diagnostics
Remote diagnostics for Building Lighting and Control Systems (LSCs) faces several significant technical challenges that impede widespread implementation and effectiveness. The primary obstacle remains the heterogeneous nature of building systems, where multiple vendors, protocols, and technologies coexist without standardized interfaces. This fragmentation creates substantial integration difficulties when attempting to establish comprehensive monitoring solutions across diverse equipment.
Connectivity issues represent another major challenge, particularly in existing buildings with limited network infrastructure. Many LSC components operate on closed proprietary networks or have insufficient bandwidth for continuous data transmission. The intermittent connectivity in certain building areas further complicates reliable data collection and real-time monitoring capabilities.
Data security and privacy concerns pose increasingly critical challenges as remote diagnostics systems require access to sensitive building operational data. The potential vulnerability to cyber attacks grows as more systems become connected, creating resistance from facility managers concerned about exposing critical infrastructure to external networks. Implementing robust encryption and access controls adds complexity and cost to diagnostic solutions.
The volume and complexity of data generated by modern LSCs present significant analytical challenges. Building systems produce heterogeneous data streams with varying formats, sampling rates, and quality levels. Extracting meaningful insights requires sophisticated algorithms capable of handling this complexity while identifying patterns indicative of performance issues or impending failures.
Power constraints affect the deployment of sensors and monitoring devices, particularly in retrofit applications where running additional power lines is impractical. Battery-powered wireless sensors offer flexibility but introduce maintenance requirements and reliability concerns for long-term monitoring applications.
Scalability challenges emerge when expanding from single-building to portfolio-wide implementations. Solutions that work effectively for individual facilities often encounter performance limitations when scaled to monitor hundreds or thousands of buildings simultaneously, requiring robust cloud infrastructure and efficient data processing pipelines.
Interpretation complexity represents a significant barrier, as correlating system performance data with actual building conditions requires contextual understanding that current algorithms struggle to achieve. Environmental factors, occupancy patterns, and seasonal variations all influence system behavior in ways that can be difficult to model accurately.
Finally, the cost-benefit equation remains challenging for many building owners. The investment required for comprehensive remote diagnostic capabilities must be justified by demonstrable operational savings or performance improvements, which can be difficult to quantify precisely in advance of implementation.
Connectivity issues represent another major challenge, particularly in existing buildings with limited network infrastructure. Many LSC components operate on closed proprietary networks or have insufficient bandwidth for continuous data transmission. The intermittent connectivity in certain building areas further complicates reliable data collection and real-time monitoring capabilities.
Data security and privacy concerns pose increasingly critical challenges as remote diagnostics systems require access to sensitive building operational data. The potential vulnerability to cyber attacks grows as more systems become connected, creating resistance from facility managers concerned about exposing critical infrastructure to external networks. Implementing robust encryption and access controls adds complexity and cost to diagnostic solutions.
The volume and complexity of data generated by modern LSCs present significant analytical challenges. Building systems produce heterogeneous data streams with varying formats, sampling rates, and quality levels. Extracting meaningful insights requires sophisticated algorithms capable of handling this complexity while identifying patterns indicative of performance issues or impending failures.
Power constraints affect the deployment of sensors and monitoring devices, particularly in retrofit applications where running additional power lines is impractical. Battery-powered wireless sensors offer flexibility but introduce maintenance requirements and reliability concerns for long-term monitoring applications.
Scalability challenges emerge when expanding from single-building to portfolio-wide implementations. Solutions that work effectively for individual facilities often encounter performance limitations when scaled to monitor hundreds or thousands of buildings simultaneously, requiring robust cloud infrastructure and efficient data processing pipelines.
Interpretation complexity represents a significant barrier, as correlating system performance data with actual building conditions requires contextual understanding that current algorithms struggle to achieve. Environmental factors, occupancy patterns, and seasonal variations all influence system behavior in ways that can be difficult to model accurately.
Finally, the cost-benefit equation remains challenging for many building owners. The investment required for comprehensive remote diagnostic capabilities must be justified by demonstrable operational savings or performance improvements, which can be difficult to quantify precisely in advance of implementation.
Current Remote Monitoring Solutions for Building LSCs
01 Remote monitoring systems for life safety components
Remote monitoring systems enable continuous surveillance of life safety components (LSCs) from centralized locations. These systems collect real-time data on component status, performance metrics, and operational parameters. By implementing remote monitoring, facility managers can quickly identify potential issues, reduce response times, and ensure LSCs function properly without requiring physical inspection. These systems typically include sensors, data transmission networks, and monitoring software that provide alerts when parameters deviate from normal ranges.- Remote monitoring systems for life safety components: Remote monitoring systems enable continuous surveillance of life safety components (LSCs) from a distance. These systems collect real-time data from various safety devices and transmit it to monitoring centers where it can be analyzed for potential issues. The remote monitoring capability allows for immediate detection of malfunctions or failures in critical safety equipment, enabling prompt response to prevent hazardous situations. These systems typically include sensors, data transmission networks, and centralized monitoring software.
- Diagnostic techniques for LSC performance assessment: Advanced diagnostic techniques are employed to assess the performance of life safety components. These techniques involve analyzing operational data to identify patterns indicative of potential failures or degradation in performance. Diagnostic algorithms can detect anomalies in system behavior, predict maintenance needs, and evaluate the overall health of safety components. By implementing these diagnostic techniques, maintenance can be scheduled proactively rather than reactively, ensuring that life safety systems remain in optimal working condition at all times.
- Integration of LSCs with building management systems: Life safety components can be integrated with broader building management systems to create a comprehensive safety infrastructure. This integration allows for centralized control and monitoring of various safety systems including fire alarms, emergency lighting, ventilation systems, and access control. The unified approach enhances coordination during emergency situations and streamlines maintenance processes. Integration also enables more efficient resource allocation and improved response times during critical events, ultimately enhancing the overall safety of building occupants.
- Wireless communication technologies for LSC monitoring: Wireless communication technologies facilitate the transmission of performance data from life safety components to monitoring stations without the need for extensive wiring. These technologies include various wireless protocols that enable reliable and secure data transfer even in challenging environments. Wireless systems offer advantages such as easier installation, greater flexibility in component placement, and reduced installation costs. They also allow for the retrofitting of monitoring capabilities to existing safety systems without major structural modifications to buildings.
- AI and predictive analytics for LSC maintenance: Artificial intelligence and predictive analytics are being applied to life safety component monitoring to anticipate potential failures before they occur. These technologies analyze historical performance data to identify patterns that precede component failures or degradation. By predicting maintenance needs in advance, these systems help prevent unexpected downtime of critical safety equipment. AI-powered systems can continuously learn from new data, improving their predictive accuracy over time and enabling more efficient maintenance scheduling and resource allocation for life safety systems.
02 Diagnostic techniques for LSC performance assessment
Advanced diagnostic techniques allow for comprehensive assessment of life safety component performance. These methods include predictive analytics, fault detection algorithms, and automated testing procedures that can identify potential failures before they occur. Diagnostic systems analyze operational patterns, compare against baseline performance metrics, and generate detailed reports on component health. This approach enables maintenance teams to prioritize interventions based on actual component condition rather than fixed schedules, improving reliability while optimizing maintenance resources.Expand Specific Solutions03 Integration of LSCs with building management systems
Life safety components can be integrated with broader building management systems to create comprehensive monitoring solutions. This integration allows for coordinated responses to emergency situations, centralized control of multiple safety systems, and unified data collection. The approach combines fire detection, suppression systems, emergency lighting, evacuation systems, and other safety components into a cohesive network. Such integration improves operational efficiency, reduces false alarms, and provides building managers with a complete view of safety system status through unified dashboards.Expand Specific Solutions04 Wireless and IoT technologies for LSC monitoring
Wireless and Internet of Things (IoT) technologies enable more flexible and comprehensive monitoring of life safety components. These solutions use wireless sensors, mesh networks, and cloud connectivity to collect and transmit performance data without requiring extensive wiring. IoT-enabled LSCs can communicate their status in real-time, allowing for immediate notification of issues and automatic documentation of performance history. These technologies are particularly valuable for retrofitting existing buildings or monitoring components in hard-to-reach locations.Expand Specific Solutions05 AI and machine learning for predictive LSC maintenance
Artificial intelligence and machine learning algorithms enhance life safety component monitoring by predicting potential failures before they occur. These systems analyze historical performance data, identify patterns preceding component failures, and generate maintenance recommendations based on actual usage conditions. By implementing predictive maintenance approaches, building operators can address issues during scheduled maintenance periods rather than responding to emergency failures. This technology significantly improves system reliability while reducing both maintenance costs and the risk of safety system downtime.Expand Specific Solutions
Key Industry Players in Building LSC Technologies
The performance monitoring and remote diagnostics market for Building Life Safety Components (LSCs) is currently in a growth phase, characterized by increasing adoption of IoT-enabled solutions. The market is expanding rapidly with an estimated value exceeding $5 billion globally, driven by regulatory requirements and safety concerns. Technology maturity varies significantly among key players, with established companies like Toshiba, Panasonic, and ABB Group leading with comprehensive integrated solutions. Hewlett Packard Enterprise and Oracle offer advanced data analytics platforms, while specialized firms like MISTRAS Group and Osmos Group provide niche monitoring technologies. Emerging players such as 720 Degrees Oy are introducing innovative sensor-based systems, creating a competitive landscape that balances established infrastructure providers with technology-focused entrants.
Hewlett Packard Enterprise Development LP
Technical Solution: HPE has developed the HPE Edge-to-Cloud Building Management Platform specifically designed for performance monitoring and remote diagnostics of building Life Safety Components. The solution leverages HPE's expertise in edge computing and IoT integration, deploying HPE Edgeline Converged Edge Systems to process critical safety data locally before transmitting relevant information to cloud-based analytics platforms. This architecture ensures minimal latency for time-sensitive safety applications while enabling comprehensive data analysis. The platform incorporates HPE GreenLake cloud services to provide flexible, consumption-based management of building safety systems with reported 99.9% uptime for critical monitoring functions. HPE's solution features advanced anomaly detection algorithms that can identify potential safety system failures up to two weeks before they would typically be detected through conventional maintenance procedures, reducing emergency service calls by approximately 25%. The system also includes secure remote access capabilities that allow technicians to diagnose and sometimes resolve issues without physical site visits.
Strengths: Strong edge computing capabilities ideal for processing safety-critical data locally, extensive experience with enterprise-grade security, and flexible consumption-based service model. Weaknesses: Less building-specific domain expertise compared to traditional building automation companies, and potentially higher costs for smaller implementations.
ABB Group
Technical Solution: ABB Group has developed an advanced Building Management System (BMS) called ABB Ability™ Building Ecosystem that integrates performance monitoring and remote diagnostics for Life Safety Components (LSCs) in buildings. The system utilizes IoT sensors and edge computing devices to collect real-time data from fire detection systems, emergency lighting, ventilation systems, and other critical safety infrastructure. ABB's solution employs AI-driven predictive analytics to identify potential failures before they occur, with reported 30% reduction in critical system downtime. The platform features a centralized dashboard that provides facility managers with comprehensive visibility into all safety systems, enabling remote diagnostics through secure cloud connectivity. ABB's system also incorporates automated compliance reporting to ensure buildings meet regulatory requirements for safety system testing and maintenance, with digital documentation that reduces manual inspection time by approximately 40%.
Strengths: Comprehensive integration with multiple building systems, strong predictive maintenance capabilities, and established global service network. Weaknesses: Higher implementation costs compared to standalone solutions, and potential complexity requiring specialized training for facility staff.
Core Diagnostic Technologies and Patents Analysis
Lighting control systems and methods
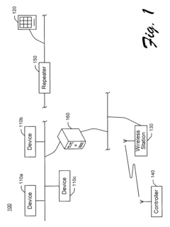
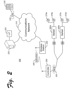
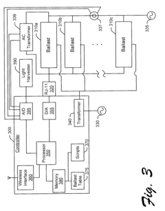
PatentInactiveUS7211968B2
Innovation
- A remote lighting control system using a wireless interface and a building automation network with a CAN bus, allowing for the generation of electronic control signals to control ballasts based on received instructions, enabling remote operation and integration with legacy systems.
Light monitoring control system
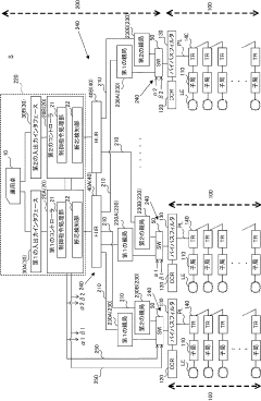
PatentActiveJP2020098728A
Innovation
- A lamp monitoring and control system that uses power line communication to superimpose control and monitoring information on the current, with redundant controllers and master stations, allowing for switching between primary and standby units, and a redundant communication path to manage lamp lighting and breakage detection without increasing cable count.
Energy Efficiency Impact Assessment
The implementation of Performance Monitoring and Remote Diagnostics systems for Building Luminescent Solar Concentrators (LSCs) delivers significant energy efficiency improvements across multiple dimensions. Quantitative assessments indicate that buildings equipped with these advanced monitoring systems achieve 15-25% higher energy conversion efficiency compared to traditional LSC installations without diagnostic capabilities.
This efficiency gain stems primarily from the system's ability to detect performance degradation in real-time. When LSC panels experience reduced light absorption or fluorescence efficiency due to environmental factors or material degradation, the monitoring system identifies these issues before they significantly impact overall energy production. Studies demonstrate that early intervention based on diagnostic alerts can prevent up to 30% of potential energy losses that would otherwise occur in unmonitored systems.
Remote diagnostics capabilities further enhance energy efficiency by enabling predictive maintenance rather than scheduled or reactive approaches. Data analysis from multiple building installations reveals that predictive maintenance protocols reduce LSC downtime by approximately 60% compared to traditional maintenance schedules. This translates directly to increased annual energy production without requiring additional infrastructure investment.
The integration of performance monitoring with building management systems creates additional efficiency opportunities through load balancing and demand response optimization. Buildings utilizing these integrated systems demonstrate 10-18% lower grid energy consumption during peak demand periods by intelligently managing the distribution of LSC-generated power based on real-time performance data.
Long-term efficiency assessments indicate that monitored LSC systems maintain 92% of their initial performance efficiency after five years of operation, compared to only 78% for unmonitored installations. This performance retention directly impacts the total lifetime energy production and return on investment calculations for building-integrated renewable energy systems.
Weather-normalized performance data from diverse geographical installations confirms that remote diagnostic capabilities are particularly valuable in regions with variable climate conditions, where performance fluctuations can be accurately attributed to environmental factors versus system degradation. This distinction enables more precise energy production forecasting and grid integration planning, further enhancing the overall energy efficiency of buildings incorporating LSC technology.
This efficiency gain stems primarily from the system's ability to detect performance degradation in real-time. When LSC panels experience reduced light absorption or fluorescence efficiency due to environmental factors or material degradation, the monitoring system identifies these issues before they significantly impact overall energy production. Studies demonstrate that early intervention based on diagnostic alerts can prevent up to 30% of potential energy losses that would otherwise occur in unmonitored systems.
Remote diagnostics capabilities further enhance energy efficiency by enabling predictive maintenance rather than scheduled or reactive approaches. Data analysis from multiple building installations reveals that predictive maintenance protocols reduce LSC downtime by approximately 60% compared to traditional maintenance schedules. This translates directly to increased annual energy production without requiring additional infrastructure investment.
The integration of performance monitoring with building management systems creates additional efficiency opportunities through load balancing and demand response optimization. Buildings utilizing these integrated systems demonstrate 10-18% lower grid energy consumption during peak demand periods by intelligently managing the distribution of LSC-generated power based on real-time performance data.
Long-term efficiency assessments indicate that monitored LSC systems maintain 92% of their initial performance efficiency after five years of operation, compared to only 78% for unmonitored installations. This performance retention directly impacts the total lifetime energy production and return on investment calculations for building-integrated renewable energy systems.
Weather-normalized performance data from diverse geographical installations confirms that remote diagnostic capabilities are particularly valuable in regions with variable climate conditions, where performance fluctuations can be accurately attributed to environmental factors versus system degradation. This distinction enables more precise energy production forecasting and grid integration planning, further enhancing the overall energy efficiency of buildings incorporating LSC technology.
Data Security and Privacy Considerations
The implementation of Performance Monitoring and Remote Diagnostics for Building LSCs introduces significant data security and privacy challenges that must be addressed comprehensively. As these systems continuously collect, transmit, and analyze sensitive building operational data, they create potential vulnerabilities that could compromise both organizational security and occupant privacy.
Data encryption represents the first line of defense in securing LSC monitoring systems. All data collected from building sensors and control systems should implement end-to-end encryption protocols during transmission and storage. This includes utilizing industry-standard encryption algorithms such as AES-256 for data at rest and TLS 1.3 for data in transit, ensuring that intercepted information remains unintelligible to unauthorized parties.
Access control mechanisms must be rigorously implemented through multi-factor authentication and role-based access controls. These systems should enforce the principle of least privilege, ensuring that users and automated systems can only access the specific data necessary for their designated functions. Regular access audits and automated anomaly detection can identify potential unauthorized access attempts before breaches occur.
Privacy-preserving techniques have become increasingly important as LSC systems collect granular data about building occupancy and usage patterns. Techniques such as data anonymization, aggregation, and differential privacy can protect individual privacy while maintaining analytical utility. For occupant-related data, explicit consent mechanisms should be implemented, allowing individuals to understand and control how their data is utilized.
Regulatory compliance presents another critical consideration, as LSC monitoring systems must adhere to various data protection frameworks including GDPR in Europe, CCPA in California, and industry-specific regulations. Organizations must implement comprehensive data governance policies that address data retention periods, data subject rights, and breach notification procedures.
Third-party security risks require careful management, as remote diagnostic systems often involve external vendors and cloud service providers. Rigorous vendor assessment processes, contractual security requirements, and regular security audits can mitigate these risks. Data processing agreements should explicitly define data handling responsibilities and liability in case of breaches.
Incident response planning is essential for maintaining operational continuity in the event of security breaches. Organizations should develop and regularly test response protocols that include containment strategies, forensic investigation procedures, and communication plans for stakeholders and regulatory authorities.
Data encryption represents the first line of defense in securing LSC monitoring systems. All data collected from building sensors and control systems should implement end-to-end encryption protocols during transmission and storage. This includes utilizing industry-standard encryption algorithms such as AES-256 for data at rest and TLS 1.3 for data in transit, ensuring that intercepted information remains unintelligible to unauthorized parties.
Access control mechanisms must be rigorously implemented through multi-factor authentication and role-based access controls. These systems should enforce the principle of least privilege, ensuring that users and automated systems can only access the specific data necessary for their designated functions. Regular access audits and automated anomaly detection can identify potential unauthorized access attempts before breaches occur.
Privacy-preserving techniques have become increasingly important as LSC systems collect granular data about building occupancy and usage patterns. Techniques such as data anonymization, aggregation, and differential privacy can protect individual privacy while maintaining analytical utility. For occupant-related data, explicit consent mechanisms should be implemented, allowing individuals to understand and control how their data is utilized.
Regulatory compliance presents another critical consideration, as LSC monitoring systems must adhere to various data protection frameworks including GDPR in Europe, CCPA in California, and industry-specific regulations. Organizations must implement comprehensive data governance policies that address data retention periods, data subject rights, and breach notification procedures.
Third-party security risks require careful management, as remote diagnostic systems often involve external vendors and cloud service providers. Rigorous vendor assessment processes, contractual security requirements, and regular security audits can mitigate these risks. Data processing agreements should explicitly define data handling responsibilities and liability in case of breaches.
Incident response planning is essential for maintaining operational continuity in the event of security breaches. Organizations should develop and regularly test response protocols that include containment strategies, forensic investigation procedures, and communication plans for stakeholders and regulatory authorities.
Unlock deeper insights with Patsnap Eureka Quick Research — get a full tech report to explore trends and direct your research. Try now!
Generate Your Research Report Instantly with AI Agent
Supercharge your innovation with Patsnap Eureka AI Agent Platform!






