Tradeoffs Between Visible Transparency And Power Density In Solar Windows
AUG 29, 20259 MIN READ
Generate Your Research Report Instantly with AI Agent
Patsnap Eureka helps you evaluate technical feasibility & market potential.
Solar Window Technology Background and Objectives
Solar window technology represents a convergence of renewable energy generation and building-integrated design, emerging as a promising solution for sustainable urban development. The concept of transparent solar cells dates back to the early 2000s, when researchers began exploring ways to harness solar energy through windows without significantly compromising their transparency. Over the past two decades, this technology has evolved from laboratory prototypes to commercially viable products, driven by advancements in materials science and photovoltaic engineering.
The fundamental challenge in solar window development has been balancing visible transparency with power generation capability. Traditional photovoltaic cells are opaque and designed to absorb maximum sunlight across the spectrum, while windows must allow visible light to pass through for illumination and aesthetic purposes. This inherent contradiction has shaped the technological evolution in this field, pushing researchers to develop innovative solutions that selectively harvest non-visible portions of the solar spectrum.
Recent technological trends indicate a shift toward organic photovoltaics, quantum dot technologies, and perovskite-based transparent solar cells. These emerging approaches offer promising pathways to overcome the transparency-efficiency tradeoff that has historically limited widespread adoption. Additionally, the integration of solar windows into smart building systems represents another significant trend, where energy generation becomes part of a comprehensive building energy management strategy.
The global push toward carbon-neutral buildings and net-zero energy construction has accelerated interest in building-integrated photovoltaics (BIPV), with solar windows positioned as a key component of this transition. Regulatory frameworks in many countries now incentivize or mandate energy-efficient building designs, creating a favorable environment for solar window technology development and deployment.
The primary technical objectives for solar window technology advancement include achieving visible transparency above 70% while maintaining power conversion efficiencies of at least 5-10%, developing manufacturing processes compatible with existing glass production infrastructure, ensuring durability comparable to conventional windows (20+ years lifespan), and reducing production costs to achieve market competitiveness without subsidies.
Secondary objectives focus on enhancing complementary features such as thermal insulation properties, dynamic tinting capabilities, and integration with building management systems. These additional functionalities could provide value beyond energy generation, potentially accelerating market adoption despite efficiency limitations.
As urbanization continues worldwide and building energy consumption rises, solar windows represent not merely an incremental improvement in building design but a transformative approach to urban energy infrastructure, turning passive architectural elements into active energy generators while maintaining their primary functions.
The fundamental challenge in solar window development has been balancing visible transparency with power generation capability. Traditional photovoltaic cells are opaque and designed to absorb maximum sunlight across the spectrum, while windows must allow visible light to pass through for illumination and aesthetic purposes. This inherent contradiction has shaped the technological evolution in this field, pushing researchers to develop innovative solutions that selectively harvest non-visible portions of the solar spectrum.
Recent technological trends indicate a shift toward organic photovoltaics, quantum dot technologies, and perovskite-based transparent solar cells. These emerging approaches offer promising pathways to overcome the transparency-efficiency tradeoff that has historically limited widespread adoption. Additionally, the integration of solar windows into smart building systems represents another significant trend, where energy generation becomes part of a comprehensive building energy management strategy.
The global push toward carbon-neutral buildings and net-zero energy construction has accelerated interest in building-integrated photovoltaics (BIPV), with solar windows positioned as a key component of this transition. Regulatory frameworks in many countries now incentivize or mandate energy-efficient building designs, creating a favorable environment for solar window technology development and deployment.
The primary technical objectives for solar window technology advancement include achieving visible transparency above 70% while maintaining power conversion efficiencies of at least 5-10%, developing manufacturing processes compatible with existing glass production infrastructure, ensuring durability comparable to conventional windows (20+ years lifespan), and reducing production costs to achieve market competitiveness without subsidies.
Secondary objectives focus on enhancing complementary features such as thermal insulation properties, dynamic tinting capabilities, and integration with building management systems. These additional functionalities could provide value beyond energy generation, potentially accelerating market adoption despite efficiency limitations.
As urbanization continues worldwide and building energy consumption rises, solar windows represent not merely an incremental improvement in building design but a transformative approach to urban energy infrastructure, turning passive architectural elements into active energy generators while maintaining their primary functions.
Market Analysis for Transparent Solar Applications
The transparent solar window market is experiencing significant growth, driven by the increasing demand for sustainable building solutions and the global push towards net-zero energy buildings. Current market projections indicate that the building-integrated photovoltaics (BIPV) sector, which includes transparent solar windows, is expected to reach $4.3 billion by 2025, with a compound annual growth rate of 16.7%. This growth is particularly pronounced in regions with progressive green building policies such as Europe, North America, and parts of Asia.
Commercial buildings represent the largest potential market segment for transparent solar applications, accounting for approximately 60% of the projected market share. These buildings typically have large glass facades that could be retrofitted or newly installed with transparent solar technology. The residential sector follows with roughly 25% market share potential, while specialized applications in automotive, agricultural greenhouses, and consumer electronics constitute the remaining 15%.
Market penetration is currently limited by several factors, including the cost-performance ratio compared to traditional solar panels and conventional windows. The average cost of transparent solar windows remains 2-3 times higher than standard energy-efficient windows, creating a significant barrier to widespread adoption despite the long-term energy savings potential.
Consumer awareness and perception also play crucial roles in market development. Surveys indicate that while 78% of architects and building developers express interest in transparent solar technology, only 22% report having sufficient knowledge about implementation options and return on investment calculations. This knowledge gap represents both a challenge and an opportunity for market education and growth.
Regulatory frameworks and incentives significantly influence market dynamics. Countries with strong renewable energy incentives, such as Germany, Japan, and certain U.S. states, show accelerated adoption rates. Tax credits, rebates, and building code requirements that favor energy-generating building materials have proven to be effective market drivers, with adoption rates up to 40% higher in regions with comprehensive incentive programs.
The competitive landscape is evolving rapidly, with both established glass manufacturers entering the space and specialized startups developing proprietary technologies. Strategic partnerships between traditional window manufacturers and solar technology companies are becoming increasingly common, creating integrated supply chains that could potentially reduce costs and accelerate market penetration.
Future market growth will likely be shaped by technological advancements that improve the fundamental tradeoff between transparency and power generation efficiency. Market analysis suggests that achieving 10% efficiency while maintaining 50% visible transparency represents a critical threshold for mass market adoption in premium building segments.
Commercial buildings represent the largest potential market segment for transparent solar applications, accounting for approximately 60% of the projected market share. These buildings typically have large glass facades that could be retrofitted or newly installed with transparent solar technology. The residential sector follows with roughly 25% market share potential, while specialized applications in automotive, agricultural greenhouses, and consumer electronics constitute the remaining 15%.
Market penetration is currently limited by several factors, including the cost-performance ratio compared to traditional solar panels and conventional windows. The average cost of transparent solar windows remains 2-3 times higher than standard energy-efficient windows, creating a significant barrier to widespread adoption despite the long-term energy savings potential.
Consumer awareness and perception also play crucial roles in market development. Surveys indicate that while 78% of architects and building developers express interest in transparent solar technology, only 22% report having sufficient knowledge about implementation options and return on investment calculations. This knowledge gap represents both a challenge and an opportunity for market education and growth.
Regulatory frameworks and incentives significantly influence market dynamics. Countries with strong renewable energy incentives, such as Germany, Japan, and certain U.S. states, show accelerated adoption rates. Tax credits, rebates, and building code requirements that favor energy-generating building materials have proven to be effective market drivers, with adoption rates up to 40% higher in regions with comprehensive incentive programs.
The competitive landscape is evolving rapidly, with both established glass manufacturers entering the space and specialized startups developing proprietary technologies. Strategic partnerships between traditional window manufacturers and solar technology companies are becoming increasingly common, creating integrated supply chains that could potentially reduce costs and accelerate market penetration.
Future market growth will likely be shaped by technological advancements that improve the fundamental tradeoff between transparency and power generation efficiency. Market analysis suggests that achieving 10% efficiency while maintaining 50% visible transparency represents a critical threshold for mass market adoption in premium building segments.
Technical Challenges in Balancing Transparency and Power Generation
The development of solar windows faces significant technical hurdles in achieving the optimal balance between transparency and power generation efficiency. The fundamental challenge stems from the inherent trade-off between these two properties: higher transparency requires allowing more visible light to pass through, while efficient power generation necessitates absorbing as much solar radiation as possible. This creates an inverse relationship that engineers and scientists must navigate carefully.
Current solar window technologies typically achieve 10-30% transparency while delivering power densities of 50-150 W/m². However, market requirements often demand transparency levels of at least 50-70% for architectural applications, which significantly reduces potential power output. This performance gap represents one of the most pressing challenges in the field.
Material selection presents another critical challenge. Traditional silicon-based photovoltaics offer high efficiency but poor transparency. Alternative materials like organic photovoltaics and perovskites show promise for transparency but struggle with stability and longevity issues. Quantum dot and luminescent solar concentrator technologies offer novel approaches but face manufacturing scalability problems.
Spectral management represents a sophisticated technical challenge. The ideal solar window would selectively harvest ultraviolet and infrared wavelengths while allowing visible light to pass through. However, developing materials with precise spectral selectivity remains difficult, particularly when considering cost constraints and manufacturing feasibility.
Thermal management also poses significant challenges. Solar windows installed in buildings can experience substantial temperature fluctuations, which typically reduce photovoltaic efficiency and accelerate material degradation. Developing systems that can maintain optimal operating temperatures without compromising aesthetics or adding excessive weight presents considerable engineering difficulties.
Integration challenges extend beyond the photovoltaic component itself. Solar windows must incorporate electrical connections, inverters, and energy storage systems while maintaining structural integrity and meeting building codes. These elements must be seamlessly integrated without compromising the window's primary functions or aesthetic appeal.
Durability requirements present perhaps the most demanding challenge. Building components are expected to last 25-30 years, while current transparent photovoltaic technologies typically demonstrate stability for only 5-10 years. Addressing degradation mechanisms such as UV-induced breakdown, delamination, and electrode corrosion remains a significant obstacle to widespread adoption.
Current solar window technologies typically achieve 10-30% transparency while delivering power densities of 50-150 W/m². However, market requirements often demand transparency levels of at least 50-70% for architectural applications, which significantly reduces potential power output. This performance gap represents one of the most pressing challenges in the field.
Material selection presents another critical challenge. Traditional silicon-based photovoltaics offer high efficiency but poor transparency. Alternative materials like organic photovoltaics and perovskites show promise for transparency but struggle with stability and longevity issues. Quantum dot and luminescent solar concentrator technologies offer novel approaches but face manufacturing scalability problems.
Spectral management represents a sophisticated technical challenge. The ideal solar window would selectively harvest ultraviolet and infrared wavelengths while allowing visible light to pass through. However, developing materials with precise spectral selectivity remains difficult, particularly when considering cost constraints and manufacturing feasibility.
Thermal management also poses significant challenges. Solar windows installed in buildings can experience substantial temperature fluctuations, which typically reduce photovoltaic efficiency and accelerate material degradation. Developing systems that can maintain optimal operating temperatures without compromising aesthetics or adding excessive weight presents considerable engineering difficulties.
Integration challenges extend beyond the photovoltaic component itself. Solar windows must incorporate electrical connections, inverters, and energy storage systems while maintaining structural integrity and meeting building codes. These elements must be seamlessly integrated without compromising the window's primary functions or aesthetic appeal.
Durability requirements present perhaps the most demanding challenge. Building components are expected to last 25-30 years, while current transparent photovoltaic technologies typically demonstrate stability for only 5-10 years. Addressing degradation mechanisms such as UV-induced breakdown, delamination, and electrode corrosion remains a significant obstacle to widespread adoption.
Current Transparent Solar Window Solutions and Approaches
01 Transparent photovoltaic window technologies
Solar windows can be designed with transparent photovoltaic materials that allow visible light to pass through while capturing energy from non-visible portions of the solar spectrum. These technologies maintain high visible transparency while generating electrical power. Various approaches include using selective wavelength absorption materials, quantum dots, or thin-film semiconductors that primarily absorb in the UV or IR regions, allowing for windows that appear clear to the human eye while still producing electricity.- Transparent photovoltaic technologies for windows: Solar windows can be created using transparent photovoltaic technologies that allow visible light to pass through while capturing energy from non-visible portions of the light spectrum. These technologies balance transparency with power generation capability, enabling windows to maintain their primary function while also generating electricity. Various materials and designs are employed to achieve optimal visible transparency while maximizing power density.
- Electrochromic and smart window technologies: Smart window technologies incorporate electrochromic materials that can change their transparency in response to electrical signals or environmental conditions. These windows can adjust their tint to optimize both visible light transmission and solar energy harvesting. By controlling the amount of light and heat entering a building, these systems improve energy efficiency while maintaining power generation capabilities.
- Integration of solar cells with building materials: Building-integrated photovoltaics (BIPV) incorporate solar cells directly into construction materials like windows. These systems are designed to maintain architectural aesthetics while generating power. The integration techniques focus on balancing visible transparency with power density, using specialized coatings, films, or embedded micro-solar cells that preserve the window's appearance while capturing solar energy.
- Power management systems for solar windows: Power management systems are essential for optimizing the energy harvested from solar windows. These systems include specialized inverters, energy storage solutions, and control algorithms that maximize power output while maintaining desired transparency levels. The management systems can adjust based on environmental conditions, time of day, or user preferences to balance visibility and energy production.
- Novel materials for enhancing transparency and power density: Advanced materials are being developed to improve both the transparency and power generation capabilities of solar windows. These include quantum dots, perovskites, organic photovoltaics, and specialized nanostructures that can selectively absorb specific wavelengths of light. These materials aim to increase power density without compromising the visible transparency that is essential for window functionality.
02 Power density optimization techniques
Various methods can be employed to optimize the power density of solar windows while maintaining acceptable transparency. These include using specialized semiconductor materials, optimizing the thickness and composition of active layers, incorporating light trapping structures, and developing novel electrode designs. The balance between transparency and power generation can be adjusted based on specific application requirements, with some designs prioritizing higher power output in areas where less visibility is needed.Expand Specific Solutions03 Smart control systems for solar windows
Integration of smart control systems with solar windows allows for dynamic management of transparency and power generation. These systems can adjust the optical properties of the windows based on external conditions such as sunlight intensity, temperature, or user preferences. Smart controllers can optimize energy harvesting during peak sunlight hours while maintaining comfortable indoor lighting conditions, and can be connected to building management systems for comprehensive energy efficiency strategies.Expand Specific Solutions04 Electrochromic and photochromic integration
Solar windows can incorporate electrochromic or photochromic technologies that allow for dynamic control of transparency. These systems can change their optical properties in response to electrical signals or light intensity, enabling windows to darken during bright conditions to increase power generation and reduce heat gain, or become more transparent when natural lighting is desired. This adaptive functionality helps optimize both energy harvesting and building energy efficiency.Expand Specific Solutions05 Structural integration and installation methods
Specialized methods for integrating solar cells into window structures ensure both structural integrity and optimal performance. These approaches include lamination techniques, edge-mounting of PV cells, integration with insulated glass units, and development of retrofit solutions for existing windows. The design considerations include weatherproofing, thermal insulation properties, durability under various environmental conditions, and compatibility with standard building practices and materials.Expand Specific Solutions
Leading Companies and Research Institutions in Solar Window Industry
The solar window technology market is currently in an early growth phase, characterized by significant R&D investments and emerging commercial applications. The global market for building-integrated photovoltaics is projected to reach $4.3 billion by 2025, with transparent solar windows representing a rapidly expanding segment. Companies like Ubiquitous Energy and SolarWindow Technologies are leading innovation in truly transparent solar solutions, while established players such as AGC, SCHOTT AG, and Sharp Corp. leverage their manufacturing expertise to address scalability challenges. Research institutions including MIT, Arizona State University, and ITRI are advancing fundamental technologies to overcome the critical trade-off between transparency and power generation efficiency. Oxford Photovoltaics and emerging Chinese manufacturers are developing novel materials to optimize this balance, though commercial deployment remains limited by efficiency constraints.
Ubiquitous Energy, Inc.
Technical Solution: Ubiquitous Energy has developed ClearView Power™ technology, a transparent solar coating that selectively harvests invisible light (UV and infrared) while allowing visible light to pass through. Their approach uses organic photovoltaic materials that are deposited directly onto glass using standard glass coating equipment. The technology achieves 90%+ visible transparency while generating power from non-visible wavelengths. Their solar windows maintain color neutrality with a slight tint comparable to traditional low-E windows. The company has demonstrated power conversion efficiencies of 8-10% while maintaining high transparency, with their technology being compatible with double-pane insulated glass units for building integration[1][2]. Their manufacturing process involves vacuum deposition techniques that allow for scalable production on existing glass manufacturing lines.
Strengths: Exceptional transparency (90%+ visible light transmission) while still generating power; aesthetically pleasing with neutral color appearance; compatible with existing glass manufacturing infrastructure. Weaknesses: Lower power conversion efficiency compared to opaque solar panels; durability and lifetime concerns for organic photovoltaic materials; higher production costs compared to conventional windows.
Sharp Corp.
Technical Solution: Sharp Corporation has developed transparent solar window technology based on thin-film amorphous silicon (a-Si) and more recently, perovskite materials. Their approach uses multi-layered thin-film deposition on glass substrates with specialized transparent conductive oxides (TCOs). Sharp's technology achieves 40-50% transparency with power conversion efficiencies of 6-8% for their commercial products. The company has implemented laser scribing techniques to create visually appealing patterns that maximize power generation while maintaining aesthetic appeal. Their manufacturing leverages decades of experience in thin-film solar production, with specialized equipment for large-area deposition. Sharp has demonstrated integration with building management systems, allowing their transparent solar windows to contribute to smart building functionality. Their See-Through Solar Windows have been installed in commercial buildings in Japan, demonstrating real-world performance data with power densities of 40-60 W/m² depending on transparency levels[7][8].
Strengths: Established manufacturing capabilities and distribution networks; proven durability from extensive field testing; integration with building management systems for smart functionality. Weaknesses: Lower transparency compared to some newer technologies; moderate efficiency levels; higher production costs due to complex manufacturing processes.
Key Patents and Innovations in Transparent Photovoltaic Materials
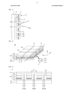
Solar cell with improved visibility and method for manufacturing same
PatentWO2015119380A1
Innovation
- A solar cell design featuring a transparent substrate with a transparent electrode, solar cells connected through a light-penetrating separator, and an antireflection layer to minimize reflection and enhance light transmission, while maintaining photoelectric conversion efficiency.
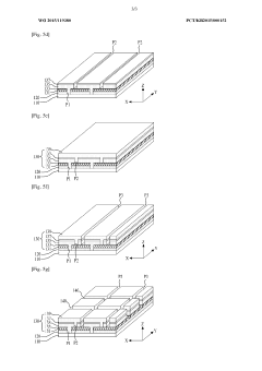
Transparent photovoltaic cell
PatentWO2022085868A1
Innovation
- A three-dimensional transparent solar cell structure featuring micro-pillars and a transparent window, where the transmittance is adjusted by the ratio of the window area to the total cell area, and a light reflection film is used to redirect non-visible light for enhanced absorption, allowing for both high transparency and efficiency.
Building Integration Considerations and Standards
The integration of solar windows into buildings requires careful consideration of existing architectural standards and building codes. Current building regulations in most developed countries have begun incorporating provisions for Building Integrated Photovoltaics (BIPV), though specific standards for transparent solar windows remain in development. The International Electrotechnical Commission (IEC) and ASTM International have established baseline requirements for BIPV products, including IEC 61215 for durability and IEC 61730 for safety qualifications.
For solar windows to achieve widespread adoption, they must satisfy multiple building integration requirements beyond mere energy generation. These include compliance with structural loading standards, thermal insulation values (U-values), solar heat gain coefficients (SHGC), and safety glazing requirements. The balance between transparency and power density becomes particularly critical when considering these building standards, as higher transparency often comes at the cost of reduced power generation.
Architects and building engineers must evaluate the trade-off between daylighting requirements and energy production goals. Many building energy codes specify minimum visible light transmittance (VLT) values for windows in occupied spaces, typically ranging from 30-70% depending on building type and climate zone. Solar windows with high transparency (>50%) currently struggle to produce power densities above 50-100 W/m², creating a fundamental integration challenge.
Fire safety and electrical code compliance represent additional integration considerations. Solar windows must meet flame spread ratings and smoke development indices while also incorporating appropriate electrical isolation, grounding systems, and junction boxes that comply with the National Electrical Code (NEC) or International Electrotechnical Commission (IEC) standards. These requirements can further constrain design options that might otherwise optimize the transparency-power density relationship.
Installation and maintenance protocols for solar windows differ significantly from conventional glazing systems. Building standards increasingly address lifecycle considerations, including durability under environmental stressors, degradation rates, and end-of-life recycling. The transparency-power density trade-off extends to longevity concerns, as some high-efficiency solar window technologies demonstrate faster degradation rates, particularly when exposed to UV radiation and temperature fluctuations common in building envelopes.
Emerging green building certification systems like LEED, BREEAM, and Passive House are beginning to incorporate specific metrics for evaluating solar windows, considering both their energy generation capabilities and their contribution to building envelope performance. These standards typically reward balanced solutions that optimize the transparency-power density relationship rather than maximizing either parameter in isolation.
For solar windows to achieve widespread adoption, they must satisfy multiple building integration requirements beyond mere energy generation. These include compliance with structural loading standards, thermal insulation values (U-values), solar heat gain coefficients (SHGC), and safety glazing requirements. The balance between transparency and power density becomes particularly critical when considering these building standards, as higher transparency often comes at the cost of reduced power generation.
Architects and building engineers must evaluate the trade-off between daylighting requirements and energy production goals. Many building energy codes specify minimum visible light transmittance (VLT) values for windows in occupied spaces, typically ranging from 30-70% depending on building type and climate zone. Solar windows with high transparency (>50%) currently struggle to produce power densities above 50-100 W/m², creating a fundamental integration challenge.
Fire safety and electrical code compliance represent additional integration considerations. Solar windows must meet flame spread ratings and smoke development indices while also incorporating appropriate electrical isolation, grounding systems, and junction boxes that comply with the National Electrical Code (NEC) or International Electrotechnical Commission (IEC) standards. These requirements can further constrain design options that might otherwise optimize the transparency-power density relationship.
Installation and maintenance protocols for solar windows differ significantly from conventional glazing systems. Building standards increasingly address lifecycle considerations, including durability under environmental stressors, degradation rates, and end-of-life recycling. The transparency-power density trade-off extends to longevity concerns, as some high-efficiency solar window technologies demonstrate faster degradation rates, particularly when exposed to UV radiation and temperature fluctuations common in building envelopes.
Emerging green building certification systems like LEED, BREEAM, and Passive House are beginning to incorporate specific metrics for evaluating solar windows, considering both their energy generation capabilities and their contribution to building envelope performance. These standards typically reward balanced solutions that optimize the transparency-power density relationship rather than maximizing either parameter in isolation.
Environmental Impact and Sustainability Assessment
The environmental impact of solar windows represents a critical dimension in evaluating their overall sustainability value proposition. When comparing transparent solar windows with conventional energy generation methods, significant environmental benefits emerge. Solar windows contribute to reduced greenhouse gas emissions by generating clean electricity directly at the point of use, eliminating transmission losses and decreasing reliance on fossil fuel-based grid electricity.
Life cycle assessment (LCA) studies indicate that solar windows can achieve carbon payback periods ranging from 1-3 years depending on installation location, transparency level, and manufacturing processes. This favorable environmental profile stems from their dual functionality—serving as both building elements and power generators—which eliminates the need for separate land use typically required by conventional solar farms.
Material considerations present both challenges and opportunities for environmental sustainability. Current transparent solar technologies often incorporate rare earth elements and specialized semiconductors that raise concerns regarding resource scarcity and extraction impacts. However, emerging organic photovoltaic (OPV) and perovskite-based transparent solar cells show promise for reducing dependence on these critical materials.
The manufacturing energy intensity of solar windows remains higher than conventional glass production, primarily due to the additional processing steps required for photovoltaic integration. This energy investment must be balanced against lifetime energy generation to ensure net environmental benefits. Encouragingly, advancements in low-temperature deposition techniques are progressively reducing the embodied energy of production.
End-of-life management represents another crucial environmental consideration. The composite nature of solar windows—combining glass, conductive materials, and semiconductor layers—complicates recycling processes. Developing effective separation and recovery methods for these materials will be essential for closing the resource loop and minimizing waste.
Building integration aspects further enhance the environmental profile of solar windows. By replacing conventional building materials and generating electricity simultaneously, these technologies reduce the overall material footprint of construction while contributing to energy efficiency. When combined with smart building systems, solar windows can optimize daylighting and thermal management, potentially reducing heating, cooling, and artificial lighting demands by 10-30% compared to standard glazing solutions.
Life cycle assessment (LCA) studies indicate that solar windows can achieve carbon payback periods ranging from 1-3 years depending on installation location, transparency level, and manufacturing processes. This favorable environmental profile stems from their dual functionality—serving as both building elements and power generators—which eliminates the need for separate land use typically required by conventional solar farms.
Material considerations present both challenges and opportunities for environmental sustainability. Current transparent solar technologies often incorporate rare earth elements and specialized semiconductors that raise concerns regarding resource scarcity and extraction impacts. However, emerging organic photovoltaic (OPV) and perovskite-based transparent solar cells show promise for reducing dependence on these critical materials.
The manufacturing energy intensity of solar windows remains higher than conventional glass production, primarily due to the additional processing steps required for photovoltaic integration. This energy investment must be balanced against lifetime energy generation to ensure net environmental benefits. Encouragingly, advancements in low-temperature deposition techniques are progressively reducing the embodied energy of production.
End-of-life management represents another crucial environmental consideration. The composite nature of solar windows—combining glass, conductive materials, and semiconductor layers—complicates recycling processes. Developing effective separation and recovery methods for these materials will be essential for closing the resource loop and minimizing waste.
Building integration aspects further enhance the environmental profile of solar windows. By replacing conventional building materials and generating electricity simultaneously, these technologies reduce the overall material footprint of construction while contributing to energy efficiency. When combined with smart building systems, solar windows can optimize daylighting and thermal management, potentially reducing heating, cooling, and artificial lighting demands by 10-30% compared to standard glazing solutions.
Unlock deeper insights with Patsnap Eureka Quick Research — get a full tech report to explore trends and direct your research. Try now!
Generate Your Research Report Instantly with AI Agent
Supercharge your innovation with Patsnap Eureka AI Agent Platform!




