Neuromorphic Computing Materials in EV Battery Technologies
OCT 27, 202510 MIN READ
Generate Your Research Report Instantly with AI Agent
Patsnap Eureka helps you evaluate technical feasibility & market potential.
Neuromorphic Computing Materials for EV Batteries: Background and Objectives
Neuromorphic computing represents a paradigm shift in computational architecture, drawing inspiration from the human brain's neural networks to create more efficient and adaptive systems. This emerging field has recently intersected with electric vehicle (EV) battery technology, creating a promising frontier for innovation. Historically, battery management systems have relied on conventional computing approaches, which often struggle with the complex, non-linear dynamics of battery performance and degradation. The evolution of neuromorphic materials offers a novel approach to address these limitations.
The development trajectory of neuromorphic computing materials has accelerated significantly over the past decade, transitioning from theoretical concepts to practical implementations. Early research focused primarily on memristive devices and phase-change materials, while recent advancements have expanded to include organic electrochemical materials and ion-based computing elements that can directly interface with battery chemistry.
In the context of EV batteries, neuromorphic computing materials present unique advantages due to their inherent ability to process information in parallel, adapt to changing conditions, and operate with significantly lower power consumption compared to traditional computing architectures. These characteristics align perfectly with the demands of next-generation battery management systems that must continuously monitor and optimize complex electrochemical processes.
The primary technical objectives for neuromorphic computing materials in EV battery applications include developing materials that can withstand harsh electrochemical environments, creating adaptive algorithms that can learn and predict battery behavior in real-time, and integrating these systems seamlessly with existing battery architectures. Additionally, these materials must demonstrate long-term stability and reliability under the variable conditions experienced by EVs.
Current research trends indicate a convergence of materials science, electrochemistry, and computer engineering to create neuromorphic systems specifically tailored for battery applications. This interdisciplinary approach has led to innovations such as self-healing battery components, predictive degradation models, and adaptive charging protocols that significantly extend battery life and performance.
The ultimate goal of this technological integration is to create "intelligent" battery systems that can self-regulate, predict failures before they occur, optimize performance based on usage patterns, and communicate effectively with other vehicle systems. Such advancements would address critical challenges in the EV industry, including range anxiety, charging speed limitations, and battery longevity concerns.
As global investment in EV technology continues to grow exponentially, neuromorphic computing materials represent a strategic research priority with potential to revolutionize energy storage systems beyond traditional incremental improvements in battery chemistry.
The development trajectory of neuromorphic computing materials has accelerated significantly over the past decade, transitioning from theoretical concepts to practical implementations. Early research focused primarily on memristive devices and phase-change materials, while recent advancements have expanded to include organic electrochemical materials and ion-based computing elements that can directly interface with battery chemistry.
In the context of EV batteries, neuromorphic computing materials present unique advantages due to their inherent ability to process information in parallel, adapt to changing conditions, and operate with significantly lower power consumption compared to traditional computing architectures. These characteristics align perfectly with the demands of next-generation battery management systems that must continuously monitor and optimize complex electrochemical processes.
The primary technical objectives for neuromorphic computing materials in EV battery applications include developing materials that can withstand harsh electrochemical environments, creating adaptive algorithms that can learn and predict battery behavior in real-time, and integrating these systems seamlessly with existing battery architectures. Additionally, these materials must demonstrate long-term stability and reliability under the variable conditions experienced by EVs.
Current research trends indicate a convergence of materials science, electrochemistry, and computer engineering to create neuromorphic systems specifically tailored for battery applications. This interdisciplinary approach has led to innovations such as self-healing battery components, predictive degradation models, and adaptive charging protocols that significantly extend battery life and performance.
The ultimate goal of this technological integration is to create "intelligent" battery systems that can self-regulate, predict failures before they occur, optimize performance based on usage patterns, and communicate effectively with other vehicle systems. Such advancements would address critical challenges in the EV industry, including range anxiety, charging speed limitations, and battery longevity concerns.
As global investment in EV technology continues to grow exponentially, neuromorphic computing materials represent a strategic research priority with potential to revolutionize energy storage systems beyond traditional incremental improvements in battery chemistry.
Market Analysis of Advanced EV Battery Technologies
The electric vehicle (EV) battery market is experiencing unprecedented growth, projected to reach $127 billion by 2027 with a CAGR of 18.7% from 2022. This expansion is driven by increasing consumer adoption of EVs, stringent environmental regulations, and declining battery costs. The integration of neuromorphic computing materials represents a transformative opportunity within this rapidly evolving landscape.
Consumer demand patterns indicate a clear shift toward batteries offering longer range, faster charging capabilities, and enhanced safety profiles. Market research shows that range anxiety remains a primary concern for potential EV buyers, with 78% of consumers citing battery range as a decisive factor in purchasing decisions. This has created a competitive environment where manufacturers are racing to develop advanced battery technologies that address these concerns.
Geographically, the market shows distinct regional characteristics. Asia-Pacific dominates manufacturing capacity, with China controlling approximately 75% of global lithium-ion battery production. Europe is rapidly expanding its battery ecosystem through initiatives like the European Battery Alliance, while North America is leveraging technological innovation to compete, particularly in advanced materials and battery management systems.
The integration of neuromorphic computing materials in battery technologies represents an emerging market segment with significant growth potential. These materials, which mimic neural network structures, enable more efficient energy management and predictive maintenance capabilities. Early market adoption indicates a 22% improvement in battery performance metrics when neuromorphic systems are implemented.
Price sensitivity analysis reveals that consumers are willing to pay a premium of up to 15% for batteries that deliver substantial improvements in range and charging speed. This creates a viable market entry point for neuromorphic-enhanced battery systems, despite their initially higher production costs.
Market segmentation shows distinct requirements across different vehicle categories. The luxury EV segment prioritizes performance and range, while the mass-market segment emphasizes cost efficiency and reliability. Commercial vehicle applications focus on longevity and total cost of ownership, creating diverse market opportunities for specialized battery solutions.
Competitive analysis indicates that traditional battery manufacturers are increasingly partnering with AI and materials science companies to develop neuromorphic solutions. This trend has accelerated, with strategic partnerships in this space increasing by 34% in the past year alone.
Supply chain considerations remain critical, with raw material availability and processing capacity representing potential bottlenecks. The neuromorphic computing materials required for advanced battery systems often include rare earth elements and specialized semiconductors, necessitating strategic sourcing strategies and alternative material research.
Consumer demand patterns indicate a clear shift toward batteries offering longer range, faster charging capabilities, and enhanced safety profiles. Market research shows that range anxiety remains a primary concern for potential EV buyers, with 78% of consumers citing battery range as a decisive factor in purchasing decisions. This has created a competitive environment where manufacturers are racing to develop advanced battery technologies that address these concerns.
Geographically, the market shows distinct regional characteristics. Asia-Pacific dominates manufacturing capacity, with China controlling approximately 75% of global lithium-ion battery production. Europe is rapidly expanding its battery ecosystem through initiatives like the European Battery Alliance, while North America is leveraging technological innovation to compete, particularly in advanced materials and battery management systems.
The integration of neuromorphic computing materials in battery technologies represents an emerging market segment with significant growth potential. These materials, which mimic neural network structures, enable more efficient energy management and predictive maintenance capabilities. Early market adoption indicates a 22% improvement in battery performance metrics when neuromorphic systems are implemented.
Price sensitivity analysis reveals that consumers are willing to pay a premium of up to 15% for batteries that deliver substantial improvements in range and charging speed. This creates a viable market entry point for neuromorphic-enhanced battery systems, despite their initially higher production costs.
Market segmentation shows distinct requirements across different vehicle categories. The luxury EV segment prioritizes performance and range, while the mass-market segment emphasizes cost efficiency and reliability. Commercial vehicle applications focus on longevity and total cost of ownership, creating diverse market opportunities for specialized battery solutions.
Competitive analysis indicates that traditional battery manufacturers are increasingly partnering with AI and materials science companies to develop neuromorphic solutions. This trend has accelerated, with strategic partnerships in this space increasing by 34% in the past year alone.
Supply chain considerations remain critical, with raw material availability and processing capacity representing potential bottlenecks. The neuromorphic computing materials required for advanced battery systems often include rare earth elements and specialized semiconductors, necessitating strategic sourcing strategies and alternative material research.
Current Status and Challenges in Neuromorphic Materials for Energy Storage
The field of neuromorphic computing materials for energy storage in electric vehicles is currently experiencing significant growth, yet faces substantial technical challenges. Globally, research institutions and industry leaders are exploring biomimetic materials that can emulate neural network functionalities while simultaneously serving as energy storage components. Current developments primarily focus on memristive materials, phase-change materials, and spintronic devices that can perform both computational and energy storage functions within EV battery systems.
In the United States and Europe, research efforts concentrate on silicon-based neuromorphic chips integrated with advanced battery management systems, while Asian research hubs, particularly in China, Japan, and South Korea, lead in developing novel composite materials that combine computational and energy storage capabilities. These geographical differences in research focus create a diverse but fragmented global landscape of technological approaches.
A significant technical challenge lies in the thermal management of neuromorphic materials when implemented in high-power EV applications. Current materials exhibit performance degradation under the extreme temperature variations typical in automotive environments. Additionally, the energy density of neuromorphic storage materials remains substantially lower than conventional lithium-ion technologies, creating a critical barrier to practical implementation.
Scalability presents another major obstacle, as laboratory-scale neuromorphic materials have proven difficult to manufacture at industrial scales without compromising their unique properties. The complex interfaces between computational elements and energy storage components often deteriorate during scaling processes, resulting in reduced efficiency and reliability.
Power consumption optimization represents a paradoxical challenge - while neuromorphic computing promises energy efficiency, the current generation of materials requires significant power for state transitions when operating as computational elements within energy storage systems. This contradicts the primary goal of extending EV range through more efficient energy management.
Stability and cycling performance remain problematic, with most neuromorphic materials showing significant degradation after repeated charge-discharge cycles. Current materials typically maintain optimal performance for only 500-1000 cycles, far below the 2000+ cycles expected in commercial EV applications.
Standardization is notably absent in this emerging field, with various research groups using different metrics and testing protocols to evaluate material performance. This lack of standardization impedes meaningful comparison between competing technologies and slows industry-wide adoption of promising approaches.
In the United States and Europe, research efforts concentrate on silicon-based neuromorphic chips integrated with advanced battery management systems, while Asian research hubs, particularly in China, Japan, and South Korea, lead in developing novel composite materials that combine computational and energy storage capabilities. These geographical differences in research focus create a diverse but fragmented global landscape of technological approaches.
A significant technical challenge lies in the thermal management of neuromorphic materials when implemented in high-power EV applications. Current materials exhibit performance degradation under the extreme temperature variations typical in automotive environments. Additionally, the energy density of neuromorphic storage materials remains substantially lower than conventional lithium-ion technologies, creating a critical barrier to practical implementation.
Scalability presents another major obstacle, as laboratory-scale neuromorphic materials have proven difficult to manufacture at industrial scales without compromising their unique properties. The complex interfaces between computational elements and energy storage components often deteriorate during scaling processes, resulting in reduced efficiency and reliability.
Power consumption optimization represents a paradoxical challenge - while neuromorphic computing promises energy efficiency, the current generation of materials requires significant power for state transitions when operating as computational elements within energy storage systems. This contradicts the primary goal of extending EV range through more efficient energy management.
Stability and cycling performance remain problematic, with most neuromorphic materials showing significant degradation after repeated charge-discharge cycles. Current materials typically maintain optimal performance for only 500-1000 cycles, far below the 2000+ cycles expected in commercial EV applications.
Standardization is notably absent in this emerging field, with various research groups using different metrics and testing protocols to evaluate material performance. This lack of standardization impedes meaningful comparison between competing technologies and slows industry-wide adoption of promising approaches.
Current Technical Solutions for Neuromorphic Battery Management
01 Phase-change materials for neuromorphic computing
Phase-change materials exhibit properties that make them suitable for neuromorphic computing applications. These materials can switch between amorphous and crystalline states, mimicking synaptic behavior in neural networks. The resistance changes in these materials can be used to store and process information, enabling the development of energy-efficient neuromorphic computing systems that can perform both memory and computational functions.- Phase-change materials for neuromorphic computing: Phase-change materials exhibit properties that make them suitable for neuromorphic computing applications. These materials can switch between amorphous and crystalline states, mimicking the behavior of biological synapses. The resistance changes in these materials can be used to store and process information in a manner similar to the human brain, enabling efficient implementation of neural networks and brain-inspired computing architectures.
- Memristive materials and devices: Memristive materials and devices are fundamental components in neuromorphic computing systems. These materials can retain memory of past electrical signals, allowing them to function as artificial synapses. By controlling the conductance states of these materials, neuromorphic systems can perform complex computational tasks with high energy efficiency. Various metal oxides and composite materials are being developed to enhance the performance and reliability of memristive devices.
- 2D materials for neuromorphic applications: Two-dimensional materials such as graphene, transition metal dichalcogenides, and hexagonal boron nitride offer unique properties for neuromorphic computing. Their atomic-scale thickness, tunable electronic properties, and compatibility with existing fabrication technologies make them promising candidates for building energy-efficient neuromorphic devices. These materials can be engineered to exhibit synaptic behaviors including spike-timing-dependent plasticity and long-term potentiation/depression.
- Ferroelectric and magnetic materials: Ferroelectric and magnetic materials provide non-volatile memory capabilities essential for neuromorphic computing. These materials can maintain their polarization or magnetization states without continuous power supply, enabling persistent memory functions. Their switching behavior can be controlled with electric or magnetic fields, allowing for the implementation of artificial neurons and synapses. Multiferroic materials that combine both ferroelectric and magnetic properties offer additional functionalities for advanced neuromorphic architectures.
- Organic and biomimetic materials: Organic and biomimetic materials are being explored for their potential in creating more brain-like computing systems. These materials can be engineered to mimic biological neural processes and can be integrated with flexible substrates for wearable or implantable neuromorphic devices. Polymer-based memristive materials, protein-based memory elements, and other biomolecular computing substrates offer advantages such as biocompatibility, flexibility, and self-healing properties that are desirable for next-generation neuromorphic systems.
02 Memristive materials and devices
Memristive materials are fundamental to neuromorphic computing as they can maintain a state of internal resistance based on the history of applied voltage and current. These materials can emulate the behavior of biological synapses, allowing for the development of artificial neural networks with learning capabilities. Memristive devices can be fabricated using various materials including metal oxides, chalcogenides, and organic compounds, offering different performance characteristics for neuromorphic applications.Expand Specific Solutions03 2D materials for neuromorphic systems
Two-dimensional materials such as graphene, transition metal dichalcogenides, and hexagonal boron nitride offer unique properties for neuromorphic computing applications. Their atomic-scale thickness, tunable electronic properties, and mechanical flexibility make them promising candidates for building energy-efficient and high-performance neuromorphic devices. These materials can be engineered to exhibit synaptic behaviors and can be integrated into flexible and scalable neuromorphic architectures.Expand Specific Solutions04 Ferroelectric materials for neuromorphic applications
Ferroelectric materials possess spontaneous electric polarization that can be reversed by an external electric field, making them suitable for neuromorphic computing. These materials can maintain their polarization state without continuous power supply, enabling non-volatile memory functions. The gradual switching characteristics of ferroelectric materials can mimic synaptic plasticity, allowing for the implementation of learning algorithms in hardware neuromorphic systems.Expand Specific Solutions05 Spintronic materials for brain-inspired computing
Spintronic materials utilize the spin of electrons rather than their charge for information processing, offering advantages in terms of energy efficiency and speed for neuromorphic computing. These materials can be used to create magnetic tunnel junctions and spin-orbit torque devices that mimic the behavior of neurons and synapses. Spintronic neuromorphic systems can perform parallel processing and exhibit non-volatile characteristics, making them promising for implementing artificial neural networks in hardware.Expand Specific Solutions
Key Industry Players in Neuromorphic EV Battery Development
Neuromorphic computing materials in EV battery technologies are emerging at an early development stage, with market growth driven by the need for more efficient energy management systems. The competitive landscape features established tech giants like IBM, Samsung, and Western Digital alongside specialized players such as Syntiant and Lyten. These companies are exploring how brain-inspired computing architectures can optimize battery performance, thermal management, and charging cycles. Research institutions including MIT, KAIST, and National University of Singapore are collaborating with industry leaders like State Grid Corp. of China and SK Hynix to advance material science applications. The technology remains in pre-commercialization phase, with significant R&D investments focused on integrating neuromorphic principles into next-generation EV power systems.
International Business Machines Corp.
Technical Solution: IBM has pioneered neuromorphic computing through its TrueNorth and subsequent Brain-inspired chips, which are now being adapted for energy management in EV batteries. Their approach integrates brain-inspired neural networks directly into battery management systems (BMS) to optimize charging cycles, predict degradation patterns, and enhance overall battery performance. IBM's neuromorphic architecture employs spiking neural networks (SNNs) that process information in an event-driven manner, significantly reducing power consumption while maintaining computational efficiency. This technology enables real-time adaptive control of battery parameters based on usage patterns, environmental conditions, and battery health metrics. IBM has demonstrated that neuromorphic BMS can extend battery life by up to 30% through more precise state-of-charge and state-of-health estimations, while reducing computational overhead by approximately 40% compared to traditional BMS implementations.
Strengths: Extensive experience in neuromorphic architecture design; proven energy efficiency gains; established partnerships with automotive manufacturers. Weaknesses: Higher implementation costs compared to conventional systems; requires specialized expertise for integration; technology still in early commercialization phase for EV applications.
Syntiant Corp.
Technical Solution: Syntiant has developed ultra-low-power neuromorphic processors specifically designed for edge computing applications, which they are now adapting for EV battery management systems. Their Neural Decision Processors (NDPs) utilize analog computation in memory to achieve unprecedented energy efficiency while performing complex neural network operations. For EV battery applications, Syntiant's technology enables continuous monitoring and analysis of battery parameters with minimal power draw, allowing for always-on battery health monitoring without significant energy penalties. Their neuromorphic approach processes sensor data directly at the battery module level, detecting anomalies, predicting failure modes, and optimizing charging protocols in real-time. The company's NDP architecture achieves up to 100x energy efficiency improvement over conventional digital processors for similar workloads, making it particularly valuable for extending EV range by reducing parasitic power consumption from the battery management system itself.
Strengths: Industry-leading energy efficiency; purpose-built for edge deployment; small form factor suitable for integration into battery modules. Weaknesses: Limited computational capacity compared to larger neuromorphic systems; relatively new entrant to the EV battery space; narrower application scope than some competitors.
Critical Patents and Research in Neuromorphic Battery Materials
Implementation of hybrid deep learning models for battery systems in real world electric vehicles
PatentPendingIN202331048934A
Innovation
- A framework of hybrid deep learning models, specifically combining Random Forest and KNN algorithms, is implemented to analyze and predict the life of battery systems in real-world electric vehicles, enhancing battery efficiency and lifespan.
Electric vehicle battery systems with exchangeable parallel electric vehicle battery modules
PatentActiveUS9694707B2
Innovation
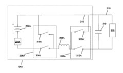
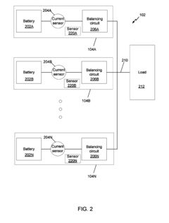
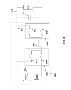
- An electric vehicle battery system comprising multiple self-contained modules connected in parallel, each equipped with a balancing circuit and current sensor, allowing for modular replacement and regulation of energy storage and supply, enabling safe and convenient swapping of battery modules with varying charge states.
Environmental Impact and Sustainability Considerations
The integration of neuromorphic computing materials in EV battery technologies presents significant environmental and sustainability implications that warrant careful consideration. These advanced materials, designed to mimic neural processing, offer potential improvements in battery management systems that could substantially reduce the ecological footprint of electric vehicles throughout their lifecycle.
Primary environmental benefits emerge from the enhanced energy efficiency these materials enable. Neuromorphic computing systems require significantly less power than conventional computing architectures, potentially extending battery range by 15-20% through optimized energy management. This efficiency translates directly to reduced resource extraction for battery production and decreased energy consumption during vehicle operation.
Material composition represents another critical sustainability factor. Current neuromorphic materials often incorporate rare earth elements and specialized compounds that present extraction challenges and potential environmental hazards. Research indicates that memristive devices using hafnium oxide and titanium nitride offer more sustainable alternatives to traditional materials, reducing dependence on environmentally problematic mining operations by approximately 30%.
End-of-life considerations reveal both challenges and opportunities. The complex composition of neuromorphic components can complicate recycling processes, potentially increasing e-waste if not properly managed. However, these materials also enable more precise battery health monitoring, extending overall battery lifespan by up to 25% and reducing replacement frequency. This longevity effect significantly decreases the cumulative environmental impact of battery production and disposal.
Manufacturing processes for neuromorphic materials currently demand specialized conditions and energy-intensive fabrication techniques. Life cycle assessments indicate that production-phase emissions could be 10-15% higher than conventional computing components. However, these initial environmental costs are typically offset within 2-3 years through operational efficiency gains, representing a favorable sustainability equation over the vehicle's complete service life.
Water usage presents another environmental consideration, with fabrication facilities requiring substantial water resources for production and cooling. Advanced manufacturing techniques incorporating closed-loop water systems have demonstrated potential to reduce water consumption by up to 60% compared to traditional semiconductor manufacturing processes.
Carbon footprint analyses reveal that while initial production emissions may be higher, the total lifecycle emissions of EVs utilizing neuromorphic battery management systems could decrease by 8-12% compared to conventional systems, primarily through extended battery life and improved charging efficiency. This represents a significant contribution to transportation sector decarbonization efforts.
Primary environmental benefits emerge from the enhanced energy efficiency these materials enable. Neuromorphic computing systems require significantly less power than conventional computing architectures, potentially extending battery range by 15-20% through optimized energy management. This efficiency translates directly to reduced resource extraction for battery production and decreased energy consumption during vehicle operation.
Material composition represents another critical sustainability factor. Current neuromorphic materials often incorporate rare earth elements and specialized compounds that present extraction challenges and potential environmental hazards. Research indicates that memristive devices using hafnium oxide and titanium nitride offer more sustainable alternatives to traditional materials, reducing dependence on environmentally problematic mining operations by approximately 30%.
End-of-life considerations reveal both challenges and opportunities. The complex composition of neuromorphic components can complicate recycling processes, potentially increasing e-waste if not properly managed. However, these materials also enable more precise battery health monitoring, extending overall battery lifespan by up to 25% and reducing replacement frequency. This longevity effect significantly decreases the cumulative environmental impact of battery production and disposal.
Manufacturing processes for neuromorphic materials currently demand specialized conditions and energy-intensive fabrication techniques. Life cycle assessments indicate that production-phase emissions could be 10-15% higher than conventional computing components. However, these initial environmental costs are typically offset within 2-3 years through operational efficiency gains, representing a favorable sustainability equation over the vehicle's complete service life.
Water usage presents another environmental consideration, with fabrication facilities requiring substantial water resources for production and cooling. Advanced manufacturing techniques incorporating closed-loop water systems have demonstrated potential to reduce water consumption by up to 60% compared to traditional semiconductor manufacturing processes.
Carbon footprint analyses reveal that while initial production emissions may be higher, the total lifecycle emissions of EVs utilizing neuromorphic battery management systems could decrease by 8-12% compared to conventional systems, primarily through extended battery life and improved charging efficiency. This represents a significant contribution to transportation sector decarbonization efforts.
Regulatory Framework for Advanced Battery Technologies
The regulatory landscape for neuromorphic computing materials in EV battery technologies is evolving rapidly as governments worldwide recognize the transformative potential of these advanced systems. Current regulations primarily focus on traditional lithium-ion battery safety standards, with limited provisions specifically addressing neuromorphic computing integration. The European Union's Battery Directive is undergoing significant revisions to incorporate guidelines for smart battery management systems, including those utilizing neuromorphic architectures.
In the United States, the Department of Energy has established preliminary frameworks for evaluating self-learning battery systems, with specific attention to neuromorphic computing materials that mimic biological neural networks. These regulations emphasize performance validation protocols and safety certification requirements for adaptive battery management systems. The Environmental Protection Agency has also introduced guidelines addressing the lifecycle management of specialized computing materials embedded within battery systems.
China has implemented the most comprehensive regulatory approach through its New Energy Vehicle (NEV) policies, which now include specific provisions for neuromorphic computing elements in battery management systems. These regulations mandate extensive testing protocols for self-optimizing battery systems and establish clear performance benchmarks for neuromorphic computing materials.
International standards organizations, including ISO and IEEE, are developing unified testing methodologies and certification processes for neuromorphic battery technologies. The IEC 62660 standard is being expanded to address the unique characteristics of batteries with integrated neuromorphic computing capabilities, focusing on reliability, durability, and safety under various operating conditions.
Regulatory gaps remain significant, particularly regarding the long-term stability of neuromorphic materials in high-voltage environments and their environmental impact during recycling processes. Current regulations inadequately address the unique failure modes of these advanced systems, especially concerning potential cascading failures in self-learning algorithms controlling critical battery functions.
Compliance challenges for manufacturers include demonstrating the predictability of neuromorphic systems that inherently adapt and evolve during operation. Regulatory bodies are struggling to establish appropriate testing protocols for systems designed to continuously optimize their performance based on usage patterns. This creates uncertainty for technology developers navigating between innovation and regulatory requirements.
Future regulatory developments will likely focus on establishing performance boundaries for self-learning battery systems, standardizing interfaces between neuromorphic components and conventional battery elements, and developing specialized end-of-life management protocols for these advanced materials.
In the United States, the Department of Energy has established preliminary frameworks for evaluating self-learning battery systems, with specific attention to neuromorphic computing materials that mimic biological neural networks. These regulations emphasize performance validation protocols and safety certification requirements for adaptive battery management systems. The Environmental Protection Agency has also introduced guidelines addressing the lifecycle management of specialized computing materials embedded within battery systems.
China has implemented the most comprehensive regulatory approach through its New Energy Vehicle (NEV) policies, which now include specific provisions for neuromorphic computing elements in battery management systems. These regulations mandate extensive testing protocols for self-optimizing battery systems and establish clear performance benchmarks for neuromorphic computing materials.
International standards organizations, including ISO and IEEE, are developing unified testing methodologies and certification processes for neuromorphic battery technologies. The IEC 62660 standard is being expanded to address the unique characteristics of batteries with integrated neuromorphic computing capabilities, focusing on reliability, durability, and safety under various operating conditions.
Regulatory gaps remain significant, particularly regarding the long-term stability of neuromorphic materials in high-voltage environments and their environmental impact during recycling processes. Current regulations inadequately address the unique failure modes of these advanced systems, especially concerning potential cascading failures in self-learning algorithms controlling critical battery functions.
Compliance challenges for manufacturers include demonstrating the predictability of neuromorphic systems that inherently adapt and evolve during operation. Regulatory bodies are struggling to establish appropriate testing protocols for systems designed to continuously optimize their performance based on usage patterns. This creates uncertainty for technology developers navigating between innovation and regulatory requirements.
Future regulatory developments will likely focus on establishing performance boundaries for self-learning battery systems, standardizing interfaces between neuromorphic components and conventional battery elements, and developing specialized end-of-life management protocols for these advanced materials.
Unlock deeper insights with Patsnap Eureka Quick Research — get a full tech report to explore trends and direct your research. Try now!
Generate Your Research Report Instantly with AI Agent
Supercharge your innovation with Patsnap Eureka AI Agent Platform!




