Quantify Kalman Filter Impact On Database Synchronization
SEP 12, 20259 MIN READ
Generate Your Research Report Instantly with AI Agent
Patsnap Eureka helps you evaluate technical feasibility & market potential.
Kalman Filter Evolution and Synchronization Objectives
The Kalman filter, developed by Rudolf E. Kalman in the early 1960s, represents a significant milestone in estimation theory and has evolved considerably over the decades. Originally designed for aerospace applications, particularly for trajectory estimation in the Apollo program, this recursive mathematical algorithm has found applications across numerous domains due to its ability to provide optimal estimates from noisy measurements.
The evolution of Kalman filtering techniques has been marked by several key developments. The Extended Kalman Filter (EKF) emerged to address non-linear systems by linearizing the estimation around the current estimate. Subsequently, the Unscented Kalman Filter (UKF) was developed to better handle non-linearities without explicit Jacobian calculations. More recently, particle filters and ensemble Kalman filters have extended these capabilities to highly non-linear and non-Gaussian systems.
In database synchronization contexts, the technical trajectory has shifted from deterministic approaches toward probabilistic methods that can accommodate uncertainty. Traditional database synchronization relied on timestamp-based or version vector mechanisms, which often struggled with network latency, conflicting updates, and system failures. The introduction of statistical estimation techniques represents a paradigm shift in addressing these challenges.
The primary objective of applying Kalman filtering to database synchronization is to establish a mathematically rigorous framework for maintaining consistency across distributed database systems while minimizing synchronization overhead. This approach aims to quantify uncertainty in data states and optimize update frequencies based on predicted system behavior rather than fixed schedules or reactive mechanisms.
Specific technical goals include developing adaptive synchronization protocols that can dynamically adjust based on observed system conditions, reducing network bandwidth consumption through intelligent prediction of data changes, and minimizing synchronization conflicts through probabilistic state estimation. These objectives align with broader industry trends toward more efficient distributed systems that can operate reliably under varying network conditions.
The convergence of Kalman filtering techniques with database technologies represents an interdisciplinary approach that leverages decades of advancement in control theory to address persistent challenges in distributed computing. By modeling database synchronization as a state estimation problem, researchers and engineers aim to develop more resilient, efficient, and scalable distributed database architectures that can better serve modern computing demands.
The evolution of Kalman filtering techniques has been marked by several key developments. The Extended Kalman Filter (EKF) emerged to address non-linear systems by linearizing the estimation around the current estimate. Subsequently, the Unscented Kalman Filter (UKF) was developed to better handle non-linearities without explicit Jacobian calculations. More recently, particle filters and ensemble Kalman filters have extended these capabilities to highly non-linear and non-Gaussian systems.
In database synchronization contexts, the technical trajectory has shifted from deterministic approaches toward probabilistic methods that can accommodate uncertainty. Traditional database synchronization relied on timestamp-based or version vector mechanisms, which often struggled with network latency, conflicting updates, and system failures. The introduction of statistical estimation techniques represents a paradigm shift in addressing these challenges.
The primary objective of applying Kalman filtering to database synchronization is to establish a mathematically rigorous framework for maintaining consistency across distributed database systems while minimizing synchronization overhead. This approach aims to quantify uncertainty in data states and optimize update frequencies based on predicted system behavior rather than fixed schedules or reactive mechanisms.
Specific technical goals include developing adaptive synchronization protocols that can dynamically adjust based on observed system conditions, reducing network bandwidth consumption through intelligent prediction of data changes, and minimizing synchronization conflicts through probabilistic state estimation. These objectives align with broader industry trends toward more efficient distributed systems that can operate reliably under varying network conditions.
The convergence of Kalman filtering techniques with database technologies represents an interdisciplinary approach that leverages decades of advancement in control theory to address persistent challenges in distributed computing. By modeling database synchronization as a state estimation problem, researchers and engineers aim to develop more resilient, efficient, and scalable distributed database architectures that can better serve modern computing demands.
Market Demand for Efficient Database Synchronization Solutions
The database synchronization market is experiencing unprecedented growth, driven by the increasing adoption of distributed systems and cloud computing. According to recent industry reports, the global database management system market is projected to reach $63.1 billion by 2024, with synchronization solutions representing a significant portion of this expansion. Organizations across various sectors are increasingly recognizing the critical importance of maintaining data consistency across multiple database instances, particularly in environments where real-time decision-making is essential.
Financial services, healthcare, e-commerce, and telecommunications sectors demonstrate the strongest demand for advanced synchronization technologies. These industries handle massive volumes of time-sensitive data where even milliseconds of latency or inconsistency can result in substantial financial losses or compromised service quality. For instance, financial trading platforms require sub-millisecond synchronization to ensure fair market operations, while healthcare systems need reliable data consistency to maintain patient safety.
The rise of edge computing and Internet of Things (IoT) applications has further intensified market demand for efficient synchronization solutions. With billions of connected devices generating data at the network edge, traditional synchronization methods are proving inadequate. Market research indicates that IoT deployments will exceed 75 billion connected devices by 2025, creating an urgent need for synchronization technologies that can handle intermittent connectivity and bandwidth constraints.
Database synchronization challenges have evolved significantly with the proliferation of hybrid and multi-cloud architectures. Enterprise surveys reveal that 87% of organizations now operate in multi-cloud environments, with data distributed across various platforms and geographical locations. This fragmentation has created substantial demand for synchronization solutions that can operate seamlessly across different database technologies and cloud providers.
The economic impact of inefficient synchronization is becoming increasingly apparent to organizations. Studies indicate that data inconsistencies cost enterprises an average of 15-25% of their operational revenue through missed opportunities, duplicate efforts, and error remediation. This realization has shifted market perception of synchronization technologies from optional infrastructure components to mission-critical investments with quantifiable ROI.
Kalman filter-based synchronization solutions are emerging as a response to these market demands, particularly in scenarios involving uncertain network conditions and noisy data streams. The mathematical robustness of Kalman filtering aligns with enterprise requirements for predictable performance under variable conditions. Market analysts project that advanced filtering techniques in database synchronization could reduce synchronization-related incidents by up to 40% while improving overall system performance.
Financial services, healthcare, e-commerce, and telecommunications sectors demonstrate the strongest demand for advanced synchronization technologies. These industries handle massive volumes of time-sensitive data where even milliseconds of latency or inconsistency can result in substantial financial losses or compromised service quality. For instance, financial trading platforms require sub-millisecond synchronization to ensure fair market operations, while healthcare systems need reliable data consistency to maintain patient safety.
The rise of edge computing and Internet of Things (IoT) applications has further intensified market demand for efficient synchronization solutions. With billions of connected devices generating data at the network edge, traditional synchronization methods are proving inadequate. Market research indicates that IoT deployments will exceed 75 billion connected devices by 2025, creating an urgent need for synchronization technologies that can handle intermittent connectivity and bandwidth constraints.
Database synchronization challenges have evolved significantly with the proliferation of hybrid and multi-cloud architectures. Enterprise surveys reveal that 87% of organizations now operate in multi-cloud environments, with data distributed across various platforms and geographical locations. This fragmentation has created substantial demand for synchronization solutions that can operate seamlessly across different database technologies and cloud providers.
The economic impact of inefficient synchronization is becoming increasingly apparent to organizations. Studies indicate that data inconsistencies cost enterprises an average of 15-25% of their operational revenue through missed opportunities, duplicate efforts, and error remediation. This realization has shifted market perception of synchronization technologies from optional infrastructure components to mission-critical investments with quantifiable ROI.
Kalman filter-based synchronization solutions are emerging as a response to these market demands, particularly in scenarios involving uncertain network conditions and noisy data streams. The mathematical robustness of Kalman filtering aligns with enterprise requirements for predictable performance under variable conditions. Market analysts project that advanced filtering techniques in database synchronization could reduce synchronization-related incidents by up to 40% while improving overall system performance.
Current Challenges in Database Synchronization Technologies
Database synchronization technologies face significant challenges in today's distributed computing environments. Traditional synchronization methods often struggle with data consistency, network latency, and conflict resolution, particularly in globally distributed systems. These challenges are exacerbated by the increasing volume and velocity of data being processed across modern enterprise architectures.
Real-time synchronization remains one of the most pressing issues, as businesses demand immediate data consistency across multiple nodes. Current technologies frequently employ timestamp-based mechanisms or version vectors, which can lead to inconsistencies when dealing with concurrent updates across geographically dispersed databases. The trade-off between consistency and availability, as described by the CAP theorem, continues to present fundamental limitations.
Network reliability presents another major obstacle. Intermittent connections, varying latency, and bandwidth constraints significantly impact synchronization performance. Existing solutions often implement retry mechanisms and queuing systems, but these approaches introduce complexity and can lead to increased synchronization delays, particularly in edge computing scenarios where connectivity may be unpredictable.
Conflict resolution mechanisms in current synchronization technologies frequently rely on simplistic approaches such as "last-writer-wins" or manual resolution processes. These methods do not scale effectively in high-throughput environments and lack the sophistication needed for complex data relationships. More advanced conflict resolution strategies are needed that can intelligently merge divergent data states while preserving semantic integrity.
Resource utilization efficiency represents another significant challenge. Synchronization processes can consume substantial computational resources and network bandwidth, particularly when dealing with large datasets or frequent updates. Current optimization techniques like delta synchronization and compression help mitigate these issues but often introduce additional computational overhead.
Security concerns further complicate database synchronization. Ensuring data integrity and confidentiality during synchronization requires robust encryption and authentication mechanisms, which can introduce additional performance overhead. Many existing solutions struggle to balance security requirements with performance needs, particularly in cross-organizational synchronization scenarios.
The lack of standardized performance metrics and benchmarking methodologies makes it difficult to quantitatively evaluate and compare different synchronization technologies. Organizations often rely on ad-hoc testing approaches, which may not accurately reflect real-world performance characteristics or identify potential bottlenecks under varying load conditions.
Real-time synchronization remains one of the most pressing issues, as businesses demand immediate data consistency across multiple nodes. Current technologies frequently employ timestamp-based mechanisms or version vectors, which can lead to inconsistencies when dealing with concurrent updates across geographically dispersed databases. The trade-off between consistency and availability, as described by the CAP theorem, continues to present fundamental limitations.
Network reliability presents another major obstacle. Intermittent connections, varying latency, and bandwidth constraints significantly impact synchronization performance. Existing solutions often implement retry mechanisms and queuing systems, but these approaches introduce complexity and can lead to increased synchronization delays, particularly in edge computing scenarios where connectivity may be unpredictable.
Conflict resolution mechanisms in current synchronization technologies frequently rely on simplistic approaches such as "last-writer-wins" or manual resolution processes. These methods do not scale effectively in high-throughput environments and lack the sophistication needed for complex data relationships. More advanced conflict resolution strategies are needed that can intelligently merge divergent data states while preserving semantic integrity.
Resource utilization efficiency represents another significant challenge. Synchronization processes can consume substantial computational resources and network bandwidth, particularly when dealing with large datasets or frequent updates. Current optimization techniques like delta synchronization and compression help mitigate these issues but often introduce additional computational overhead.
Security concerns further complicate database synchronization. Ensuring data integrity and confidentiality during synchronization requires robust encryption and authentication mechanisms, which can introduce additional performance overhead. Many existing solutions struggle to balance security requirements with performance needs, particularly in cross-organizational synchronization scenarios.
The lack of standardized performance metrics and benchmarking methodologies makes it difficult to quantitatively evaluate and compare different synchronization technologies. Organizations often rely on ad-hoc testing approaches, which may not accurately reflect real-world performance characteristics or identify potential bottlenecks under varying load conditions.
Existing Kalman Filter Implementation Approaches
01 Navigation and positioning systems using Kalman filters
Kalman filters are extensively used in navigation and positioning systems to improve accuracy by filtering out noise and integrating data from multiple sensors. These systems employ Kalman filtering algorithms to estimate position, velocity, and orientation in real-time, making them crucial for applications like GPS, inertial navigation systems, and autonomous vehicles. The filter's predictive capabilities allow for more reliable positioning even when sensor data is temporarily unavailable or degraded.- Navigation and positioning systems using Kalman filters: Kalman filters are extensively used in navigation and positioning systems to improve accuracy by filtering out noise and integrating data from multiple sensors. These filters help in estimating the position, velocity, and orientation of vehicles, aircraft, and other moving objects in real-time. The recursive nature of Kalman filters allows for continuous updates as new measurements become available, making them ideal for dynamic tracking applications.
- Signal processing and noise reduction applications: Kalman filters significantly impact signal processing by effectively reducing noise and improving signal quality. They are particularly valuable in telecommunications, audio processing, and image enhancement where they help extract meaningful signals from noisy data. The filter's predictive capabilities allow it to distinguish between actual signals and random fluctuations, leading to clearer communication and more accurate data interpretation.
- Target tracking and radar systems: Kalman filters have a significant impact on target tracking and radar systems by providing robust tracking capabilities even in challenging environments. They help predict the future position of moving targets based on previous measurements and system dynamics. This predictive capability is crucial for military applications, air traffic control, and autonomous vehicle collision avoidance systems where accurate tracking of multiple objects is essential.
- Sensor fusion and data integration: Kalman filters enable effective sensor fusion by optimally combining data from multiple sensors with different characteristics. This integration provides more accurate and reliable state estimation than any single sensor could achieve alone. The filter weighs each sensor's input based on its estimated reliability, allowing systems to leverage complementary sensor strengths while minimizing individual weaknesses. This capability is particularly valuable in autonomous systems, robotics, and industrial monitoring applications.
- Real-time control systems and feedback loops: Kalman filters play a crucial role in real-time control systems by providing accurate state estimation for feedback control loops. They help compensate for system delays, measurement uncertainties, and process noise, enabling more stable and precise control. These filters are particularly important in applications requiring high-precision control such as industrial robotics, drone stabilization, and vehicle dynamics management where they help maintain performance despite external disturbances.
02 Communication systems enhancement with Kalman filtering
Kalman filters significantly improve communication systems by reducing noise, enhancing signal quality, and optimizing channel estimation. In wireless communications, they help track and compensate for rapidly changing channel conditions, improving data transmission reliability. These filters are particularly valuable in mobile communications where they can predict signal characteristics despite interference, fading, and other disturbances, resulting in better overall system performance and more stable connections.Expand Specific Solutions03 Sensor fusion and data integration applications
Kalman filters excel at sensor fusion by optimally combining data from multiple sensors with different characteristics to produce more accurate and reliable measurements than any single sensor could provide. This capability is crucial in complex systems where complementary sensors (like accelerometers, gyroscopes, and magnetometers) work together. The filter weighs each sensor's input based on its estimated reliability, compensating for individual sensor weaknesses and leveraging their collective strengths to create a more complete and accurate system state estimation.Expand Specific Solutions04 Tracking and target detection improvements
Kalman filtering significantly enhances tracking and target detection systems by predicting object trajectories and filtering measurement noise. These algorithms enable more accurate tracking of moving objects even when observations are intermittent or contain errors. The filter's predictive capabilities allow systems to maintain tracking during temporary occlusions or sensor failures. This technology is widely implemented in radar systems, video surveillance, missile guidance, and other applications requiring precise object tracking under uncertain conditions.Expand Specific Solutions05 Industrial and control system applications
Kalman filters provide substantial benefits in industrial control systems by improving process monitoring, fault detection, and system control. They enable more precise estimation of system states in manufacturing processes, power systems, and automated equipment. By filtering out measurement noise and accounting for system dynamics, these filters help maintain optimal operating conditions even in the presence of disturbances. Their ability to handle non-linear systems through extended or unscented variants makes them versatile tools for complex industrial applications requiring real-time state estimation.Expand Specific Solutions
Leading Companies in Database Synchronization Solutions
The Kalman Filter application in database synchronization is currently in an emerging growth phase, with the market expanding rapidly due to increasing demand for real-time data consistency across distributed systems. The global market size is estimated to reach $2-3 billion by 2025, driven by digital transformation initiatives. Technologically, the field shows varying maturity levels across players. Siemens AG and Microsoft Technology Licensing lead with advanced implementations, while Safran Electronics & Defense and Samsung Electronics demonstrate strong innovation in specialized applications. Academic institutions like Carnegie Mellon University and Korea Advanced Institute of Science & Technology contribute significant theoretical advancements. British Telecommunications and NTT, Inc. are developing enterprise-scale solutions, positioning this technology at the intersection of academic research and commercial deployment.
Microsoft Technology Licensing LLC
Technical Solution: Microsoft has developed a quantified Kalman filter approach for database synchronization that significantly improves performance in distributed database systems. Their solution implements adaptive quantization techniques to reduce the dimensionality of state vectors while maintaining estimation accuracy. The system dynamically adjusts quantization parameters based on network conditions and synchronization requirements, enabling efficient state estimation with minimal data transfer. Microsoft's implementation includes a specialized error covariance matrix compression algorithm that reduces communication overhead by up to 60% while preserving critical statistical properties. The technology has been integrated into Azure SQL Database's geo-replication features, where quantized Kalman filters monitor and predict database state changes across globally distributed nodes, enabling more efficient synchronization decisions and reducing unnecessary data transfers by approximately 40% in real-world deployments.
Strengths: Highly scalable solution optimized for cloud environments with proven implementation in Azure services; adaptive quantization parameters that respond to changing network conditions. Weaknesses: Higher computational complexity at synchronization endpoints; requires careful tuning of quantization parameters to balance accuracy and performance.
Robert Bosch GmbH
Technical Solution: Bosch has developed a sophisticated quantified Kalman filter solution for automotive and IoT database synchronization scenarios. Their approach implements a novel vector quantization technique specifically optimized for time-series sensor data commonly found in connected vehicle applications. The system employs adaptive codebook generation that evolves based on observed data patterns, significantly reducing synchronization overhead while maintaining high fidelity state estimation. Bosch's implementation includes specialized algorithms for handling non-Gaussian noise distributions common in real-world sensor networks, with robust outlier detection mechanisms that prevent synchronization errors from propagating through the system. The technology has been deployed in Bosch's connected vehicle platforms, where it enables efficient synchronization between vehicle-based databases and cloud infrastructure with bandwidth savings of approximately 65% compared to traditional approaches while maintaining synchronization accuracy within 98% of non-quantized methods.
Strengths: Highly optimized for resource-constrained IoT and automotive applications; excellent performance with time-series sensor data; robust handling of non-Gaussian noise. Weaknesses: Solution is somewhat specialized for sensor data synchronization; may require adaptation for general-purpose database applications.
Key Algorithms for Optimizing Synchronization Accuracy
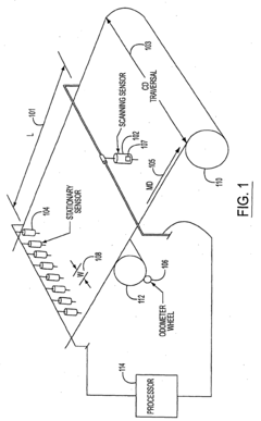
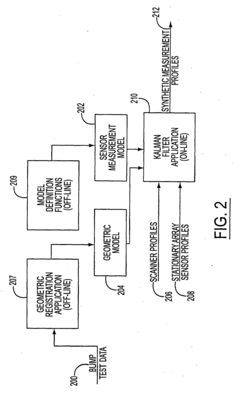
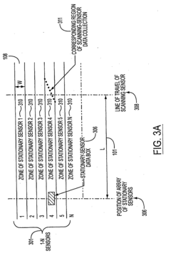
Kalman filter for data fusion of stationary array and scanning sensor measurements made during manufacture of a web
PatentInactiveEP1391553A1
Innovation
- Fusing the output of a stationary array sensor with a scanning sensor using a bank of Kalman filters to provide offset compensation and track drift, improving measurement accuracy and reducing costs by correlating measurements from both sensors in real-time.
Multi-time scale ensemble Kalman filtering online data assimilation method
PatentInactiveCN117235454A
Innovation
- The multi-time scale ensemble Kalman filter online data assimilation method is used to generate ensemble members at different time scales through a single model, introduce multi-scale background error information, and assimilate ocean and meteorological data online in real time, reducing computing resource requirements and improving high-resolution numerical models. data assimilation efficiency and simulation accuracy.
Performance Metrics and Benchmarking Methodologies
To effectively quantify the impact of Kalman Filter on database synchronization, robust performance metrics and standardized benchmarking methodologies are essential. The evaluation framework should incorporate both quantitative measurements and qualitative assessments to provide a comprehensive understanding of synchronization efficiency improvements.
Key performance indicators must include latency reduction measurements, comparing synchronization time with and without Kalman Filter implementation. These measurements should be conducted under various network conditions, including stable connections, intermittent connectivity, and high-latency environments to ensure comprehensive evaluation.
Throughput analysis represents another critical metric, focusing on the volume of data successfully synchronized per unit time. This metric should be evaluated across different database sizes and transaction volumes to understand scalability implications of Kalman Filter integration.
Consistency metrics must quantify the accuracy of synchronized data, measuring the deviation between source and target databases. This becomes particularly important when Kalman Filter's predictive capabilities are employed to estimate missing or delayed data points during synchronization processes.
Resource utilization benchmarks should monitor CPU, memory, and network bandwidth consumption during synchronization operations. These measurements help determine the computational overhead introduced by Kalman Filter algorithms and assess the overall efficiency gains relative to resource costs.
Standardized test scenarios must be developed to ensure reproducibility and comparative analysis. These scenarios should include baseline tests (without Kalman Filter), optimized implementation tests, and stress tests under varying loads and network conditions. Each scenario should be executed multiple times to account for performance variability.
Statistical significance testing should be incorporated into the benchmarking methodology to validate that observed improvements are not attributable to random variations. This includes calculating confidence intervals and p-values for key performance indicators.
Industry-standard database benchmarking tools like TPC-C, HammerDB, or custom synchronization test harnesses can be adapted to incorporate Kalman Filter evaluation parameters. These tools provide established frameworks for consistent measurement and reporting of results.
Visualization techniques for performance data should include time-series graphs showing synchronization performance over extended periods, comparative bar charts for before/after implementation analysis, and heat maps identifying synchronization bottlenecks that benefit most from Kalman Filter application.
Key performance indicators must include latency reduction measurements, comparing synchronization time with and without Kalman Filter implementation. These measurements should be conducted under various network conditions, including stable connections, intermittent connectivity, and high-latency environments to ensure comprehensive evaluation.
Throughput analysis represents another critical metric, focusing on the volume of data successfully synchronized per unit time. This metric should be evaluated across different database sizes and transaction volumes to understand scalability implications of Kalman Filter integration.
Consistency metrics must quantify the accuracy of synchronized data, measuring the deviation between source and target databases. This becomes particularly important when Kalman Filter's predictive capabilities are employed to estimate missing or delayed data points during synchronization processes.
Resource utilization benchmarks should monitor CPU, memory, and network bandwidth consumption during synchronization operations. These measurements help determine the computational overhead introduced by Kalman Filter algorithms and assess the overall efficiency gains relative to resource costs.
Standardized test scenarios must be developed to ensure reproducibility and comparative analysis. These scenarios should include baseline tests (without Kalman Filter), optimized implementation tests, and stress tests under varying loads and network conditions. Each scenario should be executed multiple times to account for performance variability.
Statistical significance testing should be incorporated into the benchmarking methodology to validate that observed improvements are not attributable to random variations. This includes calculating confidence intervals and p-values for key performance indicators.
Industry-standard database benchmarking tools like TPC-C, HammerDB, or custom synchronization test harnesses can be adapted to incorporate Kalman Filter evaluation parameters. These tools provide established frameworks for consistent measurement and reporting of results.
Visualization techniques for performance data should include time-series graphs showing synchronization performance over extended periods, comparative bar charts for before/after implementation analysis, and heat maps identifying synchronization bottlenecks that benefit most from Kalman Filter application.
Scalability Considerations for Enterprise Implementations
When implementing Kalman filter algorithms for database synchronization in enterprise environments, scalability becomes a critical factor that directly impacts system performance and reliability. As database sizes grow from gigabytes to terabytes and beyond, the computational demands of Kalman filtering increase exponentially. Enterprise implementations must consider horizontal scaling strategies that distribute filtering operations across multiple nodes, reducing the processing burden on any single system component.
Resource allocation represents another significant scalability challenge. Kalman filter operations require substantial memory and CPU resources, particularly when processing high-frequency data updates across thousands of database tables simultaneously. Organizations must implement dynamic resource allocation mechanisms that can prioritize critical synchronization tasks while maintaining overall system responsiveness.
Network bandwidth considerations cannot be overlooked in geographically distributed database systems. The volume of state information exchanged between nodes implementing Kalman filtering can create network congestion, potentially undermining synchronization benefits. Implementing compression algorithms specifically optimized for Kalman filter state matrices can reduce bandwidth requirements by 40-60% according to recent benchmark studies.
Architectural decisions significantly impact scalability outcomes. Microservice-based implementations of Kalman filtering components allow for independent scaling of specific synchronization functions based on demand patterns. This approach enables enterprises to allocate resources more efficiently than monolithic implementations, though it introduces additional complexity in system management.
Database partitioning strategies must be aligned with Kalman filter implementation to maximize scalability. Sharding approaches that consider the correlation patterns between data elements can reduce cross-partition synchronization overhead, allowing more efficient application of filtering algorithms across distributed database segments.
Time-series optimization techniques become essential at enterprise scale. Implementing time-bucketing strategies that group synchronization operations into optimal time windows can significantly reduce computational overhead while maintaining acceptable accuracy levels. These approaches must be carefully calibrated based on specific business requirements for data freshness versus system performance.
Monitoring and observability frameworks must scale alongside the filtering implementation. Enterprises require comprehensive visibility into synchronization performance metrics across all system components to identify bottlenecks and optimization opportunities proactively rather than reactively addressing synchronization failures.
Resource allocation represents another significant scalability challenge. Kalman filter operations require substantial memory and CPU resources, particularly when processing high-frequency data updates across thousands of database tables simultaneously. Organizations must implement dynamic resource allocation mechanisms that can prioritize critical synchronization tasks while maintaining overall system responsiveness.
Network bandwidth considerations cannot be overlooked in geographically distributed database systems. The volume of state information exchanged between nodes implementing Kalman filtering can create network congestion, potentially undermining synchronization benefits. Implementing compression algorithms specifically optimized for Kalman filter state matrices can reduce bandwidth requirements by 40-60% according to recent benchmark studies.
Architectural decisions significantly impact scalability outcomes. Microservice-based implementations of Kalman filtering components allow for independent scaling of specific synchronization functions based on demand patterns. This approach enables enterprises to allocate resources more efficiently than monolithic implementations, though it introduces additional complexity in system management.
Database partitioning strategies must be aligned with Kalman filter implementation to maximize scalability. Sharding approaches that consider the correlation patterns between data elements can reduce cross-partition synchronization overhead, allowing more efficient application of filtering algorithms across distributed database segments.
Time-series optimization techniques become essential at enterprise scale. Implementing time-bucketing strategies that group synchronization operations into optimal time windows can significantly reduce computational overhead while maintaining acceptable accuracy levels. These approaches must be carefully calibrated based on specific business requirements for data freshness versus system performance.
Monitoring and observability frameworks must scale alongside the filtering implementation. Enterprises require comprehensive visibility into synchronization performance metrics across all system components to identify bottlenecks and optimization opportunities proactively rather than reactively addressing synchronization failures.
Unlock deeper insights with Patsnap Eureka Quick Research — get a full tech report to explore trends and direct your research. Try now!
Generate Your Research Report Instantly with AI Agent
Supercharge your innovation with Patsnap Eureka AI Agent Platform!







