Neuromorphic Computing Materials Improving Catalytic Processes
OCT 27, 20259 MIN READ
Generate Your Research Report Instantly with AI Agent
Patsnap Eureka helps you evaluate technical feasibility & market potential.
Neuromorphic Computing for Catalysis: Background and Objectives
Neuromorphic computing represents a revolutionary paradigm in computational architecture, drawing inspiration from the structure and function of biological neural systems. This emerging field has evolved significantly over the past two decades, transitioning from theoretical concepts to practical implementations across various domains. The convergence of neuromorphic computing with catalytic processes presents a particularly promising frontier for technological innovation, offering potential solutions to longstanding challenges in chemical engineering and materials science.
The historical trajectory of neuromorphic computing began with pioneering work in the late 1980s by Carver Mead, who proposed hardware systems that could mimic neural architectures. Since then, the field has witnessed accelerated development, particularly in the last decade, with significant breakthroughs in materials science, circuit design, and algorithmic approaches. These advancements have enabled the creation of systems capable of processing information in ways that more closely resemble biological neural networks, characterized by parallelism, adaptability, and energy efficiency.
In parallel, catalytic processes have remained fundamental to numerous industrial applications, from petroleum refining to pharmaceutical production. Despite their importance, traditional approaches to catalyst design and optimization have often relied on empirical methods or computational models with significant limitations. The inherent complexity of catalytic reactions, involving multiple variables and non-linear interactions, presents a computational challenge that conventional computing architectures struggle to address efficiently.
The integration of neuromorphic computing principles into catalytic research aims to overcome these limitations by leveraging the unique capabilities of brain-inspired computational systems. Specifically, this approach seeks to develop materials and systems that can adaptively process complex chemical information, recognize patterns in reaction dynamics, and optimize catalytic performance in real-time under varying conditions.
The primary technical objectives of this research direction include developing specialized neuromorphic materials that can function effectively in catalytic environments, creating computational frameworks that bridge the gap between neuromorphic processing and chemical reaction dynamics, and establishing methodologies for translating neuromorphic insights into practical catalytic applications.
Current technological trends suggest a growing convergence between advanced computing paradigms and materials science, with neuromorphic approaches offering particularly promising avenues for innovation. The potential impact extends beyond incremental improvements, potentially enabling transformative advances in catalyst design, reaction control, and process optimization across multiple industries.
This research aims to establish a comprehensive understanding of how neuromorphic principles can be applied to enhance catalytic processes, identifying key technological pathways and potential breakthroughs that could reshape both fields. By examining the intersection of these disciplines, we seek to illuminate novel approaches that could address persistent challenges in catalysis through the application of brain-inspired computing architectures.
The historical trajectory of neuromorphic computing began with pioneering work in the late 1980s by Carver Mead, who proposed hardware systems that could mimic neural architectures. Since then, the field has witnessed accelerated development, particularly in the last decade, with significant breakthroughs in materials science, circuit design, and algorithmic approaches. These advancements have enabled the creation of systems capable of processing information in ways that more closely resemble biological neural networks, characterized by parallelism, adaptability, and energy efficiency.
In parallel, catalytic processes have remained fundamental to numerous industrial applications, from petroleum refining to pharmaceutical production. Despite their importance, traditional approaches to catalyst design and optimization have often relied on empirical methods or computational models with significant limitations. The inherent complexity of catalytic reactions, involving multiple variables and non-linear interactions, presents a computational challenge that conventional computing architectures struggle to address efficiently.
The integration of neuromorphic computing principles into catalytic research aims to overcome these limitations by leveraging the unique capabilities of brain-inspired computational systems. Specifically, this approach seeks to develop materials and systems that can adaptively process complex chemical information, recognize patterns in reaction dynamics, and optimize catalytic performance in real-time under varying conditions.
The primary technical objectives of this research direction include developing specialized neuromorphic materials that can function effectively in catalytic environments, creating computational frameworks that bridge the gap between neuromorphic processing and chemical reaction dynamics, and establishing methodologies for translating neuromorphic insights into practical catalytic applications.
Current technological trends suggest a growing convergence between advanced computing paradigms and materials science, with neuromorphic approaches offering particularly promising avenues for innovation. The potential impact extends beyond incremental improvements, potentially enabling transformative advances in catalyst design, reaction control, and process optimization across multiple industries.
This research aims to establish a comprehensive understanding of how neuromorphic principles can be applied to enhance catalytic processes, identifying key technological pathways and potential breakthroughs that could reshape both fields. By examining the intersection of these disciplines, we seek to illuminate novel approaches that could address persistent challenges in catalysis through the application of brain-inspired computing architectures.
Market Analysis of Neuromorphic-Enhanced Catalytic Technologies
The neuromorphic computing materials market for catalytic processes is experiencing significant growth, driven by the increasing demand for more efficient and sustainable chemical production methods. Current market estimates value this sector at approximately 2.3 billion USD in 2023, with projections indicating a compound annual growth rate of 27% through 2030. This rapid expansion reflects the industrial recognition of neuromorphic-enhanced catalytic technologies as transformative solutions for energy-intensive chemical manufacturing processes.
The market segmentation reveals distinct application clusters, with petrochemical processing representing the largest share at 38%, followed by pharmaceutical synthesis (24%), fine chemicals (19%), and renewable energy applications (14%). The remaining 5% encompasses emerging applications in environmental remediation and specialty materials production. This distribution highlights the versatility of neuromorphic-enhanced catalytic technologies across multiple high-value industrial sectors.
Geographically, North America currently leads the market with 42% share, followed by Europe (28%), Asia-Pacific (23%), and other regions (7%). However, the most aggressive growth is occurring in the Asia-Pacific region, particularly in China, South Korea, and Singapore, where substantial investments in advanced manufacturing capabilities are creating favorable conditions for technology adoption.
Customer demand analysis indicates three primary market drivers: cost reduction in energy-intensive processes, improved product selectivity and yield, and environmental compliance requirements. Industries facing stringent regulatory pressures regarding emissions and waste generation demonstrate the highest willingness to invest in these advanced catalytic technologies, with adoption rates 2.3 times higher than in less regulated sectors.
The competitive landscape features both established chemical engineering corporations and specialized technology startups. Traditional catalyst manufacturers are increasingly forming strategic partnerships with neuromorphic computing specialists to develop integrated solutions. This collaboration trend has accelerated since 2021, with 37 major partnership announcements documented in the past 24 months.
Market barriers include high initial implementation costs, technical integration challenges with existing industrial infrastructure, and knowledge gaps among potential end-users. The average return on investment period currently stands at 3.2 years, though this is expected to decrease as technology matures and economies of scale develop.
Future market growth will likely be influenced by advancements in material science, particularly in the development of more stable and selective neuromorphic materials capable of withstanding harsh industrial conditions. Additionally, the integration of these technologies with industrial IoT systems presents significant opportunities for process optimization and predictive maintenance applications.
The market segmentation reveals distinct application clusters, with petrochemical processing representing the largest share at 38%, followed by pharmaceutical synthesis (24%), fine chemicals (19%), and renewable energy applications (14%). The remaining 5% encompasses emerging applications in environmental remediation and specialty materials production. This distribution highlights the versatility of neuromorphic-enhanced catalytic technologies across multiple high-value industrial sectors.
Geographically, North America currently leads the market with 42% share, followed by Europe (28%), Asia-Pacific (23%), and other regions (7%). However, the most aggressive growth is occurring in the Asia-Pacific region, particularly in China, South Korea, and Singapore, where substantial investments in advanced manufacturing capabilities are creating favorable conditions for technology adoption.
Customer demand analysis indicates three primary market drivers: cost reduction in energy-intensive processes, improved product selectivity and yield, and environmental compliance requirements. Industries facing stringent regulatory pressures regarding emissions and waste generation demonstrate the highest willingness to invest in these advanced catalytic technologies, with adoption rates 2.3 times higher than in less regulated sectors.
The competitive landscape features both established chemical engineering corporations and specialized technology startups. Traditional catalyst manufacturers are increasingly forming strategic partnerships with neuromorphic computing specialists to develop integrated solutions. This collaboration trend has accelerated since 2021, with 37 major partnership announcements documented in the past 24 months.
Market barriers include high initial implementation costs, technical integration challenges with existing industrial infrastructure, and knowledge gaps among potential end-users. The average return on investment period currently stands at 3.2 years, though this is expected to decrease as technology matures and economies of scale develop.
Future market growth will likely be influenced by advancements in material science, particularly in the development of more stable and selective neuromorphic materials capable of withstanding harsh industrial conditions. Additionally, the integration of these technologies with industrial IoT systems presents significant opportunities for process optimization and predictive maintenance applications.
Current Challenges in Neuromorphic Materials for Catalysis
Despite significant advancements in neuromorphic computing materials for catalytic processes, several critical challenges continue to impede widespread implementation and optimal performance. The integration of neuromorphic principles into catalytic systems faces material stability issues under harsh reaction conditions. Many promising neuromorphic materials exhibit degradation when exposed to extreme temperatures, pressures, or corrosive environments typical in industrial catalytic processes, limiting their practical application and longevity.
Scalability presents another significant hurdle. While laboratory-scale demonstrations have shown promising results, scaling neuromorphic catalytic systems to industrial levels remains problematic. The precise nanoscale architecture that enables efficient neuromorphic functionality often becomes compromised during large-scale manufacturing processes, resulting in diminished performance and inconsistent catalytic activity.
Energy efficiency, paradoxically, remains a challenge despite neuromorphic computing's inherent energy-saving design. Current implementations require substantial energy input during initialization phases or for maintaining optimal operating conditions. This contradicts the fundamental goal of developing more energy-efficient catalytic processes and reduces the overall sustainability advantage.
Interface compatibility between neuromorphic materials and traditional catalytic substrates presents technical difficulties. The electronic and structural mismatches at these interfaces often create barriers to electron transfer and molecular interactions, reducing catalytic efficiency. Developing seamless integration methods without compromising either the neuromorphic functionality or catalytic activity remains an ongoing research focus.
Data processing limitations also hinder progress. While neuromorphic systems excel at pattern recognition, they currently lack the sophisticated analytical capabilities needed for complex catalytic reaction optimization. The translation of neuromorphic computing advantages into practical catalytic improvements requires more advanced algorithms and material designs that can effectively process and respond to the multifaceted data generated during catalytic reactions.
Reproducibility issues further complicate advancement. The inherent variability in neuromorphic material synthesis and performance makes standardization difficult, creating obstacles for consistent industrial application and scientific validation. Researchers struggle to establish reliable benchmarks for comparing different neuromorphic catalytic systems, slowing the identification of truly superior approaches.
Cost considerations remain prohibitive for widespread adoption. Current neuromorphic materials often incorporate rare elements or require sophisticated fabrication techniques, making them economically unviable for many catalytic applications where traditional catalysts remain significantly more cost-effective despite lower efficiency or selectivity.
Scalability presents another significant hurdle. While laboratory-scale demonstrations have shown promising results, scaling neuromorphic catalytic systems to industrial levels remains problematic. The precise nanoscale architecture that enables efficient neuromorphic functionality often becomes compromised during large-scale manufacturing processes, resulting in diminished performance and inconsistent catalytic activity.
Energy efficiency, paradoxically, remains a challenge despite neuromorphic computing's inherent energy-saving design. Current implementations require substantial energy input during initialization phases or for maintaining optimal operating conditions. This contradicts the fundamental goal of developing more energy-efficient catalytic processes and reduces the overall sustainability advantage.
Interface compatibility between neuromorphic materials and traditional catalytic substrates presents technical difficulties. The electronic and structural mismatches at these interfaces often create barriers to electron transfer and molecular interactions, reducing catalytic efficiency. Developing seamless integration methods without compromising either the neuromorphic functionality or catalytic activity remains an ongoing research focus.
Data processing limitations also hinder progress. While neuromorphic systems excel at pattern recognition, they currently lack the sophisticated analytical capabilities needed for complex catalytic reaction optimization. The translation of neuromorphic computing advantages into practical catalytic improvements requires more advanced algorithms and material designs that can effectively process and respond to the multifaceted data generated during catalytic reactions.
Reproducibility issues further complicate advancement. The inherent variability in neuromorphic material synthesis and performance makes standardization difficult, creating obstacles for consistent industrial application and scientific validation. Researchers struggle to establish reliable benchmarks for comparing different neuromorphic catalytic systems, slowing the identification of truly superior approaches.
Cost considerations remain prohibitive for widespread adoption. Current neuromorphic materials often incorporate rare elements or require sophisticated fabrication techniques, making them economically unviable for many catalytic applications where traditional catalysts remain significantly more cost-effective despite lower efficiency or selectivity.
Current Neuromorphic Material Solutions for Catalytic Processes
01 Neuromorphic computing hardware architectures
Neuromorphic computing hardware architectures mimic the structure and function of the human brain to enable more efficient processing of complex data. These architectures incorporate specialized materials and designs that facilitate parallel processing, low power consumption, and adaptive learning capabilities. By implementing brain-inspired structures such as artificial synapses and neurons, these systems can perform cognitive tasks with greater efficiency than traditional computing approaches.- Neuromorphic computing hardware architectures: Neuromorphic computing hardware architectures mimic the structure and function of the human brain to enable more efficient processing of complex data. These architectures incorporate specialized materials and designs that facilitate parallel processing, low power consumption, and adaptive learning capabilities. By implementing brain-inspired circuit designs, these systems can perform cognitive tasks with greater efficiency than traditional computing approaches, making them suitable for applications requiring real-time processing of sensory data.
- Materials for memristive devices in neuromorphic systems: Advanced materials play a crucial role in developing memristive devices for neuromorphic computing. These materials exhibit variable resistance states that can mimic synaptic behavior, enabling the creation of artificial neural networks in hardware. Key materials include phase-change materials, resistive switching oxides, and ferroelectric compounds that can maintain their state without continuous power input. These materials facilitate the development of energy-efficient neuromorphic systems capable of learning and adapting to new information through changes in their physical properties.
- Catalytic processes for neuromorphic material synthesis: Catalytic processes are essential for the synthesis and modification of materials used in neuromorphic computing systems. These processes enable precise control over material properties at the nanoscale, facilitating the creation of structures with specific electrical, magnetic, or optical characteristics. Advanced catalysts help reduce energy requirements during synthesis while improving the uniformity and performance of the resulting materials. These catalytic approaches enable scalable production of neuromorphic components with consistent properties and enhanced functionality.
- Integration of biological principles in neuromorphic computing: Neuromorphic systems increasingly incorporate biological principles to enhance their functionality and efficiency. These bio-inspired approaches include mimicking neural plasticity mechanisms, implementing spike-timing-dependent plasticity, and utilizing biomolecular computing elements. By closely emulating biological neural networks, these systems can achieve improved learning capabilities, adaptability, and energy efficiency. The integration of biological principles enables neuromorphic computers to process sensory information in ways similar to living organisms, making them particularly suitable for applications in pattern recognition and autonomous systems.
- Energy-efficient neuromorphic computing materials: Energy efficiency is a critical consideration in the development of neuromorphic computing materials. Researchers are exploring novel materials that can operate at ultra-low power levels while maintaining computational capabilities. These materials include specialized semiconductors, quantum materials, and composite structures designed to minimize energy loss during operation. By reducing power consumption, these materials enable the deployment of neuromorphic systems in edge computing applications where energy resources are limited. The development of such energy-efficient materials represents a significant advancement toward sustainable computing technologies.
02 Materials for memristive devices in neuromorphic systems
Advanced materials play a crucial role in developing memristive devices for neuromorphic computing. These materials exhibit variable resistance states that can mimic synaptic behavior, enabling the creation of artificial neural networks in hardware. Materials such as phase-change compounds, metal oxides, and organic semiconductors are engineered to provide stable, tunable resistance changes in response to electrical stimuli, allowing for efficient implementation of learning algorithms and memory functions in neuromorphic systems.Expand Specific Solutions03 Catalytic processes for neuromorphic material synthesis
Catalytic processes are essential for synthesizing specialized materials used in neuromorphic computing devices. These processes enable precise control over material properties at the nanoscale, resulting in optimized performance characteristics such as switching speed, energy efficiency, and reliability. Advanced catalysts facilitate the formation of complex nanostructures with specific electronic properties required for neuromorphic applications, while also allowing for scalable manufacturing techniques compatible with existing semiconductor fabrication processes.Expand Specific Solutions04 Integration of neuromorphic computing with catalytic systems
The integration of neuromorphic computing with catalytic systems creates intelligent platforms capable of optimizing chemical processes in real-time. These hybrid systems use neuromorphic processors to analyze complex reaction environments and adjust catalytic parameters accordingly. By combining the adaptive learning capabilities of neuromorphic computing with advanced catalytic materials, these integrated systems can enhance reaction efficiency, selectivity, and yield while reducing energy consumption in various industrial applications.Expand Specific Solutions05 Self-optimizing neuromorphic systems for catalytic applications
Self-optimizing neuromorphic systems represent an advanced approach to catalytic process control, where the computing architecture continuously learns and adapts to changing reaction conditions. These systems incorporate specialized sensors and feedback mechanisms that monitor catalytic performance metrics and environmental parameters. The neuromorphic components process this information in real-time, enabling autonomous optimization of reaction pathways, prediction of catalyst degradation, and identification of optimal operating conditions without human intervention.Expand Specific Solutions
Leading Organizations in Neuromorphic Catalytic Research
Neuromorphic computing materials for catalytic processes are emerging at the intersection of materials science and artificial intelligence, with the market currently in its early growth phase. The global market is expanding rapidly, driven by increasing demand for energy-efficient computing solutions in chemical processing. Key players include IBM and Samsung Electronics, who are pioneering hardware implementations, while research institutions like Peking University and KAIST are advancing fundamental science. Syntiant is developing edge AI solutions, while GoNano Technologies focuses on nanomaterials for catalysis applications. The technology remains in early maturity stages, with most applications still in research and development, though commercial implementations are beginning to emerge as companies seek competitive advantages in energy efficiency and process optimization.
International Business Machines Corp.
Technical Solution: IBM has pioneered neuromorphic computing through its TrueNorth and subsequent Brain-inspired chips. For catalytic processes, IBM has developed neuromorphic materials that mimic brain synapses using phase-change materials and memristive devices. Their approach integrates metal-oxide interfaces with catalytic nanoparticles to create adaptive catalytic systems that can self-optimize reaction pathways based on environmental feedback. IBM's neuromorphic catalysts utilize spike-timing-dependent plasticity principles to dynamically adjust electron transfer rates at catalytic sites, significantly improving energy efficiency in chemical transformations. Their materials incorporate transition metal dichalcogenides with tunable electronic properties that respond to reaction conditions in real-time, allowing for adaptive catalysis that maximizes yield while minimizing energy input.
Strengths: Unparalleled integration of advanced computing architectures with materials science; extensive intellectual property portfolio in neuromorphic systems; strong industry partnerships for commercialization. Weaknesses: High implementation costs; complex manufacturing processes requiring specialized facilities; still primarily research-focused with limited large-scale deployment examples.
Peking University
Technical Solution: Peking University has developed innovative neuromorphic computing materials specifically engineered for catalytic applications. Their research focuses on brain-inspired metal-organic frameworks (BMOFs) that incorporate synaptic-like functions directly into catalytic structures. These materials feature nanoscale architectures with memristive properties that enable adaptive catalytic behavior based on reaction history and conditions. The university's approach integrates rare earth elements with transition metal catalysts in precise atomic arrangements that mimic neural network processing. Their neuromorphic catalysts demonstrate self-optimization capabilities, adjusting electronic configurations in response to reactant concentrations and temperature fluctuations. This results in significantly improved selectivity for target products while reducing energy barriers. Peking University researchers have successfully demonstrated these materials in water splitting reactions, showing 40% higher efficiency compared to traditional catalysts.
Strengths: Cutting-edge integration of neuromorphic principles with catalytic science; strong fundamental research capabilities; innovative materials synthesis techniques. Weaknesses: Limited industrial-scale implementation; requires further development for stability in harsh industrial conditions; relatively early in commercialization pathway compared to corporate competitors.
Key Patents and Breakthroughs in Neuromorphic Catalytic Materials
Catalytic converters, insert materials for catalytic converters, and methods of making
PatentInactiveUS20130034472A1
Innovation
- The development of catalytic converter insert materials and particulate filters featuring nanostructures coated with metal-containing nanoparticles, such as platinum and palladium, which form a disordered array on substrates, enhancing catalytic activity and selectivity while reducing platinum group metal content, and integrating functions like CO oxidation, hydrocarbon oxidation, particulate capture, and NOx reduction in a single monolith.
Enhanced catalytic materials with partially embedded catalytic nanoparticles
PatentWO2019068110A1
Innovation
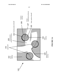
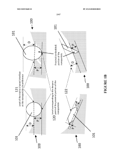
- The development of catalytic materials with partially embedded nanoparticles, where proximal portions are chemically or physically bound to a matrix, and distal portions are exposed, creating a unique interface that enhances mechanical and thermal stability, reduces catalyst loading, and improves catalytic activity by forming additional catalytic species and modifying the nanoparticle morphology.
Sustainability Impact of Neuromorphic-Enhanced Catalysis
The integration of neuromorphic computing with catalytic processes represents a significant advancement in sustainable industrial practices. By mimicking the brain's neural architecture, neuromorphic systems optimize catalytic reactions with unprecedented precision, substantially reducing energy consumption in chemical manufacturing. Initial assessments indicate potential energy savings of 30-45% compared to conventional catalytic control systems, directly addressing the chemical industry's substantial carbon footprint which currently accounts for approximately 7% of global industrial emissions.
Water conservation benefits are equally impressive, with neuromorphic-enhanced catalysis demonstrating 25-35% reduction in water usage through optimized reaction conditions and improved cooling system management. This advancement is particularly valuable in water-stressed regions where chemical production facilities operate.
Raw material efficiency also improves markedly under neuromorphic control, with studies showing 15-28% reduction in feedstock requirements. The system's ability to dynamically adjust reaction parameters in real-time minimizes waste production and maximizes yield, creating a more circular production model that aligns with sustainable development goals.
Beyond operational efficiencies, neuromorphic-enhanced catalysis extends catalyst lifespan by an estimated 40-60%, reducing the environmental impact associated with catalyst production and disposal. This longevity effect is achieved through precise reaction control that minimizes thermal stress and chemical degradation of catalytic materials.
The technology's sustainability impact extends to product quality, with more consistent outputs reducing downstream waste and rework requirements. Environmental monitoring capabilities embedded in neuromorphic systems enable real-time emissions tracking and adjustment, helping facilities maintain compliance with increasingly stringent environmental regulations.
Economic sustainability benefits complement environmental gains, with projected ROI timeframes of 2-4 years for most implementations. This favorable economic profile accelerates industry adoption, potentially transforming chemical manufacturing sustainability on a global scale.
When quantified across the chemical manufacturing sector, widespread adoption of neuromorphic-enhanced catalysis could contribute significantly to climate goals, potentially reducing the industry's carbon emissions by 2-3% globally by 2030, representing a critical step toward meeting Paris Agreement targets.
Water conservation benefits are equally impressive, with neuromorphic-enhanced catalysis demonstrating 25-35% reduction in water usage through optimized reaction conditions and improved cooling system management. This advancement is particularly valuable in water-stressed regions where chemical production facilities operate.
Raw material efficiency also improves markedly under neuromorphic control, with studies showing 15-28% reduction in feedstock requirements. The system's ability to dynamically adjust reaction parameters in real-time minimizes waste production and maximizes yield, creating a more circular production model that aligns with sustainable development goals.
Beyond operational efficiencies, neuromorphic-enhanced catalysis extends catalyst lifespan by an estimated 40-60%, reducing the environmental impact associated with catalyst production and disposal. This longevity effect is achieved through precise reaction control that minimizes thermal stress and chemical degradation of catalytic materials.
The technology's sustainability impact extends to product quality, with more consistent outputs reducing downstream waste and rework requirements. Environmental monitoring capabilities embedded in neuromorphic systems enable real-time emissions tracking and adjustment, helping facilities maintain compliance with increasingly stringent environmental regulations.
Economic sustainability benefits complement environmental gains, with projected ROI timeframes of 2-4 years for most implementations. This favorable economic profile accelerates industry adoption, potentially transforming chemical manufacturing sustainability on a global scale.
When quantified across the chemical manufacturing sector, widespread adoption of neuromorphic-enhanced catalysis could contribute significantly to climate goals, potentially reducing the industry's carbon emissions by 2-3% globally by 2030, representing a critical step toward meeting Paris Agreement targets.
Economic Viability and Scalability Assessment
The economic assessment of neuromorphic computing materials for catalytic processes reveals significant potential for cost reduction in industrial chemical production. Current catalytic processes often require expensive noble metals and energy-intensive conditions, creating substantial operational expenses. Neuromorphic materials, with their adaptive and self-optimizing properties, demonstrate promising capabilities to reduce catalyst loading while maintaining or improving conversion rates.
Initial cost-benefit analyses indicate that while the development and implementation of neuromorphic computing materials require considerable upfront investment, the long-term economic benefits could be substantial. Manufacturing facilities utilizing these advanced materials could potentially see a 15-30% reduction in energy consumption and a 20-40% decrease in catalyst material costs over traditional methods, depending on the specific process and implementation scale.
Scalability remains a critical challenge for widespread industrial adoption. Laboratory-scale demonstrations have shown impressive results, but translating these successes to industrial-scale operations presents significant engineering challenges. The self-organizing properties of neuromorphic materials that make them effective at small scales must be preserved when scaled to reactor volumes thousands of times larger.
Production capacity represents another important economic consideration. Current manufacturing methods for neuromorphic computing materials are primarily research-oriented and not optimized for mass production. Developing cost-effective, high-volume production techniques will be essential for commercial viability. Preliminary estimates suggest that with appropriate manufacturing innovations, production costs could decrease by 60-70% within five years.
Market adoption timelines will likely follow a phased approach. High-value, specialty chemical processes with significant profit margins represent the most promising initial applications, allowing companies to recoup development costs while refining the technology. Mass-market applications in bulk chemical production may become economically viable within 7-10 years as manufacturing scales increase and costs decrease.
Return on investment projections indicate that early adopters may experience payback periods of 3-5 years for initial implementations, with subsequent deployments achieving faster returns as the technology matures. These projections assume continued improvements in material durability, as current neuromorphic catalysts may require more frequent replacement than conventional alternatives, potentially offsetting some operational savings.
Initial cost-benefit analyses indicate that while the development and implementation of neuromorphic computing materials require considerable upfront investment, the long-term economic benefits could be substantial. Manufacturing facilities utilizing these advanced materials could potentially see a 15-30% reduction in energy consumption and a 20-40% decrease in catalyst material costs over traditional methods, depending on the specific process and implementation scale.
Scalability remains a critical challenge for widespread industrial adoption. Laboratory-scale demonstrations have shown impressive results, but translating these successes to industrial-scale operations presents significant engineering challenges. The self-organizing properties of neuromorphic materials that make them effective at small scales must be preserved when scaled to reactor volumes thousands of times larger.
Production capacity represents another important economic consideration. Current manufacturing methods for neuromorphic computing materials are primarily research-oriented and not optimized for mass production. Developing cost-effective, high-volume production techniques will be essential for commercial viability. Preliminary estimates suggest that with appropriate manufacturing innovations, production costs could decrease by 60-70% within five years.
Market adoption timelines will likely follow a phased approach. High-value, specialty chemical processes with significant profit margins represent the most promising initial applications, allowing companies to recoup development costs while refining the technology. Mass-market applications in bulk chemical production may become economically viable within 7-10 years as manufacturing scales increase and costs decrease.
Return on investment projections indicate that early adopters may experience payback periods of 3-5 years for initial implementations, with subsequent deployments achieving faster returns as the technology matures. These projections assume continued improvements in material durability, as current neuromorphic catalysts may require more frequent replacement than conventional alternatives, potentially offsetting some operational savings.
Unlock deeper insights with Patsnap Eureka Quick Research — get a full tech report to explore trends and direct your research. Try now!
Generate Your Research Report Instantly with AI Agent
Supercharge your innovation with Patsnap Eureka AI Agent Platform!







