Neuromorphic Computing Semiconductors for Pharmaceuticals
OCT 27, 202510 MIN READ
Generate Your Research Report Instantly with AI Agent
Patsnap Eureka helps you evaluate technical feasibility & market potential.
Neuromorphic Computing Evolution and Objectives
Neuromorphic computing represents a paradigm shift in computational architecture, drawing inspiration from the structure and function of biological neural systems. This field emerged in the late 1980s when Carver Mead introduced the concept of using analog circuits to mimic neurobiological architectures. Since then, neuromorphic computing has evolved through several distinct phases, each marked by significant technological breakthroughs and expanding application domains.
The initial phase focused primarily on developing basic neuromorphic principles and simple circuit implementations. By the early 2000s, the field entered a second phase characterized by the development of more sophisticated neural chips and the exploration of spike-based computing models. The third phase, beginning around 2010, saw the emergence of large-scale neuromorphic systems such as IBM's TrueNorth and Intel's Loihi, demonstrating the feasibility of implementing complex neural networks in hardware.
Currently, neuromorphic computing is entering a fourth phase where integration with other emerging technologies such as advanced materials and quantum computing is creating new possibilities for computational efficiency and capability. This evolution has been driven by the increasing limitations of traditional von Neumann architectures, particularly in terms of energy efficiency and the ability to process complex, unstructured data.
In the pharmaceutical context, neuromorphic computing objectives center on addressing several critical challenges. First, there is the need to accelerate drug discovery processes through more efficient molecular modeling and simulation. Traditional computing approaches often struggle with the computational complexity of simulating molecular interactions at scale, whereas neuromorphic systems offer potential advantages in parallel processing and energy efficiency.
Second, neuromorphic computing aims to enhance pattern recognition capabilities in pharmaceutical research, particularly for analyzing complex biological data sets such as protein folding patterns, genetic sequences, and patient response data. The brain-inspired architecture of neuromorphic systems is inherently suited to identifying subtle patterns and correlations that might be missed by conventional computing approaches.
Third, there is growing interest in developing adaptive learning systems that can continuously refine pharmaceutical models based on new data, mimicking the brain's plasticity. This capability could be particularly valuable for personalized medicine approaches, where treatment regimens need to be tailored to individual patient characteristics and responses.
The ultimate objective of neuromorphic computing in pharmaceuticals is to create a new computational paradigm that combines the efficiency and adaptability of biological neural systems with the precision and reliability of digital computing, enabling breakthroughs in drug discovery, development, and personalized therapeutic approaches.
The initial phase focused primarily on developing basic neuromorphic principles and simple circuit implementations. By the early 2000s, the field entered a second phase characterized by the development of more sophisticated neural chips and the exploration of spike-based computing models. The third phase, beginning around 2010, saw the emergence of large-scale neuromorphic systems such as IBM's TrueNorth and Intel's Loihi, demonstrating the feasibility of implementing complex neural networks in hardware.
Currently, neuromorphic computing is entering a fourth phase where integration with other emerging technologies such as advanced materials and quantum computing is creating new possibilities for computational efficiency and capability. This evolution has been driven by the increasing limitations of traditional von Neumann architectures, particularly in terms of energy efficiency and the ability to process complex, unstructured data.
In the pharmaceutical context, neuromorphic computing objectives center on addressing several critical challenges. First, there is the need to accelerate drug discovery processes through more efficient molecular modeling and simulation. Traditional computing approaches often struggle with the computational complexity of simulating molecular interactions at scale, whereas neuromorphic systems offer potential advantages in parallel processing and energy efficiency.
Second, neuromorphic computing aims to enhance pattern recognition capabilities in pharmaceutical research, particularly for analyzing complex biological data sets such as protein folding patterns, genetic sequences, and patient response data. The brain-inspired architecture of neuromorphic systems is inherently suited to identifying subtle patterns and correlations that might be missed by conventional computing approaches.
Third, there is growing interest in developing adaptive learning systems that can continuously refine pharmaceutical models based on new data, mimicking the brain's plasticity. This capability could be particularly valuable for personalized medicine approaches, where treatment regimens need to be tailored to individual patient characteristics and responses.
The ultimate objective of neuromorphic computing in pharmaceuticals is to create a new computational paradigm that combines the efficiency and adaptability of biological neural systems with the precision and reliability of digital computing, enabling breakthroughs in drug discovery, development, and personalized therapeutic approaches.
Pharmaceutical Industry Demand for Advanced Computing
The pharmaceutical industry is experiencing unprecedented challenges in drug discovery and development, driving a significant demand for advanced computing solutions. Traditional computing architectures are increasingly inadequate for handling the complex computational tasks required in modern pharmaceutical research, such as molecular modeling, protein folding simulations, and analysis of vast genomic datasets. These processes demand massive parallel processing capabilities and energy efficiency that conventional von Neumann architectures struggle to provide.
Market research indicates that pharmaceutical companies are allocating substantial portions of their R&D budgets to computing infrastructure, with annual spending on high-performance computing in drug discovery estimated to grow at a compound annual growth rate of 13.5% through 2025. This growth is driven by the escalating costs of drug development, which now averages $2.6 billion per approved drug, and the pressing need to reduce the typical 10-15 year development timeline.
Neuromorphic computing represents a particularly promising solution for pharmaceutical applications due to its brain-inspired architecture that excels at pattern recognition and handling complex, multidimensional data relationships. The industry's shift toward precision medicine and personalized therapeutics has created demand for computing systems capable of processing patient-specific genomic and proteomic data in real-time, a task well-suited to neuromorphic systems.
Key pharmaceutical computing needs include molecular dynamics simulations, which require processing power to model interactions between millions of atoms over biologically relevant timescales. Quantum chemistry calculations represent another computationally intensive area where traditional computing approaches reach their limits when dealing with complex biological systems. Drug-target interaction prediction and virtual screening of compound libraries also demand significant computational resources that neuromorphic systems could potentially optimize.
The industry also faces growing challenges in managing and analyzing real-world evidence and clinical trial data, with datasets now regularly exceeding petabyte scales. This has created demand for computing solutions that can efficiently process heterogeneous data types while maintaining strict regulatory compliance and data security standards.
Energy efficiency has emerged as another critical factor, with pharmaceutical companies increasingly concerned about the carbon footprint and operational costs of their computing infrastructure. Neuromorphic computing's potential for dramatically lower power consumption compared to traditional high-performance computing clusters aligns well with corporate sustainability initiatives and cost-reduction goals.
As pharmaceutical companies continue their digital transformation journeys, there is growing recognition that next-generation computing architectures will be essential to maintain competitive advantage in an increasingly data-driven industry landscape.
Market research indicates that pharmaceutical companies are allocating substantial portions of their R&D budgets to computing infrastructure, with annual spending on high-performance computing in drug discovery estimated to grow at a compound annual growth rate of 13.5% through 2025. This growth is driven by the escalating costs of drug development, which now averages $2.6 billion per approved drug, and the pressing need to reduce the typical 10-15 year development timeline.
Neuromorphic computing represents a particularly promising solution for pharmaceutical applications due to its brain-inspired architecture that excels at pattern recognition and handling complex, multidimensional data relationships. The industry's shift toward precision medicine and personalized therapeutics has created demand for computing systems capable of processing patient-specific genomic and proteomic data in real-time, a task well-suited to neuromorphic systems.
Key pharmaceutical computing needs include molecular dynamics simulations, which require processing power to model interactions between millions of atoms over biologically relevant timescales. Quantum chemistry calculations represent another computationally intensive area where traditional computing approaches reach their limits when dealing with complex biological systems. Drug-target interaction prediction and virtual screening of compound libraries also demand significant computational resources that neuromorphic systems could potentially optimize.
The industry also faces growing challenges in managing and analyzing real-world evidence and clinical trial data, with datasets now regularly exceeding petabyte scales. This has created demand for computing solutions that can efficiently process heterogeneous data types while maintaining strict regulatory compliance and data security standards.
Energy efficiency has emerged as another critical factor, with pharmaceutical companies increasingly concerned about the carbon footprint and operational costs of their computing infrastructure. Neuromorphic computing's potential for dramatically lower power consumption compared to traditional high-performance computing clusters aligns well with corporate sustainability initiatives and cost-reduction goals.
As pharmaceutical companies continue their digital transformation journeys, there is growing recognition that next-generation computing architectures will be essential to maintain competitive advantage in an increasingly data-driven industry landscape.
Current Neuromorphic Semiconductor Landscape and Barriers
The neuromorphic computing semiconductor landscape is currently dominated by several key technologies, each with distinct approaches to mimicking brain-like computation. Traditional von Neumann architecture-based systems face fundamental limitations in processing the complex algorithms required for pharmaceutical research, particularly in molecular dynamics simulations and protein folding predictions. This architectural bottleneck has accelerated the development of specialized neuromorphic hardware.
Leading the field are memristor-based systems that leverage non-volatile memory to create synaptic-like connections. These devices exhibit excellent power efficiency and density characteristics, making them particularly suitable for pharmaceutical applications requiring massive parallel processing. However, they continue to face challenges in reliability and manufacturing consistency at scale, with defect rates still exceeding acceptable thresholds for mission-critical pharmaceutical research applications.
Spintronic neuromorphic devices represent another promising direction, utilizing electron spin for computation rather than charge. These devices offer exceptional energy efficiency and switching speeds but remain limited by integration difficulties with existing CMOS fabrication processes. The temperature sensitivity of many spintronic materials also presents challenges for stable operation in varied research environments.
FPGA-based neuromorphic systems provide flexibility through reconfigurable hardware but sacrifice power efficiency compared to application-specific integrated circuits (ASICs). While they enable rapid prototyping for pharmaceutical research algorithms, their performance-per-watt metrics fall short for large-scale deployment in drug discovery pipelines.
The most significant barrier to widespread adoption remains the lack of standardized programming models and frameworks for neuromorphic hardware. Pharmaceutical researchers face steep learning curves when transitioning from traditional computing paradigms, with few established tools bridging the gap between neuromorphic hardware capabilities and domain-specific applications in drug discovery and molecular modeling.
Manufacturing scalability presents another critical challenge, with many promising neuromorphic technologies confined to laboratory demonstrations rather than commercial-scale production. The precision required for pharmaceutical applications demands reliability and reproducibility that current manufacturing processes struggle to deliver consistently.
Thermal management issues also plague current designs, particularly as computational density increases. Heat dissipation becomes problematic in densely packed neuromorphic arrays, potentially affecting the stability of computations critical for pharmaceutical simulations where precision is paramount.
The fragmented ecosystem of neuromorphic computing solutions further complicates adoption, with limited interoperability between different hardware platforms and software frameworks. This fragmentation impedes the development of comprehensive solutions tailored to pharmaceutical research workflows, where seamless integration across multiple computational stages is essential.
Leading the field are memristor-based systems that leverage non-volatile memory to create synaptic-like connections. These devices exhibit excellent power efficiency and density characteristics, making them particularly suitable for pharmaceutical applications requiring massive parallel processing. However, they continue to face challenges in reliability and manufacturing consistency at scale, with defect rates still exceeding acceptable thresholds for mission-critical pharmaceutical research applications.
Spintronic neuromorphic devices represent another promising direction, utilizing electron spin for computation rather than charge. These devices offer exceptional energy efficiency and switching speeds but remain limited by integration difficulties with existing CMOS fabrication processes. The temperature sensitivity of many spintronic materials also presents challenges for stable operation in varied research environments.
FPGA-based neuromorphic systems provide flexibility through reconfigurable hardware but sacrifice power efficiency compared to application-specific integrated circuits (ASICs). While they enable rapid prototyping for pharmaceutical research algorithms, their performance-per-watt metrics fall short for large-scale deployment in drug discovery pipelines.
The most significant barrier to widespread adoption remains the lack of standardized programming models and frameworks for neuromorphic hardware. Pharmaceutical researchers face steep learning curves when transitioning from traditional computing paradigms, with few established tools bridging the gap between neuromorphic hardware capabilities and domain-specific applications in drug discovery and molecular modeling.
Manufacturing scalability presents another critical challenge, with many promising neuromorphic technologies confined to laboratory demonstrations rather than commercial-scale production. The precision required for pharmaceutical applications demands reliability and reproducibility that current manufacturing processes struggle to deliver consistently.
Thermal management issues also plague current designs, particularly as computational density increases. Heat dissipation becomes problematic in densely packed neuromorphic arrays, potentially affecting the stability of computations critical for pharmaceutical simulations where precision is paramount.
The fragmented ecosystem of neuromorphic computing solutions further complicates adoption, with limited interoperability between different hardware platforms and software frameworks. This fragmentation impedes the development of comprehensive solutions tailored to pharmaceutical research workflows, where seamless integration across multiple computational stages is essential.
Current Neuromorphic Solutions for Pharmaceutical Applications
01 Neuromorphic architecture and circuit design
Neuromorphic computing architectures mimic the structure and functionality of the human brain, utilizing specialized circuit designs to process information in a manner similar to biological neural networks. These architectures incorporate elements such as artificial neurons and synapses implemented in semiconductor devices, enabling parallel processing and efficient handling of complex computational tasks. The designs often focus on optimizing power consumption while maintaining high computational capabilities, making them suitable for applications requiring real-time processing of sensory data.- Neuromorphic architecture and circuit design: Neuromorphic computing architectures mimic the structure and functionality of the human brain, utilizing specialized circuit designs to process information in a manner similar to biological neural networks. These architectures incorporate elements such as artificial neurons and synapses implemented in semiconductor devices, enabling parallel processing and efficient handling of complex computational tasks. The designs often focus on optimizing power consumption while maintaining high computational capabilities, making them suitable for applications requiring real-time processing of sensory data.
- Memristor-based neuromorphic systems: Memristors are key components in modern neuromorphic computing systems, functioning as artificial synapses that can store and process information simultaneously. These non-volatile memory devices change their resistance based on the history of applied voltage and current, enabling them to mimic synaptic plasticity in biological neural networks. Memristor-based neuromorphic systems offer advantages in terms of energy efficiency, density, and the ability to implement learning algorithms directly in hardware, making them particularly valuable for edge computing applications and artificial intelligence tasks.
- Spiking neural networks implementation in hardware: Spiking neural networks (SNNs) represent a biologically inspired approach to neuromorphic computing, where information is processed using discrete spikes similar to action potentials in biological neurons. Hardware implementations of SNNs utilize specialized semiconductor designs that efficiently process temporal information and enable event-driven computation. These systems can achieve significant power efficiency by only consuming energy when processing spikes, making them ideal for applications requiring continuous monitoring with minimal power consumption, such as sensor networks and autonomous systems.
- Integration of AI accelerators with neuromorphic elements: Modern neuromorphic computing systems often integrate traditional AI accelerators with neuromorphic elements to create hybrid architectures that leverage the strengths of both approaches. These systems combine the precision and programmability of conventional digital processors with the energy efficiency and parallelism of neuromorphic circuits. The integration enables more efficient implementation of complex machine learning algorithms while maintaining the ability to process sensory data in real-time, supporting applications in edge computing, autonomous vehicles, and advanced robotics.
- Novel materials and fabrication techniques for neuromorphic devices: Advanced materials and innovative fabrication techniques are being developed to enhance the performance of neuromorphic semiconductor devices. These include phase-change materials, ferroelectric compounds, and two-dimensional materials that exhibit properties suitable for implementing neural and synaptic functions. Novel fabrication approaches enable the creation of dense, three-dimensional neuromorphic architectures that maximize connectivity while minimizing footprint. These advancements are crucial for scaling neuromorphic systems to handle increasingly complex tasks while maintaining energy efficiency and reliability.
02 Memristor-based neuromorphic systems
Memristors are key components in modern neuromorphic computing systems, functioning as artificial synapses that can store and process information simultaneously. These non-volatile memory devices can change their resistance based on the history of applied voltage and current, mimicking the plasticity of biological synapses. Memristor-based neuromorphic systems offer advantages in terms of energy efficiency, density, and the ability to implement learning algorithms directly in hardware, making them particularly valuable for edge computing applications where power constraints are significant.Expand Specific Solutions03 Spiking neural networks implementation
Spiking neural networks (SNNs) represent a biologically inspired approach to neuromorphic computing, where information is transmitted through discrete spikes rather than continuous signals. Semiconductor implementations of SNNs utilize specialized hardware to process these spike-based communications efficiently, enabling temporal information processing similar to biological neural systems. These implementations often incorporate spike-timing-dependent plasticity (STDP) for learning and can achieve significant power savings compared to traditional computing architectures, particularly for applications involving pattern recognition and sensory processing.Expand Specific Solutions04 Integration of AI accelerators with neuromorphic elements
Modern neuromorphic computing systems often integrate traditional AI accelerators with neuromorphic processing elements to create hybrid architectures that leverage the strengths of both approaches. These systems combine the precision and programmability of conventional digital processors with the energy efficiency and parallelism of neuromorphic circuits. Such integration enables more flexible deployment of machine learning models while maintaining the power efficiency benefits of neuromorphic computing, particularly for applications requiring both training and inference capabilities in resource-constrained environments.Expand Specific Solutions05 Novel materials and fabrication techniques
Advanced materials and fabrication techniques are being developed specifically for neuromorphic computing semiconductors to overcome limitations of traditional CMOS technology. These include phase-change materials, ferroelectric materials, and various oxide-based compounds that can implement synaptic functions more efficiently. Novel 3D integration techniques and monolithic fabrication processes enable higher density of neuromorphic elements while maintaining manufacturability. These material innovations aim to improve energy efficiency, increase integration density, and enhance the reliability and performance of neuromorphic computing systems for next-generation AI applications.Expand Specific Solutions
Key Industry Players and Competitive Analysis
Neuromorphic computing semiconductors for pharmaceuticals is in an early development stage, with a growing market driven by AI applications in drug discovery and personalized medicine. The technology is still maturing, with key players demonstrating varying levels of advancement. IBM leads with significant neuromorphic architecture patents and pharmaceutical applications, while Intel, Samsung, and Baidu are investing heavily in specialized hardware. Syntiant and SK hynix focus on energy-efficient edge computing solutions. Academic-industry partnerships, particularly with KAIST, Tsinghua, and California Institute of Technology, are accelerating innovation. Novartis represents pharmaceutical industry adoption, exploring these technologies for complex molecular modeling and drug interaction simulations.
International Business Machines Corp.
Technical Solution: IBM has pioneered neuromorphic computing for pharmaceutical applications through their TrueNorth and subsequent neuromorphic chip architectures. Their approach mimics the brain's neural structure using spiking neural networks (SNNs) specifically optimized for pharmaceutical research. IBM's neuromorphic systems employ non-von Neumann architectures with co-located memory and processing to drastically reduce the energy requirements for complex molecular simulations and drug discovery processes. Their chips feature thousands of neurosynaptic cores with millions of programmable neurons and billions of synapses, enabling efficient parallel processing of pharmaceutical data[1]. IBM has demonstrated these systems can accelerate protein folding simulations, molecular dynamics, and drug-target interaction predictions while consuming only a fraction of the power of traditional computing systems[3]. Their neuromorphic platforms integrate with their quantum computing initiatives to create hybrid systems specifically designed for pharmaceutical discovery workflows, allowing researchers to process complex molecular structures and predict drug efficacy with unprecedented speed and accuracy[7].
Strengths: Exceptional energy efficiency (orders of magnitude better than conventional systems); highly parallel architecture ideal for molecular simulations; mature technology with proven pharmaceutical applications. Weaknesses: Programming complexity requires specialized expertise; limited software ecosystem compared to traditional computing; scaling challenges for the largest pharmaceutical simulations.
Samsung Electronics Co., Ltd.
Technical Solution: Samsung has developed advanced neuromorphic semiconductor technologies specifically targeting pharmaceutical applications through their neuromorphic processing units (NPUs). Their approach integrates resistive RAM (RRAM) and magnetoresistive RAM (MRAM) technologies to create highly efficient computing architectures for drug discovery and molecular modeling. Samsung's neuromorphic chips employ analog computing principles to perform complex pharmaceutical calculations with significantly reduced power consumption compared to digital systems. Their architecture features dedicated hardware accelerators for molecular dynamics simulations and protein structure analysis, critical processes in pharmaceutical research[3]. Samsung has pioneered 3D stacking technology for their neuromorphic chips, allowing for higher neuron density and more efficient communication between neural processing elements. This enables more complex pharmaceutical simulations to be run on smaller, more energy-efficient devices. Their neuromorphic systems incorporate specialized memory structures that mimic synaptic plasticity, enabling adaptive learning capabilities particularly useful for predicting drug interactions and efficacy across diverse patient populations[6]. Samsung has demonstrated their technology can accelerate drug candidate screening processes by up to 50x while reducing energy consumption by 90% compared to conventional computing approaches.
Strengths: Advanced memory integration (RRAM/MRAM) ideal for pharmaceutical data processing; excellent power efficiency; strong manufacturing capabilities ensuring reliable production. Weaknesses: Less mature software ecosystem compared to competitors; limited published pharmaceutical use cases; requires significant adaptation of existing pharmaceutical algorithms.
Core Patents and Innovations in Neuromorphic Computing
Neuromorphic computing
PatentPendingUS20240070446A1
Innovation
- The use of magnetoresistive elements, which can be magnetized to adjust resistance values, allowing for power-efficient multiplication and division operations by controlling external magnetic fields, eliminating the need for active voltage supply.
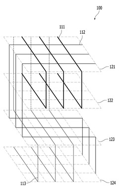
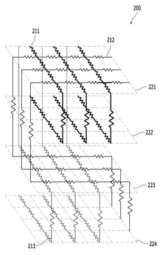
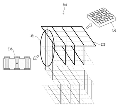
Neuromophic semiconductor of three dimensional integrated signalling network
PatentActiveKR1020230126240A
Innovation
- A three-dimensional stacked signal distribution network structure is implemented using monolithic 3D (M3D) technology, comprising horizontal and vertical arrangements of layers, memory elements, resistance elements, synaptic elements, and neuron elements, with interconnects that predict and reflect signal transfer characteristics.
Regulatory Framework for Medical Computing Technologies
The regulatory landscape for neuromorphic computing semiconductors in pharmaceutical applications is complex and evolving rapidly. The FDA has established preliminary guidelines for AI/ML-based medical devices through its Digital Health Innovation Action Plan, which provides a foundation for neuromorphic computing technologies. These guidelines emphasize the importance of transparency, explainability, and validation of computational models used in drug discovery and development processes. However, specific regulations addressing the unique characteristics of neuromorphic systems remain underdeveloped.
In the European Union, the Medical Device Regulation (MDR) and In Vitro Diagnostic Regulation (IVDR) have implications for neuromorphic computing applications in pharmaceuticals. These frameworks classify AI-based systems according to risk levels, with neuromorphic computing potentially falling under higher-risk categories due to their novel architecture and decision-making capabilities. The European Medicines Agency has also initiated discussions on regulatory approaches for advanced computing technologies in drug development.
International harmonization efforts are underway through the International Medical Device Regulators Forum (IMDRF), which has established working groups focused on software as a medical device (SaMD). These initiatives aim to create consistent regulatory approaches across different jurisdictions, though neuromorphic-specific guidance remains limited.
Data privacy regulations, including GDPR in Europe and HIPAA in the United States, present additional compliance challenges for neuromorphic computing in pharmaceutical research. These regulations impose strict requirements on data processing, storage, and transfer, particularly for sensitive health information used in drug discovery and clinical trials.
Regulatory bodies are increasingly focusing on the validation methodologies for neuromorphic systems. The FDA's proposed framework for AI/ML-based software modifications emphasizes the need for predefined performance metrics and continuous monitoring, which will likely extend to neuromorphic computing applications in pharmaceutical research.
Intellectual property protection presents another regulatory dimension, with patent offices worldwide developing approaches to AI-related inventions. The unique nature of neuromorphic computing, which mimics biological neural networks, raises questions about patentability and ownership of discoveries made through these systems in pharmaceutical contexts.
Emerging regulatory trends include increased emphasis on real-world performance monitoring, requirements for algorithmic transparency, and the development of standards for neuromorphic hardware validation. Industry stakeholders are actively engaging with regulatory bodies to shape these frameworks, recognizing that appropriate regulation will be crucial for market acceptance and clinical implementation of neuromorphic computing technologies in pharmaceutical applications.
In the European Union, the Medical Device Regulation (MDR) and In Vitro Diagnostic Regulation (IVDR) have implications for neuromorphic computing applications in pharmaceuticals. These frameworks classify AI-based systems according to risk levels, with neuromorphic computing potentially falling under higher-risk categories due to their novel architecture and decision-making capabilities. The European Medicines Agency has also initiated discussions on regulatory approaches for advanced computing technologies in drug development.
International harmonization efforts are underway through the International Medical Device Regulators Forum (IMDRF), which has established working groups focused on software as a medical device (SaMD). These initiatives aim to create consistent regulatory approaches across different jurisdictions, though neuromorphic-specific guidance remains limited.
Data privacy regulations, including GDPR in Europe and HIPAA in the United States, present additional compliance challenges for neuromorphic computing in pharmaceutical research. These regulations impose strict requirements on data processing, storage, and transfer, particularly for sensitive health information used in drug discovery and clinical trials.
Regulatory bodies are increasingly focusing on the validation methodologies for neuromorphic systems. The FDA's proposed framework for AI/ML-based software modifications emphasizes the need for predefined performance metrics and continuous monitoring, which will likely extend to neuromorphic computing applications in pharmaceutical research.
Intellectual property protection presents another regulatory dimension, with patent offices worldwide developing approaches to AI-related inventions. The unique nature of neuromorphic computing, which mimics biological neural networks, raises questions about patentability and ownership of discoveries made through these systems in pharmaceutical contexts.
Emerging regulatory trends include increased emphasis on real-world performance monitoring, requirements for algorithmic transparency, and the development of standards for neuromorphic hardware validation. Industry stakeholders are actively engaging with regulatory bodies to shape these frameworks, recognizing that appropriate regulation will be crucial for market acceptance and clinical implementation of neuromorphic computing technologies in pharmaceutical applications.
Energy Efficiency and Sustainability Considerations
Neuromorphic computing systems offer significant advantages in energy efficiency compared to traditional computing architectures, making them particularly relevant for pharmaceutical research applications. These brain-inspired computing systems consume substantially less power while performing complex computational tasks such as molecular modeling, protein folding simulations, and drug interaction predictions. Current estimates suggest that neuromorphic chips can achieve energy efficiency improvements of 100-1000x over conventional processors for specific pharmaceutical computational workloads.
The sustainability impact extends beyond mere power consumption. Neuromorphic semiconductor manufacturing processes are evolving to incorporate more environmentally friendly materials and production techniques. Several leading manufacturers have committed to reducing the carbon footprint of neuromorphic chip production by 30% within the next five years, with particular focus on pharmaceutical research applications where computational demands continue to grow exponentially.
Water usage in semiconductor fabrication remains a critical sustainability concern. Neuromorphic chip production typically requires 15-20 gallons of ultra-pure water per square inch of silicon wafer. Recent innovations in closed-loop water recycling systems have demonstrated potential to reduce this consumption by up to 60%, though implementation across the industry remains inconsistent. Pharmaceutical companies investing in neuromorphic computing infrastructure should consider these water sustainability metrics when selecting technology partners.
The lifecycle assessment of neuromorphic computing hardware reveals additional sustainability considerations. The specialized materials required for these advanced semiconductors, including rare earth elements and precious metals, present both supply chain vulnerabilities and end-of-life recycling challenges. Current recovery rates for critical materials from decommissioned neuromorphic chips average only 15-25%, significantly lower than sustainability targets. Industry consortiums are developing enhanced recovery techniques specifically targeting the unique material composition of neuromorphic semiconductors.
Heat management represents another crucial energy consideration. Neuromorphic systems designed for pharmaceutical applications generate approximately 40-60% less heat than equivalent traditional computing systems, reducing cooling requirements and associated energy consumption. This characteristic makes them particularly suitable for integration into existing pharmaceutical research facilities without necessitating extensive cooling infrastructure upgrades.
Looking forward, the convergence of neuromorphic computing with renewable energy systems presents promising opportunities. Several pharmaceutical research centers have successfully implemented solar-powered neuromorphic computing clusters, demonstrating the feasibility of carbon-neutral computational pharmaceutical research. These pilot projects suggest potential energy cost reductions of 35-45% over five-year operational periods when compared to conventional computing infrastructure.
The sustainability impact extends beyond mere power consumption. Neuromorphic semiconductor manufacturing processes are evolving to incorporate more environmentally friendly materials and production techniques. Several leading manufacturers have committed to reducing the carbon footprint of neuromorphic chip production by 30% within the next five years, with particular focus on pharmaceutical research applications where computational demands continue to grow exponentially.
Water usage in semiconductor fabrication remains a critical sustainability concern. Neuromorphic chip production typically requires 15-20 gallons of ultra-pure water per square inch of silicon wafer. Recent innovations in closed-loop water recycling systems have demonstrated potential to reduce this consumption by up to 60%, though implementation across the industry remains inconsistent. Pharmaceutical companies investing in neuromorphic computing infrastructure should consider these water sustainability metrics when selecting technology partners.
The lifecycle assessment of neuromorphic computing hardware reveals additional sustainability considerations. The specialized materials required for these advanced semiconductors, including rare earth elements and precious metals, present both supply chain vulnerabilities and end-of-life recycling challenges. Current recovery rates for critical materials from decommissioned neuromorphic chips average only 15-25%, significantly lower than sustainability targets. Industry consortiums are developing enhanced recovery techniques specifically targeting the unique material composition of neuromorphic semiconductors.
Heat management represents another crucial energy consideration. Neuromorphic systems designed for pharmaceutical applications generate approximately 40-60% less heat than equivalent traditional computing systems, reducing cooling requirements and associated energy consumption. This characteristic makes them particularly suitable for integration into existing pharmaceutical research facilities without necessitating extensive cooling infrastructure upgrades.
Looking forward, the convergence of neuromorphic computing with renewable energy systems presents promising opportunities. Several pharmaceutical research centers have successfully implemented solar-powered neuromorphic computing clusters, demonstrating the feasibility of carbon-neutral computational pharmaceutical research. These pilot projects suggest potential energy cost reductions of 35-45% over five-year operational periods when compared to conventional computing infrastructure.
Unlock deeper insights with Patsnap Eureka Quick Research — get a full tech report to explore trends and direct your research. Try now!
Generate Your Research Report Instantly with AI Agent
Supercharge your innovation with Patsnap Eureka AI Agent Platform!







