Research on Vehicle-to-Grid's Role in Decarbonizing Grids
SEP 23, 20259 MIN READ
Generate Your Research Report Instantly with AI Agent
Patsnap Eureka helps you evaluate technical feasibility & market potential.
V2G Technology Background and Objectives
Vehicle-to-Grid (V2G) technology represents a transformative approach in the energy sector, enabling bidirectional power flow between electric vehicles (EVs) and the electrical grid. This concept emerged in the late 1990s when Professor Willett Kempton and his colleagues at the University of Delaware first proposed using EV batteries as distributed energy resources. Since then, V2G has evolved from a theoretical concept to a practical technology with significant potential for grid stabilization and renewable energy integration.
The evolution of V2G technology has been closely tied to advancements in EV battery technology, power electronics, and smart grid infrastructure. Early V2G systems were limited by battery degradation concerns and inefficient bidirectional chargers. However, recent technological breakthroughs have addressed many of these limitations, with modern systems achieving higher efficiency and minimizing battery wear through sophisticated battery management systems.
Current V2G technology encompasses several variants, including V1G (unidirectional controlled charging), V2H (Vehicle-to-Home), V2B (Vehicle-to-Building), and full V2G systems. Each variant offers different capabilities in terms of power flow control and grid services provision, representing a spectrum of implementation complexity and potential benefits.
The primary objective of V2G technology in the context of grid decarbonization is to facilitate higher penetration of renewable energy sources by providing flexible energy storage capacity. As wind and solar generation are inherently variable, V2G systems can help balance supply and demand by storing excess renewable energy during peak production periods and feeding it back to the grid during peak demand or low renewable generation periods.
Additionally, V2G aims to enhance grid resilience and stability through services such as frequency regulation, voltage support, and peak shaving. These services are becoming increasingly valuable as power systems transition from centralized fossil fuel generation to distributed renewable resources, which introduce new challenges for grid operators in maintaining system reliability.
Looking forward, V2G technology is expected to play a crucial role in enabling smart, decarbonized energy systems. The technology roadmap includes improvements in bidirectional charging efficiency, reduced costs of V2G-compatible hardware, standardized communication protocols, and more sophisticated aggregation platforms that can coordinate thousands of vehicles to provide grid services at scale.
The ultimate goal of V2G research and implementation is to create a symbiotic relationship between transportation and energy sectors, where EVs serve dual purposes as both clean transportation options and distributed energy resources, thereby accelerating the transition to a carbon-neutral economy.
The evolution of V2G technology has been closely tied to advancements in EV battery technology, power electronics, and smart grid infrastructure. Early V2G systems were limited by battery degradation concerns and inefficient bidirectional chargers. However, recent technological breakthroughs have addressed many of these limitations, with modern systems achieving higher efficiency and minimizing battery wear through sophisticated battery management systems.
Current V2G technology encompasses several variants, including V1G (unidirectional controlled charging), V2H (Vehicle-to-Home), V2B (Vehicle-to-Building), and full V2G systems. Each variant offers different capabilities in terms of power flow control and grid services provision, representing a spectrum of implementation complexity and potential benefits.
The primary objective of V2G technology in the context of grid decarbonization is to facilitate higher penetration of renewable energy sources by providing flexible energy storage capacity. As wind and solar generation are inherently variable, V2G systems can help balance supply and demand by storing excess renewable energy during peak production periods and feeding it back to the grid during peak demand or low renewable generation periods.
Additionally, V2G aims to enhance grid resilience and stability through services such as frequency regulation, voltage support, and peak shaving. These services are becoming increasingly valuable as power systems transition from centralized fossil fuel generation to distributed renewable resources, which introduce new challenges for grid operators in maintaining system reliability.
Looking forward, V2G technology is expected to play a crucial role in enabling smart, decarbonized energy systems. The technology roadmap includes improvements in bidirectional charging efficiency, reduced costs of V2G-compatible hardware, standardized communication protocols, and more sophisticated aggregation platforms that can coordinate thousands of vehicles to provide grid services at scale.
The ultimate goal of V2G research and implementation is to create a symbiotic relationship between transportation and energy sectors, where EVs serve dual purposes as both clean transportation options and distributed energy resources, thereby accelerating the transition to a carbon-neutral economy.
Market Demand Analysis for V2G Solutions
The Vehicle-to-Grid (V2G) market is experiencing significant growth driven by the convergence of renewable energy integration challenges and electric vehicle (EV) adoption. Current market analysis indicates that the global V2G technology market was valued at approximately $1.8 billion in 2022 and is projected to reach $17.4 billion by 2027, representing a compound annual growth rate (CAGR) of 48%. This exceptional growth trajectory is primarily fueled by increasing grid instability issues as renewable energy penetration rises across global electricity networks.
Demand for V2G solutions is particularly strong in regions with high renewable energy penetration rates, such as Denmark, Germany, California, and parts of Australia. These areas experience significant grid balancing challenges due to the intermittent nature of solar and wind power generation, creating a natural market for V2G services that can provide rapid-response grid stabilization.
Utility companies represent a major demand segment, with over 65% of major utilities in developed markets actively exploring or implementing V2G pilot programs. Their interest stems from the potential of V2G to reduce infrastructure investment costs while improving grid resilience. Industry surveys indicate that utilities value V2G primarily for frequency regulation (78%), peak shaving (72%), and renewable energy integration (68%).
Fleet operators constitute another significant market segment, with commercial EV fleets showing 57% higher interest in V2G technology compared to individual consumers. The financial incentives of participating in grid services while optimizing charging costs present a compelling business case, with potential revenue generation of $1,000-3,500 per vehicle annually depending on market conditions and participation levels.
Consumer adoption remains a challenge, with surveys indicating that only 23% of current EV owners fully understand V2G technology. However, when presented with potential financial benefits, interest increases substantially, with 62% expressing willingness to participate in V2G programs if compensated appropriately. This suggests significant untapped market potential as consumer education improves.
Regulatory frameworks are evolving to support V2G market growth, with 17 countries having implemented specific policies to enable grid services from EVs. These regulatory developments are critical market drivers, as they establish compensation mechanisms and technical standards that facilitate broader adoption.
The market is also being shaped by emerging business models, including aggregator services that pool distributed EV batteries to create virtual power plants of sufficient scale to participate in electricity markets. This model is gaining traction particularly in Europe, where over 30 aggregator companies now include V2G capabilities in their service offerings.
Demand for V2G solutions is particularly strong in regions with high renewable energy penetration rates, such as Denmark, Germany, California, and parts of Australia. These areas experience significant grid balancing challenges due to the intermittent nature of solar and wind power generation, creating a natural market for V2G services that can provide rapid-response grid stabilization.
Utility companies represent a major demand segment, with over 65% of major utilities in developed markets actively exploring or implementing V2G pilot programs. Their interest stems from the potential of V2G to reduce infrastructure investment costs while improving grid resilience. Industry surveys indicate that utilities value V2G primarily for frequency regulation (78%), peak shaving (72%), and renewable energy integration (68%).
Fleet operators constitute another significant market segment, with commercial EV fleets showing 57% higher interest in V2G technology compared to individual consumers. The financial incentives of participating in grid services while optimizing charging costs present a compelling business case, with potential revenue generation of $1,000-3,500 per vehicle annually depending on market conditions and participation levels.
Consumer adoption remains a challenge, with surveys indicating that only 23% of current EV owners fully understand V2G technology. However, when presented with potential financial benefits, interest increases substantially, with 62% expressing willingness to participate in V2G programs if compensated appropriately. This suggests significant untapped market potential as consumer education improves.
Regulatory frameworks are evolving to support V2G market growth, with 17 countries having implemented specific policies to enable grid services from EVs. These regulatory developments are critical market drivers, as they establish compensation mechanisms and technical standards that facilitate broader adoption.
The market is also being shaped by emerging business models, including aggregator services that pool distributed EV batteries to create virtual power plants of sufficient scale to participate in electricity markets. This model is gaining traction particularly in Europe, where over 30 aggregator companies now include V2G capabilities in their service offerings.
V2G Technical Status and Challenges
Vehicle-to-Grid (V2G) technology has reached a critical development stage globally, with varying levels of maturity across different regions. Currently, most V2G implementations remain at pilot or demonstration phases, with limited commercial deployment. The United States, European Union, Japan, and China lead in V2G research and development, though each region emphasizes different aspects of the technology based on their grid infrastructure and policy priorities.
The fundamental technical architecture of V2G systems consists of electric vehicles with bidirectional charging capability, bidirectional chargers, communication protocols, and grid integration systems. While the concept is well-established, several significant technical challenges impede widespread adoption. Foremost among these is the limited availability of commercially viable bidirectional charging equipment, which remains costly and lacks standardization across vehicle manufacturers and grid operators.
Battery degradation presents another substantial challenge. Current research indicates that frequent charging and discharging cycles associated with V2G operations may accelerate battery wear, potentially reducing the battery's useful life by 5-15% depending on usage patterns and battery chemistry. This degradation concern creates hesitation among vehicle manufacturers and consumers regarding warranty implications and long-term vehicle value.
Communication and control systems represent a critical technical bottleneck. The lack of universally adopted protocols for vehicle-to-grid communication creates interoperability issues between different vehicle models, charging infrastructure, and grid management systems. While standards like ISO 15118, CHAdeMO, and OpenADR exist, their implementation varies significantly across markets.
Grid integration challenges further complicate V2G deployment. Many existing power grids lack the necessary infrastructure for managing bidirectional power flows at scale. Distribution networks often require upgrades to handle localized power injections, while management systems need enhancement to coordinate thousands of distributed energy resources simultaneously.
Cybersecurity vulnerabilities present emerging concerns as V2G systems create new attack vectors for grid infrastructure. The distributed nature of V2G networks increases the potential attack surface, requiring robust security protocols that don't currently exist in standardized form.
Regulatory frameworks remain underdeveloped in most regions, creating uncertainty for market participants. Questions regarding grid connection requirements, metering standards, and compensation mechanisms for grid services remain unresolved in many jurisdictions, hampering investment and commercial deployment.
Despite these challenges, technological progress continues to accelerate. Recent advancements in power electronics have improved bidirectional charger efficiency to over 90%, while battery management systems are becoming increasingly sophisticated in mitigating degradation effects. The geographic distribution of V2G technology development shows concentration in urban centers with high electric vehicle adoption rates and progressive energy policies.
The fundamental technical architecture of V2G systems consists of electric vehicles with bidirectional charging capability, bidirectional chargers, communication protocols, and grid integration systems. While the concept is well-established, several significant technical challenges impede widespread adoption. Foremost among these is the limited availability of commercially viable bidirectional charging equipment, which remains costly and lacks standardization across vehicle manufacturers and grid operators.
Battery degradation presents another substantial challenge. Current research indicates that frequent charging and discharging cycles associated with V2G operations may accelerate battery wear, potentially reducing the battery's useful life by 5-15% depending on usage patterns and battery chemistry. This degradation concern creates hesitation among vehicle manufacturers and consumers regarding warranty implications and long-term vehicle value.
Communication and control systems represent a critical technical bottleneck. The lack of universally adopted protocols for vehicle-to-grid communication creates interoperability issues between different vehicle models, charging infrastructure, and grid management systems. While standards like ISO 15118, CHAdeMO, and OpenADR exist, their implementation varies significantly across markets.
Grid integration challenges further complicate V2G deployment. Many existing power grids lack the necessary infrastructure for managing bidirectional power flows at scale. Distribution networks often require upgrades to handle localized power injections, while management systems need enhancement to coordinate thousands of distributed energy resources simultaneously.
Cybersecurity vulnerabilities present emerging concerns as V2G systems create new attack vectors for grid infrastructure. The distributed nature of V2G networks increases the potential attack surface, requiring robust security protocols that don't currently exist in standardized form.
Regulatory frameworks remain underdeveloped in most regions, creating uncertainty for market participants. Questions regarding grid connection requirements, metering standards, and compensation mechanisms for grid services remain unresolved in many jurisdictions, hampering investment and commercial deployment.
Despite these challenges, technological progress continues to accelerate. Recent advancements in power electronics have improved bidirectional charger efficiency to over 90%, while battery management systems are becoming increasingly sophisticated in mitigating degradation effects. The geographic distribution of V2G technology development shows concentration in urban centers with high electric vehicle adoption rates and progressive energy policies.
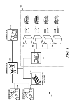
Current V2G Implementation Solutions
01 V2G integration for renewable energy optimization
Vehicle-to-Grid technology enables electric vehicles to serve as distributed energy storage systems that can feed electricity back to the grid when needed. This bidirectional flow helps balance grid loads during peak demand and facilitates greater integration of intermittent renewable energy sources like solar and wind. By optimizing renewable energy utilization, V2G systems significantly contribute to decarbonization efforts by reducing reliance on fossil fuel power plants for grid stabilization.- V2G systems for renewable energy integration: Vehicle-to-Grid technology enables electric vehicles to serve as distributed energy storage systems that can be integrated with renewable energy sources. These systems allow for bidirectional power flow between EVs and the grid, helping to balance supply and demand fluctuations from intermittent renewable sources like solar and wind. By storing excess renewable energy during peak production periods and feeding it back to the grid during high demand, V2G technology contributes significantly to decarbonization efforts by reducing reliance on fossil fuel power plants for grid stabilization.
- Smart charging infrastructure and management systems: Advanced charging infrastructure and intelligent management systems are essential components of V2G technology for decarbonization. These systems optimize charging and discharging cycles based on grid conditions, electricity prices, and carbon intensity. Smart charging stations equipped with bidirectional capabilities enable EVs to participate in grid services while ensuring vehicle owners' mobility needs are met. The infrastructure includes communication protocols, control algorithms, and user interfaces that facilitate seamless integration of EVs with the power grid while maximizing carbon reduction benefits.
- Grid services and demand response applications: V2G technology enables electric vehicles to provide various grid services that support decarbonization. These include frequency regulation, peak shaving, load balancing, and voltage support. By participating in demand response programs, EVs can reduce electricity consumption during high-demand periods or when the grid relies heavily on carbon-intensive generation sources. This capability helps utilities avoid starting up peaker plants that typically run on fossil fuels, thereby reducing carbon emissions while providing financial incentives to EV owners who participate in these grid-supporting activities.
- V2G economic models and incentive structures: Innovative economic models and incentive structures are crucial for widespread adoption of V2G technology and maximizing its decarbonization potential. These include time-of-use pricing, grid service compensation, carbon credits, and reduced electricity rates for V2G participants. By creating financial incentives that reward EV owners for providing grid services and shifting charging to times when renewable energy is abundant, these models accelerate the transition to clean transportation and energy systems. The economic frameworks also address battery degradation concerns by ensuring compensation adequately covers potential impacts on battery life.
- V2G integration with microgrids and building energy systems: V2G technology can be integrated with microgrids and building energy management systems to create comprehensive decarbonization solutions. These integrated systems allow EVs to serve as backup power sources for buildings during outages, support self-consumption of on-site renewable generation, and optimize energy use across transportation and building sectors. By connecting EVs with solar panels, battery storage systems, and smart building controls, these integrated approaches maximize carbon reduction benefits while enhancing energy resilience and reducing overall energy costs for communities and businesses.
02 Smart charging infrastructure for EV fleet management
Advanced charging infrastructure with intelligent management systems enables optimal coordination of electric vehicle charging and discharging cycles. These systems incorporate demand response capabilities, time-of-use pricing, and grid signal integration to determine when vehicles should charge or provide power back to the grid. Smart charging infrastructure maximizes carbon reduction by prioritizing charging during periods of renewable energy abundance and supporting grid stability during peak demand, thereby reducing the need for carbon-intensive peaker plants.Expand Specific Solutions03 Energy market participation and economic incentives
V2G systems allow electric vehicle owners to participate in energy markets by providing grid services such as frequency regulation, demand response, and peak shaving. Economic incentive structures and business models enable EV owners to monetize their battery capacity while supporting grid decarbonization. These market mechanisms include aggregator platforms that combine multiple vehicles into virtual power plants, creating significant grid resources that can replace traditional fossil fuel generation during critical periods.Expand Specific Solutions04 Battery management and lifecycle optimization
Advanced battery management systems optimize the use of vehicle batteries for grid services while minimizing degradation impacts. These technologies include state-of-health monitoring, predictive analytics for battery performance, and algorithms that balance grid service provision with battery longevity. By extending battery life and enabling second-life applications, these systems enhance the sustainability of electric vehicles and maximize their carbon reduction potential throughout the complete lifecycle of the battery assets.Expand Specific Solutions05 Integrated renewable microgrids with V2G support
V2G technology enables the development of resilient microgrids that integrate local renewable generation with electric vehicle storage capacity. These systems can operate in grid-connected or island mode during outages, providing critical power from vehicle batteries when needed. The combination of distributed solar generation, stationary storage, and V2G-enabled vehicles creates highly resilient, low-carbon energy ecosystems for communities, commercial facilities, and critical infrastructure, significantly reducing reliance on diesel generators and other carbon-intensive backup power sources.Expand Specific Solutions
Key V2G Industry Players Analysis
Vehicle-to-Grid (V2G) technology is emerging as a critical component in grid decarbonization efforts, currently positioned in the early growth phase of market development. The global V2G market is expanding rapidly, with projections indicating significant growth potential as electric vehicle adoption increases. Major automotive manufacturers including Hyundai, Ford, Volkswagen, Honda, Toyota, and Kia are actively developing V2G capabilities, while technology providers like Bosch and Qualcomm are advancing supporting systems. The technology's maturity varies across implementations, with companies like State Grid Shanghai and China Southern Power Grid Research Institute working on grid integration solutions. Collaboration between automotive OEMs and utility companies represents a key trend, with pilot projects demonstrating feasibility while regulatory frameworks continue to evolve.
Ford Global Technologies LLC
Technical Solution: Ford has developed a comprehensive Vehicle-to-Grid (V2G) technology platform called "Intelligent Energy Management System" that enables bidirectional power flow between electric vehicles and the grid. Their solution incorporates advanced power electronics with silicon carbide technology for higher efficiency energy conversion and proprietary algorithms that optimize charging/discharging cycles based on grid demand signals, electricity pricing, and vehicle usage patterns. Ford's V2G system includes cloud-based coordination with utilities through their FordPass Connect platform, allowing for real-time grid balancing services. The company has demonstrated up to 15kW bidirectional power capability in F-150 Lightning trucks, enabling them to power homes during outages while also participating in grid services when connected. Ford has conducted extensive field trials showing their V2G technology can reduce peak grid demand by up to 10% in participating communities while generating approximately $500-1,500 annual revenue for vehicle owners through grid services.
Strengths: Ford's integration with their high-volume F-150 Lightning platform provides immediate scale potential for V2G adoption. Their established relationships with major utilities across North America facilitate easier market entry. Weaknesses: Their system currently requires additional hardware installation (home integration system) beyond the vehicle itself, increasing total implementation costs and complexity for consumers.
Volkswagen AG
Technical Solution: Volkswagen has pioneered a bidirectional charging management (BCM) system as part of their V2G strategy, focusing on integration with their MEB electric vehicle platform. Their technology enables electric vehicles to serve as mobile power banks that can feed electricity back to the grid during peak demand periods. The system incorporates intelligent charging algorithms that analyze grid conditions, electricity pricing, and vehicle usage patterns to optimize when to charge and when to discharge. Volkswagen's V2G solution includes a proprietary home energy management system that coordinates between the vehicle, home energy systems, and the grid. Their technology has been demonstrated to provide frequency regulation services with response times under 1 second, meeting stringent grid stability requirements. Volkswagen has conducted extensive field trials in Germany showing their V2G technology can help integrate renewable energy by absorbing excess solar and wind generation, with test vehicles providing up to 11kW of power back to the grid. Their system architecture includes cybersecurity protocols that protect both vehicle and grid infrastructure from potential attacks during energy exchanges.
Strengths: Volkswagen's solution is deeply integrated with their high-volume MEB platform, providing significant scale potential across multiple vehicle models. Their comprehensive approach includes both hardware and software components designed specifically for European grid requirements. Weaknesses: Their current implementation requires specialized wallboxes and home energy management systems, creating additional cost barriers for consumer adoption. The system's full capabilities are still limited by regulatory frameworks in many markets.
Core V2G Technologies and Patents
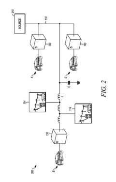
Vehicle-to-grid system with power loss compensation
PatentInactiveUS9630511B2
Innovation
- A vehicle-to-grid system with a controller that assigns vehicles to different groups based on transmission distance, instructing the first group to supply power at a nominal frequency and adjusted amplitude, and the second group to supply power at an adjusted frequency different from the nominal frequency and nominal amplitude, thereby optimizing power delivery and reducing losses.
Vehicle-to-grid energy for use with hydrogen generation
PatentActiveUS11077766B2
Innovation
- A fleet management system that monitors hydrogen market parameters to instruct electric vehicles to provide electricity for hydrogen generation and hydrogen vehicles to obtain hydrogen from the generated electricity, optimizing energy use and reducing costs.
Grid Integration Standards and Protocols
The successful integration of Vehicle-to-Grid (V2G) technology into existing power infrastructure requires robust standardization and interoperability protocols. Currently, several key standards govern V2G integration, with ISO 15118 emerging as the cornerstone for communication between electric vehicles and charging stations. This standard defines the communication protocols necessary for bidirectional power flow, authentication mechanisms, and payment systems, enabling seamless V2G operations across different vehicle models and grid systems.
In parallel, IEEE 2030.5 (Smart Energy Profile 2.0) provides specifications for application-layer communications between the grid and consumer devices, including electric vehicles. This standard is particularly relevant for demand response applications and distributed energy resource management, which are essential components of V2G implementation.
The IEC 61850 standard, originally developed for substation automation, has been extended to cover V2G applications, facilitating communication between grid operators and electric vehicles. Additionally, the IEC 63110 protocol specifically addresses the management of electric vehicle charging and discharging infrastructure, providing a standardized approach to V2G operations.
Interoperability remains a significant challenge in V2G deployment. The Open Charge Point Protocol (OCPP) has gained widespread adoption for communication between charging stations and charging station management systems, but its integration with V2G capabilities is still evolving. Similarly, the Open Automated Demand Response (OpenADR) standard enables automated demand response signals between utilities and energy management systems, which can include V2G-enabled vehicles.
Grid codes and regulations vary significantly across regions, creating a fragmented landscape for V2G implementation. In Europe, the European Network of Transmission System Operators for Electricity (ENTSO-E) has developed network codes that include provisions for V2G services. In the United States, the Federal Energy Regulatory Commission (FERC) Order 2222 has opened wholesale electricity markets to distributed energy resources, including V2G-enabled vehicles.
Cybersecurity protocols represent another critical aspect of V2G integration standards. The IEC 62351 series provides security standards for power system communication protocols, addressing vulnerabilities that could arise from connecting thousands of vehicles to the grid. These standards implement encryption, authentication, and access control mechanisms to protect both the grid and vehicle systems from potential cyber threats.
Future standardization efforts must address real-time communication requirements, grid stability considerations, and the integration of V2G with other distributed energy resources. The development of unified testing and certification procedures will also be essential to ensure compliance with these standards across the V2G ecosystem.
In parallel, IEEE 2030.5 (Smart Energy Profile 2.0) provides specifications for application-layer communications between the grid and consumer devices, including electric vehicles. This standard is particularly relevant for demand response applications and distributed energy resource management, which are essential components of V2G implementation.
The IEC 61850 standard, originally developed for substation automation, has been extended to cover V2G applications, facilitating communication between grid operators and electric vehicles. Additionally, the IEC 63110 protocol specifically addresses the management of electric vehicle charging and discharging infrastructure, providing a standardized approach to V2G operations.
Interoperability remains a significant challenge in V2G deployment. The Open Charge Point Protocol (OCPP) has gained widespread adoption for communication between charging stations and charging station management systems, but its integration with V2G capabilities is still evolving. Similarly, the Open Automated Demand Response (OpenADR) standard enables automated demand response signals between utilities and energy management systems, which can include V2G-enabled vehicles.
Grid codes and regulations vary significantly across regions, creating a fragmented landscape for V2G implementation. In Europe, the European Network of Transmission System Operators for Electricity (ENTSO-E) has developed network codes that include provisions for V2G services. In the United States, the Federal Energy Regulatory Commission (FERC) Order 2222 has opened wholesale electricity markets to distributed energy resources, including V2G-enabled vehicles.
Cybersecurity protocols represent another critical aspect of V2G integration standards. The IEC 62351 series provides security standards for power system communication protocols, addressing vulnerabilities that could arise from connecting thousands of vehicles to the grid. These standards implement encryption, authentication, and access control mechanisms to protect both the grid and vehicle systems from potential cyber threats.
Future standardization efforts must address real-time communication requirements, grid stability considerations, and the integration of V2G with other distributed energy resources. The development of unified testing and certification procedures will also be essential to ensure compliance with these standards across the V2G ecosystem.
Economic Viability and Business Models
The economic viability of Vehicle-to-Grid (V2G) technology represents a critical factor in its widespread adoption and contribution to grid decarbonization. Current analyses indicate that V2G systems can generate revenue streams between $300 and $1,500 per vehicle annually, depending on market conditions, regulatory frameworks, and technical capabilities. These revenues primarily derive from grid services such as frequency regulation, demand response, and peak shaving.
Several business models have emerged to capitalize on V2G's economic potential. The Aggregator Model involves third-party companies managing fleets of EVs to provide grid services, offering vehicle owners a share of the revenue while handling technical complexities. This model has gained traction in markets with established frequency regulation mechanisms, such as PJM in the United States and various European grid systems.
The Utility-Led Model positions electric utilities as direct operators of V2G programs, integrating them into broader grid management strategies. This approach simplifies regulatory compliance but may limit innovation compared to competitive market models. Notable implementations include San Diego Gas & Electric's Power Your Drive program and UK Power Networks' Shift initiative.
Fleet-Based Models have demonstrated particularly promising economics, with commercial and public transportation fleets achieving faster returns on investment due to predictable usage patterns and economies of scale. School bus fleets in North America have pioneered this approach, with vehicles available for grid services during peak demand periods while parked during school hours.
Subscription-based models are emerging as consumer-friendly options, where EV owners receive reduced charging rates or fixed monthly credits in exchange for allowing controlled V2G operations. This approach simplifies participation for individual vehicle owners while providing predictable revenue for service providers.
Cost barriers remain significant, with V2G-capable charging infrastructure requiring investments 20-40% higher than standard charging equipment. However, these costs are declining at approximately 8-12% annually as manufacturing scales and technology matures. Regulatory frameworks significantly impact economic viability, with markets featuring capacity payments, ancillary service markets, and time-of-use pricing structures offering more favorable conditions for V2G deployment.
Return on investment timelines currently range from 3-7 years for most implementations, with the potential to decrease to 2-4 years by 2025 as technology costs decline and market mechanisms mature. This trajectory suggests V2G will achieve mainstream economic viability in many markets within the next decade, particularly as carbon pricing mechanisms increasingly recognize its contribution to grid decarbonization.
Several business models have emerged to capitalize on V2G's economic potential. The Aggregator Model involves third-party companies managing fleets of EVs to provide grid services, offering vehicle owners a share of the revenue while handling technical complexities. This model has gained traction in markets with established frequency regulation mechanisms, such as PJM in the United States and various European grid systems.
The Utility-Led Model positions electric utilities as direct operators of V2G programs, integrating them into broader grid management strategies. This approach simplifies regulatory compliance but may limit innovation compared to competitive market models. Notable implementations include San Diego Gas & Electric's Power Your Drive program and UK Power Networks' Shift initiative.
Fleet-Based Models have demonstrated particularly promising economics, with commercial and public transportation fleets achieving faster returns on investment due to predictable usage patterns and economies of scale. School bus fleets in North America have pioneered this approach, with vehicles available for grid services during peak demand periods while parked during school hours.
Subscription-based models are emerging as consumer-friendly options, where EV owners receive reduced charging rates or fixed monthly credits in exchange for allowing controlled V2G operations. This approach simplifies participation for individual vehicle owners while providing predictable revenue for service providers.
Cost barriers remain significant, with V2G-capable charging infrastructure requiring investments 20-40% higher than standard charging equipment. However, these costs are declining at approximately 8-12% annually as manufacturing scales and technology matures. Regulatory frameworks significantly impact economic viability, with markets featuring capacity payments, ancillary service markets, and time-of-use pricing structures offering more favorable conditions for V2G deployment.
Return on investment timelines currently range from 3-7 years for most implementations, with the potential to decrease to 2-4 years by 2025 as technology costs decline and market mechanisms mature. This trajectory suggests V2G will achieve mainstream economic viability in many markets within the next decade, particularly as carbon pricing mechanisms increasingly recognize its contribution to grid decarbonization.
Unlock deeper insights with Patsnap Eureka Quick Research — get a full tech report to explore trends and direct your research. Try now!
Generate Your Research Report Instantly with AI Agent
Supercharge your innovation with Patsnap Eureka AI Agent Platform!