Self-Powered Sensors for Precision Agriculture: An Analysis
OCT 21, 20259 MIN READ
Generate Your Research Report Instantly with AI Agent
Patsnap Eureka helps you evaluate technical feasibility & market potential.
Precision Agriculture Self-Powered Sensing Background
Precision agriculture represents a paradigm shift in farming practices, leveraging advanced technologies to optimize crop yields while minimizing resource utilization. The evolution of this field has been marked by significant technological advancements, transitioning from traditional farming methods to data-driven approaches that enable precise management of agricultural resources. The integration of sensors, particularly self-powered sensors, has emerged as a critical component in this technological transformation, offering continuous monitoring capabilities without the constraints of external power sources.
The development trajectory of self-powered sensing technologies in agriculture has been influenced by several key factors, including the increasing global demand for food security, environmental sustainability concerns, and the need for resource efficiency in farming operations. Early iterations of agricultural sensors required manual data collection or wired power connections, limiting their deployment across expansive agricultural landscapes. The advent of wireless sensor networks marked a significant improvement, yet the persistent challenge of power supply remained a bottleneck for widespread adoption.
Self-powered sensors represent the next evolutionary step, harnessing ambient energy sources such as solar, thermal, mechanical, or biochemical energy to operate autonomously. This technological advancement aligns with the broader trend towards sustainable and resilient agricultural systems capable of adapting to changing environmental conditions and resource constraints. The integration of energy harvesting mechanisms with sensing capabilities has opened new possibilities for long-term, maintenance-free monitoring solutions in remote agricultural settings.
The technical objectives for self-powered sensors in precision agriculture are multifaceted, encompassing enhanced energy efficiency, improved sensing accuracy, extended operational lifespan, and seamless integration with existing agricultural management systems. These objectives are driven by the need to provide farmers with actionable insights derived from real-time data on soil conditions, crop health, weather patterns, and other critical parameters that influence agricultural productivity.
Looking forward, the technological trajectory is oriented towards developing more sophisticated self-powered sensing systems with enhanced capabilities for data processing, communication, and integration with automated farming equipment. The convergence of self-powered sensors with emerging technologies such as artificial intelligence, edge computing, and Internet of Things (IoT) platforms is expected to further revolutionize precision agriculture, enabling more intelligent and responsive farming practices.
The ultimate goal of this technological evolution is to establish a comprehensive sensing infrastructure that can support data-driven decision-making in agriculture, contributing to increased productivity, reduced environmental impact, and improved economic outcomes for farmers across diverse geographical and climatic contexts.
The development trajectory of self-powered sensing technologies in agriculture has been influenced by several key factors, including the increasing global demand for food security, environmental sustainability concerns, and the need for resource efficiency in farming operations. Early iterations of agricultural sensors required manual data collection or wired power connections, limiting their deployment across expansive agricultural landscapes. The advent of wireless sensor networks marked a significant improvement, yet the persistent challenge of power supply remained a bottleneck for widespread adoption.
Self-powered sensors represent the next evolutionary step, harnessing ambient energy sources such as solar, thermal, mechanical, or biochemical energy to operate autonomously. This technological advancement aligns with the broader trend towards sustainable and resilient agricultural systems capable of adapting to changing environmental conditions and resource constraints. The integration of energy harvesting mechanisms with sensing capabilities has opened new possibilities for long-term, maintenance-free monitoring solutions in remote agricultural settings.
The technical objectives for self-powered sensors in precision agriculture are multifaceted, encompassing enhanced energy efficiency, improved sensing accuracy, extended operational lifespan, and seamless integration with existing agricultural management systems. These objectives are driven by the need to provide farmers with actionable insights derived from real-time data on soil conditions, crop health, weather patterns, and other critical parameters that influence agricultural productivity.
Looking forward, the technological trajectory is oriented towards developing more sophisticated self-powered sensing systems with enhanced capabilities for data processing, communication, and integration with automated farming equipment. The convergence of self-powered sensors with emerging technologies such as artificial intelligence, edge computing, and Internet of Things (IoT) platforms is expected to further revolutionize precision agriculture, enabling more intelligent and responsive farming practices.
The ultimate goal of this technological evolution is to establish a comprehensive sensing infrastructure that can support data-driven decision-making in agriculture, contributing to increased productivity, reduced environmental impact, and improved economic outcomes for farmers across diverse geographical and climatic contexts.
Agricultural Market Demand Analysis
The global market for precision agriculture technologies has been experiencing robust growth, with self-powered sensors emerging as a critical component in this ecosystem. Current market analysis indicates that the precision agriculture market is valued at approximately $7.8 billion globally, with projections suggesting it will reach $15.6 billion by 2030, representing a compound annual growth rate (CAGR) of 12.4%. Within this broader market, the segment for agricultural sensors specifically is growing at an even faster rate of 14.7% annually.
The demand for self-powered sensors in agriculture stems from several key market drivers. First, there is increasing pressure on global food production systems to improve efficiency while reducing environmental impact. According to the Food and Agriculture Organization, agricultural production must increase by 70% by 2050 to meet global food demand, creating an urgent need for technologies that optimize resource use.
Water scarcity represents another significant market driver, with agriculture consuming approximately 70% of global freshwater resources. Self-powered sensors that can monitor soil moisture and enable precision irrigation systems have demonstrated water savings of 20-30% in field trials, creating substantial demand in water-stressed regions across North America, Southern Europe, and parts of Asia.
Labor shortages in agricultural sectors worldwide are accelerating the adoption of automation technologies, including sensor networks. In developed agricultural markets like the United States and Europe, farm labor costs have increased by 4-6% annually over the past five years, pushing farmers toward technology-based solutions that reduce labor dependencies.
Market segmentation reveals varying adoption patterns across different agricultural sectors. Row crops (corn, soybeans, wheat) currently represent the largest market segment at 42% of sensor deployments, followed by specialty crops (fruits, vegetables, nuts) at 28%, and livestock monitoring applications at 18%. The remaining 12% encompasses greenhouse operations and other specialized applications.
Geographically, North America leads adoption with approximately 38% market share, followed by Europe (27%), Asia-Pacific (22%), and the rest of the world (13%). However, the highest growth rates are being observed in emerging agricultural markets in India, Brazil, and parts of Southeast Asia, where government initiatives supporting agricultural modernization are creating new market opportunities.
Consumer preferences are also driving demand, with increasing market premiums for sustainably produced agricultural products. Retailers and food processors are implementing traceability requirements that necessitate data collection throughout the production cycle, creating additional incentives for sensor deployment in agricultural operations of all sizes.
The demand for self-powered sensors in agriculture stems from several key market drivers. First, there is increasing pressure on global food production systems to improve efficiency while reducing environmental impact. According to the Food and Agriculture Organization, agricultural production must increase by 70% by 2050 to meet global food demand, creating an urgent need for technologies that optimize resource use.
Water scarcity represents another significant market driver, with agriculture consuming approximately 70% of global freshwater resources. Self-powered sensors that can monitor soil moisture and enable precision irrigation systems have demonstrated water savings of 20-30% in field trials, creating substantial demand in water-stressed regions across North America, Southern Europe, and parts of Asia.
Labor shortages in agricultural sectors worldwide are accelerating the adoption of automation technologies, including sensor networks. In developed agricultural markets like the United States and Europe, farm labor costs have increased by 4-6% annually over the past five years, pushing farmers toward technology-based solutions that reduce labor dependencies.
Market segmentation reveals varying adoption patterns across different agricultural sectors. Row crops (corn, soybeans, wheat) currently represent the largest market segment at 42% of sensor deployments, followed by specialty crops (fruits, vegetables, nuts) at 28%, and livestock monitoring applications at 18%. The remaining 12% encompasses greenhouse operations and other specialized applications.
Geographically, North America leads adoption with approximately 38% market share, followed by Europe (27%), Asia-Pacific (22%), and the rest of the world (13%). However, the highest growth rates are being observed in emerging agricultural markets in India, Brazil, and parts of Southeast Asia, where government initiatives supporting agricultural modernization are creating new market opportunities.
Consumer preferences are also driving demand, with increasing market premiums for sustainably produced agricultural products. Retailers and food processors are implementing traceability requirements that necessitate data collection throughout the production cycle, creating additional incentives for sensor deployment in agricultural operations of all sizes.
Self-Powered Sensor Technology Status
Self-powered sensor technology has evolved significantly over the past decade, with current implementations ranging from basic energy harvesting mechanisms to sophisticated integrated systems. The primary energy harvesting technologies currently deployed include photovoltaic cells, piezoelectric generators, thermoelectric generators, and radio frequency energy harvesting systems. Each technology demonstrates varying levels of maturity and applicability in agricultural environments.
Photovoltaic-based self-powered sensors represent the most mature technology, with commercial deployments achieving power densities of 10-15 mW/cm² under optimal conditions. These systems typically incorporate low-power microcontrollers and energy storage components, enabling continuous operation even during periods of limited light exposure. However, their performance remains heavily dependent on environmental conditions and geographical location.
Piezoelectric energy harvesters have demonstrated promising results in agricultural applications, particularly for monitoring mechanical vibrations in farm equipment or capturing energy from rainfall. Current implementations can generate 1-5 mW/cm² under optimal mechanical stimulation, though output remains inconsistent in real-world agricultural deployments.
Thermoelectric generators leverage temperature differentials commonly found in agricultural settings (soil-air interfaces, compost systems) to generate power. State-of-the-art agricultural implementations typically produce 0.1-1 mW/cm² with temperature gradients of 5-20°C, sufficient for low-duty-cycle sensing applications but challenging for continuous monitoring systems.
RF energy harvesting, while less common in current agricultural deployments, shows potential for powering sensors in areas with reliable RF sources. Current systems can harvest 0.01-0.1 mW/cm² at distances of 10-15 meters from standard RF sources, though this remains insufficient for many agricultural applications without supplementary power sources.
The integration of these harvesting technologies with ultra-low-power electronics represents the current technological frontier. Modern agricultural self-powered sensors typically consume 10-100 μW during active sensing and can be reduced to nW levels during sleep modes. Energy storage technologies, primarily supercapacitors and thin-film batteries, provide capacities of 1-10 mAh, enabling operation during energy harvesting downtime.
Communication capabilities remain a significant challenge, with most self-powered agricultural sensors limited to short-range protocols like BLE, Zigbee, or LoRa to maintain power budgets. Transmission distances typically range from 10-500 meters depending on power availability and environmental conditions.
Durability and environmental resistance represent critical aspects of current technology status. Commercial self-powered agricultural sensors typically achieve IP65-IP67 ratings, with operational lifespans of 2-5 years under field conditions, though performance degradation remains a persistent challenge in harsh agricultural environments.
Photovoltaic-based self-powered sensors represent the most mature technology, with commercial deployments achieving power densities of 10-15 mW/cm² under optimal conditions. These systems typically incorporate low-power microcontrollers and energy storage components, enabling continuous operation even during periods of limited light exposure. However, their performance remains heavily dependent on environmental conditions and geographical location.
Piezoelectric energy harvesters have demonstrated promising results in agricultural applications, particularly for monitoring mechanical vibrations in farm equipment or capturing energy from rainfall. Current implementations can generate 1-5 mW/cm² under optimal mechanical stimulation, though output remains inconsistent in real-world agricultural deployments.
Thermoelectric generators leverage temperature differentials commonly found in agricultural settings (soil-air interfaces, compost systems) to generate power. State-of-the-art agricultural implementations typically produce 0.1-1 mW/cm² with temperature gradients of 5-20°C, sufficient for low-duty-cycle sensing applications but challenging for continuous monitoring systems.
RF energy harvesting, while less common in current agricultural deployments, shows potential for powering sensors in areas with reliable RF sources. Current systems can harvest 0.01-0.1 mW/cm² at distances of 10-15 meters from standard RF sources, though this remains insufficient for many agricultural applications without supplementary power sources.
The integration of these harvesting technologies with ultra-low-power electronics represents the current technological frontier. Modern agricultural self-powered sensors typically consume 10-100 μW during active sensing and can be reduced to nW levels during sleep modes. Energy storage technologies, primarily supercapacitors and thin-film batteries, provide capacities of 1-10 mAh, enabling operation during energy harvesting downtime.
Communication capabilities remain a significant challenge, with most self-powered agricultural sensors limited to short-range protocols like BLE, Zigbee, or LoRa to maintain power budgets. Transmission distances typically range from 10-500 meters depending on power availability and environmental conditions.
Durability and environmental resistance represent critical aspects of current technology status. Commercial self-powered agricultural sensors typically achieve IP65-IP67 ratings, with operational lifespans of 2-5 years under field conditions, though performance degradation remains a persistent challenge in harsh agricultural environments.
Current Self-Powered Agricultural Solutions
01 Energy harvesting mechanisms for self-powered sensors
Various energy harvesting mechanisms can be employed to power sensors without external power sources. These include piezoelectric generators that convert mechanical vibrations into electrical energy, thermoelectric generators that utilize temperature differentials, and electromagnetic induction systems that generate power from motion. These technologies enable sensors to operate autonomously in remote or inaccessible locations by converting ambient energy into usable electrical power.- Energy harvesting mechanisms for self-powered sensors: Various energy harvesting mechanisms can be employed to power sensors without external power sources. These include piezoelectric, thermoelectric, and electromagnetic energy harvesting systems that convert ambient energy (mechanical vibrations, temperature gradients, or electromagnetic fields) into electrical energy to power sensor operations. These self-sustaining power solutions enable sensors to operate in remote or inaccessible locations without battery replacement.
- Wireless self-powered sensor networks: Self-powered sensors can be integrated into wireless sensor networks that collect and transmit data without requiring external power connections. These networks utilize energy-efficient communication protocols and power management systems to optimize energy consumption. The wireless capability combined with self-powering features allows for deployment in distributed monitoring applications across various environments, from industrial settings to natural habitats.
- Triboelectric self-powered sensing systems: Triboelectric nanogenerators (TENGs) provide a novel approach for self-powered sensors by harvesting energy from friction between different materials. When two dissimilar materials come into contact and separate, they generate electrical charges that can be collected and used to power sensing elements. These systems are particularly effective for motion detection, pressure sensing, and human-machine interfaces where mechanical interaction naturally occurs.
- Solar-powered sensor technologies: Solar energy provides a reliable power source for self-powered sensors in outdoor or well-lit environments. These sensors incorporate photovoltaic cells that convert light energy into electrical power, often with energy storage components to ensure operation during low-light conditions. The integration of high-efficiency solar cells with low-power sensor circuits enables continuous monitoring applications without battery replacement or external power sources.
- Smart power management for self-powered sensors: Advanced power management techniques are essential for maximizing the efficiency of self-powered sensors. These include adaptive duty cycling, where sensors operate intermittently to conserve energy; power-aware sensing algorithms that adjust sampling rates based on available energy; and ultra-low-power sleep modes. Some systems also incorporate energy storage elements like supercapacitors or thin-film batteries to store harvested energy for use during peak sensing demands.
02 Wireless self-powered sensor networks
Self-powered sensors can be integrated into wireless sensor networks for distributed monitoring applications. These networks utilize energy-efficient communication protocols and power management strategies to extend operational lifetimes. The sensors can harvest energy from their environment while transmitting data wirelessly to central hubs or cloud systems, enabling applications in environmental monitoring, structural health monitoring, and industrial automation without the need for battery replacement or wired power connections.Expand Specific Solutions03 Triboelectric and motion-based power generation
Triboelectric nanogenerators and motion-based power generation systems can be used to create self-powered sensors that harvest energy from everyday movements. These systems generate electricity through contact-separation or sliding friction between different materials, or through the relative motion of components. Such technologies are particularly useful for wearable sensors, smart textiles, and human-machine interfaces where regular movement can be harnessed to power sensing capabilities.Expand Specific Solutions04 Solar and light-powered sensor systems
Photovoltaic technology can be integrated with sensors to create self-powered monitoring systems that operate using ambient light. These systems may incorporate energy storage components like supercapacitors or small rechargeable batteries to ensure operation during low-light conditions. Solar-powered sensors are particularly valuable for outdoor applications such as agricultural monitoring, weather stations, and remote environmental sensing where sunlight is readily available.Expand Specific Solutions05 Smart materials and integrated power management for sensors
Advanced smart materials and integrated power management circuits can significantly enhance the efficiency of self-powered sensors. These include novel semiconductor materials, flexible substrates, and specialized power conditioning circuits that maximize energy extraction from harvesting mechanisms while minimizing consumption. Such integrated approaches enable ultra-low-power operation, allowing sensors to function with minimal energy input and extending their operational lifetime in the field.Expand Specific Solutions
Key Industry Players Analysis
The self-powered sensor market for precision agriculture is in a growth phase, characterized by increasing adoption across global farming operations. The market is expanding rapidly with projections indicating significant growth as agriculture increasingly embraces IoT and sustainable technologies. From a technological maturity perspective, academic institutions like China Agricultural University, University of Florida, and Nanjing Agricultural University are driving fundamental research, while commercial players demonstrate varying levels of implementation. Companies like Bayer AG, Deere & Co., and AGCO are integrating these technologies into comprehensive precision agriculture solutions, while specialized firms such as Netafim, Precision Planting, and FJ Dynamics are developing targeted applications. Chinese enterprises and research institutions are particularly active in this space, suggesting an emerging competitive advantage in self-powered agricultural sensing technologies.
Bayer AG
Technical Solution: Bayer AG has developed an advanced self-powered sensor ecosystem called "FieldSense" that integrates with their digital farming platform. Their solution employs bioenergy harvesting techniques that utilize microbial fuel cells embedded in soil to generate electricity from natural soil biological processes. These sensors monitor comprehensive soil health parameters including moisture, temperature, nutrient levels, microbial activity, and pH. Bayer's system features specialized low-power electronics with optimized sleep/wake cycles that activate only during critical measurement periods. The sensors incorporate proprietary power management ICs that maximize energy efficiency while ensuring reliable data collection and transmission. Their platform includes edge computing capabilities that process raw sensor data locally before transmission, significantly reducing power requirements while providing actionable insights. Bayer has also developed specialized algorithms that correlate sensor data with their extensive crop science database to provide predictive analytics on crop development, disease risk, and optimal treatment timing. The system integrates seamlessly with Bayer's Climate FieldView platform, allowing farmers to access comprehensive field data alongside treatment recommendations and yield projections in a unified interface.
Strengths: Integration with Bayer's extensive crop science knowledge base provides superior analytics and recommendations. The bioenergy harvesting approach provides continuous power generation independent of weather conditions or equipment operation. Weaknesses: The microbial fuel cell technology may have variable performance across different soil types and conditions, potentially requiring customization for optimal performance in diverse agricultural environments.
Netafim Ltd.
Technical Solution: Netafim has pioneered self-powered precision irrigation sensors that operate within their drip irrigation systems. Their technology utilizes hydraulic energy harvesting, converting water flow pressure within irrigation lines into electrical energy to power distributed sensor networks. These sensors monitor soil moisture at multiple depths, soil EC (electrical conductivity), temperature, and plant water stress indicators. Netafim's system employs microfluidic energy generators embedded within irrigation components that capture energy during normal irrigation operations. The harvested energy powers wireless transmitters that communicate with central control systems using low-power protocols. Their sensors feature specialized low-power electronics with optimized sleep/wake cycles that activate only during critical measurement periods. The system includes weather-resistant enclosures designed for long-term field deployment without maintenance. Netafim has also developed proprietary algorithms that analyze sensor data to provide automated irrigation recommendations, optimizing water usage based on real-time field conditions and crop requirements. The entire system operates without external power sources, making it suitable for remote agricultural areas without reliable grid access.
Strengths: Seamless integration with irrigation infrastructure eliminates the need for separate power infrastructure. The system provides highly localized irrigation control based on actual soil conditions. Weaknesses: Primarily focused on irrigation parameters rather than comprehensive field monitoring, and energy generation depends on water flow, which may limit functionality during non-irrigation periods.
Core Sensing Technologies Review
Self-powered agricultural environment sensing system based on flexible nano piezoelectric material
PatentActiveCN117740081A
Innovation
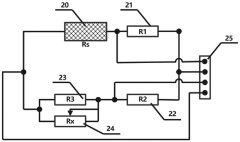
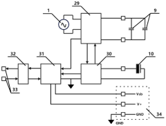
- A self-powered agricultural environment sensing system made of flexible nano-piezoelectric materials, including a flexible piezoelectric film, a power generation controller and an environmental parameter sensing device. It collects mechanical energy and converts it into electrical energy through nano-piezoelectric components. Combined with micro-energy collectors, Charge transfer capacitors and main energy storage capacitors realize continuous power supply and detect environmental parameters through high-impedance sensors and ultra-low power sensing subsystems.
Self-propelled apparatus for optimally analysing and managing fields intended for agricultural cultivation
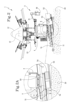
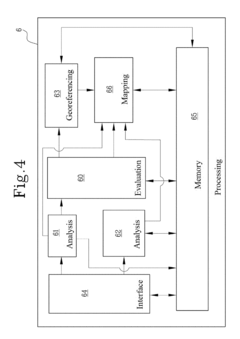
PatentInactiveUS20180364157A1
Innovation
- A self-propelled apparatus, such as a drone equipped with hyperspectral cameras and VIS-NIR spectrometers, collects and processes data in real-time, integrating remote measurements and samples to analyze soil conditions and vegetation health, enabling precise characterization and geo-referencing of field sectors for targeted treatments.
Environmental Sustainability Impact
The implementation of self-powered sensors in precision agriculture represents a significant advancement in environmental sustainability. These autonomous sensing systems minimize the need for conventional battery disposal, reducing toxic waste that traditionally contaminates soil and water resources. By harvesting energy from ambient sources such as solar radiation, thermal gradients, and mechanical vibrations present in agricultural environments, these sensors operate with a substantially reduced carbon footprint compared to traditional battery-powered alternatives.
The environmental benefits extend beyond waste reduction. Self-powered sensors enable continuous monitoring of critical environmental parameters without frequent maintenance visits, decreasing the carbon emissions associated with transportation to remote agricultural locations. This is particularly impactful in large-scale farming operations where monitoring points may be distributed across thousands of acres.
Water conservation represents another crucial sustainability advantage. Through precise soil moisture monitoring, self-powered sensor networks enable targeted irrigation strategies that can reduce water consumption by 20-30% compared to conventional methods. This optimization is increasingly vital as climate change exacerbates water scarcity in many agricultural regions globally.
Furthermore, these sensors facilitate the precise application of fertilizers and pesticides based on real-time crop needs rather than predetermined schedules. Studies indicate this approach can reduce chemical usage by up to 40%, minimizing runoff into waterways and decreasing the environmental impact of agricultural chemicals on surrounding ecosystems and biodiversity.
The life cycle assessment of self-powered sensors reveals additional sustainability benefits. The energy payback period—the time required for the sensor to generate the energy equivalent to that used in its production—is typically achieved within 1-2 years of deployment. With operational lifespans often exceeding 5-7 years, these systems provide net positive environmental returns over their functional lifetime.
When implemented at scale, self-powered sensor networks contribute to broader environmental goals by enabling precision agriculture practices that increase land-use efficiency. By optimizing crop yields on existing farmland, these technologies help reduce pressure for agricultural expansion into natural habitats, supporting conservation efforts and biodiversity preservation.
The integration of these sensors into circular economy models further enhances their sustainability profile, with manufacturers increasingly designing systems with recyclable components and implementing take-back programs to recover and repurpose materials at end-of-life.
The environmental benefits extend beyond waste reduction. Self-powered sensors enable continuous monitoring of critical environmental parameters without frequent maintenance visits, decreasing the carbon emissions associated with transportation to remote agricultural locations. This is particularly impactful in large-scale farming operations where monitoring points may be distributed across thousands of acres.
Water conservation represents another crucial sustainability advantage. Through precise soil moisture monitoring, self-powered sensor networks enable targeted irrigation strategies that can reduce water consumption by 20-30% compared to conventional methods. This optimization is increasingly vital as climate change exacerbates water scarcity in many agricultural regions globally.
Furthermore, these sensors facilitate the precise application of fertilizers and pesticides based on real-time crop needs rather than predetermined schedules. Studies indicate this approach can reduce chemical usage by up to 40%, minimizing runoff into waterways and decreasing the environmental impact of agricultural chemicals on surrounding ecosystems and biodiversity.
The life cycle assessment of self-powered sensors reveals additional sustainability benefits. The energy payback period—the time required for the sensor to generate the energy equivalent to that used in its production—is typically achieved within 1-2 years of deployment. With operational lifespans often exceeding 5-7 years, these systems provide net positive environmental returns over their functional lifetime.
When implemented at scale, self-powered sensor networks contribute to broader environmental goals by enabling precision agriculture practices that increase land-use efficiency. By optimizing crop yields on existing farmland, these technologies help reduce pressure for agricultural expansion into natural habitats, supporting conservation efforts and biodiversity preservation.
The integration of these sensors into circular economy models further enhances their sustainability profile, with manufacturers increasingly designing systems with recyclable components and implementing take-back programs to recover and repurpose materials at end-of-life.
Data Management Infrastructure
The effective management of data generated by self-powered sensors represents a critical infrastructure component for precision agriculture systems. Current data management infrastructures typically employ a multi-tier architecture comprising edge devices, fog computing nodes, and cloud platforms to process the continuous streams of sensor data. Edge computing devices situated near sensor networks perform initial data filtering and aggregation, reducing transmission bandwidth requirements while enabling real-time decision support for time-sensitive agricultural operations.
Middleware solutions have emerged as essential components, bridging the gap between heterogeneous sensor networks and application layers. Notable platforms include ThingSpeak, IBM Watson IoT, and custom-developed agricultural data management systems that provide standardized APIs for data integration. These systems implement data normalization protocols to harmonize inputs from diverse sensor types, ensuring consistent interpretation across the agricultural monitoring ecosystem.
Data storage architectures for precision agriculture have evolved toward hybrid models combining time-series databases for high-frequency sensor readings with relational databases for contextual farm information. Technologies such as InfluxDB, TimescaleDB, and MongoDB have gained traction for their ability to efficiently handle the temporal data patterns characteristic of agricultural monitoring applications while maintaining scalability as sensor deployments expand.
Security considerations have become increasingly prominent in agricultural data management infrastructures. Implementations now commonly incorporate end-to-end encryption, access control mechanisms, and secure boot processes for edge devices to protect sensitive farm data. The European Agricultural Data Space initiative and similar frameworks worldwide are establishing standards for secure, interoperable data exchange between agricultural stakeholders while preserving farmer data sovereignty.
Energy-aware data management strategies are particularly relevant for self-powered sensor networks. Adaptive sampling rates, conditional transmission protocols, and compression algorithms specifically optimized for agricultural data patterns can significantly reduce energy consumption. Research indicates that context-aware data compression techniques can achieve 30-40% reduction in transmission energy requirements without meaningful loss of agricultural intelligence.
Interoperability remains a significant challenge, with efforts underway to establish common data models and exchange formats specific to agricultural applications. The development of ontologies like AGROVOC and implementation of standards such as AgGateway's ADAPT framework represent important steps toward seamless integration across the agricultural technology ecosystem, enabling farmers to combine data from multiple sensor manufacturers within unified decision support systems.
Middleware solutions have emerged as essential components, bridging the gap between heterogeneous sensor networks and application layers. Notable platforms include ThingSpeak, IBM Watson IoT, and custom-developed agricultural data management systems that provide standardized APIs for data integration. These systems implement data normalization protocols to harmonize inputs from diverse sensor types, ensuring consistent interpretation across the agricultural monitoring ecosystem.
Data storage architectures for precision agriculture have evolved toward hybrid models combining time-series databases for high-frequency sensor readings with relational databases for contextual farm information. Technologies such as InfluxDB, TimescaleDB, and MongoDB have gained traction for their ability to efficiently handle the temporal data patterns characteristic of agricultural monitoring applications while maintaining scalability as sensor deployments expand.
Security considerations have become increasingly prominent in agricultural data management infrastructures. Implementations now commonly incorporate end-to-end encryption, access control mechanisms, and secure boot processes for edge devices to protect sensitive farm data. The European Agricultural Data Space initiative and similar frameworks worldwide are establishing standards for secure, interoperable data exchange between agricultural stakeholders while preserving farmer data sovereignty.
Energy-aware data management strategies are particularly relevant for self-powered sensor networks. Adaptive sampling rates, conditional transmission protocols, and compression algorithms specifically optimized for agricultural data patterns can significantly reduce energy consumption. Research indicates that context-aware data compression techniques can achieve 30-40% reduction in transmission energy requirements without meaningful loss of agricultural intelligence.
Interoperability remains a significant challenge, with efforts underway to establish common data models and exchange formats specific to agricultural applications. The development of ontologies like AGROVOC and implementation of standards such as AgGateway's ADAPT framework represent important steps toward seamless integration across the agricultural technology ecosystem, enabling farmers to combine data from multiple sensor manufacturers within unified decision support systems.
Unlock deeper insights with Patsnap Eureka Quick Research — get a full tech report to explore trends and direct your research. Try now!
Generate Your Research Report Instantly with AI Agent
Supercharge your innovation with Patsnap Eureka AI Agent Platform!







