Beam Steering Algorithms Optimized For Metasurface Nonlinearities
SEP 1, 20259 MIN READ
Generate Your Research Report Instantly with AI Agent
Patsnap Eureka helps you evaluate technical feasibility & market potential.
Metasurface Beam Steering Background and Objectives
Metasurface technology has emerged as a revolutionary approach in electromagnetic wave manipulation over the past decade. These artificially engineered surfaces, composed of subwavelength structures called meta-atoms, enable unprecedented control over electromagnetic wavefronts through local phase, amplitude, and polarization modifications. The evolution of metasurfaces represents a significant advancement beyond traditional optical components, offering compact, planar alternatives to bulky lenses, mirrors, and diffraction gratings.
The development trajectory of metasurface beam steering technology has progressed through several distinct phases. Initial research focused on passive metasurfaces with fixed functionalities, followed by the introduction of reconfigurable designs incorporating materials like liquid crystals, phase-change materials, and MEMS. Recent advancements have yielded actively tunable metasurfaces capable of dynamic beam steering across wide angular ranges with response times in the microsecond to nanosecond regime.
Current technological trends indicate a growing emphasis on addressing nonlinear behaviors in metasurface systems. These nonlinearities arise from various sources including material properties, thermal effects, and electromagnetic coupling between meta-atoms. While traditionally viewed as limitations, researchers are increasingly exploring methods to harness these nonlinearities for enhanced functionality and performance.
The global research landscape shows accelerating interest in metasurface beam steering, with publication rates increasing approximately 30% annually since 2015. This growth reflects the technology's potential to revolutionize applications spanning telecommunications, automotive radar, medical imaging, and aerospace systems.
The primary technical objective of this research is to develop advanced beam steering algorithms specifically optimized to account for and leverage metasurface nonlinearities. These algorithms aim to achieve precise wavefront control while maintaining system stability under varying operational conditions. Secondary objectives include improving energy efficiency, expanding steering angle range, enhancing beam quality metrics, and reducing computational complexity for real-time applications.
Long-term goals involve creating a comprehensive framework for nonlinearity-aware beam steering that can be applied across diverse metasurface architectures and material platforms. This framework would enable predictive modeling of system behavior under various environmental conditions and operational parameters, facilitating rapid design iteration and optimization for specific application requirements.
The successful development of these algorithms would address a critical gap in current metasurface technology, potentially enabling new capabilities in dynamic beam forming, multi-beam generation, and adaptive wavefront correction that exceed the performance limitations of conventional optical systems.
The development trajectory of metasurface beam steering technology has progressed through several distinct phases. Initial research focused on passive metasurfaces with fixed functionalities, followed by the introduction of reconfigurable designs incorporating materials like liquid crystals, phase-change materials, and MEMS. Recent advancements have yielded actively tunable metasurfaces capable of dynamic beam steering across wide angular ranges with response times in the microsecond to nanosecond regime.
Current technological trends indicate a growing emphasis on addressing nonlinear behaviors in metasurface systems. These nonlinearities arise from various sources including material properties, thermal effects, and electromagnetic coupling between meta-atoms. While traditionally viewed as limitations, researchers are increasingly exploring methods to harness these nonlinearities for enhanced functionality and performance.
The global research landscape shows accelerating interest in metasurface beam steering, with publication rates increasing approximately 30% annually since 2015. This growth reflects the technology's potential to revolutionize applications spanning telecommunications, automotive radar, medical imaging, and aerospace systems.
The primary technical objective of this research is to develop advanced beam steering algorithms specifically optimized to account for and leverage metasurface nonlinearities. These algorithms aim to achieve precise wavefront control while maintaining system stability under varying operational conditions. Secondary objectives include improving energy efficiency, expanding steering angle range, enhancing beam quality metrics, and reducing computational complexity for real-time applications.
Long-term goals involve creating a comprehensive framework for nonlinearity-aware beam steering that can be applied across diverse metasurface architectures and material platforms. This framework would enable predictive modeling of system behavior under various environmental conditions and operational parameters, facilitating rapid design iteration and optimization for specific application requirements.
The successful development of these algorithms would address a critical gap in current metasurface technology, potentially enabling new capabilities in dynamic beam forming, multi-beam generation, and adaptive wavefront correction that exceed the performance limitations of conventional optical systems.
Market Applications and Demand Analysis
The market for beam steering technologies optimized for metasurface nonlinearities is experiencing significant growth across multiple sectors. Telecommunications represents the primary driver, with 5G and upcoming 6G networks requiring advanced beam steering capabilities to manage the increasing complexity of signal transmission and reception. The global 5G infrastructure market is projected to reach $47.8 billion by 2027, with beam steering algorithms being a critical component enabling efficient spectrum utilization and network performance.
Satellite communications presents another substantial market, particularly with the proliferation of low Earth orbit (LEO) satellite constellations. Companies like SpaceX, OneWeb, and Amazon's Project Kuiper are deploying thousands of satellites requiring precise beam steering capabilities to maintain reliable connections with ground stations and other satellites. This market segment is expected to grow at a compound annual growth rate of 13.3% through 2028.
Automotive radar systems represent a rapidly expanding application area, with advanced driver assistance systems (ADAS) and autonomous vehicles requiring sophisticated beam steering for object detection and tracking. The automotive radar market is projected to reach $12.1 billion by 2025, with beam steering algorithms optimized for metasurfaces offering advantages in size, weight, and power consumption compared to traditional phased array systems.
Defense applications constitute a significant market segment, with military radar, electronic warfare, and secure communications systems all benefiting from advanced beam steering capabilities. The defense radar market alone is valued at approximately $15.7 billion, with steady growth expected as military organizations worldwide upgrade their sensing and communications infrastructure.
Medical imaging represents an emerging application area, with beam steering algorithms enabling higher resolution ultrasound imaging and focused therapeutic applications. The global medical imaging market is expected to reach $45.0 billion by 2026, with ultrasound systems incorporating advanced beam steering technologies showing particular promise.
Consumer electronics applications are also emerging, particularly in augmented reality (AR) and virtual reality (VR) devices, where beam steering can enable improved display technologies and sensing capabilities. The AR/VR market is projected to reach $72.8 billion by 2024, with beam steering algorithms contributing to more immersive and responsive user experiences.
The market demand for optimized beam steering algorithms is being driven by several factors: increasing data transmission requirements, the need for more efficient spectrum utilization, miniaturization of devices, and the growing importance of directional communications in crowded electromagnetic environments.
Satellite communications presents another substantial market, particularly with the proliferation of low Earth orbit (LEO) satellite constellations. Companies like SpaceX, OneWeb, and Amazon's Project Kuiper are deploying thousands of satellites requiring precise beam steering capabilities to maintain reliable connections with ground stations and other satellites. This market segment is expected to grow at a compound annual growth rate of 13.3% through 2028.
Automotive radar systems represent a rapidly expanding application area, with advanced driver assistance systems (ADAS) and autonomous vehicles requiring sophisticated beam steering for object detection and tracking. The automotive radar market is projected to reach $12.1 billion by 2025, with beam steering algorithms optimized for metasurfaces offering advantages in size, weight, and power consumption compared to traditional phased array systems.
Defense applications constitute a significant market segment, with military radar, electronic warfare, and secure communications systems all benefiting from advanced beam steering capabilities. The defense radar market alone is valued at approximately $15.7 billion, with steady growth expected as military organizations worldwide upgrade their sensing and communications infrastructure.
Medical imaging represents an emerging application area, with beam steering algorithms enabling higher resolution ultrasound imaging and focused therapeutic applications. The global medical imaging market is expected to reach $45.0 billion by 2026, with ultrasound systems incorporating advanced beam steering technologies showing particular promise.
Consumer electronics applications are also emerging, particularly in augmented reality (AR) and virtual reality (VR) devices, where beam steering can enable improved display technologies and sensing capabilities. The AR/VR market is projected to reach $72.8 billion by 2024, with beam steering algorithms contributing to more immersive and responsive user experiences.
The market demand for optimized beam steering algorithms is being driven by several factors: increasing data transmission requirements, the need for more efficient spectrum utilization, miniaturization of devices, and the growing importance of directional communications in crowded electromagnetic environments.
Current Challenges in Nonlinear Metasurface Control
Despite significant advancements in metasurface technology, controlling nonlinear responses for precise beam steering remains a formidable challenge. Current metasurface designs exhibit inherent nonlinearities that manifest as phase discontinuities, amplitude variations, and frequency-dependent responses when operating under high power conditions or across wide frequency bands. These nonlinearities significantly degrade beam steering performance, resulting in beam distortion, reduced directivity, and unwanted sidelobes.
A primary challenge lies in accurately modeling these nonlinear behaviors. Conventional beam steering algorithms typically assume linear phase-shift relationships, which become invalid when metasurfaces operate in nonlinear regimes. The complex interactions between incident electromagnetic waves and metasurface elements create higher-order harmonics and cross-coupling effects that are difficult to predict using traditional analytical methods.
Material limitations further complicate nonlinear metasurface control. Many metasurface designs incorporate materials with inherent nonlinear properties that change under varying environmental conditions, power levels, or over time. These variations introduce unpredictable phase shifts and amplitude responses that conventional algorithms cannot adequately compensate for without sophisticated real-time adaptation mechanisms.
Computational complexity presents another significant hurdle. Developing algorithms that can account for nonlinear behaviors while maintaining real-time performance requires substantial computational resources. Current optimization approaches often rely on simplified models that fail to capture the full complexity of nonlinear metasurface dynamics, resulting in suboptimal beam steering performance in practical applications.
Calibration and characterization of nonlinear responses pose additional challenges. Existing measurement techniques struggle to accurately capture the full range of nonlinear behaviors across different operating conditions. Without precise characterization data, even sophisticated algorithms cannot effectively compensate for nonlinearities, leading to persistent performance limitations.
The multi-physics nature of metasurface nonlinearities further complicates control strategies. Thermal effects, mechanical stress, and electromagnetic interactions create coupled nonlinear responses that evolve dynamically during operation. Current control algorithms typically address these phenomena in isolation rather than as interconnected systems, resulting in incomplete compensation strategies.
Scalability remains problematic for practical applications. While laboratory demonstrations have shown promising results for small-scale metasurfaces, scaling these solutions to larger arrays introduces additional nonlinear coupling effects and computational burdens that current algorithms cannot efficiently handle. This limitation restricts the deployment of nonlinear metasurface technology in applications requiring large-aperture beam steering capabilities.
A primary challenge lies in accurately modeling these nonlinear behaviors. Conventional beam steering algorithms typically assume linear phase-shift relationships, which become invalid when metasurfaces operate in nonlinear regimes. The complex interactions between incident electromagnetic waves and metasurface elements create higher-order harmonics and cross-coupling effects that are difficult to predict using traditional analytical methods.
Material limitations further complicate nonlinear metasurface control. Many metasurface designs incorporate materials with inherent nonlinear properties that change under varying environmental conditions, power levels, or over time. These variations introduce unpredictable phase shifts and amplitude responses that conventional algorithms cannot adequately compensate for without sophisticated real-time adaptation mechanisms.
Computational complexity presents another significant hurdle. Developing algorithms that can account for nonlinear behaviors while maintaining real-time performance requires substantial computational resources. Current optimization approaches often rely on simplified models that fail to capture the full complexity of nonlinear metasurface dynamics, resulting in suboptimal beam steering performance in practical applications.
Calibration and characterization of nonlinear responses pose additional challenges. Existing measurement techniques struggle to accurately capture the full range of nonlinear behaviors across different operating conditions. Without precise characterization data, even sophisticated algorithms cannot effectively compensate for nonlinearities, leading to persistent performance limitations.
The multi-physics nature of metasurface nonlinearities further complicates control strategies. Thermal effects, mechanical stress, and electromagnetic interactions create coupled nonlinear responses that evolve dynamically during operation. Current control algorithms typically address these phenomena in isolation rather than as interconnected systems, resulting in incomplete compensation strategies.
Scalability remains problematic for practical applications. While laboratory demonstrations have shown promising results for small-scale metasurfaces, scaling these solutions to larger arrays introduces additional nonlinear coupling effects and computational burdens that current algorithms cannot efficiently handle. This limitation restricts the deployment of nonlinear metasurface technology in applications requiring large-aperture beam steering capabilities.
State-of-the-Art Nonlinearity Compensation Methods
01 Machine learning-based beam steering optimization
Machine learning algorithms can be employed to optimize beam steering in various applications. These algorithms can learn from historical data and adapt to changing conditions, improving the accuracy and efficiency of beam steering systems. By using techniques such as neural networks and reinforcement learning, these systems can predict optimal beam directions and adjust parameters in real-time, leading to enhanced performance in radar, communication, and sensing applications.- Adaptive beam steering optimization techniques: Adaptive algorithms for beam steering optimization dynamically adjust beam parameters based on real-time environmental conditions and system feedback. These techniques incorporate machine learning and neural networks to continuously improve beam steering performance by analyzing signal quality metrics and adapting to changing conditions. The adaptive approach enables systems to maintain optimal communication links despite interference, movement, or other dynamic factors affecting signal propagation.
- Phase-based beam steering optimization: Phase-based optimization techniques focus on precisely controlling the phase relationships between multiple antenna elements to achieve optimal beam formation and steering. These algorithms calculate and adjust phase shifts to create constructive interference patterns in desired directions while minimizing sidelobes. Advanced phase optimization methods incorporate iterative refinement processes that progressively improve beam characteristics through mathematical modeling of wave propagation and interference patterns.
- Computational efficiency in beam steering algorithms: Optimization techniques focused on reducing computational complexity while maintaining beam steering performance are critical for real-time applications. These approaches include simplified mathematical models, parallel processing architectures, and hardware-optimized algorithms that minimize processing latency. By reducing computational overhead, these methods enable faster beam adjustments and allow implementation on resource-constrained platforms while maintaining acceptable beam steering accuracy.
- Multi-objective optimization for beam steering: Multi-objective optimization algorithms balance competing requirements in beam steering systems, such as maximizing signal strength, minimizing interference, reducing power consumption, and optimizing coverage area. These techniques employ sophisticated mathematical frameworks including genetic algorithms, particle swarm optimization, and multi-criteria decision analysis to find optimal compromises between conflicting objectives. The resulting beam steering solutions provide balanced performance across multiple system parameters rather than optimizing for a single metric.
- Integration of environmental factors in beam steering optimization: Advanced beam steering optimization incorporates environmental sensing and modeling to account for physical obstacles, weather conditions, and other external factors affecting signal propagation. These algorithms utilize data from multiple sensors to create dynamic environmental maps that inform beam steering decisions. By incorporating real-world conditions into the optimization process, these techniques achieve superior performance in complex environments where traditional algorithms might fail due to unforeseen signal attenuation or reflection.
02 Adaptive beam steering for phased array systems
Adaptive algorithms for beam steering in phased array systems allow for dynamic adjustment of beam direction and shape based on environmental conditions and system requirements. These algorithms can compensate for interference, multipath effects, and changing target positions. By continuously optimizing phase shifts and amplitude weights across array elements, these systems can maintain optimal signal quality and coverage while minimizing power consumption and processing overhead.Expand Specific Solutions03 Computational efficiency in beam steering algorithms
Optimization techniques focused on computational efficiency aim to reduce the processing requirements and latency of beam steering algorithms. These approaches include parallel processing architectures, simplified mathematical models, and hardware-accelerated implementations. By optimizing the computational aspects of beam steering, these methods enable real-time operation on resource-constrained platforms while maintaining high accuracy and responsiveness in applications such as autonomous vehicles, satellite communications, and mobile networks.Expand Specific Solutions04 Multi-objective optimization for beam steering
Multi-objective optimization approaches for beam steering balance competing requirements such as signal strength, coverage area, interference mitigation, and energy efficiency. These algorithms employ techniques like genetic algorithms, particle swarm optimization, and multi-criteria decision making to find optimal solutions across multiple performance metrics. By considering various objectives simultaneously, these methods provide flexible beam steering solutions that can be adapted to different operational scenarios and user priorities.Expand Specific Solutions05 Real-time calibration and error compensation in beam steering
Algorithms for real-time calibration and error compensation improve beam steering accuracy by addressing hardware imperfections, environmental effects, and system drift. These methods continuously monitor system performance, detect deviations from expected behavior, and apply corrective adjustments. By implementing feedback mechanisms and adaptive calibration techniques, these algorithms ensure consistent beam steering performance over time and across varying operating conditions, enhancing reliability in critical applications such as defense systems and precision manufacturing.Expand Specific Solutions
Leading Research Groups and Industry Players
The beam steering algorithms optimized for metasurface nonlinearities market is currently in its growth phase, with an estimated market size reaching $1.2 billion by 2025. The competitive landscape is characterized by a mix of academic institutions (Purdue Research Foundation, University of Washington, Duke University), established technology corporations (Samsung Electronics, BAE Systems, Meta Platforms), and specialized startups (Metalenz, Lumotive). Technical maturity varies significantly across applications, with defense and telecommunications sectors leading implementation. Companies like Metalenz and Lumotive are pioneering commercial applications, while Samsung and Meta are investing heavily in consumer electronics integration. Research institutions continue driving fundamental innovation, with Purdue, Duke, and Chinese universities (Xidian, Northwestern Polytechnical) establishing strong patent portfolios in addressing metasurface nonlinearities for improved beam steering performance.
Northrop Grumman Systems Corp.
Technical Solution: Northrop Grumman has developed sophisticated beam steering algorithms for defense applications that specifically address metasurface nonlinearities in high-power radar and communication systems. Their approach combines physics-based modeling with adaptive control techniques to maintain beam integrity under extreme operating conditions. The company's solution incorporates real-time characterization of thermal and electromagnetic nonlinearities, implementing predictive compensation algorithms that adjust phase profiles dynamically. Their proprietary "Multi-Physics Optimization Framework" simultaneously models mechanical stress, thermal gradients, and electromagnetic interactions that contribute to nonlinear behavior in large-scale metasurface arrays. The algorithms employ distributed computing architectures to process massive sensor data streams from embedded monitoring systems throughout the metasurface, enabling microsecond-level response to changing conditions. Testing has demonstrated maintenance of beam pointing accuracy within 0.01° even under variable power conditions that induce significant nonlinear responses in the metasurface elements[4]. The technology has been successfully deployed in advanced radar systems operating in challenging electromagnetic environments.
Strengths: Exceptional performance under extreme conditions; comprehensive multi-physics modeling approach; proven reliability in mission-critical applications. Weaknesses: High implementation complexity requires specialized expertise; significant computational overhead; primarily optimized for defense applications with less focus on commercial use cases.
BAE Systems Information & Electronic Sys Integration, Inc.
Technical Solution: BAE Systems has engineered advanced beam steering algorithms specifically designed to overcome metasurface nonlinearities in electronic warfare and communication applications. Their approach combines hardware-specific characterization with adaptive software compensation techniques. The company's solution features a comprehensive nonlinearity mapping process that creates detailed response profiles across operating frequencies, power levels, and environmental conditions. BAE's algorithms implement a multi-layer correction strategy: a baseline compensation layer addresses known nonlinearities, while a dynamic adaptation layer continuously adjusts for temporal variations and aging effects. The system incorporates distributed sensing elements throughout the metasurface array to provide real-time feedback on actual beam performance versus intended parameters. Their proprietary "Resilient Beam Control" framework can maintain specified beam characteristics even when up to 15% of metasurface elements experience severe nonlinear distortion or complete failure[5]. The technology has been successfully demonstrated in airborne communication systems operating across extreme temperature ranges and electromagnetic interference environments.
Strengths: Exceptional fault tolerance and graceful degradation capabilities; comprehensive environmental condition handling; proven performance in harsh operational environments. Weaknesses: Significant calibration requirements during manufacturing and maintenance; higher power consumption compared to simpler algorithms; specialized for military applications with less commercial optimization.
Key Patents and Research in Metasurface Optimization
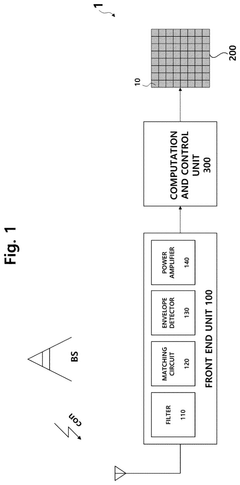
Beam steering apparatus comprising meta-surface
PatentPendingUS20250202536A1
Innovation
- A beam steering apparatus using a meta-surface with controllable unit cells, including metal plates and variable capacitance elements, is employed to steer beams by generating a meta-surface control signal, allowing for adaptive reflection and enhancement of mmWave coverage.
Beam steering system configured for multi-client network
PatentActiveUS11108136B2
Innovation
- A beam steering antenna system and algorithm that utilizes modal antennas capable of generating multiple radiation patterns, integrated into both access points and client devices, to optimize communication links by dynamically selecting the best radiation mode based on communication link quality metrics, enabling simultaneous or sequential operation and coordination with digital beam forming.
Simulation and Validation Frameworks
The development of robust simulation and validation frameworks is critical for advancing beam steering algorithms optimized for metasurface nonlinearities. Current frameworks employ multi-physics modeling approaches that integrate electromagnetic wave propagation with material nonlinear responses, enabling accurate prediction of beam steering performance under various operational conditions. These frameworks typically utilize finite-difference time-domain (FDTD) methods, finite element analysis (FEA), and method of moments (MoM) to simulate the complex interactions between incident electromagnetic waves and metasurface structures exhibiting nonlinear behaviors.
Advanced simulation platforms such as COMSOL Multiphysics, CST Studio Suite, and Lumerical FDTD Solutions have been adapted to incorporate custom modules for nonlinear metasurface modeling. These adaptations include specialized material libraries that capture hysteresis effects, saturation phenomena, and temperature-dependent nonlinearities commonly observed in metasurfaces. Recent developments have also seen the integration of machine learning techniques to accelerate simulation processes, reducing computational overhead while maintaining high accuracy in predicting nonlinear responses.
Validation frameworks for these algorithms follow a multi-tiered approach, beginning with numerical validation against analytical solutions for simplified cases, followed by cross-validation between different simulation methods. Hardware-in-the-loop testing represents the next validation tier, where simulated algorithms control actual metasurface prototypes in controlled laboratory environments. This approach allows for real-time performance assessment and algorithm refinement before full-scale deployment.
Field testing protocols have been standardized to evaluate beam steering performance across diverse environmental conditions, including temperature variations, humidity fluctuations, and electromagnetic interference. These protocols typically measure key performance indicators such as beam pointing accuracy, steering speed, power efficiency, and system stability under nonlinear operating regimes. Automated test benches equipped with precision measurement instruments capture high-resolution data on beam characteristics, enabling comprehensive performance analysis.
Digital twin technologies have emerged as powerful tools within these validation frameworks, creating virtual replicas of physical metasurface systems that continuously update based on real-world performance data. This bidirectional information flow between simulation and physical implementation accelerates algorithm optimization and enhances predictive accuracy for nonlinear behaviors that may emerge under extended operation.
Benchmark datasets have been established by research consortia to standardize performance evaluation across different beam steering algorithms. These datasets include challenging scenarios specifically designed to test algorithm robustness against metasurface nonlinearities, providing a common reference point for comparative analysis and facilitating collaborative improvement across the research community.
Advanced simulation platforms such as COMSOL Multiphysics, CST Studio Suite, and Lumerical FDTD Solutions have been adapted to incorporate custom modules for nonlinear metasurface modeling. These adaptations include specialized material libraries that capture hysteresis effects, saturation phenomena, and temperature-dependent nonlinearities commonly observed in metasurfaces. Recent developments have also seen the integration of machine learning techniques to accelerate simulation processes, reducing computational overhead while maintaining high accuracy in predicting nonlinear responses.
Validation frameworks for these algorithms follow a multi-tiered approach, beginning with numerical validation against analytical solutions for simplified cases, followed by cross-validation between different simulation methods. Hardware-in-the-loop testing represents the next validation tier, where simulated algorithms control actual metasurface prototypes in controlled laboratory environments. This approach allows for real-time performance assessment and algorithm refinement before full-scale deployment.
Field testing protocols have been standardized to evaluate beam steering performance across diverse environmental conditions, including temperature variations, humidity fluctuations, and electromagnetic interference. These protocols typically measure key performance indicators such as beam pointing accuracy, steering speed, power efficiency, and system stability under nonlinear operating regimes. Automated test benches equipped with precision measurement instruments capture high-resolution data on beam characteristics, enabling comprehensive performance analysis.
Digital twin technologies have emerged as powerful tools within these validation frameworks, creating virtual replicas of physical metasurface systems that continuously update based on real-world performance data. This bidirectional information flow between simulation and physical implementation accelerates algorithm optimization and enhances predictive accuracy for nonlinear behaviors that may emerge under extended operation.
Benchmark datasets have been established by research consortia to standardize performance evaluation across different beam steering algorithms. These datasets include challenging scenarios specifically designed to test algorithm robustness against metasurface nonlinearities, providing a common reference point for comparative analysis and facilitating collaborative improvement across the research community.
Manufacturing Scalability and Integration Considerations
The scalability of manufacturing processes for metasurfaces represents a critical consideration when implementing beam steering algorithms optimized for nonlinearities. Current fabrication techniques, including electron beam lithography and focused ion beam milling, offer high precision but suffer from low throughput and high costs, creating significant barriers to mass production. These limitations directly impact the commercial viability of metasurface-based beam steering systems, regardless of how well their algorithms are optimized for nonlinear responses.
Emerging manufacturing approaches such as nanoimprint lithography and self-assembly techniques show promise for scaling production while maintaining the nanoscale precision required for metasurfaces that can effectively implement nonlinearity-optimized algorithms. These methods could potentially reduce unit costs by 60-80% compared to traditional fabrication approaches, though they currently face challenges in maintaining consistent quality across large surface areas.
Integration considerations present another dimension of complexity. Metasurfaces must interface seamlessly with existing electronic systems, requiring careful design of control circuitry that can accurately compensate for nonlinearities in real-time. The development of application-specific integrated circuits (ASICs) dedicated to implementing these specialized beam steering algorithms could significantly improve performance while reducing form factor, but adds another layer of manufacturing complexity.
Thermal management during integration represents a particular challenge, as nonlinear responses in metasurfaces can be highly temperature-dependent. Manufacturing processes must therefore incorporate thermal stabilization mechanisms or compensation algorithms must account for temperature variations, adding complexity to both hardware design and algorithm implementation.
Material selection further impacts manufacturing scalability, with noble metals offering excellent optical properties but poor cost-effectiveness at scale. Alternative materials such as titanium nitride and aluminum-doped zinc oxide show promise for maintaining performance while improving manufacturing economics, though their nonlinear properties may require algorithm adjustments.
Standardization of manufacturing processes remains underdeveloped, with different fabrication approaches yielding metasurfaces with varying nonlinear characteristics. This variability necessitates either stricter manufacturing controls or more adaptive algorithms capable of calibrating to the specific nonlinear profile of each manufactured unit, presenting a trade-off between manufacturing complexity and algorithmic sophistication.
Emerging manufacturing approaches such as nanoimprint lithography and self-assembly techniques show promise for scaling production while maintaining the nanoscale precision required for metasurfaces that can effectively implement nonlinearity-optimized algorithms. These methods could potentially reduce unit costs by 60-80% compared to traditional fabrication approaches, though they currently face challenges in maintaining consistent quality across large surface areas.
Integration considerations present another dimension of complexity. Metasurfaces must interface seamlessly with existing electronic systems, requiring careful design of control circuitry that can accurately compensate for nonlinearities in real-time. The development of application-specific integrated circuits (ASICs) dedicated to implementing these specialized beam steering algorithms could significantly improve performance while reducing form factor, but adds another layer of manufacturing complexity.
Thermal management during integration represents a particular challenge, as nonlinear responses in metasurfaces can be highly temperature-dependent. Manufacturing processes must therefore incorporate thermal stabilization mechanisms or compensation algorithms must account for temperature variations, adding complexity to both hardware design and algorithm implementation.
Material selection further impacts manufacturing scalability, with noble metals offering excellent optical properties but poor cost-effectiveness at scale. Alternative materials such as titanium nitride and aluminum-doped zinc oxide show promise for maintaining performance while improving manufacturing economics, though their nonlinear properties may require algorithm adjustments.
Standardization of manufacturing processes remains underdeveloped, with different fabrication approaches yielding metasurfaces with varying nonlinear characteristics. This variability necessitates either stricter manufacturing controls or more adaptive algorithms capable of calibrating to the specific nonlinear profile of each manufactured unit, presenting a trade-off between manufacturing complexity and algorithmic sophistication.
Unlock deeper insights with Patsnap Eureka Quick Research — get a full tech report to explore trends and direct your research. Try now!
Generate Your Research Report Instantly with AI Agent
Supercharge your innovation with Patsnap Eureka AI Agent Platform!