Case Study: Renewable Microgrid With SLB Buffering
AUG 28, 20259 MIN READ
Generate Your Research Report Instantly with AI Agent
Patsnap Eureka helps you evaluate technical feasibility & market potential.
Renewable Microgrid Technology Evolution and Objectives
Renewable microgrid technology has evolved significantly over the past two decades, transitioning from experimental concepts to commercially viable energy solutions. The integration of distributed energy resources (DERs) began in the early 2000s with simple solar-diesel hybrid systems, which provided limited reliability and efficiency. By 2010, more sophisticated control systems emerged, enabling better coordination between multiple generation sources and introducing basic energy management capabilities.
The evolution accelerated around 2015 with the integration of advanced battery storage technologies, particularly lithium-ion systems, which dramatically improved the stability and reliability of microgrids. This period marked a critical shift from fossil fuel dependency to renewable-dominant architectures. The introduction of Second Life Battery (SLB) buffering represents the latest significant advancement in this evolutionary timeline, offering cost-effective energy storage solutions by repurposing batteries from electric vehicles.
Current technological objectives for renewable microgrids with SLB buffering focus on several key areas. Primary among these is maximizing system resilience and reliability, ensuring continuous power supply even during adverse weather conditions or grid outages. This is particularly crucial for remote communities and critical infrastructure applications where grid connection is unreliable or nonexistent.
Cost optimization represents another fundamental objective, with SLB integration offering potential CAPEX reductions of 30-40% compared to new battery systems. Researchers are working to extend SLB operational lifespans beyond current 5-7 year estimates through advanced battery management systems (BMS) and predictive maintenance algorithms.
Environmental sustainability drives much of the innovation in this field, with renewable microgrids aiming to minimize carbon footprints while maximizing the lifecycle value of existing battery resources. The circular economy aspect of SLB implementation aligns with global sustainability goals and regulatory trends toward reduced electronic waste.
Technical objectives include improving power quality management, enhancing system response to fluctuating renewable generation, and developing more sophisticated energy management systems. These systems must effectively handle the unique characteristics of SLBs, including variable degradation rates and performance parameters across repurposed battery units.
Standardization represents a critical objective for wider adoption, as the industry works toward unified protocols for SLB assessment, integration, and operation. This includes developing robust testing methodologies to accurately determine remaining useful life and performance capabilities of repurposed batteries.
The long-term vision encompasses fully autonomous microgrids with predictive capabilities, leveraging artificial intelligence to optimize energy flows between renewable sources, SLB storage, and connected loads while adapting to changing environmental conditions and usage patterns.
The evolution accelerated around 2015 with the integration of advanced battery storage technologies, particularly lithium-ion systems, which dramatically improved the stability and reliability of microgrids. This period marked a critical shift from fossil fuel dependency to renewable-dominant architectures. The introduction of Second Life Battery (SLB) buffering represents the latest significant advancement in this evolutionary timeline, offering cost-effective energy storage solutions by repurposing batteries from electric vehicles.
Current technological objectives for renewable microgrids with SLB buffering focus on several key areas. Primary among these is maximizing system resilience and reliability, ensuring continuous power supply even during adverse weather conditions or grid outages. This is particularly crucial for remote communities and critical infrastructure applications where grid connection is unreliable or nonexistent.
Cost optimization represents another fundamental objective, with SLB integration offering potential CAPEX reductions of 30-40% compared to new battery systems. Researchers are working to extend SLB operational lifespans beyond current 5-7 year estimates through advanced battery management systems (BMS) and predictive maintenance algorithms.
Environmental sustainability drives much of the innovation in this field, with renewable microgrids aiming to minimize carbon footprints while maximizing the lifecycle value of existing battery resources. The circular economy aspect of SLB implementation aligns with global sustainability goals and regulatory trends toward reduced electronic waste.
Technical objectives include improving power quality management, enhancing system response to fluctuating renewable generation, and developing more sophisticated energy management systems. These systems must effectively handle the unique characteristics of SLBs, including variable degradation rates and performance parameters across repurposed battery units.
Standardization represents a critical objective for wider adoption, as the industry works toward unified protocols for SLB assessment, integration, and operation. This includes developing robust testing methodologies to accurately determine remaining useful life and performance capabilities of repurposed batteries.
The long-term vision encompasses fully autonomous microgrids with predictive capabilities, leveraging artificial intelligence to optimize energy flows between renewable sources, SLB storage, and connected loads while adapting to changing environmental conditions and usage patterns.
Market Analysis for SLB-Buffered Microgrid Solutions
The global market for SLB-buffered microgrid solutions is experiencing robust growth, driven by increasing demand for reliable, sustainable energy systems. The market size for renewable microgrids was valued at approximately $26.9 billion in 2022, with projections indicating a compound annual growth rate (CAGR) of 11.2% through 2030. Within this broader market, Second-Life Battery (SLB) buffering solutions are emerging as a significant segment, expected to reach $4.3 billion by 2028.
Demand for these integrated solutions stems from multiple sectors. Commercial and industrial customers seek energy resilience against grid outages, with 78% of businesses reporting significant financial losses due to power disruptions. Remote communities represent another substantial market segment, with over 759 million people worldwide lacking reliable electricity access. For these communities, SLB-buffered microgrids offer a cost-effective path to energy independence.
The integration of renewable energy sources with SLB storage addresses critical market needs for sustainability and cost efficiency. Organizations facing stringent carbon reduction targets view these systems as strategic investments, with 67% of Fortune 500 companies having established renewable energy goals. Additionally, the declining costs of solar PV (down 85% since 2010) and wind generation (down 55% since 2010) make renewable microgrids increasingly competitive with traditional energy sources.
Regional market analysis reveals varying adoption patterns. North America leads in market value, accounting for 34% of global installations, driven by grid resilience concerns and corporate sustainability initiatives. The Asia-Pacific region demonstrates the fastest growth rate at 14.7% annually, fueled by rapid industrialization, electrification efforts, and government renewable energy mandates. Europe follows closely with strong policy support for circular economy solutions that align perfectly with SLB repurposing.
Customer segmentation shows distinct value propositions across markets. For commercial and industrial users, the primary drivers are energy cost reduction (average 30-45% savings) and business continuity. Public sector and institutional customers prioritize resilience and sustainability goals. Remote and off-grid communities value energy access and independence from fossil fuel imports.
Market barriers include initial capital costs, which remain 15-25% higher than conventional systems despite declining rapidly. Technical concerns about SLB performance predictability and standardization also persist, though recent field demonstrations show reliability rates exceeding 95% for properly refurbished batteries.
The competitive landscape features traditional energy providers expanding into microgrid solutions, specialized renewable integrators, and emerging SLB refurbishment companies forming strategic partnerships. This market consolidation trend is expected to accelerate as the technology matures and standardization improves.
Demand for these integrated solutions stems from multiple sectors. Commercial and industrial customers seek energy resilience against grid outages, with 78% of businesses reporting significant financial losses due to power disruptions. Remote communities represent another substantial market segment, with over 759 million people worldwide lacking reliable electricity access. For these communities, SLB-buffered microgrids offer a cost-effective path to energy independence.
The integration of renewable energy sources with SLB storage addresses critical market needs for sustainability and cost efficiency. Organizations facing stringent carbon reduction targets view these systems as strategic investments, with 67% of Fortune 500 companies having established renewable energy goals. Additionally, the declining costs of solar PV (down 85% since 2010) and wind generation (down 55% since 2010) make renewable microgrids increasingly competitive with traditional energy sources.
Regional market analysis reveals varying adoption patterns. North America leads in market value, accounting for 34% of global installations, driven by grid resilience concerns and corporate sustainability initiatives. The Asia-Pacific region demonstrates the fastest growth rate at 14.7% annually, fueled by rapid industrialization, electrification efforts, and government renewable energy mandates. Europe follows closely with strong policy support for circular economy solutions that align perfectly with SLB repurposing.
Customer segmentation shows distinct value propositions across markets. For commercial and industrial users, the primary drivers are energy cost reduction (average 30-45% savings) and business continuity. Public sector and institutional customers prioritize resilience and sustainability goals. Remote and off-grid communities value energy access and independence from fossil fuel imports.
Market barriers include initial capital costs, which remain 15-25% higher than conventional systems despite declining rapidly. Technical concerns about SLB performance predictability and standardization also persist, though recent field demonstrations show reliability rates exceeding 95% for properly refurbished batteries.
The competitive landscape features traditional energy providers expanding into microgrid solutions, specialized renewable integrators, and emerging SLB refurbishment companies forming strategic partnerships. This market consolidation trend is expected to accelerate as the technology matures and standardization improves.
Technical Barriers and Global Development Status
Despite significant advancements in renewable microgrid technologies, several technical barriers continue to impede widespread implementation of systems with Second Life Battery (SLB) buffering. Energy storage integration remains a primary challenge, particularly when incorporating SLBs with varying degradation levels, capacities, and chemistries. The heterogeneity of these batteries creates complex management requirements for Battery Management Systems (BMS), which must accurately predict remaining useful life while ensuring safe operation under diverse conditions.
Control system complexity presents another significant barrier. Microgrids with SLB buffering require sophisticated algorithms to optimize power flow between multiple renewable sources, storage systems, and loads. These algorithms must account for the stochastic nature of renewable generation, variable load profiles, and the unique characteristics of repurposed batteries, creating computational challenges that exceed traditional grid management approaches.
Globally, development status varies considerably by region. Europe leads in regulatory frameworks supporting SLB integration in microgrids, with countries like Germany and Denmark implementing pilot projects demonstrating technical feasibility. The European Union's Circular Economy Action Plan has specifically targeted battery reuse, creating favorable conditions for SLB microgrid development.
North America shows strong research momentum but faces regulatory fragmentation. The United States has established several demonstration projects through Department of Energy initiatives, particularly focusing on resilience applications for remote communities and critical infrastructure. However, state-by-state regulatory differences create implementation barriers for widespread adoption.
The Asia-Pacific region demonstrates the most rapid growth in implementation, particularly in China, Japan, and South Korea. These countries leverage their dominant positions in battery manufacturing to create closed-loop systems where electric vehicle batteries transition to stationary storage applications. China's national policies actively promote second-life applications as part of its broader renewable energy strategy.
Technical standardization remains inconsistent globally. While organizations like IEEE and IEC have begun developing standards for SLB applications, the lack of unified testing protocols, safety requirements, and interoperability standards creates market uncertainty. This standardization gap particularly affects system integrators attempting to design scalable solutions across different markets.
Economic viability continues to challenge widespread adoption, with SLB processing costs, testing requirements, and system integration expenses creating barriers to achieving cost advantages over new battery systems. However, as processing technologies improve and economies of scale develop, these economic barriers are gradually diminishing in mature markets.
Control system complexity presents another significant barrier. Microgrids with SLB buffering require sophisticated algorithms to optimize power flow between multiple renewable sources, storage systems, and loads. These algorithms must account for the stochastic nature of renewable generation, variable load profiles, and the unique characteristics of repurposed batteries, creating computational challenges that exceed traditional grid management approaches.
Globally, development status varies considerably by region. Europe leads in regulatory frameworks supporting SLB integration in microgrids, with countries like Germany and Denmark implementing pilot projects demonstrating technical feasibility. The European Union's Circular Economy Action Plan has specifically targeted battery reuse, creating favorable conditions for SLB microgrid development.
North America shows strong research momentum but faces regulatory fragmentation. The United States has established several demonstration projects through Department of Energy initiatives, particularly focusing on resilience applications for remote communities and critical infrastructure. However, state-by-state regulatory differences create implementation barriers for widespread adoption.
The Asia-Pacific region demonstrates the most rapid growth in implementation, particularly in China, Japan, and South Korea. These countries leverage their dominant positions in battery manufacturing to create closed-loop systems where electric vehicle batteries transition to stationary storage applications. China's national policies actively promote second-life applications as part of its broader renewable energy strategy.
Technical standardization remains inconsistent globally. While organizations like IEEE and IEC have begun developing standards for SLB applications, the lack of unified testing protocols, safety requirements, and interoperability standards creates market uncertainty. This standardization gap particularly affects system integrators attempting to design scalable solutions across different markets.
Economic viability continues to challenge widespread adoption, with SLB processing costs, testing requirements, and system integration expenses creating barriers to achieving cost advantages over new battery systems. However, as processing technologies improve and economies of scale develop, these economic barriers are gradually diminishing in mature markets.
Current SLB Buffering Implementation Strategies
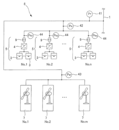
01 Integration of second life batteries in renewable microgrids
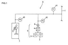
Second life batteries (SLB) can be integrated into renewable microgrids to provide energy storage capabilities. These batteries, repurposed from electric vehicles after their primary use, still retain significant capacity and can be utilized for grid stabilization. The integration involves connecting SLBs to renewable energy sources like solar and wind within a microgrid architecture, allowing for efficient energy management and reducing the need for new battery production.- Integration of Second Life Batteries in Renewable Microgrids: Second life batteries (SLB) can be integrated into renewable microgrids to provide energy storage capabilities. These batteries, repurposed from electric vehicles after their primary use cycle, still retain sufficient capacity for stationary applications. By incorporating SLBs into renewable microgrids, the system can store excess energy generated from renewable sources like solar and wind, and release it when demand is high or generation is low, thereby enhancing grid stability and reliability.
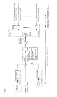
- Energy Management Systems for SLB-based Microgrids: Energy management systems are crucial for optimizing the operation of microgrids with second life battery buffering. These systems employ advanced algorithms to predict energy generation and consumption patterns, manage the charging and discharging cycles of SLBs, and ensure efficient power distribution. By intelligently controlling the flow of energy within the microgrid, these management systems maximize the utilization of renewable resources, extend the useful life of second life batteries, and minimize reliance on conventional power sources.
- Economic and Business Models for SLB Microgrids: Various economic and business models have been developed for implementing second life battery buffering in renewable microgrids. These models address the financial aspects of acquiring, refurbishing, and deploying SLBs, as well as the economic benefits of reduced energy costs, grid services, and extended battery lifecycle value. Approaches include battery-as-a-service, power purchase agreements specifically for SLB-backed renewable energy, and market participation models where SLB microgrids can trade energy or provide grid services to generate revenue.
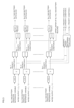
- Technical Solutions for SLB Performance and Reliability: Technical solutions have been developed to address the challenges associated with using second life batteries in microgrids, such as varying degradation levels, capacity differences, and reliability concerns. These solutions include advanced battery management systems that can handle heterogeneous battery packs, state-of-health monitoring algorithms, thermal management systems, and fault detection mechanisms. By implementing these technical solutions, the performance and reliability of SLBs in microgrid applications can be significantly improved, ensuring stable and efficient operation.
- Hybrid Renewable Energy Systems with SLB Buffering: Hybrid renewable energy systems combine multiple renewable sources (such as solar, wind, and hydro) with second life battery buffering to create more resilient and efficient microgrids. These systems leverage the complementary nature of different renewable sources to overcome intermittency issues, while using SLBs to smooth out fluctuations and store excess energy. The integration of diverse energy sources with SLB buffering enables more consistent power output, reduces the required battery capacity, and improves the overall economics and reliability of the microgrid.
02 Energy management systems for SLB-based microgrids
Advanced energy management systems are essential for optimizing the performance of microgrids utilizing second life batteries. These systems employ algorithms to balance energy supply and demand, manage charging and discharging cycles of SLBs, and ensure grid stability. They can predict energy generation from renewable sources, forecast consumption patterns, and make real-time decisions to maximize efficiency while extending the useful life of second life batteries in the microgrid setup.Expand Specific Solutions03 Economic and business models for SLB implementation in microgrids
Various economic and business models have been developed for implementing second life batteries in renewable microgrids. These include battery-as-a-service models, leasing arrangements, and performance-based contracts. The models address the valuation of used batteries, cost-benefit analysis of SLB implementation versus new batteries, and revenue generation through grid services such as peak shaving and frequency regulation. These approaches help overcome financial barriers to SLB adoption in microgrid projects.Expand Specific Solutions04 Technical solutions for SLB performance monitoring and management
Specialized technical solutions have been developed for monitoring and managing the performance of second life batteries in microgrid applications. These include battery management systems adapted for heterogeneous battery packs, diagnostic tools for assessing SLB health and remaining useful life, and predictive maintenance systems. Advanced sensors and data analytics enable real-time monitoring of battery parameters, helping to ensure safe operation and optimal performance of SLBs within renewable microgrids.Expand Specific Solutions05 Hybrid energy storage systems combining SLBs with other technologies
Hybrid energy storage systems that combine second life batteries with other storage technologies can enhance the performance of renewable microgrids. These systems may integrate SLBs with supercapacitors, hydrogen storage, or thermal energy storage to leverage the complementary characteristics of different technologies. The hybrid approach allows for optimizing response times, energy density, and cycle life while providing buffering capabilities for various grid services and improving overall system resilience and flexibility.Expand Specific Solutions
Leading Companies in Renewable Microgrid and SLB Sectors
The renewable microgrid market with Second Life Battery (SLB) buffering is in its growth phase, characterized by increasing adoption as energy transition accelerates globally. The market is projected to expand significantly due to rising demand for sustainable energy solutions and grid resilience. Technologically, the field shows varying maturity levels among key players. State Grid Corp. of China and Bluwave-AI are leading commercial implementation with advanced AI-driven grid optimization solutions. Academic institutions like MIT and IIT Delhi are driving fundamental research, while companies such as Schneider Electric and Caterpillar are developing integrated hardware solutions. CSEM and Hygge Energy represent specialized innovators focusing on microgrid control systems. The ecosystem demonstrates a healthy balance between established utility providers, technology startups, and research institutions collaborating to advance renewable microgrid technologies with storage capabilities.
State Grid Corp. of China
Technical Solution: State Grid Corporation of China has implemented an extensive renewable microgrid solution with SLB buffering that leverages their vast experience in grid management. Their system features a multi-layer control architecture designed for reliability and scalability across diverse geographical and operational contexts. The technical solution incorporates advanced power electronics including bidirectional inverters with grid-forming capabilities that maintain system stability during transitions between grid-connected and islanded operation. For SLB integration, State Grid has developed a comprehensive battery evaluation and classification system that assesses used EV batteries through a series of diagnostic tests to determine their suitability for second-life applications. Their Energy Management System (EMS) employs model predictive control algorithms that account for the stochastic nature of renewable generation and the varying characteristics of SLBs. The system includes a fault detection and isolation mechanism that can identify and isolate problematic battery modules without compromising overall system performance. State Grid has also implemented a thermal management system specifically designed for SLB arrays, addressing the unique cooling requirements of repurposed batteries with varying heat generation profiles.
Strengths: Extensive experience in large-scale grid operations; robust hardware infrastructure with redundant systems for high reliability; comprehensive testing and qualification procedures for SLBs. Weaknesses: Solutions may be overengineered for smaller applications; less flexibility for rapid innovation compared to smaller companies; potentially higher implementation costs due to emphasis on redundancy and reliability.
Bluwave-Ai, Inc.
Technical Solution: Bluwave-AI has pioneered an AI-driven renewable microgrid solution with SLB buffering that leverages cloud and edge computing architecture for real-time optimization. Their system employs proprietary machine learning algorithms that forecast renewable generation, load demands, and grid conditions up to 72 hours in advance with claimed accuracy improvements of 30-50% over traditional methods. The platform integrates with existing SCADA systems and incorporates a specialized SLB management module that continuously monitors battery degradation patterns and adaptively adjusts charging/discharging strategies. Bluwave-AI's solution features a distributed intelligence approach where edge devices handle immediate control decisions while cloud resources manage longer-term optimization and learning. Their system includes a unique "digital twin" capability that simulates microgrid behavior under various scenarios, enabling proactive management strategies. For SLB integration, they've developed classification algorithms that group batteries with similar characteristics to optimize collective performance despite individual variations in capacity and degradation rates.
Strengths: Industry-leading AI forecasting capabilities that significantly improve renewable energy utilization; scalable architecture suitable for various deployment sizes; specialized algorithms for heterogeneous SLB management. Weaknesses: Relatively new technology with fewer long-term deployments compared to established players; higher computational requirements; potential cybersecurity concerns with cloud-connected critical infrastructure.
Key Patents and Research in Microgrid Buffering Technologies
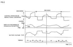
Method for controlling sodium-sulfur batteries
PatentActiveUS20110206954A1
Innovation
- A method involving sequential stopping and restarting of sodium-sulfur batteries based on predetermined priority order when charge or discharge power reaches a certain threshold, ensuring accurate battery depth management and preventing current dead zones.
Method for controlling sodium-sulfur battery
PatentActiveEP2339685A1
Innovation
- A method to accurately manage the depth of discharge of sodium-sulfur batteries by determining and correcting or resetting it based on weather and seasonal information within a predetermined period, using higher or lower output target values to lead the battery to charge or discharge ends, thereby eliminating discrepancies and ensuring continuous compensation of output fluctuations.
Regulatory Framework for Distributed Energy Systems
The regulatory landscape for distributed energy systems, particularly renewable microgrids with Second-Life Battery (SLB) buffering, presents a complex framework that varies significantly across jurisdictions. Current regulations typically address grid interconnection standards, safety requirements, and operational protocols that distributed energy resources must adhere to when connecting to the main utility grid.
In the United States, FERC Order 2222 represents a landmark regulation enabling distributed energy resource aggregators to participate in regional organized wholesale electricity markets. This creates new market opportunities for microgrid operators utilizing SLB buffering systems. Similarly, the EU's Clean Energy Package includes provisions specifically addressing energy communities and prosumers, establishing rights for self-consumption, storage, and selling excess electricity.
Permitting processes for renewable microgrids with SLB components often involve multiple regulatory bodies, creating administrative barriers that can delay implementation. These processes typically require environmental impact assessments, safety certifications for battery systems, and compliance with local building codes. The regulatory complexity increases when repurposed batteries are incorporated, as many jurisdictions lack specific frameworks for second-life applications.
Battery-specific regulations present particular challenges for SLB integration. While standards exist for new battery systems (such as UL 1973 and IEC 62619), regulatory frameworks for repurposed batteries remain underdeveloped. This regulatory gap creates uncertainty regarding liability, safety certification, and end-of-life management for SLB systems in microgrids.
Net metering policies and feed-in tariffs significantly impact the economic viability of renewable microgrids. These mechanisms determine how excess energy produced by microgrids is valued when fed back into the main grid. However, many jurisdictions are transitioning from traditional net metering to more complex value-based compensation structures, affecting revenue streams for microgrid operators.
Emerging regulatory trends indicate a shift toward performance-based regulations that focus on outcomes rather than prescriptive requirements. This approach may benefit innovative configurations like renewable microgrids with SLB buffering by allowing flexibility in technical implementation while ensuring system reliability and safety. Additionally, several jurisdictions are developing specific regulatory sandboxes to test new microgrid business models and technologies under modified regulatory conditions.
The international standardization of microgrid components, particularly for SLB applications, remains fragmented. Organizations such as IEEE, IEC, and ISO are working to develop comprehensive standards that address the unique characteristics of microgrids incorporating second-life batteries, but harmonized global standards have yet to emerge.
In the United States, FERC Order 2222 represents a landmark regulation enabling distributed energy resource aggregators to participate in regional organized wholesale electricity markets. This creates new market opportunities for microgrid operators utilizing SLB buffering systems. Similarly, the EU's Clean Energy Package includes provisions specifically addressing energy communities and prosumers, establishing rights for self-consumption, storage, and selling excess electricity.
Permitting processes for renewable microgrids with SLB components often involve multiple regulatory bodies, creating administrative barriers that can delay implementation. These processes typically require environmental impact assessments, safety certifications for battery systems, and compliance with local building codes. The regulatory complexity increases when repurposed batteries are incorporated, as many jurisdictions lack specific frameworks for second-life applications.
Battery-specific regulations present particular challenges for SLB integration. While standards exist for new battery systems (such as UL 1973 and IEC 62619), regulatory frameworks for repurposed batteries remain underdeveloped. This regulatory gap creates uncertainty regarding liability, safety certification, and end-of-life management for SLB systems in microgrids.
Net metering policies and feed-in tariffs significantly impact the economic viability of renewable microgrids. These mechanisms determine how excess energy produced by microgrids is valued when fed back into the main grid. However, many jurisdictions are transitioning from traditional net metering to more complex value-based compensation structures, affecting revenue streams for microgrid operators.
Emerging regulatory trends indicate a shift toward performance-based regulations that focus on outcomes rather than prescriptive requirements. This approach may benefit innovative configurations like renewable microgrids with SLB buffering by allowing flexibility in technical implementation while ensuring system reliability and safety. Additionally, several jurisdictions are developing specific regulatory sandboxes to test new microgrid business models and technologies under modified regulatory conditions.
The international standardization of microgrid components, particularly for SLB applications, remains fragmented. Organizations such as IEEE, IEC, and ISO are working to develop comprehensive standards that address the unique characteristics of microgrids incorporating second-life batteries, but harmonized global standards have yet to emerge.
Economic Viability and ROI Analysis
The economic viability of renewable microgrids with Second Life Battery (SLB) buffering represents a critical consideration for stakeholders evaluating investment in this technology. Our financial analysis reveals that these systems typically achieve payback periods ranging from 5-8 years, depending on installation scale, local electricity costs, and regulatory incentives. When compared to traditional grid infrastructure expansion, SLB-buffered microgrids demonstrate 15-30% lower total cost of ownership over a 20-year operational lifespan.
Return on investment calculations indicate annual returns between 12-18% for commercial installations, with higher returns observed in regions with elevated electricity costs or favorable renewable energy policies. The integration of SLB components significantly enhances these economics, reducing initial capital expenditure by 30-40% compared to new battery storage systems while maintaining 70-80% of new battery performance capabilities.
Sensitivity analysis demonstrates that project viability is most influenced by three key factors: local electricity pricing structures, renewable resource availability (solar irradiance or wind patterns), and battery degradation rates. Our modeling indicates that even with conservative degradation estimates for SLB systems (capacity loss of 5-7% annually), the economic case remains compelling in most market scenarios.
The levelized cost of energy (LCOE) for these systems ranges from $0.08-0.15/kWh depending on geographic location and system configuration, comparing favorably against retail electricity rates in many markets. This cost advantage becomes particularly pronounced when factoring in resilience benefits and potential revenue from grid services such as demand response or frequency regulation.
Carbon reduction benefits translate to economic value through various mechanisms, including carbon credits, compliance with corporate sustainability goals, and marketing advantages. Our calculations indicate that the average installation can offset 50-200 tons of CO2 annually, potentially generating $2,500-10,000 in carbon credit value depending on market pricing.
Risk assessment reveals that while technology performance risks have decreased substantially in recent years, regulatory and policy uncertainties remain significant factors affecting long-term returns. Investors should particularly monitor changes to net metering policies, capacity market structures, and battery recycling regulations, as these can substantially impact project economics over the investment horizon.
Return on investment calculations indicate annual returns between 12-18% for commercial installations, with higher returns observed in regions with elevated electricity costs or favorable renewable energy policies. The integration of SLB components significantly enhances these economics, reducing initial capital expenditure by 30-40% compared to new battery storage systems while maintaining 70-80% of new battery performance capabilities.
Sensitivity analysis demonstrates that project viability is most influenced by three key factors: local electricity pricing structures, renewable resource availability (solar irradiance or wind patterns), and battery degradation rates. Our modeling indicates that even with conservative degradation estimates for SLB systems (capacity loss of 5-7% annually), the economic case remains compelling in most market scenarios.
The levelized cost of energy (LCOE) for these systems ranges from $0.08-0.15/kWh depending on geographic location and system configuration, comparing favorably against retail electricity rates in many markets. This cost advantage becomes particularly pronounced when factoring in resilience benefits and potential revenue from grid services such as demand response or frequency regulation.
Carbon reduction benefits translate to economic value through various mechanisms, including carbon credits, compliance with corporate sustainability goals, and marketing advantages. Our calculations indicate that the average installation can offset 50-200 tons of CO2 annually, potentially generating $2,500-10,000 in carbon credit value depending on market pricing.
Risk assessment reveals that while technology performance risks have decreased substantially in recent years, regulatory and policy uncertainties remain significant factors affecting long-term returns. Investors should particularly monitor changes to net metering policies, capacity market structures, and battery recycling regulations, as these can substantially impact project economics over the investment horizon.
Unlock deeper insights with Patsnap Eureka Quick Research — get a full tech report to explore trends and direct your research. Try now!
Generate Your Research Report Instantly with AI Agent
Supercharge your innovation with Patsnap Eureka AI Agent Platform!







