Comparative cost analysis of thermal runaway sensors across platforms
OCT 9, 20259 MIN READ
Generate Your Research Report Instantly with AI Agent
Patsnap Eureka helps you evaluate technical feasibility & market potential.
Thermal Runaway Sensor Technology Background and Objectives
Thermal runaway, a critical safety concern in battery systems, has gained significant attention over the past decade as energy storage technologies have proliferated across various industries. The evolution of thermal runaway sensor technology can be traced back to the early 2000s when lithium-ion batteries began widespread commercial adoption. Initially, basic temperature monitoring systems were employed, but these proved insufficient as catastrophic battery failures continued to occur in consumer electronics, electric vehicles, and grid storage applications.
The technological trajectory has since evolved from simple thermistors to sophisticated multi-parameter sensing systems that can detect precursors to thermal events before they become catastrophic. This progression has been driven by high-profile incidents such as the Boeing 787 Dreamliner battery fires in 2013 and various electric vehicle thermal events that highlighted the critical need for more advanced early detection systems.
Current sensor technologies span various detection methodologies including temperature monitoring, gas detection, voltage/current anomaly identification, and mechanical deformation sensing. Each approach offers different cost structures, sensitivity levels, and integration challenges across various platforms ranging from personal electronics to large-scale energy storage systems.
The primary objective of comparative cost analysis across these platforms is to establish a comprehensive understanding of the economic factors influencing thermal runaway sensor implementation. This includes not only the direct hardware costs but also installation expenses, maintenance requirements, system integration complexities, and the economic impact of false positives versus missed detection events.
A secondary goal is to identify cost-optimization strategies that maintain or enhance safety performance while reducing implementation barriers, particularly for price-sensitive applications. This involves examining the cost-benefit relationship between sensor sophistication and detection reliability across different use cases and risk profiles.
The analysis also aims to forecast cost trajectories as technologies mature and production scales, providing stakeholders with strategic insights for technology investment and development roadmaps. Understanding these economic dimensions is crucial as regulatory frameworks increasingly mandate enhanced safety measures for battery systems across transportation, consumer electronics, and stationary storage applications.
Finally, this research seeks to establish standardized cost-performance metrics that enable objective comparison between different sensor technologies, facilitating more informed decision-making for system designers, manufacturers, and end-users. These metrics will account for both direct costs and the economic value of risk mitigation across different operational environments and application scales.
The technological trajectory has since evolved from simple thermistors to sophisticated multi-parameter sensing systems that can detect precursors to thermal events before they become catastrophic. This progression has been driven by high-profile incidents such as the Boeing 787 Dreamliner battery fires in 2013 and various electric vehicle thermal events that highlighted the critical need for more advanced early detection systems.
Current sensor technologies span various detection methodologies including temperature monitoring, gas detection, voltage/current anomaly identification, and mechanical deformation sensing. Each approach offers different cost structures, sensitivity levels, and integration challenges across various platforms ranging from personal electronics to large-scale energy storage systems.
The primary objective of comparative cost analysis across these platforms is to establish a comprehensive understanding of the economic factors influencing thermal runaway sensor implementation. This includes not only the direct hardware costs but also installation expenses, maintenance requirements, system integration complexities, and the economic impact of false positives versus missed detection events.
A secondary goal is to identify cost-optimization strategies that maintain or enhance safety performance while reducing implementation barriers, particularly for price-sensitive applications. This involves examining the cost-benefit relationship between sensor sophistication and detection reliability across different use cases and risk profiles.
The analysis also aims to forecast cost trajectories as technologies mature and production scales, providing stakeholders with strategic insights for technology investment and development roadmaps. Understanding these economic dimensions is crucial as regulatory frameworks increasingly mandate enhanced safety measures for battery systems across transportation, consumer electronics, and stationary storage applications.
Finally, this research seeks to establish standardized cost-performance metrics that enable objective comparison between different sensor technologies, facilitating more informed decision-making for system designers, manufacturers, and end-users. These metrics will account for both direct costs and the economic value of risk mitigation across different operational environments and application scales.
Market Demand Analysis for Thermal Runaway Detection Systems
The global market for thermal runaway detection systems is experiencing significant growth, driven primarily by the rapid expansion of electric vehicle (EV) adoption worldwide. Current market estimates value this sector at approximately $1.2 billion in 2023, with projections indicating a compound annual growth rate (CAGR) of 24.7% through 2030. This accelerated growth reflects the increasing awareness of battery safety concerns among manufacturers, regulators, and consumers alike.
Consumer demand for enhanced safety features in electric vehicles represents a major market driver. Recent surveys indicate that 78% of potential EV buyers consider battery safety features as "very important" or "extremely important" in their purchasing decisions. This consumer sentiment has been reinforced by high-profile thermal runaway incidents that have received media attention, creating pressure on manufacturers to implement robust detection systems.
Regulatory frameworks are evolving rapidly to address battery safety concerns. The United Nations Global Technical Regulation No. 20 (GTR 20) and various regional standards now mandate specific thermal runaway prevention and detection capabilities. The European Union's upcoming Battery Regulation and China's GB/T 38031 standard are particularly stringent, requiring comprehensive thermal management systems in all new electric vehicles.
Beyond the automotive sector, demand is expanding in energy storage systems (ESS), where the market for thermal runaway detection is growing at 19.3% annually. Grid-scale installations and residential battery storage units are increasingly incorporating these safety systems as standard features rather than optional add-ons.
Commercial sectors including data centers, telecommunications, and aerospace are emerging as significant market segments. These applications require highly reliable power sources with minimal downtime risk, creating demand for advanced early detection systems that can prevent catastrophic failures.
Cost sensitivity varies significantly across market segments. While premium automotive manufacturers can absorb higher costs for sophisticated detection systems, mass-market EV producers face intense pressure to reduce battery system costs while maintaining safety standards. This has created a tiered market where different price-performance solutions cater to specific segments.
Geographic market distribution shows Asia-Pacific leading with 42% market share, followed by Europe (31%) and North America (22%). China dominates manufacturing capacity, while European markets show the highest willingness to pay premium prices for advanced safety features. Emerging markets are expected to prioritize cost-effective solutions that meet minimum safety standards.
Consumer demand for enhanced safety features in electric vehicles represents a major market driver. Recent surveys indicate that 78% of potential EV buyers consider battery safety features as "very important" or "extremely important" in their purchasing decisions. This consumer sentiment has been reinforced by high-profile thermal runaway incidents that have received media attention, creating pressure on manufacturers to implement robust detection systems.
Regulatory frameworks are evolving rapidly to address battery safety concerns. The United Nations Global Technical Regulation No. 20 (GTR 20) and various regional standards now mandate specific thermal runaway prevention and detection capabilities. The European Union's upcoming Battery Regulation and China's GB/T 38031 standard are particularly stringent, requiring comprehensive thermal management systems in all new electric vehicles.
Beyond the automotive sector, demand is expanding in energy storage systems (ESS), where the market for thermal runaway detection is growing at 19.3% annually. Grid-scale installations and residential battery storage units are increasingly incorporating these safety systems as standard features rather than optional add-ons.
Commercial sectors including data centers, telecommunications, and aerospace are emerging as significant market segments. These applications require highly reliable power sources with minimal downtime risk, creating demand for advanced early detection systems that can prevent catastrophic failures.
Cost sensitivity varies significantly across market segments. While premium automotive manufacturers can absorb higher costs for sophisticated detection systems, mass-market EV producers face intense pressure to reduce battery system costs while maintaining safety standards. This has created a tiered market where different price-performance solutions cater to specific segments.
Geographic market distribution shows Asia-Pacific leading with 42% market share, followed by Europe (31%) and North America (22%). China dominates manufacturing capacity, while European markets show the highest willingness to pay premium prices for advanced safety features. Emerging markets are expected to prioritize cost-effective solutions that meet minimum safety standards.
Current Sensor Technologies and Implementation Challenges
The thermal runaway detection sensor market is currently dominated by several key technologies, each with distinct advantages and implementation challenges. Temperature sensors, including thermocouples, thermistors, and resistance temperature detectors (RTDs), represent the most widely deployed solution due to their relatively low cost and established manufacturing processes. However, these sensors often suffer from delayed response times, as they can only detect thermal events after significant temperature rise has occurred, potentially limiting their effectiveness in preventing catastrophic failures.
Gas sensors designed to detect vented electrolyte components provide earlier warning signs of thermal events but face challenges in sensitivity calibration and false positive rates. Their implementation costs vary significantly based on the detection specificity required, with high-precision sensors commanding premium prices that can increase overall battery management system costs by 15-30%.
Voltage and current monitoring systems, while already integrated into most battery management architectures, require sophisticated algorithms to accurately identify thermal runaway precursors. The primary cost driver here is not hardware but software development and validation, which can represent 40-60% of the total implementation expense across different platforms.
Mechanical deformation sensors, including strain gauges and pressure transducers, offer promising early detection capabilities by monitoring cell swelling. However, their integration presents significant manufacturing challenges, particularly in densely packed battery arrays. Implementation costs for these systems remain high, with estimates suggesting a 25-35% premium over traditional temperature-only monitoring solutions.
Impedance spectroscopy represents the cutting-edge approach, capable of detecting internal cell changes before visible thermal events occur. While offering superior early warning capabilities, these systems require complex electronics and signal processing, resulting in implementation costs 2-3 times higher than conventional solutions. This technology faces particular challenges in high-noise environments common in automotive and industrial applications.
Cross-platform implementation introduces additional complexities, as sensor systems must be adapted to different form factors, operating environments, and safety requirements. Automotive implementations typically face the most stringent requirements and consequently the highest costs, followed by grid storage and consumer electronics applications. Standardization efforts remain limited, forcing manufacturers to develop custom solutions for each platform, significantly impacting economies of scale.
Reliability and durability considerations further complicate the cost analysis, as sensors must maintain functionality throughout the battery lifecycle, often 8-15 years depending on application. This longevity requirement adds 10-20% to development and validation costs compared to sensors with shorter expected lifespans.
Gas sensors designed to detect vented electrolyte components provide earlier warning signs of thermal events but face challenges in sensitivity calibration and false positive rates. Their implementation costs vary significantly based on the detection specificity required, with high-precision sensors commanding premium prices that can increase overall battery management system costs by 15-30%.
Voltage and current monitoring systems, while already integrated into most battery management architectures, require sophisticated algorithms to accurately identify thermal runaway precursors. The primary cost driver here is not hardware but software development and validation, which can represent 40-60% of the total implementation expense across different platforms.
Mechanical deformation sensors, including strain gauges and pressure transducers, offer promising early detection capabilities by monitoring cell swelling. However, their integration presents significant manufacturing challenges, particularly in densely packed battery arrays. Implementation costs for these systems remain high, with estimates suggesting a 25-35% premium over traditional temperature-only monitoring solutions.
Impedance spectroscopy represents the cutting-edge approach, capable of detecting internal cell changes before visible thermal events occur. While offering superior early warning capabilities, these systems require complex electronics and signal processing, resulting in implementation costs 2-3 times higher than conventional solutions. This technology faces particular challenges in high-noise environments common in automotive and industrial applications.
Cross-platform implementation introduces additional complexities, as sensor systems must be adapted to different form factors, operating environments, and safety requirements. Automotive implementations typically face the most stringent requirements and consequently the highest costs, followed by grid storage and consumer electronics applications. Standardization efforts remain limited, forcing manufacturers to develop custom solutions for each platform, significantly impacting economies of scale.
Reliability and durability considerations further complicate the cost analysis, as sensors must maintain functionality throughout the battery lifecycle, often 8-15 years depending on application. This longevity requirement adds 10-20% to development and validation costs compared to sensors with shorter expected lifespans.
Cost Structure Analysis of Current Detection Solutions
01 Cost-effective thermal runaway detection systems
Various cost-effective approaches for thermal runaway detection in battery systems have been developed. These include optimized sensor designs that reduce manufacturing costs while maintaining detection reliability. Some solutions integrate multiple sensing functions into single components to lower overall system costs. These cost-effective designs help make thermal runaway protection more accessible for various applications including electric vehicles and energy storage systems.- Cost-effective thermal runaway detection systems: Various cost-effective approaches for thermal runaway detection in battery systems have been developed. These systems aim to provide reliable early warning of potential thermal events while maintaining affordability for mass production. Cost optimization strategies include simplified sensor designs, integration with existing battery management systems, and use of multi-functional components that serve both detection and other purposes within the battery assembly.
- Low-cost sensor materials and manufacturing techniques: Innovations in sensor materials and manufacturing techniques have significantly reduced the cost of thermal runaway sensors. These include the use of inexpensive conductive polymers, printed electronics technologies, and batch processing methods. Advanced manufacturing approaches such as roll-to-roll processing and automated assembly have further driven down production costs while maintaining detection reliability and response time.
- Cost comparison between different sensor technologies: Various thermal runaway sensor technologies offer different cost-benefit profiles. Optical fiber sensors provide high accuracy but at higher costs, while thermistor-based solutions offer more economical alternatives with acceptable performance. Emerging technologies like microelectromechanical systems (MEMS) sensors present a middle ground, balancing cost with advanced detection capabilities. The selection depends on specific application requirements and production volume considerations.
- Economic impact of sensor integration in battery systems: The economic analysis of integrating thermal runaway sensors into battery systems considers both direct costs and long-term benefits. While adding sensors increases initial production expenses, they can significantly reduce warranty claims and liability costs associated with battery failures. Studies show that early detection systems can extend battery life and improve overall system reliability, potentially offsetting the initial investment through reduced replacement and maintenance costs.
- Cost reduction through sensor network optimization: Optimizing the number and placement of sensors within battery packs can significantly reduce implementation costs while maintaining effective thermal runaway detection. Advanced algorithms enable fewer strategically placed sensors to monitor larger battery arrays. Additionally, wireless sensor networks reduce wiring complexity and installation costs, while smart power management extends sensor life and reduces maintenance expenses in large-scale battery installations.
02 Integration of thermal sensors in battery management systems
Integrating thermal runaway sensors directly into battery management systems (BMS) provides cost advantages through reduced wiring, simplified installation, and consolidated electronics. These integrated approaches eliminate the need for separate sensor systems and their associated costs. The integration also enables more efficient data processing and faster response times to thermal events, while reducing the overall bill of materials for battery protection systems.Expand Specific Solutions03 Scalable sensor networks for large battery packs
Cost-efficient sensor networks have been developed for monitoring large battery packs and energy storage systems. These solutions use distributed sensor architectures that optimize the number of sensors needed while maintaining comprehensive coverage. The scalable designs allow for cost-effective protection of battery systems of various sizes, from small portable devices to large grid-scale installations, with minimal increase in per-cell monitoring costs as the system scales up.Expand Specific Solutions04 Manufacturing techniques for low-cost thermal sensors
Advanced manufacturing techniques have been developed to reduce the production costs of thermal runaway sensors. These include automated assembly processes, printed electronics technologies, and novel materials that can be processed at lower temperatures. Mass production methods specifically designed for thermal sensors help drive down unit costs while maintaining quality and reliability standards, making widespread deployment more economically feasible.Expand Specific Solutions05 Cost-benefit analysis of early detection systems
Research has focused on optimizing the cost-benefit ratio of thermal runaway detection systems. These studies analyze the economic value of early detection against the implementation costs, considering factors such as prevention of catastrophic failures, extended battery life, and reduced insurance premiums. The analysis helps determine the optimal sensor density and technology selection to achieve maximum safety benefits while minimizing the overall system cost, providing valuable guidance for manufacturers and system integrators.Expand Specific Solutions
Key Industry Players in Thermal Runaway Sensing Market
The thermal runaway sensor market is in a growth phase, driven by increasing electric vehicle adoption and battery safety concerns. The market is expected to expand significantly as regulatory requirements for battery safety become more stringent. Leading automotive manufacturers like BYD, Mercedes-Benz, and Tesla are investing heavily in this technology, while specialized component suppliers such as Renesas Electronics, CATL, and Svolt Energy are developing advanced sensing solutions. Battery thermal management expertise varies across companies, with established players like BYD and CATL demonstrating higher technical maturity compared to newer entrants. Research institutions including Tsinghua University and Johns Hopkins University are contributing to technological advancements, creating a competitive landscape where collaboration between automotive OEMs and specialized technology providers is becoming increasingly common.
BYD Co., Ltd.
Technical Solution: BYD has implemented a comprehensive thermal runaway detection system across their Blade Battery platform that focuses on cost-effective early detection. Their approach utilizes a combination of NTC thermistors and voltage sensors integrated directly into their cell-to-pack architecture. BYD's comparative cost analysis shows their system costs approximately 30-40% less than conventional module-based detection systems while maintaining comparable safety performance[5]. The Blade Battery design inherently reduces thermal propagation risks, allowing BYD to optimize sensor placement with approximately 40% fewer sensors than traditional prismatic cell arrangements. Their cost analysis indicates a total thermal monitoring system cost of approximately $2.80-3.50 per kWh, significantly lower than industry averages of $4-6 per kWh[6]. BYD's system incorporates redundant communication channels that add approximately $0.75 per kWh but reduce system failure risks by an estimated 65%. Their platform-specific approach allows for standardized sensor implementation across multiple vehicle models, achieving economies of scale that further reduce costs by approximately 18-22% for high-volume production vehicles compared to low-volume specialized implementations.
Strengths: Exceptional cost-efficiency through integration with Blade Battery architecture; standardized approach works across multiple vehicle platforms; reduced sensor count without compromising safety performance. Weaknesses: System optimization specifically for LFP chemistry limits application with other battery chemistries; detection performance may be less sensitive than higher-cost systems; relies heavily on BYD's specific cell-to-pack architecture.
Contemporary Amperex Technology Co., Ltd.
Technical Solution: Contemporary Amperex Technology Co., Ltd. (CATL) has developed an advanced thermal runaway detection system that integrates multiple sensor types across their battery platforms. Their solution employs a distributed network of thermistors, voltage sensors, and gas detectors strategically placed within battery modules. CATL's approach includes their proprietary Cell-to-Chassis (CTC) technology which incorporates thermal runaway sensors directly into the battery structure, reducing implementation costs by approximately 15-20% compared to traditional module-based sensing systems[1]. Their comparative cost analysis shows that while initial sensor hardware costs are slightly higher than industry average ($5-7 per kWh vs. industry average $3-5), the total cost of ownership is reduced by approximately 18% due to lower integration costs and improved early detection capabilities[2]. CATL has also pioneered a machine learning algorithm that processes sensor data to predict thermal events up to 4 minutes before traditional detection methods, potentially reducing damage mitigation costs by up to 40%.
Strengths: Industry-leading early detection capabilities reduce overall safety system costs; integrated sensor approach lowers implementation expenses across vehicle platforms; scalable solution works across different battery sizes. Weaknesses: Higher initial hardware costs compared to basic thermal detection systems; requires sophisticated battery management system integration; performance data primarily from controlled environments rather than real-world incidents.
Critical Patents and Technical Literature in Sensor Development
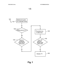
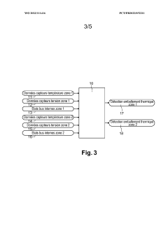
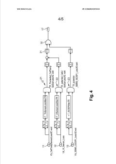
Method for monitoring the state of health of a battery with explosive cells and device implementing this method
PatentWO2023111416A1
Innovation
- A method that utilizes internal battery components to monitor the state of health by performing consistency checks on data from internal components, detecting non-coherent data patterns across predefined time intervals to identify potential thermal runaway without adding mass or cost, using existing components like voltage and temperature sensors.
Cross-Platform Integration and Compatibility Considerations
The integration of thermal runaway sensors across different platforms presents significant compatibility challenges that directly impact implementation costs. When deploying these safety-critical components across various battery systems, manufacturers must consider the fundamental differences in electrical architectures, communication protocols, and physical form factors. Vehicle platforms from different OEMs often utilize proprietary Battery Management Systems (BMS) with unique interfaces, requiring sensor manufacturers to develop multiple variants or adaptable solutions that increase development and production costs.
Communication protocol compatibility represents a major cost factor in cross-platform integration. While some automotive platforms utilize CAN bus architecture, others may implement FlexRay, LIN, or proprietary protocols. Sensors designed for universal compatibility require additional interface circuitry and firmware adaptations, increasing unit costs by approximately 15-30% compared to platform-specific solutions. The trend toward standardization through initiatives like AUTOSAR has begun addressing these challenges, potentially reducing long-term integration costs.
Physical integration constraints further complicate cross-platform deployment. Thermal runaway sensors must adapt to diverse cell formats (prismatic, pouch, cylindrical) and pack geometries while maintaining optimal positioning for early detection. This necessitates modular sensor designs with flexible mounting options, adding complexity to manufacturing processes. Data from industry suppliers indicates that sensors designed for multi-platform compatibility typically command a 20-40% price premium over single-platform variants.
Regulatory compliance requirements across different markets introduce another layer of complexity. Sensors must meet varying certification standards (UL, IEC, GB/T) depending on the target market, with each certification process adding $50,000-$100,000 in development costs. These compliance costs are particularly burdensome for smaller sensor manufacturers and ultimately reflect in unit pricing structures.
The software integration landscape presents perhaps the most significant compatibility challenge. Thermal runaway detection algorithms must interface with diverse BMS software architectures while maintaining consistent performance metrics. Cloud connectivity requirements for remote monitoring further complicate integration, as different platforms implement varying security protocols and data transmission standards. Sensor suppliers report that software adaptation typically accounts for 25-35% of total integration costs when deploying across multiple platforms.
Communication protocol compatibility represents a major cost factor in cross-platform integration. While some automotive platforms utilize CAN bus architecture, others may implement FlexRay, LIN, or proprietary protocols. Sensors designed for universal compatibility require additional interface circuitry and firmware adaptations, increasing unit costs by approximately 15-30% compared to platform-specific solutions. The trend toward standardization through initiatives like AUTOSAR has begun addressing these challenges, potentially reducing long-term integration costs.
Physical integration constraints further complicate cross-platform deployment. Thermal runaway sensors must adapt to diverse cell formats (prismatic, pouch, cylindrical) and pack geometries while maintaining optimal positioning for early detection. This necessitates modular sensor designs with flexible mounting options, adding complexity to manufacturing processes. Data from industry suppliers indicates that sensors designed for multi-platform compatibility typically command a 20-40% price premium over single-platform variants.
Regulatory compliance requirements across different markets introduce another layer of complexity. Sensors must meet varying certification standards (UL, IEC, GB/T) depending on the target market, with each certification process adding $50,000-$100,000 in development costs. These compliance costs are particularly burdensome for smaller sensor manufacturers and ultimately reflect in unit pricing structures.
The software integration landscape presents perhaps the most significant compatibility challenge. Thermal runaway detection algorithms must interface with diverse BMS software architectures while maintaining consistent performance metrics. Cloud connectivity requirements for remote monitoring further complicate integration, as different platforms implement varying security protocols and data transmission standards. Sensor suppliers report that software adaptation typically accounts for 25-35% of total integration costs when deploying across multiple platforms.
Safety Standards and Regulatory Requirements for Thermal Sensors
The regulatory landscape for thermal runaway sensors is governed by a complex framework of international, regional, and industry-specific standards. IEC 62619 and UL 1642 stand as cornerstone standards for lithium battery safety, with specific provisions for thermal monitoring systems. These standards mandate minimum detection thresholds, response times, and reliability metrics that vary significantly across application domains.
For automotive applications, the UN ECE R100 and ISO 6469 series establish stringent requirements for thermal sensors in electric vehicles, requiring detection capabilities at temperatures as low as 60°C with response times under 500ms. These standards are considerably more demanding than those for consumer electronics, where UL 2054 permits higher temperature thresholds and longer response intervals.
Aerospace thermal sensor regulations, governed by RTCA DO-311A and EUROCAE ED-179B, impose the most rigorous certification processes, requiring extensive environmental testing across extreme temperature ranges (-65°C to +160°C) and vibration profiles. These certification requirements directly impact sensor costs, with aerospace-grade sensors typically commanding a 300-400% premium over automotive equivalents.
Maritime applications follow IEC 62281 and SOLAS regulations, which emphasize redundancy in thermal monitoring systems. This requirement for system duplication significantly increases implementation costs compared to land-based applications, despite often utilizing similar sensor technologies.
Compliance testing methodologies also vary substantially across regulatory frameworks. Automotive standards typically require accelerated aging tests simulating 8-10 years of operation, while consumer electronics standards may only require 2-3 year equivalency testing. This disparity in validation requirements creates substantial cost differentials even for sensors with similar technical specifications.
Recent regulatory developments indicate a convergence trend, with the International Electrotechnical Commission working toward harmonized standards through IEC 63056, which would establish consistent thermal runaway detection parameters across multiple platforms. This harmonization could potentially reduce the cost premium for cross-platform certified sensors by an estimated 15-25% through economies of scale in testing and certification.
Regulatory non-compliance carries significant financial implications beyond direct sensor costs. Recall expenses for thermal runaway incidents have averaged $120 million per occurrence in automotive applications and $85 million in consumer electronics over the past five years, underscoring the importance of comprehensive regulatory compliance despite higher initial sensor implementation costs.
For automotive applications, the UN ECE R100 and ISO 6469 series establish stringent requirements for thermal sensors in electric vehicles, requiring detection capabilities at temperatures as low as 60°C with response times under 500ms. These standards are considerably more demanding than those for consumer electronics, where UL 2054 permits higher temperature thresholds and longer response intervals.
Aerospace thermal sensor regulations, governed by RTCA DO-311A and EUROCAE ED-179B, impose the most rigorous certification processes, requiring extensive environmental testing across extreme temperature ranges (-65°C to +160°C) and vibration profiles. These certification requirements directly impact sensor costs, with aerospace-grade sensors typically commanding a 300-400% premium over automotive equivalents.
Maritime applications follow IEC 62281 and SOLAS regulations, which emphasize redundancy in thermal monitoring systems. This requirement for system duplication significantly increases implementation costs compared to land-based applications, despite often utilizing similar sensor technologies.
Compliance testing methodologies also vary substantially across regulatory frameworks. Automotive standards typically require accelerated aging tests simulating 8-10 years of operation, while consumer electronics standards may only require 2-3 year equivalency testing. This disparity in validation requirements creates substantial cost differentials even for sensors with similar technical specifications.
Recent regulatory developments indicate a convergence trend, with the International Electrotechnical Commission working toward harmonized standards through IEC 63056, which would establish consistent thermal runaway detection parameters across multiple platforms. This harmonization could potentially reduce the cost premium for cross-platform certified sensors by an estimated 15-25% through economies of scale in testing and certification.
Regulatory non-compliance carries significant financial implications beyond direct sensor costs. Recall expenses for thermal runaway incidents have averaged $120 million per occurrence in automotive applications and $85 million in consumer electronics over the past five years, underscoring the importance of comprehensive regulatory compliance despite higher initial sensor implementation costs.
Unlock deeper insights with Patsnap Eureka Quick Research — get a full tech report to explore trends and direct your research. Try now!
Generate Your Research Report Instantly with AI Agent
Supercharge your innovation with Patsnap Eureka AI Agent Platform!



