Patent landscape of thermal runaway sensors in battery management systems
OCT 9, 20259 MIN READ
Generate Your Research Report Instantly with AI Agent
Patsnap Eureka helps you evaluate technical feasibility & market potential.
Battery Thermal Runaway Sensing Background and Objectives
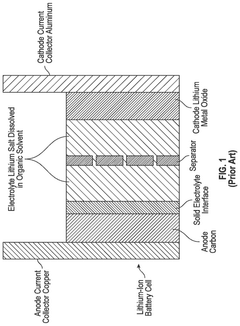
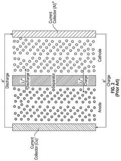
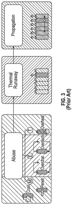
Battery thermal runaway (TR) represents one of the most critical safety concerns in lithium-ion battery systems. The phenomenon involves a self-accelerating exothermic reaction cascade that can lead to catastrophic battery failure, resulting in fire, explosion, and release of toxic gases. The evolution of thermal runaway sensing technologies has been closely tied to the rapid expansion of lithium-ion battery applications across industries, particularly in electric vehicles, grid storage systems, and consumer electronics.
Historically, battery safety management focused primarily on prevention through electrical protection circuits and mechanical design. However, as energy densities increased and battery systems grew more complex, the need for early detection mechanisms became paramount. The first generation of thermal monitoring systems emerged in the early 2000s, utilizing simple temperature sensors placed externally on battery packs, providing limited warning capabilities.
The technological trajectory has since evolved toward more sophisticated sensing methodologies, incorporating multiple detection principles and advanced algorithms. This evolution has been driven by high-profile battery failure incidents in consumer electronics (2006-2013) and electric vehicles (2013-2019), which highlighted the inadequacy of conventional safety measures and accelerated research investment in this domain.
Current technological objectives in thermal runaway sensing focus on achieving earlier detection with higher reliability while minimizing false positives. The industry aims to develop sensing systems capable of detecting precursor events minutes to hours before catastrophic failure, providing sufficient time for mitigation strategies. Additionally, there is a strong push toward sensors that can be economically integrated into battery management systems without significantly increasing costs or complexity.
Regulatory frameworks have substantially influenced this technological landscape. Standards such as UN 38.3, IEC 62133, and UL 1642 have established increasingly stringent safety requirements, while automotive-specific standards like ISO 26262 and GB/T 31485 have further accelerated innovation in thermal runaway detection for electric vehicle applications.
The patent landscape in this field has experienced exponential growth since 2015, with particular concentration in technologies related to gas detection, differential thermal analysis, and impedance-based early warning systems. Major research institutions and battery manufacturers have established substantial patent portfolios, reflecting the strategic importance of thermal runaway sensing in the broader battery technology ecosystem.
Looking forward, the technological trajectory is moving toward multi-modal sensing approaches that combine various detection principles to achieve more robust and earlier warning capabilities, representing a significant shift from the single-sensor paradigms that dominated earlier generations of battery management systems.
Historically, battery safety management focused primarily on prevention through electrical protection circuits and mechanical design. However, as energy densities increased and battery systems grew more complex, the need for early detection mechanisms became paramount. The first generation of thermal monitoring systems emerged in the early 2000s, utilizing simple temperature sensors placed externally on battery packs, providing limited warning capabilities.
The technological trajectory has since evolved toward more sophisticated sensing methodologies, incorporating multiple detection principles and advanced algorithms. This evolution has been driven by high-profile battery failure incidents in consumer electronics (2006-2013) and electric vehicles (2013-2019), which highlighted the inadequacy of conventional safety measures and accelerated research investment in this domain.
Current technological objectives in thermal runaway sensing focus on achieving earlier detection with higher reliability while minimizing false positives. The industry aims to develop sensing systems capable of detecting precursor events minutes to hours before catastrophic failure, providing sufficient time for mitigation strategies. Additionally, there is a strong push toward sensors that can be economically integrated into battery management systems without significantly increasing costs or complexity.
Regulatory frameworks have substantially influenced this technological landscape. Standards such as UN 38.3, IEC 62133, and UL 1642 have established increasingly stringent safety requirements, while automotive-specific standards like ISO 26262 and GB/T 31485 have further accelerated innovation in thermal runaway detection for electric vehicle applications.
The patent landscape in this field has experienced exponential growth since 2015, with particular concentration in technologies related to gas detection, differential thermal analysis, and impedance-based early warning systems. Major research institutions and battery manufacturers have established substantial patent portfolios, reflecting the strategic importance of thermal runaway sensing in the broader battery technology ecosystem.
Looking forward, the technological trajectory is moving toward multi-modal sensing approaches that combine various detection principles to achieve more robust and earlier warning capabilities, representing a significant shift from the single-sensor paradigms that dominated earlier generations of battery management systems.
Market Analysis for Battery Safety Monitoring Solutions
The global market for battery safety monitoring solutions is experiencing robust growth, driven primarily by the rapid expansion of electric vehicles (EVs), renewable energy storage systems, and portable electronics. Current market valuations indicate that the battery management systems market reached approximately $6.8 billion in 2022 and is projected to grow at a CAGR of 19.2% through 2030, with safety monitoring components representing a significant segment of this expansion.
The demand for advanced thermal runaway detection systems has intensified following high-profile battery failure incidents in consumer electronics and electric vehicles. These incidents have heightened regulatory scrutiny and consumer awareness, creating market pull for sophisticated safety solutions. Particularly in the automotive sector, where battery packs represent 30-40% of vehicle cost, protecting this investment has become a critical consideration for manufacturers.
Regional analysis reveals that Asia-Pacific dominates the market, accounting for over 45% of global demand, with China, Japan, and South Korea leading in both production and consumption. North America and Europe follow with approximately 25% and 20% market share respectively, with growth rates exceeding global averages due to aggressive EV adoption policies.
By application segment, the EV sector represents the largest market for thermal runaway sensors, followed by grid-scale energy storage systems and consumer electronics. The EV segment alone is expected to grow at 24% annually through 2028, creating substantial opportunities for sensor technology providers.
Customer requirements are evolving toward multi-parameter sensing solutions that can detect thermal events earlier in their progression. End-users increasingly demand systems that offer predictive capabilities rather than merely reactive responses, with integration into broader battery management ecosystems becoming standard expectation.
Price sensitivity varies significantly by application segment. While automotive OEMs demonstrate willingness to invest in premium safety solutions, consumer electronics manufacturers face intense margin pressure, driving demand for cost-effective alternatives that maintain reliability standards.
The competitive landscape features both specialized sensor manufacturers and integrated BMS providers expanding their safety monitoring capabilities. Recent market trends indicate increasing vertical integration, with cell manufacturers developing proprietary safety monitoring technologies to differentiate their offerings and capture additional value.
The demand for advanced thermal runaway detection systems has intensified following high-profile battery failure incidents in consumer electronics and electric vehicles. These incidents have heightened regulatory scrutiny and consumer awareness, creating market pull for sophisticated safety solutions. Particularly in the automotive sector, where battery packs represent 30-40% of vehicle cost, protecting this investment has become a critical consideration for manufacturers.
Regional analysis reveals that Asia-Pacific dominates the market, accounting for over 45% of global demand, with China, Japan, and South Korea leading in both production and consumption. North America and Europe follow with approximately 25% and 20% market share respectively, with growth rates exceeding global averages due to aggressive EV adoption policies.
By application segment, the EV sector represents the largest market for thermal runaway sensors, followed by grid-scale energy storage systems and consumer electronics. The EV segment alone is expected to grow at 24% annually through 2028, creating substantial opportunities for sensor technology providers.
Customer requirements are evolving toward multi-parameter sensing solutions that can detect thermal events earlier in their progression. End-users increasingly demand systems that offer predictive capabilities rather than merely reactive responses, with integration into broader battery management ecosystems becoming standard expectation.
Price sensitivity varies significantly by application segment. While automotive OEMs demonstrate willingness to invest in premium safety solutions, consumer electronics manufacturers face intense margin pressure, driving demand for cost-effective alternatives that maintain reliability standards.
The competitive landscape features both specialized sensor manufacturers and integrated BMS providers expanding their safety monitoring capabilities. Recent market trends indicate increasing vertical integration, with cell manufacturers developing proprietary safety monitoring technologies to differentiate their offerings and capture additional value.
Current Thermal Runaway Detection Technologies and Barriers
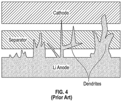
The current landscape of thermal runaway detection technologies in battery management systems (BMS) encompasses several methodologies, each with distinct advantages and limitations. Temperature monitoring remains the most widely implemented approach, utilizing thermistors, thermocouples, and infrared sensors strategically placed within battery packs. While these solutions offer direct measurement capabilities, they suffer from inherent response delays and limited spatial coverage, often detecting thermal events only after significant progression.
Voltage and current monitoring techniques represent another prevalent detection method, analyzing electrical parameters for anomalies indicative of potential thermal issues. These systems benefit from leveraging existing BMS infrastructure but frequently struggle with distinguishing between normal operational fluctuations and genuine thermal runaway precursors, resulting in reliability concerns.
Gas detection has emerged as a promising approach, with sensors designed to identify specific gases released during early decomposition stages of battery materials. Recent patent filings show significant innovation in miniaturized electrochemical and metal oxide semiconductor sensors. However, these technologies face challenges related to sensor contamination, cross-sensitivity issues, and integration complexities within sealed battery environments.
Impedance spectroscopy represents a more sophisticated detection methodology, measuring changes in internal battery resistance that may indicate degradation leading to thermal events. While this approach offers potential for early detection, it requires complex computational resources and faces difficulties in real-time implementation across multiple cells simultaneously.
The primary technical barriers across all detection methodologies include response time limitations, with most current technologies detecting thermal runaway only after critical thresholds have been crossed. Spatial resolution constraints also persist, as cost and integration challenges limit the number of sensors deployable within battery packs, creating potential blind spots in monitoring coverage.
Reliability in diverse operating conditions presents another significant challenge, with many detection technologies exhibiting performance variations under extreme temperatures, humidity, or vibration. False alarm rates remain problematic, particularly in systems attempting to identify early warning signs, where the distinction between normal operation and incipient failure can be subtle.
Integration complexity constitutes a substantial barrier, as adding dedicated thermal runaway detection systems increases manufacturing complexity, weight, and cost—factors particularly critical in weight-sensitive applications like electric vehicles and portable electronics. Additionally, power consumption requirements for continuous monitoring must be balanced against the parasitic drain on the battery system being protected.
Voltage and current monitoring techniques represent another prevalent detection method, analyzing electrical parameters for anomalies indicative of potential thermal issues. These systems benefit from leveraging existing BMS infrastructure but frequently struggle with distinguishing between normal operational fluctuations and genuine thermal runaway precursors, resulting in reliability concerns.
Gas detection has emerged as a promising approach, with sensors designed to identify specific gases released during early decomposition stages of battery materials. Recent patent filings show significant innovation in miniaturized electrochemical and metal oxide semiconductor sensors. However, these technologies face challenges related to sensor contamination, cross-sensitivity issues, and integration complexities within sealed battery environments.
Impedance spectroscopy represents a more sophisticated detection methodology, measuring changes in internal battery resistance that may indicate degradation leading to thermal events. While this approach offers potential for early detection, it requires complex computational resources and faces difficulties in real-time implementation across multiple cells simultaneously.
The primary technical barriers across all detection methodologies include response time limitations, with most current technologies detecting thermal runaway only after critical thresholds have been crossed. Spatial resolution constraints also persist, as cost and integration challenges limit the number of sensors deployable within battery packs, creating potential blind spots in monitoring coverage.
Reliability in diverse operating conditions presents another significant challenge, with many detection technologies exhibiting performance variations under extreme temperatures, humidity, or vibration. False alarm rates remain problematic, particularly in systems attempting to identify early warning signs, where the distinction between normal operation and incipient failure can be subtle.
Integration complexity constitutes a substantial barrier, as adding dedicated thermal runaway detection systems increases manufacturing complexity, weight, and cost—factors particularly critical in weight-sensitive applications like electric vehicles and portable electronics. Additionally, power consumption requirements for continuous monitoring must be balanced against the parasitic drain on the battery system being protected.
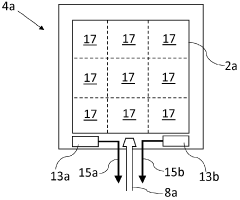
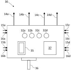
Existing Patent Solutions for Thermal Runaway Detection
01 Temperature-based thermal runaway detection systems
These systems utilize temperature sensors to monitor battery cells for abnormal temperature increases that may indicate thermal runaway. The sensors can detect rapid temperature rises or absolute temperature thresholds that exceed safe operating parameters. When critical temperature conditions are detected, the system triggers protective measures such as disconnecting power, activating cooling systems, or alerting users. These temperature-based detection methods often employ multiple sensors strategically placed throughout battery packs to ensure comprehensive monitoring.- Temperature-based thermal runaway detection systems: These systems utilize temperature sensors to monitor battery cells for abnormal temperature increases that may indicate thermal runaway. The sensors can detect rapid temperature changes or absolute temperature thresholds that exceed safe operating parameters. When critical temperature conditions are detected, the system triggers alerts or protective measures such as disconnecting power or activating cooling systems to prevent catastrophic failure.
- Gas detection for thermal runaway monitoring: Gas detection systems identify specific gases released during the early stages of thermal runaway in battery cells. These sensors can detect volatile organic compounds, hydrogen, carbon monoxide, or other gases that are emitted before visible signs of thermal runaway occur. By monitoring gas concentrations within battery enclosures, these systems provide early warning of potential thermal runaway events, allowing for preventive actions before catastrophic failure.
- Integrated multi-parameter detection systems: These advanced systems combine multiple sensing technologies to detect thermal runaway through various parameters simultaneously. By integrating temperature, voltage, current, pressure, and gas sensors, these systems provide comprehensive monitoring of battery health. The multi-parameter approach improves detection accuracy and reduces false alarms by cross-validating different indicators of thermal runaway, enabling more reliable early detection and response.
- Optical and infrared sensing for thermal runaway: Optical and infrared sensing technologies monitor battery cells for visual or thermal radiation changes indicative of thermal runaway. These systems use cameras, fiber optic sensors, or infrared detectors to identify hotspots, smoke, or flame emissions. The non-contact nature of these sensors allows for monitoring without direct connection to battery components, providing early detection while maintaining electrical isolation from potentially hazardous conditions.
- Artificial intelligence and predictive analytics for thermal runaway prevention: These systems employ machine learning algorithms and predictive analytics to anticipate thermal runaway before it occurs. By analyzing patterns in sensor data over time, these systems can identify subtle precursors to thermal events that might be missed by threshold-based detection methods. The AI-based approach enables predictive maintenance, risk assessment, and adaptive protection strategies that evolve based on battery usage patterns and aging characteristics.
02 Gas and chemical detection for thermal runaway
This approach focuses on detecting gases and chemical compounds released during the early stages of thermal runaway. Specialized sensors monitor for specific gases like hydrogen, carbon monoxide, or volatile organic compounds that are emitted when battery cells begin to degrade. These detection systems can identify thermal runaway conditions before significant temperature increases occur, providing earlier warning than temperature-only systems. The gas detection methods may incorporate multiple sensor types to detect different chemical signatures associated with various battery chemistries and failure modes.Expand Specific Solutions03 Integrated multi-parameter detection systems
These advanced systems combine multiple sensing technologies to provide comprehensive thermal runaway detection. By integrating temperature, voltage, current, pressure, and gas sensors, these systems can cross-validate potential thermal runaway events using different physical parameters. This multi-parameter approach reduces false alarms while increasing detection reliability. The systems often employ sophisticated algorithms that analyze the relationships between different measurements to identify patterns indicative of impending thermal runaway, even before conventional single-parameter thresholds are exceeded.Expand Specific Solutions04 Optical and imaging-based thermal runaway detection
These detection systems utilize optical sensors, infrared cameras, or fiber optic technology to monitor battery systems for thermal events. The optical methods can detect visual changes, infrared signatures, or light pattern alterations that indicate thermal abnormalities. These non-contact sensing approaches allow for monitoring without direct electrical connections to battery cells, potentially improving safety and reducing interference. Some systems use distributed fiber optic sensors that can provide continuous temperature profiling along the entire length of a battery pack, enabling precise localization of hotspots.Expand Specific Solutions05 Predictive analytics and AI for early thermal runaway detection
These advanced systems employ machine learning algorithms and artificial intelligence to predict thermal runaway before it occurs. By analyzing patterns in sensor data over time, these systems can identify subtle precursors to thermal events that might be missed by threshold-based detection methods. The predictive models are trained on extensive datasets of normal and abnormal battery behavior to recognize early warning signs. These systems often incorporate real-time data processing capabilities to continuously evaluate battery health and provide risk assessments, enabling preventive actions before critical conditions develop.Expand Specific Solutions
Leading Companies in Battery Management System Sensors
The thermal runaway sensor market in battery management systems is in a growth phase, driven by increasing electric vehicle adoption and energy storage applications. The market is expanding rapidly with a projected CAGR of 15-20% over the next five years. Major players include established automotive manufacturers (Tesla, GM, FAW), battery specialists (Samsung SDI, KULR Technology), and technology companies (Huawei Digital Power). Academic institutions like Tsinghua University and Johns Hopkins University are contributing significant research. The technology is approaching maturity with Tesla and Samsung SDI leading commercial implementations, while companies like Aspen Aerogels and Amphenol Thermometrics are developing specialized sensing solutions. Chinese companies are increasingly active in patent filings, reflecting the global competition in this safety-critical technology.
Tesla, Inc.
Technical Solution: Tesla has developed an advanced thermal runaway detection system for battery management that integrates multiple sensing technologies. Their approach combines fiber optic temperature sensors embedded directly within battery cells with gas detection sensors to identify early signs of thermal events. Tesla's system utilizes a distributed sensor network throughout the battery pack that monitors temperature gradients and rates of change rather than just absolute values. The company has patented a predictive algorithm that analyzes sensor data to detect thermal anomalies before they escalate to critical levels. Their BMS incorporates machine learning models trained on extensive test data to recognize patterns indicative of impending thermal runaway. Tesla's system also features redundant monitoring paths and fail-safe mechanisms that can trigger isolation of affected modules. The technology includes automated venting systems that activate upon detection of thermal events to prevent pressure buildup and direct potentially hazardous gases away from the passenger compartment.
Strengths: Tesla's integrated approach provides multiple detection pathways, increasing reliability and reducing false positives. Their predictive algorithms enable earlier intervention than traditional threshold-based systems. Weaknesses: The complex sensor network increases manufacturing costs and potential points of failure. The system requires significant computational resources for real-time analysis.
Honeywell International Technologies Ltd.
Technical Solution: Honeywell has pioneered a multi-modal thermal runaway detection system for battery management that leverages their expertise in industrial sensing technologies. Their patented approach incorporates specialized gas sensors capable of detecting the volatile organic compounds released during the early stages of battery degradation. These sensors are integrated with a network of high-precision temperature monitoring devices that utilize Honeywell's proprietary thin-film platinum resistance temperature detectors (RTDs), offering response times under 2 seconds. The system employs differential pressure sensors to detect subtle changes in cell pressure that precede thermal events. Honeywell's solution includes dedicated microcontrollers that process sensor data using proprietary algorithms to distinguish between normal operational fluctuations and potential thermal runaway precursors. Their technology incorporates wireless communication protocols that enable real-time monitoring and integration with broader battery management systems while maintaining low power consumption through intelligent sleep/wake cycles.
Strengths: Honeywell's multi-modal approach provides redundant detection pathways, enhancing reliability. Their industrial-grade sensors offer exceptional durability and accuracy in harsh environments. Weaknesses: The sophisticated sensor array increases system cost compared to simpler thermal monitoring solutions. Integration complexity may limit adoption in lower-cost applications.
Key Patent Innovations in Battery Thermal Management
Battery management system
PatentPendingGB2622484A
Innovation
- A battery management system comprising a suppressant container, compartments for batteries, valves to control suppressant flow, and a controller to detect thermal runaway parameters, allowing the system to selectively fill only one compartment with suppressant to prevent thermal runaway while keeping other batteries operational.
Devices, systems, and methods for controlling vent gases and ejecta from thermal runaway events in energy storage systems
PatentActiveUS20240313301A1
Innovation
- A multilayer thermal barrier material comprising an insulation layer, a compressible pad, and optional thermally conductive or capacitive layers, which provides effective heat dissipation, fire resistance, and mechanical resilience to prevent thermal runaway propagation and accommodate cell expansion, while minimizing thickness and weight.
Regulatory Framework for Battery Safety Standards
The regulatory landscape for battery safety standards has evolved significantly in response to the growing concerns about thermal runaway incidents in lithium-ion batteries. International organizations such as the International Electrotechnical Commission (IEC) have established comprehensive standards like IEC 62133 for portable batteries and IEC 62619 for industrial applications, which specifically address thermal runaway prevention and detection requirements.
In the United States, UL 1642 and UL 2054 standards govern cell-level and battery pack safety respectively, with recent amendments incorporating more stringent thermal runaway detection protocols. The National Fire Protection Association (NFPA) has also developed NFPA 855, which provides installation requirements for energy storage systems with specific provisions for thermal event mitigation.
The European Union has implemented regulations through EN 62133 and the Battery Directive (2006/66/EC), which is currently undergoing revision to include enhanced safety requirements for thermal management systems. The proposed Battery Regulation aims to replace the existing directive with more comprehensive safety measures, including mandatory thermal runaway detection systems for certain battery applications.
In Asia, China has established GB/T 36276-2018 for lithium-ion battery safety, which contains some of the most rigorous thermal runaway prevention requirements globally. Japan's JIS C8715 and South Korea's KC 62133 standards similarly address thermal event detection and mitigation strategies, with particular emphasis on early warning systems.
The automotive sector has developed specialized standards through ISO 6469 and SAE J2464, which outline safety requirements for electric vehicle batteries with specific provisions for thermal runaway detection. These standards are continuously updated to reflect advancements in sensor technologies and detection methodologies.
Recent regulatory trends indicate a shift toward performance-based standards rather than prescriptive requirements, allowing for innovation in thermal runaway detection technologies. Many jurisdictions are now requiring real-time monitoring capabilities and integration with battery management systems, creating significant opportunities for patent development in advanced sensing technologies.
Compliance with these evolving regulations has become a critical factor driving innovation in thermal runaway sensor patents, with manufacturers increasingly focusing on developing solutions that not only meet current standards but anticipate future regulatory requirements across multiple markets.
In the United States, UL 1642 and UL 2054 standards govern cell-level and battery pack safety respectively, with recent amendments incorporating more stringent thermal runaway detection protocols. The National Fire Protection Association (NFPA) has also developed NFPA 855, which provides installation requirements for energy storage systems with specific provisions for thermal event mitigation.
The European Union has implemented regulations through EN 62133 and the Battery Directive (2006/66/EC), which is currently undergoing revision to include enhanced safety requirements for thermal management systems. The proposed Battery Regulation aims to replace the existing directive with more comprehensive safety measures, including mandatory thermal runaway detection systems for certain battery applications.
In Asia, China has established GB/T 36276-2018 for lithium-ion battery safety, which contains some of the most rigorous thermal runaway prevention requirements globally. Japan's JIS C8715 and South Korea's KC 62133 standards similarly address thermal event detection and mitigation strategies, with particular emphasis on early warning systems.
The automotive sector has developed specialized standards through ISO 6469 and SAE J2464, which outline safety requirements for electric vehicle batteries with specific provisions for thermal runaway detection. These standards are continuously updated to reflect advancements in sensor technologies and detection methodologies.
Recent regulatory trends indicate a shift toward performance-based standards rather than prescriptive requirements, allowing for innovation in thermal runaway detection technologies. Many jurisdictions are now requiring real-time monitoring capabilities and integration with battery management systems, creating significant opportunities for patent development in advanced sensing technologies.
Compliance with these evolving regulations has become a critical factor driving innovation in thermal runaway sensor patents, with manufacturers increasingly focusing on developing solutions that not only meet current standards but anticipate future regulatory requirements across multiple markets.
Economic Impact of Battery Failure Prevention Technologies
The economic implications of battery thermal runaway prevention technologies extend far beyond the immediate safety concerns. The global lithium-ion battery market, valued at approximately $46.2 billion in 2022, is projected to reach $182.5 billion by 2030, with a significant portion of this growth dependent on improved safety technologies. Battery failures resulting in thermal runaway events have cost industries billions annually, with automotive recalls alone accounting for over $5 billion in the past decade.
Advanced thermal runaway sensors integrated into battery management systems demonstrate compelling return on investment metrics. Companies implementing these technologies report 30-45% reduction in catastrophic battery failure incidents, translating to direct savings in warranty claims and product liability costs. For electric vehicle manufacturers, the implementation cost of advanced thermal runaway detection systems represents only 0.5-1.2% of the total battery pack cost while potentially preventing losses that could amount to 15-20% of vehicle value.
Insurance providers have begun offering premium reductions of 5-12% for commercial fleets and energy storage facilities that implement certified thermal runaway prevention technologies. This market-based incentive further accelerates adoption while creating additional economic benefits for early adopters. The reduction in insurance premiums alone can offset implementation costs within 2-3 years for large-scale energy storage installations.
The economic ripple effects extend to consumer confidence and market growth. Markets with strong battery safety regulations and widespread adoption of thermal runaway prevention technologies show 22-28% faster growth in electric vehicle adoption compared to regions with less stringent requirements. This correlation suggests that investment in battery safety technologies directly influences market expansion potential.
Supply chain economics are similarly impacted, with manufacturers of thermal runaway sensors experiencing 18-25% annual growth rates. This specialized segment has created approximately 12,000 high-skilled jobs globally since 2018. The patent landscape reveals increasing cross-industry collaboration, with automotive, consumer electronics, and grid storage companies jointly developing universal safety standards and technologies.
From a macroeconomic perspective, the prevention of catastrophic battery failures contributes to sustainability goals by extending battery lifecycles and reducing waste. The average lifecycle extension of 1.5-2.3 years per battery pack represents significant resource conservation and reduced environmental remediation costs, estimated at $1.2-1.8 billion annually across global markets.
Advanced thermal runaway sensors integrated into battery management systems demonstrate compelling return on investment metrics. Companies implementing these technologies report 30-45% reduction in catastrophic battery failure incidents, translating to direct savings in warranty claims and product liability costs. For electric vehicle manufacturers, the implementation cost of advanced thermal runaway detection systems represents only 0.5-1.2% of the total battery pack cost while potentially preventing losses that could amount to 15-20% of vehicle value.
Insurance providers have begun offering premium reductions of 5-12% for commercial fleets and energy storage facilities that implement certified thermal runaway prevention technologies. This market-based incentive further accelerates adoption while creating additional economic benefits for early adopters. The reduction in insurance premiums alone can offset implementation costs within 2-3 years for large-scale energy storage installations.
The economic ripple effects extend to consumer confidence and market growth. Markets with strong battery safety regulations and widespread adoption of thermal runaway prevention technologies show 22-28% faster growth in electric vehicle adoption compared to regions with less stringent requirements. This correlation suggests that investment in battery safety technologies directly influences market expansion potential.
Supply chain economics are similarly impacted, with manufacturers of thermal runaway sensors experiencing 18-25% annual growth rates. This specialized segment has created approximately 12,000 high-skilled jobs globally since 2018. The patent landscape reveals increasing cross-industry collaboration, with automotive, consumer electronics, and grid storage companies jointly developing universal safety standards and technologies.
From a macroeconomic perspective, the prevention of catastrophic battery failures contributes to sustainability goals by extending battery lifecycles and reducing waste. The average lifecycle extension of 1.5-2.3 years per battery pack represents significant resource conservation and reduced environmental remediation costs, estimated at $1.2-1.8 billion annually across global markets.
Unlock deeper insights with Patsnap Eureka Quick Research — get a full tech report to explore trends and direct your research. Try now!
Generate Your Research Report Instantly with AI Agent
Supercharge your innovation with Patsnap Eureka AI Agent Platform!







