Enhance GC-MS VOC Testing: Forensic Investigation Techniques
SEP 22, 20259 MIN READ
Generate Your Research Report Instantly with AI Agent
Patsnap Eureka helps you evaluate technical feasibility & market potential.
GC-MS VOC Analysis Evolution and Objectives
Gas Chromatography-Mass Spectrometry (GC-MS) has evolved significantly since its inception in the mid-20th century, transforming from a specialized analytical technique into an essential tool for volatile organic compound (VOC) detection in forensic investigations. The initial development of GC-MS in the 1950s marked a revolutionary advancement in analytical chemistry, combining the separation capabilities of gas chromatography with the identification power of mass spectrometry. This integration created a powerful platform for analyzing complex mixtures of volatile compounds with unprecedented precision.
Throughout the 1970s and 1980s, GC-MS technology underwent substantial refinements, including improvements in column technology, detector sensitivity, and data processing capabilities. The introduction of capillary columns significantly enhanced separation efficiency, while advances in ionization techniques expanded the range of detectable compounds. These developments laid the groundwork for the application of GC-MS in forensic science, particularly for the analysis of accelerants in fire debris, illicit drugs, and trace evidence.
The 1990s witnessed the miniaturization and automation of GC-MS systems, making them more accessible to forensic laboratories worldwide. Concurrently, standardized protocols for VOC analysis in forensic contexts began to emerge, establishing GC-MS as the gold standard for identifying volatile chemical evidence. The development of spectral libraries further enhanced the technique's utility by enabling rapid compound identification through automated matching algorithms.
Recent technological trends have focused on increasing sensitivity, reducing analysis time, and enhancing portability. Two-dimensional GC-MS (GCxGC-MS) has emerged as a powerful tool for separating complex mixtures, while time-of-flight mass spectrometry has improved detection limits for trace VOCs. Portable GC-MS units now enable on-site analysis at crime scenes, significantly reducing evidence degradation risks associated with transportation and storage.
The primary objective of enhancing GC-MS VOC testing for forensic investigations is to develop more sensitive, specific, and rapid analytical methods that can detect increasingly smaller quantities of volatile compounds under challenging field conditions. This includes improving detection limits to identify trace evidence that may have previously gone unnoticed, developing more robust sample preparation techniques to handle contaminated or degraded samples, and creating more comprehensive reference databases for emerging substances of forensic interest.
Additional goals include the development of standardized protocols that ensure consistency across different laboratories, the integration of artificial intelligence for automated pattern recognition in complex VOC profiles, and the creation of more user-friendly interfaces that allow forensic technicians to interpret results accurately without extensive analytical chemistry expertise. These advancements aim to strengthen the evidentiary value of VOC analysis in legal proceedings while expanding its applicability to new types of forensic investigations.
Throughout the 1970s and 1980s, GC-MS technology underwent substantial refinements, including improvements in column technology, detector sensitivity, and data processing capabilities. The introduction of capillary columns significantly enhanced separation efficiency, while advances in ionization techniques expanded the range of detectable compounds. These developments laid the groundwork for the application of GC-MS in forensic science, particularly for the analysis of accelerants in fire debris, illicit drugs, and trace evidence.
The 1990s witnessed the miniaturization and automation of GC-MS systems, making them more accessible to forensic laboratories worldwide. Concurrently, standardized protocols for VOC analysis in forensic contexts began to emerge, establishing GC-MS as the gold standard for identifying volatile chemical evidence. The development of spectral libraries further enhanced the technique's utility by enabling rapid compound identification through automated matching algorithms.
Recent technological trends have focused on increasing sensitivity, reducing analysis time, and enhancing portability. Two-dimensional GC-MS (GCxGC-MS) has emerged as a powerful tool for separating complex mixtures, while time-of-flight mass spectrometry has improved detection limits for trace VOCs. Portable GC-MS units now enable on-site analysis at crime scenes, significantly reducing evidence degradation risks associated with transportation and storage.
The primary objective of enhancing GC-MS VOC testing for forensic investigations is to develop more sensitive, specific, and rapid analytical methods that can detect increasingly smaller quantities of volatile compounds under challenging field conditions. This includes improving detection limits to identify trace evidence that may have previously gone unnoticed, developing more robust sample preparation techniques to handle contaminated or degraded samples, and creating more comprehensive reference databases for emerging substances of forensic interest.
Additional goals include the development of standardized protocols that ensure consistency across different laboratories, the integration of artificial intelligence for automated pattern recognition in complex VOC profiles, and the creation of more user-friendly interfaces that allow forensic technicians to interpret results accurately without extensive analytical chemistry expertise. These advancements aim to strengthen the evidentiary value of VOC analysis in legal proceedings while expanding its applicability to new types of forensic investigations.
Forensic Market Demand for Advanced VOC Detection
The forensic science market has witnessed significant growth in recent years, with the global forensic technologies market valued at approximately $19.2 billion in 2022 and projected to reach $44.3 billion by 2030. Within this expanding sector, the demand for advanced volatile organic compound (VOC) detection technologies has become increasingly critical for criminal investigations, security applications, and legal proceedings.
Law enforcement agencies worldwide are facing mounting pressure to solve cases more efficiently and accurately, driving the need for sophisticated VOC detection methods. The ability to identify and analyze trace evidence through VOC signatures has proven invaluable in cases involving arson, explosives, drug manufacturing, and human remains detection. According to recent surveys, over 78% of forensic laboratories report increased requests for VOC analysis in the past five years.
The judicial system's heightened standards for scientific evidence admissibility, particularly following landmark cases establishing stricter criteria for expert testimony, has created substantial demand for more reliable and sensitive VOC detection technologies. Courts now require forensic evidence to meet rigorous scientific standards, pushing laboratories to adopt advanced GC-MS (Gas Chromatography-Mass Spectrometry) systems with enhanced sensitivity and specificity.
Private forensic service providers have emerged as significant market drivers, investing heavily in cutting-edge VOC detection capabilities to secure competitive advantages. This privatization trend has accelerated technology adoption rates across the industry, with annual investment in forensic technology by private firms growing at 12.7% annually since 2018.
The COVID-19 pandemic has unexpectedly influenced market dynamics, with increased focus on biological threat detection creating spillover demand for advanced VOC analysis technologies. Many forensic laboratories have expanded their capabilities to include both traditional criminal investigation applications and public health security measures.
Geographically, North America dominates the forensic VOC detection market with approximately 42% market share, followed by Europe at 28% and Asia-Pacific showing the fastest growth rate at 15.3% annually. Developing regions are rapidly expanding their forensic capabilities, creating new market opportunities for advanced VOC detection technologies.
Industry forecasts indicate specialized applications like human scent analysis for suspect identification, post-mortem interval determination through decomposition VOCs, and environmental forensics will drive future market growth. The integration of artificial intelligence with GC-MS systems for automated pattern recognition represents a particularly promising growth segment, with projected annual growth rates exceeding 18% through 2028.
Law enforcement agencies worldwide are facing mounting pressure to solve cases more efficiently and accurately, driving the need for sophisticated VOC detection methods. The ability to identify and analyze trace evidence through VOC signatures has proven invaluable in cases involving arson, explosives, drug manufacturing, and human remains detection. According to recent surveys, over 78% of forensic laboratories report increased requests for VOC analysis in the past five years.
The judicial system's heightened standards for scientific evidence admissibility, particularly following landmark cases establishing stricter criteria for expert testimony, has created substantial demand for more reliable and sensitive VOC detection technologies. Courts now require forensic evidence to meet rigorous scientific standards, pushing laboratories to adopt advanced GC-MS (Gas Chromatography-Mass Spectrometry) systems with enhanced sensitivity and specificity.
Private forensic service providers have emerged as significant market drivers, investing heavily in cutting-edge VOC detection capabilities to secure competitive advantages. This privatization trend has accelerated technology adoption rates across the industry, with annual investment in forensic technology by private firms growing at 12.7% annually since 2018.
The COVID-19 pandemic has unexpectedly influenced market dynamics, with increased focus on biological threat detection creating spillover demand for advanced VOC analysis technologies. Many forensic laboratories have expanded their capabilities to include both traditional criminal investigation applications and public health security measures.
Geographically, North America dominates the forensic VOC detection market with approximately 42% market share, followed by Europe at 28% and Asia-Pacific showing the fastest growth rate at 15.3% annually. Developing regions are rapidly expanding their forensic capabilities, creating new market opportunities for advanced VOC detection technologies.
Industry forecasts indicate specialized applications like human scent analysis for suspect identification, post-mortem interval determination through decomposition VOCs, and environmental forensics will drive future market growth. The integration of artificial intelligence with GC-MS systems for automated pattern recognition represents a particularly promising growth segment, with projected annual growth rates exceeding 18% through 2028.
Current Challenges in GC-MS VOC Testing
Gas Chromatography-Mass Spectrometry (GC-MS) for Volatile Organic Compound (VOC) testing faces several significant challenges in forensic investigation applications. The sensitivity and specificity requirements for forensic evidence are exceptionally high, yet current GC-MS systems often struggle with detection limits when analyzing trace VOCs from crime scenes. Many forensically relevant compounds exist in concentrations below parts per billion, pushing instruments to their operational boundaries.
Sample preparation remains a critical bottleneck in the workflow. Forensic samples are frequently compromised, degraded, or contaminated, making efficient extraction and concentration of target VOCs difficult. Current solid-phase microextraction (SPME) techniques, while valuable, suffer from limited capacity, competitive adsorption issues, and inconsistent recovery rates across different compound classes.
Matrix interference presents another substantial challenge. Complex biological matrices from crime scenes contain numerous compounds that can co-elute with targets of interest, leading to false positives or masking critical evidence. The current chromatographic separation methods often fail to adequately resolve these complex mixtures, particularly when dealing with isomers and structurally similar compounds common in accelerants and drug metabolites.
Quantification accuracy is compromised by the lack of standardized calibration methods specific to forensic matrices. The variability in sample composition makes establishing reliable calibration curves difficult, leading to significant uncertainty in concentration determinations that can undermine court testimony.
Data interpretation challenges persist despite advances in software algorithms. The massive datasets generated by GC-MS analyses require sophisticated pattern recognition to identify relevant compounds among background noise. Current automated identification systems still produce high false positive rates when analyzing complex forensic samples, necessitating time-consuming manual verification.
Field deployment capabilities remain limited. Most high-sensitivity GC-MS systems require controlled laboratory environments, creating significant delays between evidence collection and analysis. Portable systems exist but sacrifice analytical performance, creating a problematic trade-off between timeliness and reliability in forensic investigations.
Standardization across laboratories presents ongoing difficulties. Different institutions employ varied protocols, instruments, and reference databases, leading to inconsistent results when analyzing identical samples. This lack of harmonization complicates inter-laboratory comparisons and can undermine the credibility of forensic evidence in legal proceedings.
Emerging designer drugs and novel synthetic compounds continually challenge existing libraries and detection methods. Reference spectra for these compounds are often unavailable, making positive identification difficult even with high-quality data.
Sample preparation remains a critical bottleneck in the workflow. Forensic samples are frequently compromised, degraded, or contaminated, making efficient extraction and concentration of target VOCs difficult. Current solid-phase microextraction (SPME) techniques, while valuable, suffer from limited capacity, competitive adsorption issues, and inconsistent recovery rates across different compound classes.
Matrix interference presents another substantial challenge. Complex biological matrices from crime scenes contain numerous compounds that can co-elute with targets of interest, leading to false positives or masking critical evidence. The current chromatographic separation methods often fail to adequately resolve these complex mixtures, particularly when dealing with isomers and structurally similar compounds common in accelerants and drug metabolites.
Quantification accuracy is compromised by the lack of standardized calibration methods specific to forensic matrices. The variability in sample composition makes establishing reliable calibration curves difficult, leading to significant uncertainty in concentration determinations that can undermine court testimony.
Data interpretation challenges persist despite advances in software algorithms. The massive datasets generated by GC-MS analyses require sophisticated pattern recognition to identify relevant compounds among background noise. Current automated identification systems still produce high false positive rates when analyzing complex forensic samples, necessitating time-consuming manual verification.
Field deployment capabilities remain limited. Most high-sensitivity GC-MS systems require controlled laboratory environments, creating significant delays between evidence collection and analysis. Portable systems exist but sacrifice analytical performance, creating a problematic trade-off between timeliness and reliability in forensic investigations.
Standardization across laboratories presents ongoing difficulties. Different institutions employ varied protocols, instruments, and reference databases, leading to inconsistent results when analyzing identical samples. This lack of harmonization complicates inter-laboratory comparisons and can undermine the credibility of forensic evidence in legal proceedings.
Emerging designer drugs and novel synthetic compounds continually challenge existing libraries and detection methods. Reference spectra for these compounds are often unavailable, making positive identification difficult even with high-quality data.
Contemporary GC-MS VOC Detection Methodologies
01 Advanced GC-MS instrumentation for VOC detection
Modern gas chromatography-mass spectrometry (GC-MS) systems incorporate advanced hardware components to enhance volatile organic compound (VOC) detection. These improvements include high-sensitivity detectors, specialized ion sources, and optimized mass analyzers that can detect trace amounts of VOCs. Enhanced instrumentation allows for better resolution, lower detection limits, and improved accuracy in VOC analysis across various sample types.- Advanced sample preparation techniques for GC-MS VOC analysis: Various sample preparation techniques can enhance the detection and analysis of volatile organic compounds (VOCs) using GC-MS. These include solid-phase microextraction (SPME), thermal desorption, and headspace sampling methods that improve the extraction efficiency and concentration of VOCs before analysis. These techniques help to reduce interference from matrix components and increase the sensitivity of VOC detection, particularly for complex samples or trace-level compounds.
- Optimization of GC-MS instrumental parameters: Enhancing GC-MS VOC testing can be achieved through optimization of instrumental parameters such as temperature programming, carrier gas flow rates, and MS detection settings. Advanced column technologies with improved stationary phases and optimized dimensions can provide better separation of complex VOC mixtures. Additionally, fine-tuning of ionization parameters and detector settings can significantly improve sensitivity and selectivity for target VOCs.
- Data processing and analysis algorithms for VOC identification: Sophisticated data processing algorithms and software solutions can enhance the identification and quantification of VOCs in GC-MS analysis. These include advanced peak deconvolution techniques, automated compound identification using spectral libraries, and statistical analysis methods for complex VOC profiles. Machine learning approaches can also be employed to improve pattern recognition in VOC data, particularly for environmental and biological samples with numerous compounds.
- Calibration and quality control methods for VOC testing: Implementing robust calibration and quality control procedures is essential for enhancing the reliability of GC-MS VOC testing. This includes the use of internal standards, multi-point calibration curves, and regular system suitability tests. Advanced calibration approaches such as isotope dilution and matrix-matched standards can compensate for matrix effects and improve quantitative accuracy. Quality control samples and proficiency testing help ensure consistent and comparable results across different testing sessions.
- Specialized applications and modifications for specific VOC testing scenarios: Tailored approaches for specific VOC testing applications can significantly enhance analytical performance. These include modifications for environmental monitoring, food analysis, medical diagnostics, and industrial quality control. Specialized sampling devices, pre-concentration techniques, and derivatization methods can be employed to target specific VOC classes. Additionally, portable and field-deployable GC-MS systems with simplified workflows enable on-site VOC analysis with minimal sample degradation or loss during transport.
02 Sample preparation and preconcentration techniques
Effective sample preparation methods significantly improve VOC testing sensitivity. Techniques such as solid-phase microextraction (SPME), thermal desorption, and headspace sampling enhance the concentration of volatile compounds before GC-MS analysis. Preconcentration steps remove matrix interferences and focus target analytes, resulting in cleaner chromatograms and lower detection limits for complex environmental, biological, or industrial samples.Expand Specific Solutions03 Data processing algorithms and software solutions
Advanced computational methods enhance VOC identification and quantification in GC-MS analysis. Machine learning algorithms, automated peak detection, deconvolution techniques, and specialized software tools improve data processing efficiency and accuracy. These computational approaches help identify complex VOC patterns, reduce false positives, and enable more reliable interpretation of results, particularly in samples with numerous overlapping compounds.Expand Specific Solutions04 Calibration and quality control methodologies
Robust calibration strategies and quality control protocols are essential for reliable VOC testing. Methods include multi-point calibration curves, internal standards, surrogate compounds, and reference materials. These approaches compensate for matrix effects, instrument drift, and recovery variations, ensuring accurate quantification across different concentration ranges and sample types while maintaining testing consistency over time.Expand Specific Solutions05 Application-specific VOC testing protocols
Tailored GC-MS methods for specific VOC testing applications enhance performance in particular industries or research fields. Customized protocols for environmental monitoring, food analysis, medical diagnostics, or industrial quality control optimize parameters such as column selection, temperature programming, and ionization conditions. These specialized approaches improve detection of target VOCs in specific matrices while minimizing interference from non-target compounds.Expand Specific Solutions
Leading Forensic Technology Providers and Laboratories
The GC-MS VOC testing market for forensic investigations is in a growth phase, with increasing adoption across law enforcement, environmental monitoring, and security sectors. The global market size is expanding steadily, driven by rising demand for advanced analytical techniques in criminal investigations and environmental forensics. Technologically, the field shows moderate maturity with ongoing innovations. Leading players include established analytical instrumentation companies like Markes International and Entech Instruments, who specialize in thermal desorption and sample preparation technologies. Research institutions such as Brigham & Women's Hospital and Draper Laboratory contribute significant advancements, while IBM and ANCON Technologies are introducing AI and nanotechnology innovations to enhance detection capabilities. The competitive landscape features a mix of specialized instrumentation providers and research-driven organizations working to improve sensitivity, portability, and data analysis in VOC detection.
ANCON Technologies Ltd.
Technical Solution: ANCON Technologies has developed Nanotechnology Molecular Tagging (NMT) for VOC detection in forensic investigations. This proprietary technology identifies molecular signatures of volatile compounds with unprecedented sensitivity (parts per trillion levels) and specificity. Their system employs a specialized ion mobility spectrometry approach that creates unique molecular tags for different VOCs, allowing for rapid identification even in complex mixtures. The technology incorporates machine learning algorithms that continuously improve detection accuracy by building comprehensive databases of VOC signatures found at crime scenes. ANCON's portable GC-MS systems feature miniaturized components and optimized chromatography columns specifically designed for field forensic work, enabling investigators to conduct real-time analysis at crime scenes rather than waiting for laboratory results[1][3].
Strengths: Exceptional sensitivity at parts-per-trillion levels; rapid analysis time (under 5 minutes); field-portable systems; proprietary molecular tagging technology provides unique identification capabilities. Weaknesses: Higher initial equipment cost compared to traditional methods; requires specialized training for field operators; database development still ongoing for certain specialized forensic applications.
Entech Instruments, Inc.
Technical Solution: Entech Instruments has pioneered advanced sample preparation technologies specifically optimized for forensic GC-MS VOC analysis. Their Micro-Scale Purge & Trap (μSPT) system enables concentration of trace VOCs from various forensic samples including clothing fibers, fire debris, and biological specimens. The technology employs a multi-stage preconcentration process that removes moisture and interfering compounds while preserving target VOCs intact. Their SPME Arrow technology represents a significant advancement over traditional SPME fibers, offering 2-3x greater surface area and mechanical robustness needed for forensic field sampling. Entech's integrated systems include specialized thermal desorption units that interface directly with GC-MS instruments, maintaining chain of custody while maximizing analytical sensitivity. Their latest innovation includes automated headspace sampling systems specifically designed for forensic evidence preservation[2][5].
Strengths: Industry-leading sample preparation technologies; specialized forensic sampling tools; systems designed to maintain legal chain of custody; excellent recovery rates for trace VOCs from complex matrices. Weaknesses: Systems require integration with existing GC-MS platforms; higher complexity compared to direct injection methods; specialized consumables needed for optimal performance.
Critical Innovations in Forensic VOC Analysis
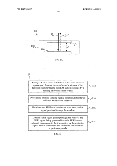
Spectroscopic device, method of detecting surface-enhanced raman scattering (SERS) signal, and method for multiplex detection of a plurality of volatile organic compounds using surface-enhanced raman scattering (SERS)
PatentWO2015026297A1
Innovation
- A spectroscopic device and method utilizing a SERS-active substrate with nanostructures, arranged close to a window in a detection chamber, allowing for the detection of VOCs without cooling and enabling multiplex detection of multiple VOCs through specific Raman peak identification.
System for monitoring smoke composition with screen-printed sensors
PatentPendingIN202341066090A
Innovation
- A real-time monitoring system using flexible chemo-resistive sensors fabricated by screen printing technology, which includes polyaniline and graphite as active sensing materials, deposited on a Polyethylene Terephthalate (PET) substrate, and a processor to determine VOC concentrations and toxic composition.
Legal Admissibility of GC-MS Evidence
The legal admissibility of Gas Chromatography-Mass Spectrometry (GC-MS) evidence in forensic investigations is governed by complex frameworks that vary across jurisdictions. In the United States, the Daubert standard established in Daubert v. Merrell Dow Pharmaceuticals (1993) requires scientific evidence to meet specific criteria: testability, peer review, known error rates, standards controlling the technique's operation, and general acceptance within the relevant scientific community. GC-MS typically satisfies these requirements due to its established scientific foundation and widespread acceptance.
In contrast, jurisdictions following the Frye standard focus primarily on whether the scientific technique has gained general acceptance in the relevant field. GC-MS easily meets this criterion as it has been a cornerstone of analytical chemistry for decades and is recognized globally as a gold standard for volatile organic compound (VOC) identification.
Chain of custody represents a critical aspect of GC-MS evidence admissibility. Courts require comprehensive documentation tracing the sample's journey from collection through analysis and storage. Any gaps in this documentation can render otherwise scientifically sound evidence inadmissible. This includes detailed records of sample handling, storage conditions, and transfer between authorized personnel.
Laboratory accreditation significantly impacts evidence admissibility. Facilities with ISO/IEC 17025 accreditation or certification from organizations like the American Society of Crime Laboratory Directors/Laboratory Accreditation Board (ASCLD/LAB) generally face fewer challenges to their evidence's admissibility. These accreditations verify that the laboratory follows standardized protocols and quality assurance measures.
Expert witness qualification remains essential for GC-MS evidence presentation. The analyst must demonstrate appropriate education, training, and experience to interpret complex chromatograms and mass spectra. Courts increasingly scrutinize the specific qualifications of analysts rather than merely accepting institutional credentials.
Recent legal precedents have reinforced the importance of method validation in GC-MS testing. In several high-profile cases, courts have excluded evidence where laboratories failed to demonstrate proper validation of their analytical methods for the specific compounds in question. This trend emphasizes the need for forensic laboratories to maintain comprehensive validation documentation for all analytical procedures.
Emerging challenges to GC-MS evidence admissibility include questions about the statistical significance of trace VOC detection and the potential for environmental contamination to produce false positives. These concerns have prompted more rigorous requirements for control samples and blank analyses to establish background levels of target compounds.
In contrast, jurisdictions following the Frye standard focus primarily on whether the scientific technique has gained general acceptance in the relevant field. GC-MS easily meets this criterion as it has been a cornerstone of analytical chemistry for decades and is recognized globally as a gold standard for volatile organic compound (VOC) identification.
Chain of custody represents a critical aspect of GC-MS evidence admissibility. Courts require comprehensive documentation tracing the sample's journey from collection through analysis and storage. Any gaps in this documentation can render otherwise scientifically sound evidence inadmissible. This includes detailed records of sample handling, storage conditions, and transfer between authorized personnel.
Laboratory accreditation significantly impacts evidence admissibility. Facilities with ISO/IEC 17025 accreditation or certification from organizations like the American Society of Crime Laboratory Directors/Laboratory Accreditation Board (ASCLD/LAB) generally face fewer challenges to their evidence's admissibility. These accreditations verify that the laboratory follows standardized protocols and quality assurance measures.
Expert witness qualification remains essential for GC-MS evidence presentation. The analyst must demonstrate appropriate education, training, and experience to interpret complex chromatograms and mass spectra. Courts increasingly scrutinize the specific qualifications of analysts rather than merely accepting institutional credentials.
Recent legal precedents have reinforced the importance of method validation in GC-MS testing. In several high-profile cases, courts have excluded evidence where laboratories failed to demonstrate proper validation of their analytical methods for the specific compounds in question. This trend emphasizes the need for forensic laboratories to maintain comprehensive validation documentation for all analytical procedures.
Emerging challenges to GC-MS evidence admissibility include questions about the statistical significance of trace VOC detection and the potential for environmental contamination to produce false positives. These concerns have prompted more rigorous requirements for control samples and blank analyses to establish background levels of target compounds.
Cross-Contamination Prevention Protocols
Cross-contamination represents one of the most significant challenges in GC-MS VOC (Gas Chromatography-Mass Spectrometry Volatile Organic Compounds) testing for forensic investigations. Implementing robust prevention protocols is essential to maintain evidence integrity and ensure reliable analytical results that can withstand legal scrutiny.
The foundation of effective cross-contamination prevention begins with proper sample collection and handling. Forensic investigators must utilize sterile collection tools specific to each sample, with disposable equipment preferred whenever possible. For non-disposable tools, thorough cleaning protocols using appropriate solvents between collections is mandatory. Documentation of cleaning procedures provides an additional layer of quality assurance that can be referenced during legal proceedings.
Laboratory workspace organization plays a critical role in contamination prevention. Physical separation between sample preparation areas, analytical instrumentation, and data processing stations helps minimize the risk of transfer between samples. Unidirectional workflow patterns should be established, ensuring that samples move through the laboratory in a manner that prevents previously processed samples from coming into contact with new ones.
Environmental controls within the laboratory setting require careful attention. HEPA-filtered air handling systems, positive pressure environments, and regular air quality monitoring help prevent airborne contamination. Temperature and humidity controls further reduce the potential for sample degradation or cross-contamination through condensation or volatilization processes.
Instrument-specific protocols represent another crucial component of contamination prevention. Regular maintenance schedules for GC-MS systems, including column conditioning, inlet cleaning, and detector maintenance, help minimize carryover between sample runs. Blank runs between samples verify system cleanliness, while the use of internal standards allows analysts to detect and quantify any contamination that does occur.
Personal protective equipment (PPE) requirements must be strictly enforced. Laboratory personnel should wear appropriate gloves, lab coats, and other protective gear to prevent human-source contamination. These items should be changed regularly, particularly when moving between different sample types or concentration levels.
Quality control measures provide the final verification of contamination prevention effectiveness. Regular testing of method blanks, field blanks, and laboratory control samples establishes baseline performance metrics. Proficiency testing and blind sample analysis further validate the laboratory's ability to maintain sample integrity throughout the analytical process.
The foundation of effective cross-contamination prevention begins with proper sample collection and handling. Forensic investigators must utilize sterile collection tools specific to each sample, with disposable equipment preferred whenever possible. For non-disposable tools, thorough cleaning protocols using appropriate solvents between collections is mandatory. Documentation of cleaning procedures provides an additional layer of quality assurance that can be referenced during legal proceedings.
Laboratory workspace organization plays a critical role in contamination prevention. Physical separation between sample preparation areas, analytical instrumentation, and data processing stations helps minimize the risk of transfer between samples. Unidirectional workflow patterns should be established, ensuring that samples move through the laboratory in a manner that prevents previously processed samples from coming into contact with new ones.
Environmental controls within the laboratory setting require careful attention. HEPA-filtered air handling systems, positive pressure environments, and regular air quality monitoring help prevent airborne contamination. Temperature and humidity controls further reduce the potential for sample degradation or cross-contamination through condensation or volatilization processes.
Instrument-specific protocols represent another crucial component of contamination prevention. Regular maintenance schedules for GC-MS systems, including column conditioning, inlet cleaning, and detector maintenance, help minimize carryover between sample runs. Blank runs between samples verify system cleanliness, while the use of internal standards allows analysts to detect and quantify any contamination that does occur.
Personal protective equipment (PPE) requirements must be strictly enforced. Laboratory personnel should wear appropriate gloves, lab coats, and other protective gear to prevent human-source contamination. These items should be changed regularly, particularly when moving between different sample types or concentration levels.
Quality control measures provide the final verification of contamination prevention effectiveness. Regular testing of method blanks, field blanks, and laboratory control samples establishes baseline performance metrics. Proficiency testing and blind sample analysis further validate the laboratory's ability to maintain sample integrity throughout the analytical process.
Unlock deeper insights with Patsnap Eureka Quick Research — get a full tech report to explore trends and direct your research. Try now!
Generate Your Research Report Instantly with AI Agent
Supercharge your innovation with Patsnap Eureka AI Agent Platform!







