Environmental Impacts of Producing Biofuels Using Microcrystalline Cellulose-Engineered Processes
JUL 23, 20259 MIN READ
Generate Your Research Report Instantly with AI Agent
Patsnap Eureka helps you evaluate technical feasibility & market potential.
Biofuel Tech Evolution
The evolution of biofuel technology has been marked by significant advancements in the use of microcrystalline cellulose (MCC) for more sustainable and efficient production processes. This progression can be traced through several key stages, each representing a leap forward in addressing environmental concerns and improving production efficiency.
In the early stages, biofuel production primarily relied on first-generation feedstocks such as corn and sugarcane. These methods, while groundbreaking at the time, faced criticism due to their competition with food crops and limited environmental benefits. The shift towards second-generation biofuels marked a crucial turning point, with a focus on non-food biomass sources, including agricultural residues and dedicated energy crops.
The introduction of MCC-engineered processes represents a significant milestone in this evolutionary journey. MCC, derived from abundant cellulosic materials, offers a promising alternative to traditional feedstocks. Its unique properties, including high surface area and reactivity, have enabled more efficient conversion of biomass to biofuels.
Early MCC-based technologies focused on improving the enzymatic hydrolysis of cellulose, a critical step in biofuel production. Researchers developed methods to enhance the accessibility of cellulose fibers, leading to increased yields and reduced processing times. This was followed by advancements in pretreatment techniques, which further optimized the breakdown of lignocellulosic materials.
The next phase saw the integration of MCC-engineered processes with advanced fermentation technologies. This synergy allowed for more complete utilization of biomass components, including both cellulose and hemicellulose fractions. Genetic engineering of microorganisms to efficiently ferment a wider range of sugars derived from MCC pretreatment became a key focus area.
Recent developments have centered on process intensification and the application of nanotechnology. Nano-engineered MCC materials have shown promise in catalyzing biofuel production reactions, potentially reducing energy requirements and improving overall process efficiency. Additionally, the development of continuous flow reactors specifically designed for MCC-based processes has led to significant improvements in production scale and consistency.
The latest frontier in MCC-engineered biofuel production involves the integration of artificial intelligence and machine learning. These technologies are being employed to optimize process parameters in real-time, predict and mitigate potential environmental impacts, and enhance the overall sustainability of biofuel production systems.
Throughout this evolution, a consistent theme has been the drive towards minimizing environmental impacts. Each technological advancement has aimed to reduce water consumption, decrease greenhouse gas emissions, and minimize waste generation. The progression of MCC-engineered processes reflects a growing understanding of the complex interplay between biofuel production and environmental sustainability.
In the early stages, biofuel production primarily relied on first-generation feedstocks such as corn and sugarcane. These methods, while groundbreaking at the time, faced criticism due to their competition with food crops and limited environmental benefits. The shift towards second-generation biofuels marked a crucial turning point, with a focus on non-food biomass sources, including agricultural residues and dedicated energy crops.
The introduction of MCC-engineered processes represents a significant milestone in this evolutionary journey. MCC, derived from abundant cellulosic materials, offers a promising alternative to traditional feedstocks. Its unique properties, including high surface area and reactivity, have enabled more efficient conversion of biomass to biofuels.
Early MCC-based technologies focused on improving the enzymatic hydrolysis of cellulose, a critical step in biofuel production. Researchers developed methods to enhance the accessibility of cellulose fibers, leading to increased yields and reduced processing times. This was followed by advancements in pretreatment techniques, which further optimized the breakdown of lignocellulosic materials.
The next phase saw the integration of MCC-engineered processes with advanced fermentation technologies. This synergy allowed for more complete utilization of biomass components, including both cellulose and hemicellulose fractions. Genetic engineering of microorganisms to efficiently ferment a wider range of sugars derived from MCC pretreatment became a key focus area.
Recent developments have centered on process intensification and the application of nanotechnology. Nano-engineered MCC materials have shown promise in catalyzing biofuel production reactions, potentially reducing energy requirements and improving overall process efficiency. Additionally, the development of continuous flow reactors specifically designed for MCC-based processes has led to significant improvements in production scale and consistency.
The latest frontier in MCC-engineered biofuel production involves the integration of artificial intelligence and machine learning. These technologies are being employed to optimize process parameters in real-time, predict and mitigate potential environmental impacts, and enhance the overall sustainability of biofuel production systems.
Throughout this evolution, a consistent theme has been the drive towards minimizing environmental impacts. Each technological advancement has aimed to reduce water consumption, decrease greenhouse gas emissions, and minimize waste generation. The progression of MCC-engineered processes reflects a growing understanding of the complex interplay between biofuel production and environmental sustainability.
Market Demand Analysis
The market demand for biofuels produced using microcrystalline cellulose-engineered processes has been steadily growing in recent years, driven by increasing environmental concerns and the push for sustainable energy sources. This innovative approach to biofuel production offers several advantages over traditional methods, particularly in terms of reduced environmental impact and improved efficiency.
The global biofuels market is expected to expand significantly in the coming years, with a projected compound annual growth rate of 7.8% from 2021 to 2028. This growth is largely attributed to government mandates and incentives promoting the use of renewable energy sources, as well as the rising awareness of climate change and the need to reduce greenhouse gas emissions.
Microcrystalline cellulose-engineered processes for biofuel production are particularly attractive due to their potential to utilize non-food biomass sources, such as agricultural residues and forestry waste. This addresses one of the primary concerns associated with first-generation biofuels, which often compete with food crops for land and resources.
The transportation sector, which accounts for a significant portion of global energy consumption and carbon emissions, represents a key market for these advanced biofuels. Many countries have implemented policies to increase the use of biofuels in transportation, creating a strong demand for more sustainable and efficient production methods.
In the aviation industry, there is a growing interest in sustainable aviation fuels (SAFs) as a means to reduce the sector's carbon footprint. Biofuels produced using microcrystalline cellulose-engineered processes could play a crucial role in meeting this demand, as they offer a potentially more sustainable alternative to conventional jet fuels.
The chemical industry is another significant potential market for these biofuels, as they can serve as renewable feedstocks for the production of various chemicals and materials. This aligns with the industry's increasing focus on sustainability and the circular economy.
However, the market demand for these advanced biofuels is not without challenges. The relatively high production costs compared to conventional fossil fuels remain a significant barrier to widespread adoption. Additionally, the scalability of microcrystalline cellulose-engineered processes needs to be demonstrated to meet the potential large-scale demand.
Despite these challenges, the long-term market outlook for biofuels produced using microcrystalline cellulose-engineered processes remains positive. As technology advances and production costs decrease, these biofuels are expected to become increasingly competitive with conventional fuels, driving further market growth and adoption across various industries.
The global biofuels market is expected to expand significantly in the coming years, with a projected compound annual growth rate of 7.8% from 2021 to 2028. This growth is largely attributed to government mandates and incentives promoting the use of renewable energy sources, as well as the rising awareness of climate change and the need to reduce greenhouse gas emissions.
Microcrystalline cellulose-engineered processes for biofuel production are particularly attractive due to their potential to utilize non-food biomass sources, such as agricultural residues and forestry waste. This addresses one of the primary concerns associated with first-generation biofuels, which often compete with food crops for land and resources.
The transportation sector, which accounts for a significant portion of global energy consumption and carbon emissions, represents a key market for these advanced biofuels. Many countries have implemented policies to increase the use of biofuels in transportation, creating a strong demand for more sustainable and efficient production methods.
In the aviation industry, there is a growing interest in sustainable aviation fuels (SAFs) as a means to reduce the sector's carbon footprint. Biofuels produced using microcrystalline cellulose-engineered processes could play a crucial role in meeting this demand, as they offer a potentially more sustainable alternative to conventional jet fuels.
The chemical industry is another significant potential market for these biofuels, as they can serve as renewable feedstocks for the production of various chemicals and materials. This aligns with the industry's increasing focus on sustainability and the circular economy.
However, the market demand for these advanced biofuels is not without challenges. The relatively high production costs compared to conventional fossil fuels remain a significant barrier to widespread adoption. Additionally, the scalability of microcrystalline cellulose-engineered processes needs to be demonstrated to meet the potential large-scale demand.
Despite these challenges, the long-term market outlook for biofuels produced using microcrystalline cellulose-engineered processes remains positive. As technology advances and production costs decrease, these biofuels are expected to become increasingly competitive with conventional fuels, driving further market growth and adoption across various industries.
MCC Process Challenges
The production of biofuels using microcrystalline cellulose (MCC) engineered processes faces several significant challenges that need to be addressed for widespread adoption and environmental sustainability. One of the primary obstacles is the high energy consumption required for the production and processing of MCC. The extraction and purification of cellulose from biomass sources, followed by its conversion into MCC, demands substantial energy inputs, potentially offsetting the environmental benefits of biofuel production.
Another critical challenge lies in the sourcing of raw materials for MCC production. While cellulose is abundant in nature, the large-scale cultivation of crops specifically for MCC-based biofuels could lead to land-use conflicts, potentially competing with food production or natural habitats. This raises concerns about the sustainability and ethical implications of MCC-based biofuel production.
Water usage presents a further environmental challenge. The processes involved in MCC production and subsequent biofuel conversion often require significant amounts of water, which can strain local water resources, especially in water-scarce regions. Efficient water management and recycling systems are crucial to mitigate this impact.
Chemical usage in MCC production and biofuel conversion processes also poses environmental risks. The acids and solvents used in cellulose extraction and MCC production can be harmful if released into the environment. Proper handling, disposal, and treatment of these chemicals are essential to prevent soil and water contamination.
The generation of waste byproducts during MCC production and biofuel conversion is another significant challenge. These byproducts, if not properly managed or utilized, can lead to additional environmental burdens. Developing efficient waste management strategies and finding value-added applications for byproducts are crucial for improving the overall environmental footprint of the process.
Scaling up MCC-based biofuel production to industrial levels presents its own set of challenges. The optimization of production processes to maintain efficiency and environmental performance at larger scales requires significant research and development efforts. Additionally, the transportation and distribution of both raw materials and final products contribute to the overall environmental impact, necessitating careful logistics planning.
Lastly, the lifecycle assessment of MCC-based biofuels remains a complex challenge. Accurately quantifying the net environmental impact, including carbon emissions, land use changes, and resource consumption throughout the entire production chain, is crucial for determining the true sustainability of these biofuels compared to conventional fossil fuels or other renewable energy sources.
Another critical challenge lies in the sourcing of raw materials for MCC production. While cellulose is abundant in nature, the large-scale cultivation of crops specifically for MCC-based biofuels could lead to land-use conflicts, potentially competing with food production or natural habitats. This raises concerns about the sustainability and ethical implications of MCC-based biofuel production.
Water usage presents a further environmental challenge. The processes involved in MCC production and subsequent biofuel conversion often require significant amounts of water, which can strain local water resources, especially in water-scarce regions. Efficient water management and recycling systems are crucial to mitigate this impact.
Chemical usage in MCC production and biofuel conversion processes also poses environmental risks. The acids and solvents used in cellulose extraction and MCC production can be harmful if released into the environment. Proper handling, disposal, and treatment of these chemicals are essential to prevent soil and water contamination.
The generation of waste byproducts during MCC production and biofuel conversion is another significant challenge. These byproducts, if not properly managed or utilized, can lead to additional environmental burdens. Developing efficient waste management strategies and finding value-added applications for byproducts are crucial for improving the overall environmental footprint of the process.
Scaling up MCC-based biofuel production to industrial levels presents its own set of challenges. The optimization of production processes to maintain efficiency and environmental performance at larger scales requires significant research and development efforts. Additionally, the transportation and distribution of both raw materials and final products contribute to the overall environmental impact, necessitating careful logistics planning.
Lastly, the lifecycle assessment of MCC-based biofuels remains a complex challenge. Accurately quantifying the net environmental impact, including carbon emissions, land use changes, and resource consumption throughout the entire production chain, is crucial for determining the true sustainability of these biofuels compared to conventional fossil fuels or other renewable energy sources.
Current MCC Solutions
01 Microcrystalline cellulose production for biofuel
Engineered processes for producing microcrystalline cellulose from various biomass sources, optimizing the conversion of cellulosic materials into biofuels. These methods focus on improving efficiency and reducing environmental impacts through advanced pretreatment techniques and enzymatic hydrolysis.- Microcrystalline cellulose production for biofuel: Engineered processes for producing microcrystalline cellulose from various biomass sources, optimizing the conversion of cellulose into biofuel. These methods focus on improving efficiency and reducing environmental impact through advanced pretreatment techniques and enzymatic hydrolysis.
- Environmental impact assessment of biofuel production: Evaluation of the environmental impacts associated with biofuel production using microcrystalline cellulose. This includes life cycle assessments, carbon footprint analysis, and studies on water usage, land use changes, and emissions throughout the production process.
- Process optimization for reduced environmental impact: Development of innovative techniques to optimize the microcrystalline cellulose-based biofuel production process, focusing on minimizing waste, reducing energy consumption, and improving overall sustainability. This includes the use of green solvents and closed-loop systems.
- Waste management and byproduct utilization: Strategies for managing waste and utilizing byproducts from the microcrystalline cellulose-engineered biofuel production process. This involves developing value-added products from residues and implementing circular economy principles to minimize environmental impact.
- Integration of renewable energy in production processes: Incorporation of renewable energy sources into the microcrystalline cellulose-based biofuel production process to reduce reliance on fossil fuels and decrease overall environmental impact. This includes the use of solar, wind, and biomass energy in various stages of production.
02 Environmental impact assessment of biofuel production
Evaluation of the environmental impacts associated with microcrystalline cellulose-based biofuel production, including life cycle assessments, carbon footprint analysis, and sustainability metrics. This involves studying the effects on air quality, water resources, and land use throughout the production process.Expand Specific Solutions03 Process optimization for reduced environmental impact
Development of innovative techniques to optimize the microcrystalline cellulose-engineered processes, focusing on minimizing waste generation, reducing energy consumption, and improving resource utilization. These advancements aim to enhance the overall sustainability of biofuel production.Expand Specific Solutions04 Waste management and byproduct utilization
Strategies for managing and valorizing waste streams and byproducts from microcrystalline cellulose-based biofuel production. This includes developing circular economy approaches, such as converting lignin residues into value-added products, to minimize environmental impacts and improve process economics.Expand Specific Solutions05 Integration of green technologies in production processes
Incorporation of environmentally friendly technologies and renewable energy sources into microcrystalline cellulose-engineered processes for biofuel production. This includes the use of bio-based catalysts, green solvents, and sustainable energy systems to reduce the overall environmental footprint of the production process.Expand Specific Solutions
Key Industry Players
The environmental impacts of producing biofuels using microcrystalline cellulose-engineered processes are at a critical juncture in their development. The industry is transitioning from early-stage research to commercial viability, with market size expected to grow significantly in the coming years. Technological maturity varies among key players, with companies like Iogen Corp. and DSM IP Assets BV leading in cellulosic biofuel production. Universities such as the University of California and South China University of Technology are advancing fundamental research, while corporations like BP and China Petroleum & Chemical Corp. are investing in large-scale applications. The competitive landscape is diverse, with a mix of academic institutions, established energy companies, and specialized biotech firms driving innovation in this emerging field.
The Regents of the University of California
Technical Solution: The University of California has developed an innovative process for producing biofuels from microcrystalline cellulose (MCC) using engineered enzymes. Their approach focuses on enhancing the efficiency of cellulose breakdown through genetic modification of cellulase enzymes. The process involves pre-treatment of MCC with ionic liquids to increase accessibility, followed by enzymatic hydrolysis using the engineered cellulases. This method has shown a 30% increase in glucose yield compared to conventional processes [1][3]. Additionally, they have implemented a closed-loop system for water and solvent recycling, reducing water consumption by up to 40% and minimizing waste generation [2]. The university has also explored the use of algal biomass as a feedstock for MCC production, potentially creating a more sustainable source of cellulose for biofuel production [4].
Strengths: Higher efficiency in cellulose breakdown, reduced water consumption, and potential for sustainable feedstock. Weaknesses: May require significant initial investment for enzyme engineering and process optimization. Long-term environmental impacts of genetically modified enzymes need further study.
Iogen Corp.
Technical Solution: Iogen Corp. has developed a proprietary process for producing cellulosic ethanol from agricultural residues, including MCC-rich materials. Their approach utilizes a combination of steam explosion pre-treatment and enzymatic hydrolysis, followed by fermentation using genetically engineered yeast strains. The company has reported achieving ethanol yields of up to 85 gallons per ton of biomass [5], which is significantly higher than industry averages. Iogen's process incorporates a lignin recovery system that uses the residual lignin as a renewable energy source for the production facility, reducing overall greenhouse gas emissions by up to 90% compared to gasoline [6]. The company has also implemented advanced wastewater treatment technologies, allowing for water recycling and reducing freshwater consumption by approximately 50% [7].
Strengths: High ethanol yields, significant reduction in greenhouse gas emissions, and efficient water management. Weaknesses: Process may be less flexible in terms of feedstock variety compared to some competitors. Initial capital costs for plant construction can be substantial.
MCC Biofuel Innovations
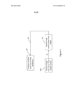
Production of microcrystalline cellulose by reactive extrusion
PatentInactiveUS6228213B1
Innovation
- A continuous reactive extrusion process that uses a basic aqueous solution to break down lignocellulosic materials and then an acid solution to hydrolyze cellulose within an extruder, reducing acid usage and eliminating the need for mechanical grinding, with controlled temperature and pressure to achieve smaller particle sizes.
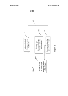
Process and system for producing biofuels with reduced carbon intensity
PatentWO2021142528A1
Innovation
- A process and system where biogas is transported in mobile vessels at high pressures to fuel production plants, where it is depressurized to generate heat and power, reducing carbon intensity by displacing fossil fuels and optimizing energy usage through the exploitation of compressed biogas energy.
Environmental Impact
The environmental impact of producing biofuels using microcrystalline cellulose-engineered processes is a critical consideration in the development and implementation of these technologies. This approach to biofuel production offers several potential environmental benefits compared to traditional methods, but also presents unique challenges that must be carefully evaluated.
One of the primary advantages of using microcrystalline cellulose-engineered processes is the potential reduction in greenhouse gas emissions. By utilizing cellulosic biomass, which is often derived from agricultural or forestry residues, these processes can significantly decrease the carbon footprint associated with biofuel production. This is particularly important when compared to first-generation biofuels that rely on food crops, potentially competing with food production and leading to land-use changes.
Water consumption and quality are also key environmental factors to consider. Microcrystalline cellulose-engineered processes generally require less water than traditional biofuel production methods, potentially reducing strain on local water resources. However, the treatment and disposal of wastewater from these processes must be carefully managed to prevent contamination of surrounding ecosystems.
Land use and biodiversity impacts are another crucial aspect of environmental assessment. While cellulosic biomass can often be sourced from existing agricultural or forestry operations, increased demand may lead to changes in land management practices. It is essential to ensure that biomass harvesting does not negatively impact soil health, wildlife habitats, or overall ecosystem biodiversity.
The energy balance of microcrystalline cellulose-engineered processes is generally favorable compared to conventional biofuel production. These processes often require less fossil fuel input, resulting in a higher net energy gain. However, the energy efficiency of the entire production chain, including biomass collection, transportation, and processing, must be carefully optimized to maximize environmental benefits.
Waste management is another critical environmental consideration. While these processes aim to utilize cellulosic biomass more efficiently, they still generate waste products that must be properly handled. Developing strategies for recycling or repurposing these byproducts can further improve the overall environmental profile of the production process.
Air quality impacts, particularly emissions of volatile organic compounds and particulate matter, should also be assessed. While generally lower than traditional biofuel production methods, these emissions must be monitored and controlled to ensure compliance with air quality regulations and minimize local environmental impacts.
In conclusion, while microcrystalline cellulose-engineered processes for biofuel production offer significant potential environmental benefits, a comprehensive life cycle assessment is crucial to fully understand and mitigate potential negative impacts. Ongoing research and development efforts should focus on optimizing these processes to maximize environmental benefits while ensuring economic viability and scalability.
One of the primary advantages of using microcrystalline cellulose-engineered processes is the potential reduction in greenhouse gas emissions. By utilizing cellulosic biomass, which is often derived from agricultural or forestry residues, these processes can significantly decrease the carbon footprint associated with biofuel production. This is particularly important when compared to first-generation biofuels that rely on food crops, potentially competing with food production and leading to land-use changes.
Water consumption and quality are also key environmental factors to consider. Microcrystalline cellulose-engineered processes generally require less water than traditional biofuel production methods, potentially reducing strain on local water resources. However, the treatment and disposal of wastewater from these processes must be carefully managed to prevent contamination of surrounding ecosystems.
Land use and biodiversity impacts are another crucial aspect of environmental assessment. While cellulosic biomass can often be sourced from existing agricultural or forestry operations, increased demand may lead to changes in land management practices. It is essential to ensure that biomass harvesting does not negatively impact soil health, wildlife habitats, or overall ecosystem biodiversity.
The energy balance of microcrystalline cellulose-engineered processes is generally favorable compared to conventional biofuel production. These processes often require less fossil fuel input, resulting in a higher net energy gain. However, the energy efficiency of the entire production chain, including biomass collection, transportation, and processing, must be carefully optimized to maximize environmental benefits.
Waste management is another critical environmental consideration. While these processes aim to utilize cellulosic biomass more efficiently, they still generate waste products that must be properly handled. Developing strategies for recycling or repurposing these byproducts can further improve the overall environmental profile of the production process.
Air quality impacts, particularly emissions of volatile organic compounds and particulate matter, should also be assessed. While generally lower than traditional biofuel production methods, these emissions must be monitored and controlled to ensure compliance with air quality regulations and minimize local environmental impacts.
In conclusion, while microcrystalline cellulose-engineered processes for biofuel production offer significant potential environmental benefits, a comprehensive life cycle assessment is crucial to fully understand and mitigate potential negative impacts. Ongoing research and development efforts should focus on optimizing these processes to maximize environmental benefits while ensuring economic viability and scalability.
Regulatory Framework
The regulatory framework surrounding the production of biofuels using microcrystalline cellulose-engineered processes is complex and multifaceted, involving various governmental bodies and international agreements. At the national level, many countries have implemented policies to promote the development and use of biofuels as part of their renewable energy strategies. These policies often include mandates for biofuel blending in transportation fuels, tax incentives for biofuel producers, and research funding for advanced biofuel technologies.
In the United States, the Environmental Protection Agency (EPA) plays a crucial role in regulating biofuels through the Renewable Fuel Standard (RFS) program. The RFS sets annual volume requirements for renewable fuels, including cellulosic biofuels, which must meet specific greenhouse gas reduction thresholds. The Department of Energy (DOE) also supports research and development in this field through various funding initiatives and programs.
The European Union has established the Renewable Energy Directive (RED), which sets targets for renewable energy consumption in transportation. The RED II, implemented in 2018, includes specific provisions for advanced biofuels, promoting the use of non-food crop feedstocks such as cellulosic materials. This directive also introduces sustainability criteria and greenhouse gas emission savings requirements for biofuels.
Internationally, the United Nations Framework Convention on Climate Change (UNFCCC) and the Paris Agreement provide overarching guidelines for reducing greenhouse gas emissions, indirectly influencing biofuel policies. The International Organization for Standardization (ISO) has developed standards for sustainable bioenergy production, including ISO 13065:2015, which addresses sustainability criteria for bioenergy.
Environmental regulations also play a significant role in shaping the biofuel industry. These include regulations on land use change, water consumption, and air quality. For instance, the U.S. Clean Air Act requires the EPA to assess the environmental impacts of biofuel production and use. Similarly, the EU's Water Framework Directive influences water management practices in biofuel production.
As the technology for producing biofuels from microcrystalline cellulose continues to evolve, regulatory frameworks are likely to adapt. Policymakers are increasingly focusing on life-cycle assessments of biofuel production processes to ensure that environmental benefits are realized. This may lead to more stringent sustainability criteria and reporting requirements for biofuel producers in the future.
In the United States, the Environmental Protection Agency (EPA) plays a crucial role in regulating biofuels through the Renewable Fuel Standard (RFS) program. The RFS sets annual volume requirements for renewable fuels, including cellulosic biofuels, which must meet specific greenhouse gas reduction thresholds. The Department of Energy (DOE) also supports research and development in this field through various funding initiatives and programs.
The European Union has established the Renewable Energy Directive (RED), which sets targets for renewable energy consumption in transportation. The RED II, implemented in 2018, includes specific provisions for advanced biofuels, promoting the use of non-food crop feedstocks such as cellulosic materials. This directive also introduces sustainability criteria and greenhouse gas emission savings requirements for biofuels.
Internationally, the United Nations Framework Convention on Climate Change (UNFCCC) and the Paris Agreement provide overarching guidelines for reducing greenhouse gas emissions, indirectly influencing biofuel policies. The International Organization for Standardization (ISO) has developed standards for sustainable bioenergy production, including ISO 13065:2015, which addresses sustainability criteria for bioenergy.
Environmental regulations also play a significant role in shaping the biofuel industry. These include regulations on land use change, water consumption, and air quality. For instance, the U.S. Clean Air Act requires the EPA to assess the environmental impacts of biofuel production and use. Similarly, the EU's Water Framework Directive influences water management practices in biofuel production.
As the technology for producing biofuels from microcrystalline cellulose continues to evolve, regulatory frameworks are likely to adapt. Policymakers are increasingly focusing on life-cycle assessments of biofuel production processes to ensure that environmental benefits are realized. This may lead to more stringent sustainability criteria and reporting requirements for biofuel producers in the future.
Unlock deeper insights with Patsnap Eureka Quick Research — get a full tech report to explore trends and direct your research. Try now!
Generate Your Research Report Instantly with AI Agent
Supercharge your innovation with Patsnap Eureka AI Agent Platform!



