How to Run Techno-Economic Analysis (TEA) for a DAC Module Using a Given Sorbent
AUG 21, 20259 MIN READ
Generate Your Research Report Instantly with AI Agent
PatSnap Eureka helps you evaluate technical feasibility & market potential.
DAC TEA Background and Objectives
Direct Air Capture (DAC) technology has emerged as a promising solution to combat climate change by removing carbon dioxide directly from the atmosphere. As global efforts to reduce greenhouse gas emissions intensify, DAC has gained significant attention from researchers, policymakers, and industry stakeholders. The primary objective of this techno-economic analysis (TEA) is to evaluate the economic feasibility and technical performance of a DAC module using a specific sorbent material.
The development of DAC technology has progressed rapidly over the past decade, with various approaches and materials being explored. Sorbent-based DAC systems have shown particular promise due to their potential for high CO2 capture efficiency and relatively low energy requirements. However, the economic viability of these systems remains a critical challenge that must be addressed to enable widespread deployment.
This TEA aims to provide a comprehensive assessment of the costs, energy consumption, and overall performance of a DAC module utilizing a given sorbent. By conducting this analysis, we seek to identify key factors influencing the economic feasibility of the system and potential areas for optimization. The results of this study will contribute to the broader understanding of DAC technology and inform future research and development efforts in this field.
The specific objectives of this TEA include:
1. Evaluating the capital and operational costs associated with the DAC module, including equipment, materials, energy consumption, and maintenance requirements.
2. Assessing the CO2 capture capacity and efficiency of the system under various operating conditions, considering factors such as temperature, pressure, and sorbent regeneration cycles.
3. Analyzing the energy requirements of the DAC module, including both thermal and electrical energy needs for sorbent regeneration and system operation.
4. Identifying potential bottlenecks and areas for improvement in the system design and operation to enhance overall performance and reduce costs.
5. Comparing the economic and technical performance of the DAC module with other carbon capture technologies and alternative CO2 removal approaches.
By addressing these objectives, this TEA will provide valuable insights into the potential of sorbent-based DAC technology and its role in future climate change mitigation strategies. The analysis will also serve as a foundation for further research and development efforts aimed at improving the efficiency and cost-effectiveness of DAC systems.
The development of DAC technology has progressed rapidly over the past decade, with various approaches and materials being explored. Sorbent-based DAC systems have shown particular promise due to their potential for high CO2 capture efficiency and relatively low energy requirements. However, the economic viability of these systems remains a critical challenge that must be addressed to enable widespread deployment.
This TEA aims to provide a comprehensive assessment of the costs, energy consumption, and overall performance of a DAC module utilizing a given sorbent. By conducting this analysis, we seek to identify key factors influencing the economic feasibility of the system and potential areas for optimization. The results of this study will contribute to the broader understanding of DAC technology and inform future research and development efforts in this field.
The specific objectives of this TEA include:
1. Evaluating the capital and operational costs associated with the DAC module, including equipment, materials, energy consumption, and maintenance requirements.
2. Assessing the CO2 capture capacity and efficiency of the system under various operating conditions, considering factors such as temperature, pressure, and sorbent regeneration cycles.
3. Analyzing the energy requirements of the DAC module, including both thermal and electrical energy needs for sorbent regeneration and system operation.
4. Identifying potential bottlenecks and areas for improvement in the system design and operation to enhance overall performance and reduce costs.
5. Comparing the economic and technical performance of the DAC module with other carbon capture technologies and alternative CO2 removal approaches.
By addressing these objectives, this TEA will provide valuable insights into the potential of sorbent-based DAC technology and its role in future climate change mitigation strategies. The analysis will also serve as a foundation for further research and development efforts aimed at improving the efficiency and cost-effectiveness of DAC systems.
Market Analysis for DAC Technologies
The market for Direct Air Capture (DAC) technologies is experiencing significant growth as global efforts to combat climate change intensify. DAC systems, which extract carbon dioxide directly from the atmosphere, are increasingly seen as a crucial tool in achieving net-zero emissions targets. The market is driven by a combination of factors, including stringent environmental regulations, corporate sustainability commitments, and the growing recognition of the need for negative emissions technologies.
Currently, the DAC market is in its early stages but is poised for rapid expansion. Several key players have emerged, including companies like Climeworks, Carbon Engineering, and Global Thermostat, each developing proprietary sorbent-based DAC technologies. These companies are attracting substantial investments from both private and public sectors, indicating strong market confidence in the potential of DAC technologies.
The market demand for DAC is closely tied to carbon pricing mechanisms and emissions trading schemes. As these systems mature and carbon prices increase, the economic viability of DAC technologies is expected to improve significantly. Additionally, the voluntary carbon offset market is creating new opportunities for DAC, with companies and individuals seeking to neutralize their carbon footprints through the purchase of negative emissions credits.
Geographically, North America and Europe are leading the DAC market, with several pilot and commercial-scale projects already operational. However, there is growing interest in Asia-Pacific and other regions as governments worldwide recognize the importance of carbon removal technologies in their climate strategies.
The potential applications of DAC extend beyond pure carbon removal. Captured CO2 can be utilized in various industries, including enhanced oil recovery, synthetic fuel production, and the food and beverage sector. This versatility is expected to drive further market growth and diversification.
Despite the promising outlook, the DAC market faces several challenges. The high energy requirements and operational costs of current DAC systems remain significant barriers to widespread adoption. Technological advancements in sorbent efficiency and process optimization are critical for reducing costs and improving the economic feasibility of DAC at scale.
As the market evolves, partnerships between technology developers, energy companies, and governments are likely to play a crucial role in accelerating DAC deployment. Policy support, in the form of carbon pricing, tax incentives, and research funding, will be instrumental in shaping the future of the DAC market and its contribution to global climate mitigation efforts.
Currently, the DAC market is in its early stages but is poised for rapid expansion. Several key players have emerged, including companies like Climeworks, Carbon Engineering, and Global Thermostat, each developing proprietary sorbent-based DAC technologies. These companies are attracting substantial investments from both private and public sectors, indicating strong market confidence in the potential of DAC technologies.
The market demand for DAC is closely tied to carbon pricing mechanisms and emissions trading schemes. As these systems mature and carbon prices increase, the economic viability of DAC technologies is expected to improve significantly. Additionally, the voluntary carbon offset market is creating new opportunities for DAC, with companies and individuals seeking to neutralize their carbon footprints through the purchase of negative emissions credits.
Geographically, North America and Europe are leading the DAC market, with several pilot and commercial-scale projects already operational. However, there is growing interest in Asia-Pacific and other regions as governments worldwide recognize the importance of carbon removal technologies in their climate strategies.
The potential applications of DAC extend beyond pure carbon removal. Captured CO2 can be utilized in various industries, including enhanced oil recovery, synthetic fuel production, and the food and beverage sector. This versatility is expected to drive further market growth and diversification.
Despite the promising outlook, the DAC market faces several challenges. The high energy requirements and operational costs of current DAC systems remain significant barriers to widespread adoption. Technological advancements in sorbent efficiency and process optimization are critical for reducing costs and improving the economic feasibility of DAC at scale.
As the market evolves, partnerships between technology developers, energy companies, and governments are likely to play a crucial role in accelerating DAC deployment. Policy support, in the form of carbon pricing, tax incentives, and research funding, will be instrumental in shaping the future of the DAC market and its contribution to global climate mitigation efforts.
Current DAC Sorbent Technologies and Challenges
Direct Air Capture (DAC) technology has emerged as a promising solution for carbon dioxide removal from the atmosphere. Current DAC sorbent technologies primarily focus on two main categories: liquid solvents and solid sorbents. Liquid solvent-based systems, such as those using aqueous alkaline solutions, have been widely studied and implemented in pilot projects. These systems typically employ a hydroxide solution to capture CO2, followed by a calcium loop for regeneration. Solid sorbents, on the other hand, include materials like amine-functionalized resins, metal-organic frameworks (MOFs), and zeolites.
Despite the progress made in DAC technologies, several challenges persist. One of the primary concerns is the high energy requirement for sorbent regeneration. Both liquid and solid sorbent systems require significant thermal energy input to release the captured CO2, which impacts the overall efficiency and cost-effectiveness of the process. Additionally, the durability and longevity of sorbents under repeated capture-regeneration cycles remain a critical challenge, as degradation can lead to reduced performance and increased operational costs.
Another significant challenge is the low concentration of CO2 in ambient air, typically around 400 ppm. This necessitates the processing of large volumes of air to capture meaningful amounts of CO2, resulting in substantial energy consumption for air movement and contacting. The design of efficient air-sorbent contacting systems that minimize pressure drop while maximizing CO2 capture is an ongoing area of research and development.
Scalability and cost reduction are also major hurdles in the widespread adoption of DAC technologies. Current estimates place the cost of CO2 capture using DAC between $100 and $1000 per ton, which is significantly higher than many other carbon mitigation strategies. Reducing capital and operational expenses through improved sorbent performance, process optimization, and economies of scale is crucial for the commercial viability of DAC.
Environmental considerations pose additional challenges. Water consumption in liquid solvent-based systems can be substantial, particularly in arid regions where DAC facilities might be located to take advantage of renewable energy sources. For solid sorbents, the environmental impact of production and disposal must be carefully evaluated to ensure a net positive effect on carbon reduction.
Lastly, the integration of DAC systems with CO2 utilization or storage infrastructure presents logistical and technical challenges. Developing efficient methods for CO2 compression, transportation, and either utilization in value-added products or long-term geological storage is essential for the overall effectiveness of DAC as a carbon negative technology.
Despite the progress made in DAC technologies, several challenges persist. One of the primary concerns is the high energy requirement for sorbent regeneration. Both liquid and solid sorbent systems require significant thermal energy input to release the captured CO2, which impacts the overall efficiency and cost-effectiveness of the process. Additionally, the durability and longevity of sorbents under repeated capture-regeneration cycles remain a critical challenge, as degradation can lead to reduced performance and increased operational costs.
Another significant challenge is the low concentration of CO2 in ambient air, typically around 400 ppm. This necessitates the processing of large volumes of air to capture meaningful amounts of CO2, resulting in substantial energy consumption for air movement and contacting. The design of efficient air-sorbent contacting systems that minimize pressure drop while maximizing CO2 capture is an ongoing area of research and development.
Scalability and cost reduction are also major hurdles in the widespread adoption of DAC technologies. Current estimates place the cost of CO2 capture using DAC between $100 and $1000 per ton, which is significantly higher than many other carbon mitigation strategies. Reducing capital and operational expenses through improved sorbent performance, process optimization, and economies of scale is crucial for the commercial viability of DAC.
Environmental considerations pose additional challenges. Water consumption in liquid solvent-based systems can be substantial, particularly in arid regions where DAC facilities might be located to take advantage of renewable energy sources. For solid sorbents, the environmental impact of production and disposal must be carefully evaluated to ensure a net positive effect on carbon reduction.
Lastly, the integration of DAC systems with CO2 utilization or storage infrastructure presents logistical and technical challenges. Developing efficient methods for CO2 compression, transportation, and either utilization in value-added products or long-term geological storage is essential for the overall effectiveness of DAC as a carbon negative technology.
TEA Methodology for DAC Modules
01 Economic analysis of DAC modules
Techno-economic analysis of Direct Air Capture (DAC) modules involves evaluating the financial viability and cost-effectiveness of implementing DAC technology. This includes assessing capital and operational costs, potential revenue streams, and overall economic feasibility of DAC projects. The analysis considers factors such as energy consumption, material costs, and potential carbon credit markets to determine the economic sustainability of DAC implementations.- Economic analysis of DAC modules: Techno-economic analysis of Direct Air Capture (DAC) modules involves evaluating the financial viability and cost-effectiveness of implementing these systems. This includes assessing capital and operational expenses, potential revenue streams, and overall economic feasibility of DAC technology in various applications and scales.
- Technical performance evaluation of DAC systems: This aspect focuses on analyzing the technical performance of DAC modules, including their efficiency in capturing CO2, energy consumption, and overall system effectiveness. It involves assessing various DAC technologies, their scalability, and potential improvements in design and operation to enhance performance metrics.
- Integration of DAC modules with existing infrastructure: Examining the integration of DAC modules with existing energy systems, industrial processes, or carbon utilization pathways. This includes analyzing the technical challenges and economic implications of incorporating DAC technology into various sectors, such as power generation, manufacturing, or transportation.
- Environmental impact assessment of DAC technology: Evaluating the environmental implications of implementing DAC modules, including their potential to mitigate climate change, life cycle analysis, and overall sustainability. This involves assessing the net carbon reduction achieved by DAC systems and their broader environmental effects.
- Policy and regulatory considerations for DAC implementation: Analyzing the policy landscape and regulatory frameworks that impact the development and deployment of DAC technology. This includes examining incentives, carbon pricing mechanisms, and other policy instruments that influence the economic viability and market adoption of DAC modules.
02 Technical performance evaluation of DAC modules
This aspect focuses on assessing the technical efficiency and performance of DAC modules. It includes analyzing capture rates, energy efficiency, scalability, and overall system performance. The evaluation may involve comparing different DAC technologies, examining the impact of environmental conditions on performance, and identifying areas for technical improvement to enhance the effectiveness of carbon capture from the atmosphere.Expand Specific Solutions03 Integration of DAC modules with existing systems
This point addresses the challenges and opportunities in integrating DAC modules with existing industrial or energy systems. It explores how DAC technology can be incorporated into current infrastructure, potential synergies with other processes, and the impact on overall system efficiency. The analysis considers factors such as space requirements, energy integration, and process optimization to maximize the benefits of DAC implementation.Expand Specific Solutions04 Environmental impact assessment of DAC modules
This category focuses on evaluating the environmental implications of deploying DAC modules. It includes analyzing the life cycle impacts, potential emissions reductions, and overall environmental benefits of DAC technology. The assessment considers factors such as land use, water consumption, and potential ecological effects to provide a comprehensive understanding of the environmental sustainability of DAC implementations.Expand Specific Solutions05 Policy and regulatory considerations for DAC implementation
This aspect examines the policy landscape and regulatory frameworks surrounding the implementation of DAC technology. It includes analyzing existing incentives, potential policy barriers, and regulatory requirements for DAC projects. The analysis considers how different policy scenarios may impact the economic viability and widespread adoption of DAC technology, as well as potential strategies for creating supportive policy environments.Expand Specific Solutions
Key Players in DAC Industry
The techno-economic analysis (TEA) for Direct Air Capture (DAC) modules using specific sorbents is an emerging field with growing market potential. The industry is in its early stages, characterized by rapid technological advancements and increasing investments. The global DAC market size is projected to expand significantly in the coming years, driven by the urgent need for carbon dioxide removal solutions. Companies like Climeworks AG and Carboncapture, Inc. are at the forefront, developing and deploying DAC technologies. However, the technology's maturity varies among players, with some still in research and development phases while others have operational plants. The involvement of diverse entities, from startups to established corporations like Shell and Halliburton, indicates a competitive and dynamic landscape poised for growth and innovation.
Shell Internationale Research Maatschappij BV
Technical Solution: Shell has been actively researching DAC technologies, including sorbent-based systems. Their TEA approach for DAC modules likely incorporates their extensive experience in process engineering and energy systems. Shell's research focuses on developing cost-effective DAC solutions that can be integrated with their existing operations or used for carbon-neutral fuel production. Their TEA methodology likely considers factors such as sorbent performance, energy integration, and potential for heat recovery to optimize the overall system efficiency. While specific details of their sorbent-based DAC technology are not publicly disclosed, their approach likely aims to leverage their expertise in large-scale industrial processes[5][6].
Strengths: Extensive experience in process engineering and energy systems. Potential for integration with existing industrial infrastructure. Weaknesses: Limited public information on specific DAC technology details or performance metrics.
Carboncapture, Inc.
Technical Solution: Carboncapture, Inc. has developed a modular direct air capture (DAC) system using a proprietary sorbent material. Their approach involves a two-step process: adsorption of CO2 from ambient air using their engineered sorbent, followed by a regeneration step where the captured CO2 is released for storage or utilization. The company's DAC modules are designed for scalability and can be deployed in various environments. Their techno-economic analysis (TEA) methodology incorporates factors such as sorbent efficiency, energy consumption, and operational costs to optimize the overall system performance[1][3].
Strengths: Modular design allows for easy scaling and deployment. Proprietary sorbent material may offer improved efficiency. Weaknesses: Specific performance metrics and cost-effectiveness compared to other DAC technologies are not publicly available.
Critical Parameters in DAC Sorbent Analysis
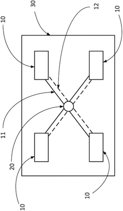
Heat pump-driven regenerative direct air capture system
PatentWO2025051258A1
Innovation
- The heat-recovery direct air carbon capture system is used to optimize thermal cycles through the deep coupling and matching of the cooling capacity and heat at the hot and cold ends of the heat pump.
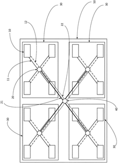
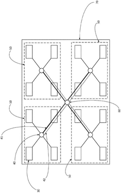
Method for operating a direct air capture process including a fractal network layout
PatentPendingCN120225263A
Innovation
- The piping network of the DAC module array is optimized using fractal network layout, reducing the overall length of pipelines and cables through fractal layout, thereby reducing materials and costs.
Environmental Impact Assessment of DAC
The environmental impact assessment of Direct Air Capture (DAC) technology is a crucial component in evaluating its overall sustainability and feasibility. DAC systems, designed to remove carbon dioxide directly from the atmosphere, have the potential to play a significant role in mitigating climate change. However, their implementation also carries environmental implications that must be carefully considered.
One of the primary environmental concerns associated with DAC is its energy consumption. Most current DAC technologies require substantial amounts of energy to operate, which can lead to increased greenhouse gas emissions if the energy source is not renewable. This creates a paradoxical situation where a technology designed to reduce atmospheric CO2 could potentially contribute to its increase if not powered by clean energy sources.
Water usage is another critical factor in the environmental assessment of DAC. Some DAC systems, particularly those using liquid solvents, consume significant quantities of water. In water-stressed regions, this could exacerbate existing water scarcity issues, potentially leading to conflicts with other water users and impacting local ecosystems.
Land use and habitat disruption are additional considerations. Large-scale deployment of DAC facilities would require substantial land area, which could lead to habitat loss or fragmentation if not carefully planned. The visual impact of DAC installations on landscapes and potential noise pollution from operating machinery are also factors that need to be evaluated, especially in sensitive or protected areas.
The production and disposal of materials used in DAC systems, such as sorbents and filters, present another environmental challenge. The lifecycle of these materials, from extraction of raw resources to manufacturing and eventual disposal or recycling, must be assessed for its environmental footprint. This includes considering the potential for chemical pollution, resource depletion, and waste generation.
Furthermore, the environmental impact of transporting and storing the captured CO2 must be taken into account. This involves assessing the risks of CO2 leakage during transportation and storage, which could negate the benefits of capture and potentially pose risks to local ecosystems and human health.
On the positive side, successful implementation of DAC technology could lead to significant environmental benefits by reducing atmospheric CO2 levels. This could help mitigate global warming and its associated impacts on ecosystems, biodiversity, and human societies. Additionally, the captured CO2 could be used in various applications, potentially reducing the need for fossil fuel-derived CO2 in certain industries.
In conclusion, a comprehensive environmental impact assessment of DAC must balance its potential for climate change mitigation against its local and global environmental impacts. This assessment should inform the development and deployment strategies for DAC technology, ensuring that its implementation contributes positively to overall environmental sustainability.
One of the primary environmental concerns associated with DAC is its energy consumption. Most current DAC technologies require substantial amounts of energy to operate, which can lead to increased greenhouse gas emissions if the energy source is not renewable. This creates a paradoxical situation where a technology designed to reduce atmospheric CO2 could potentially contribute to its increase if not powered by clean energy sources.
Water usage is another critical factor in the environmental assessment of DAC. Some DAC systems, particularly those using liquid solvents, consume significant quantities of water. In water-stressed regions, this could exacerbate existing water scarcity issues, potentially leading to conflicts with other water users and impacting local ecosystems.
Land use and habitat disruption are additional considerations. Large-scale deployment of DAC facilities would require substantial land area, which could lead to habitat loss or fragmentation if not carefully planned. The visual impact of DAC installations on landscapes and potential noise pollution from operating machinery are also factors that need to be evaluated, especially in sensitive or protected areas.
The production and disposal of materials used in DAC systems, such as sorbents and filters, present another environmental challenge. The lifecycle of these materials, from extraction of raw resources to manufacturing and eventual disposal or recycling, must be assessed for its environmental footprint. This includes considering the potential for chemical pollution, resource depletion, and waste generation.
Furthermore, the environmental impact of transporting and storing the captured CO2 must be taken into account. This involves assessing the risks of CO2 leakage during transportation and storage, which could negate the benefits of capture and potentially pose risks to local ecosystems and human health.
On the positive side, successful implementation of DAC technology could lead to significant environmental benefits by reducing atmospheric CO2 levels. This could help mitigate global warming and its associated impacts on ecosystems, biodiversity, and human societies. Additionally, the captured CO2 could be used in various applications, potentially reducing the need for fossil fuel-derived CO2 in certain industries.
In conclusion, a comprehensive environmental impact assessment of DAC must balance its potential for climate change mitigation against its local and global environmental impacts. This assessment should inform the development and deployment strategies for DAC technology, ensuring that its implementation contributes positively to overall environmental sustainability.
Policy Landscape for Carbon Removal Technologies
The policy landscape for carbon removal technologies, particularly Direct Air Capture (DAC), is rapidly evolving as governments and international organizations recognize the urgent need to address climate change. In recent years, there has been a significant shift towards supporting and incentivizing carbon removal technologies through various policy mechanisms.
At the forefront of these efforts is the United States, which has implemented several key policies to promote DAC and other carbon removal technologies. The 45Q tax credit, initially established in 2008 and expanded in 2018, provides financial incentives for carbon capture and storage projects. In 2022, the Inflation Reduction Act further enhanced these incentives, increasing the tax credit for DAC to $180 per ton of CO2 permanently sequestered.
The European Union has also been proactive in developing policies to support carbon removal technologies. The EU's Carbon Removal Certification Framework, proposed in 2022, aims to establish a standardized approach for quantifying, monitoring, and verifying carbon removal activities. This framework is expected to play a crucial role in integrating carbon removal into the EU's broader climate policy landscape.
On a global scale, the Paris Agreement has provided a framework for countries to include carbon removal in their Nationally Determined Contributions (NDCs). This has led to increased interest in DAC and other negative emissions technologies as countries seek to meet their climate commitments.
Several countries have also introduced specific policies targeting carbon removal. For instance, the UK's greenhouse gas removal competition provides funding for innovative carbon removal projects, including DAC. Similarly, Canada has implemented a federal carbon pricing system that includes provisions for carbon removal credits.
The policy landscape is not limited to national governments. Many states and regions have implemented their own policies to support carbon removal technologies. California's Low Carbon Fuel Standard, for example, allows DAC projects to generate credits that can be sold to fuel producers.
As the urgency of climate action increases, it is likely that the policy landscape for carbon removal technologies will continue to evolve. Future developments may include more comprehensive regulatory frameworks, increased public funding for research and development, and the integration of carbon removal into emissions trading schemes and carbon markets.
At the forefront of these efforts is the United States, which has implemented several key policies to promote DAC and other carbon removal technologies. The 45Q tax credit, initially established in 2008 and expanded in 2018, provides financial incentives for carbon capture and storage projects. In 2022, the Inflation Reduction Act further enhanced these incentives, increasing the tax credit for DAC to $180 per ton of CO2 permanently sequestered.
The European Union has also been proactive in developing policies to support carbon removal technologies. The EU's Carbon Removal Certification Framework, proposed in 2022, aims to establish a standardized approach for quantifying, monitoring, and verifying carbon removal activities. This framework is expected to play a crucial role in integrating carbon removal into the EU's broader climate policy landscape.
On a global scale, the Paris Agreement has provided a framework for countries to include carbon removal in their Nationally Determined Contributions (NDCs). This has led to increased interest in DAC and other negative emissions technologies as countries seek to meet their climate commitments.
Several countries have also introduced specific policies targeting carbon removal. For instance, the UK's greenhouse gas removal competition provides funding for innovative carbon removal projects, including DAC. Similarly, Canada has implemented a federal carbon pricing system that includes provisions for carbon removal credits.
The policy landscape is not limited to national governments. Many states and regions have implemented their own policies to support carbon removal technologies. California's Low Carbon Fuel Standard, for example, allows DAC projects to generate credits that can be sold to fuel producers.
As the urgency of climate action increases, it is likely that the policy landscape for carbon removal technologies will continue to evolve. Future developments may include more comprehensive regulatory frameworks, increased public funding for research and development, and the integration of carbon removal into emissions trading schemes and carbon markets.
Unlock deeper insights with PatSnap Eureka Quick Research — get a full tech report to explore trends and direct your research. Try now!
Generate Your Research Report Instantly with AI Agent
Supercharge your innovation with PatSnap Eureka AI Agent Platform!






