Measure mmWave Effectiveness in Remote Monitoring Systems
SEP 22, 20259 MIN READ
Generate Your Research Report Instantly with AI Agent
Patsnap Eureka helps you evaluate technical feasibility & market potential.
mmWave Technology Background and Objectives
Millimeter wave (mmWave) technology operates in the frequency range of 30-300 GHz, with wavelengths between 1-10 millimeters. This technology has evolved significantly since its initial development in the mid-20th century for military and aerospace applications. The miniaturization of components and reduction in manufacturing costs over the past decade have enabled mmWave technology to transition from specialized applications to commercial use, particularly in telecommunications, automotive radar, and increasingly in remote monitoring systems.
The evolution of mmWave technology has been accelerated by the development of complementary metal-oxide-semiconductor (CMOS) processes, allowing for the integration of mmWave circuits into smaller, more energy-efficient packages. This technological advancement has been crucial for expanding the application scope of mmWave technology beyond traditional domains into areas such as healthcare monitoring, industrial automation, and security surveillance.
In remote monitoring systems, mmWave technology offers several distinct advantages over conventional sensing technologies. Its high-frequency operation enables fine spatial resolution and the ability to detect minute movements, making it particularly valuable for applications requiring precise monitoring without physical contact. Additionally, mmWave signals can penetrate non-metallic materials, allowing for monitoring through obstacles such as walls, clothing, or packaging materials.
The primary objective of implementing mmWave technology in remote monitoring systems is to achieve high-precision, non-contact sensing capabilities that can operate reliably in various environmental conditions. This includes the ability to detect vital signs such as heart rate and respiration in healthcare settings, monitor occupancy and movement patterns in smart buildings, and enhance security surveillance through improved detection accuracy.
Current research and development efforts are focused on enhancing the signal processing algorithms to improve the accuracy of mmWave sensors in complex environments, reducing power consumption to enable battery-powered operation, and developing more sophisticated antenna arrays for improved directional sensitivity. These advancements aim to address the growing demand for remote monitoring solutions that can provide detailed, real-time data while maintaining privacy and reducing the need for direct human intervention.
The integration of mmWave technology with artificial intelligence and machine learning algorithms represents the next frontier in remote monitoring systems. This combination promises to enable more intelligent interpretation of sensor data, allowing for predictive analytics and automated decision-making based on detected patterns and anomalies. As these technologies continue to mature, we anticipate a significant expansion in the capabilities and applications of mmWave-based remote monitoring systems across various industries.
The evolution of mmWave technology has been accelerated by the development of complementary metal-oxide-semiconductor (CMOS) processes, allowing for the integration of mmWave circuits into smaller, more energy-efficient packages. This technological advancement has been crucial for expanding the application scope of mmWave technology beyond traditional domains into areas such as healthcare monitoring, industrial automation, and security surveillance.
In remote monitoring systems, mmWave technology offers several distinct advantages over conventional sensing technologies. Its high-frequency operation enables fine spatial resolution and the ability to detect minute movements, making it particularly valuable for applications requiring precise monitoring without physical contact. Additionally, mmWave signals can penetrate non-metallic materials, allowing for monitoring through obstacles such as walls, clothing, or packaging materials.
The primary objective of implementing mmWave technology in remote monitoring systems is to achieve high-precision, non-contact sensing capabilities that can operate reliably in various environmental conditions. This includes the ability to detect vital signs such as heart rate and respiration in healthcare settings, monitor occupancy and movement patterns in smart buildings, and enhance security surveillance through improved detection accuracy.
Current research and development efforts are focused on enhancing the signal processing algorithms to improve the accuracy of mmWave sensors in complex environments, reducing power consumption to enable battery-powered operation, and developing more sophisticated antenna arrays for improved directional sensitivity. These advancements aim to address the growing demand for remote monitoring solutions that can provide detailed, real-time data while maintaining privacy and reducing the need for direct human intervention.
The integration of mmWave technology with artificial intelligence and machine learning algorithms represents the next frontier in remote monitoring systems. This combination promises to enable more intelligent interpretation of sensor data, allowing for predictive analytics and automated decision-making based on detected patterns and anomalies. As these technologies continue to mature, we anticipate a significant expansion in the capabilities and applications of mmWave-based remote monitoring systems across various industries.
Market Analysis for Remote Monitoring Applications
The remote monitoring systems market has experienced significant growth in recent years, driven by increasing demand for real-time surveillance, security applications, and industrial automation. The global remote monitoring market was valued at approximately 27.1 billion USD in 2022 and is projected to reach 48.6 billion USD by 2028, growing at a CAGR of 9.8% during the forecast period. This growth trajectory underscores the expanding opportunities for mmWave technology integration in this sector.
Healthcare represents one of the fastest-growing segments for remote monitoring applications, with patient monitoring systems increasingly adopting advanced sensing technologies. The COVID-19 pandemic has accelerated this trend, creating a 35% increase in demand for contactless monitoring solutions where mmWave technology offers distinct advantages through its ability to detect vital signs without physical contact.
Industrial applications constitute another major market segment, with manufacturing facilities, energy infrastructure, and critical installations requiring sophisticated monitoring capabilities. The industrial IoT market, which heavily incorporates remote monitoring, is expected to reach 106.1 billion USD by 2026, with approximately 15% of solutions potentially benefiting from mmWave integration for enhanced precision and reliability.
Smart cities and urban infrastructure monitoring represent an emerging but rapidly expanding market opportunity. Municipal governments worldwide are investing in intelligent infrastructure monitoring systems, with global smart city technology spending projected to reach 327 billion USD by 2025. Approximately 22% of these initiatives include advanced sensing technologies where mmWave solutions could provide superior performance.
Security and surveillance applications remain the traditional stronghold for remote monitoring systems. The global video surveillance market alone is expected to reach 74.6 billion USD by 2025. The integration of mmWave technology can significantly enhance these systems' capabilities by enabling through-wall detection, concealed object identification, and operation in visually challenging environments like smoke, fog, or darkness.
Regional analysis indicates North America currently leads in mmWave-based monitoring adoption, holding approximately 38% market share, followed by Europe (27%) and Asia-Pacific (24%). However, the Asia-Pacific region is demonstrating the fastest growth rate at 12.3% annually, driven by rapid infrastructure development and increasing security concerns in emerging economies like China and India.
Healthcare represents one of the fastest-growing segments for remote monitoring applications, with patient monitoring systems increasingly adopting advanced sensing technologies. The COVID-19 pandemic has accelerated this trend, creating a 35% increase in demand for contactless monitoring solutions where mmWave technology offers distinct advantages through its ability to detect vital signs without physical contact.
Industrial applications constitute another major market segment, with manufacturing facilities, energy infrastructure, and critical installations requiring sophisticated monitoring capabilities. The industrial IoT market, which heavily incorporates remote monitoring, is expected to reach 106.1 billion USD by 2026, with approximately 15% of solutions potentially benefiting from mmWave integration for enhanced precision and reliability.
Smart cities and urban infrastructure monitoring represent an emerging but rapidly expanding market opportunity. Municipal governments worldwide are investing in intelligent infrastructure monitoring systems, with global smart city technology spending projected to reach 327 billion USD by 2025. Approximately 22% of these initiatives include advanced sensing technologies where mmWave solutions could provide superior performance.
Security and surveillance applications remain the traditional stronghold for remote monitoring systems. The global video surveillance market alone is expected to reach 74.6 billion USD by 2025. The integration of mmWave technology can significantly enhance these systems' capabilities by enabling through-wall detection, concealed object identification, and operation in visually challenging environments like smoke, fog, or darkness.
Regional analysis indicates North America currently leads in mmWave-based monitoring adoption, holding approximately 38% market share, followed by Europe (27%) and Asia-Pacific (24%). However, the Asia-Pacific region is demonstrating the fastest growth rate at 12.3% annually, driven by rapid infrastructure development and increasing security concerns in emerging economies like China and India.
Current State and Technical Challenges of mmWave Sensing
Millimeter wave (mmWave) technology has emerged as a promising solution for remote monitoring systems, operating in the frequency range of 30-300 GHz. The current state of mmWave sensing technology reflects significant advancements in recent years, yet faces several technical challenges that limit its widespread adoption. Globally, research institutions and technology companies have made substantial progress in developing mmWave sensors with improved resolution, range, and accuracy.
In the United States and Europe, mmWave technology has gained regulatory approval for various applications, including automotive radar systems operating at 77 GHz and 79 GHz bands. These systems have demonstrated effective object detection capabilities at distances up to 200 meters with centimeter-level accuracy. In Asia, particularly Japan and South Korea, significant investments have been made in mmWave technology for industrial automation and healthcare monitoring applications.
Despite these advancements, mmWave sensing technology faces several critical challenges. Signal attenuation remains a primary concern, as mmWave signals experience significant power loss when propagating through the atmosphere, especially in adverse weather conditions such as rain, fog, or snow. This attenuation limits the effective range of mmWave sensors in outdoor remote monitoring applications.
Another major challenge is the complexity of signal processing algorithms required to extract meaningful information from mmWave data. The high-dimensional nature of mmWave signals necessitates sophisticated algorithms for beamforming, target detection, and classification. These algorithms often require substantial computational resources, making real-time processing challenging for resource-constrained devices.
Interference management presents another significant hurdle. As mmWave technology becomes more prevalent, the potential for interference between multiple systems increases. Developing robust interference mitigation techniques is essential for ensuring reliable operation in environments with multiple mmWave systems.
Hardware limitations also constrain mmWave sensing capabilities. Current mmWave transceivers suffer from high power consumption, limiting their suitability for battery-powered remote monitoring applications. Additionally, the cost of mmWave components remains relatively high compared to other sensing technologies, impeding mass-market adoption.
Calibration and environmental adaptation pose ongoing challenges. mmWave sensors require precise calibration to maintain accuracy, and their performance can vary significantly across different environmental conditions. Developing adaptive systems that can maintain consistent performance across diverse environments remains an active area of research.
Integration challenges with existing infrastructure further complicate deployment. Many remote monitoring systems rely on established communication protocols and power infrastructure that may not readily accommodate mmWave technology. Bridging this gap requires developing compatible interfaces and power-efficient designs.
In the United States and Europe, mmWave technology has gained regulatory approval for various applications, including automotive radar systems operating at 77 GHz and 79 GHz bands. These systems have demonstrated effective object detection capabilities at distances up to 200 meters with centimeter-level accuracy. In Asia, particularly Japan and South Korea, significant investments have been made in mmWave technology for industrial automation and healthcare monitoring applications.
Despite these advancements, mmWave sensing technology faces several critical challenges. Signal attenuation remains a primary concern, as mmWave signals experience significant power loss when propagating through the atmosphere, especially in adverse weather conditions such as rain, fog, or snow. This attenuation limits the effective range of mmWave sensors in outdoor remote monitoring applications.
Another major challenge is the complexity of signal processing algorithms required to extract meaningful information from mmWave data. The high-dimensional nature of mmWave signals necessitates sophisticated algorithms for beamforming, target detection, and classification. These algorithms often require substantial computational resources, making real-time processing challenging for resource-constrained devices.
Interference management presents another significant hurdle. As mmWave technology becomes more prevalent, the potential for interference between multiple systems increases. Developing robust interference mitigation techniques is essential for ensuring reliable operation in environments with multiple mmWave systems.
Hardware limitations also constrain mmWave sensing capabilities. Current mmWave transceivers suffer from high power consumption, limiting their suitability for battery-powered remote monitoring applications. Additionally, the cost of mmWave components remains relatively high compared to other sensing technologies, impeding mass-market adoption.
Calibration and environmental adaptation pose ongoing challenges. mmWave sensors require precise calibration to maintain accuracy, and their performance can vary significantly across different environmental conditions. Developing adaptive systems that can maintain consistent performance across diverse environments remains an active area of research.
Integration challenges with existing infrastructure further complicate deployment. Many remote monitoring systems rely on established communication protocols and power infrastructure that may not readily accommodate mmWave technology. Bridging this gap requires developing compatible interfaces and power-efficient designs.
Existing mmWave Implementation Solutions
01 mmWave technology for high-speed wireless communication
mmWave technology enables high-speed wireless communication by utilizing the millimeter wave spectrum (30-300 GHz). This technology provides significantly higher data rates compared to traditional wireless systems, making it ideal for 5G networks and beyond. The high bandwidth available in mmWave bands allows for multi-gigabit data transmission, though it faces challenges with signal propagation and penetration through obstacles.- mmWave technology for high-speed wireless communications: Millimeter wave (mmWave) technology enables high-speed wireless communications by utilizing frequency bands between 30 GHz and 300 GHz. This technology provides significantly higher data rates compared to conventional wireless systems, making it effective for applications requiring high bandwidth. The implementation of mmWave in 5G networks allows for multi-gigabit data transmission speeds, addressing the growing demand for faster wireless connectivity in various sectors.
- Beamforming and MIMO techniques in mmWave systems: The effectiveness of mmWave technology is significantly enhanced through beamforming and Multiple-Input Multiple-Output (MIMO) techniques. These approaches help overcome the propagation challenges associated with mmWave frequencies, such as high path loss and atmospheric absorption. By focusing the signal energy in specific directions through beamforming and utilizing multiple antennas for spatial multiplexing in MIMO systems, mmWave technology achieves improved coverage, capacity, and reliability in wireless communications.
- mmWave applications in radar and sensing systems: mmWave technology demonstrates high effectiveness in radar and sensing applications due to its short wavelength, which provides excellent spatial resolution. This makes it particularly valuable for automotive radar systems, security screening, and industrial sensing applications. The technology enables accurate detection and tracking of objects, even in challenging environmental conditions, contributing to enhanced safety and automation capabilities in various sectors.
- Integration of mmWave in IoT and smart infrastructure: The integration of mmWave technology in Internet of Things (IoT) devices and smart infrastructure demonstrates effectiveness in enabling high-bandwidth, low-latency connections for numerous devices. This capability supports advanced applications such as smart cities, industrial automation, and connected vehicles. Despite power consumption challenges, mmWave technology provides the necessary capacity for data-intensive IoT applications, making it a valuable component in next-generation connected ecosystems.
- Overcoming mmWave propagation challenges: The effectiveness of mmWave technology is contingent on addressing its inherent propagation challenges, including high path loss, atmospheric absorption, and poor penetration through obstacles. Various techniques have been developed to overcome these limitations, such as advanced antenna designs, relay systems, and hybrid network architectures that combine mmWave with sub-6 GHz technologies. These approaches significantly improve the reliability and coverage of mmWave systems in real-world deployment scenarios.
02 Beamforming and antenna array solutions for mmWave
To overcome the propagation limitations of mmWave signals, advanced beamforming techniques and antenna array designs are employed. These solutions use multiple antenna elements to focus the signal energy in specific directions, improving signal strength and coverage. Massive MIMO (Multiple-Input Multiple-Output) systems combined with mmWave technology enhance spectral efficiency and enable more reliable connections even in challenging environments.Expand Specific Solutions03 mmWave applications in sensing and imaging
mmWave technology demonstrates significant effectiveness in sensing and imaging applications due to its short wavelength and high resolution capabilities. These properties make it suitable for radar systems, security scanning, medical imaging, and autonomous vehicle sensing. The technology can detect small objects and provide detailed images even in poor visibility conditions, offering advantages over traditional sensing technologies.Expand Specific Solutions04 Network architecture and deployment strategies for mmWave
Effective deployment of mmWave technology requires specialized network architectures and strategies to address its unique propagation characteristics. This includes dense small cell deployments, hybrid network approaches combining mmWave with sub-6 GHz frequencies, and intelligent network management systems. These strategies help overcome coverage limitations while maximizing the capacity benefits of mmWave technology in various deployment scenarios.Expand Specific Solutions05 Energy efficiency and power management in mmWave systems
mmWave systems present unique challenges and opportunities for energy efficiency and power management. Advanced techniques are being developed to optimize power consumption while maintaining high performance, including adaptive power control, efficient RF front-end designs, and intelligent sleep modes. These innovations are critical for making mmWave technology viable for battery-powered devices and environmentally sustainable network deployments.Expand Specific Solutions
Key Industry Players in mmWave Remote Monitoring
The mmWave remote monitoring market is currently in a growth phase, with increasing adoption across various industries. The global market size for mmWave technology in remote monitoring applications is expanding rapidly, driven by demand for high-precision sensing in security, healthcare, and industrial sectors. From a technological maturity perspective, leading players like Samsung Electronics, Texas Instruments, and Qualcomm have established strong foundations in mmWave technology development, while specialized companies such as Shenzhen CCT THZ Technology are focusing on terahertz detection applications. Research institutions including NYU and University of California are advancing fundamental capabilities, while industrial giants like Intel, IBM, and Siemens are integrating mmWave solutions into comprehensive monitoring systems, indicating the technology is transitioning from early adoption to mainstream implementation.
Samsung Electronics Co., Ltd.
Technical Solution: Samsung has developed comprehensive mmWave solutions for remote monitoring applications through their Samsung Networks division. Their approach focuses on integrating mmWave technology into smart city and industrial monitoring infrastructure. Samsung's mmWave sensors operate in the 28 GHz band and incorporate advanced MIMO antenna arrays with 1024 elements to achieve high spatial resolution and extended range[7]. Their solution includes specialized signal processing algorithms that can distinguish between multiple moving objects and accurately track their movements, making it particularly effective for security and safety monitoring applications. Samsung has also developed compact mmWave modules designed specifically for integration into existing surveillance systems, enabling easy upgrades to mmWave capabilities. Their technology incorporates AI-powered analytics that can interpret mmWave sensor data to detect anomalous behaviors or emergency situations, triggering appropriate responses[8]. Samsung's remote monitoring solution also features integration capabilities with their broader ecosystem of smart devices, enabling comprehensive monitoring systems that combine mmWave sensing with other technologies.
Strengths: Extensive integration capabilities with existing infrastructure; advanced AI-powered analytics enhancing monitoring intelligence; high spatial resolution enabling precise tracking; robust ecosystem support for comprehensive solutions. Weaknesses: Proprietary ecosystem potentially limiting interoperability; higher implementation costs compared to conventional monitoring technologies; performance degradation in adverse weather conditions; requires specialized expertise for optimal deployment.
Texas Instruments Incorporated
Technical Solution: Texas Instruments has developed comprehensive mmWave sensing solutions specifically designed for remote monitoring applications. Their IWR6843 and IWR1843 mmWave sensor chipsets integrate radar front-end components with DSP and MCU cores, enabling single-chip remote monitoring solutions. TI's mmWave technology operates in the 76-81 GHz frequency band, providing high-resolution sensing with the ability to detect micro-movements at distances up to 100 meters[1]. Their sensors can penetrate through non-metallic materials like plastic, drywall, and clothing, making them effective for various monitoring scenarios including industrial, healthcare, and security applications. TI has also developed specialized algorithms for their mmWave sensors that enable accurate detection of vital signs (breathing and heart rate) without physical contact, which is particularly valuable for healthcare monitoring[2]. Their SDK includes ready-to-use algorithms for presence detection, people counting, and motion tracking that simplify implementation for system integrators.
Strengths: High integration level with single-chip solutions reducing system complexity; excellent penetration capabilities through common materials; low power consumption suitable for battery-operated devices; high accuracy in detecting micro-movements. Weaknesses: Higher cost compared to other sensing technologies; requires specialized knowledge for optimal implementation; limited effectiveness through metal objects or in environments with high electromagnetic interference.
Core Patents and Technical Literature Analysis
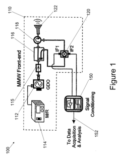
Millimeter wave sensor for far-field standoff vibrometry
PatentInactiveUS20100290063A1
Innovation
- A millimeter-wave (MMW) measurement system utilizing a front-end with a Gunn diode oscillator, modulator/regulator, isolator, directional coupler, circulator, quadrature mixer, and lens antenna, capable of phase interference for displacement and velocity measurement, which is insensitive to surface properties and ambient conditions, and can operate at far-field distances with enhanced signal processing for noise reduction.
Millimeter- wave communication system and method for determining location of first device based on known location of second device
PatentWO2019181036A1
Innovation
- A method that utilizes multiple beam values sharing the same dominant path to resolve the ambiguity in beamforming models, determining the direction of the dominant path by evaluating a beamforming model that relates the deviation of beamforming angles from the dominant path with the energy received, and subsequently calculating the location of the first device relative to a second device with a known location.
Regulatory Framework for mmWave Frequency Allocation
The regulatory landscape governing mmWave frequency allocation represents a critical framework that directly impacts the deployment and effectiveness of remote monitoring systems utilizing millimeter wave technology. Globally, regulatory bodies such as the Federal Communications Commission (FCC) in the United States, the European Conference of Postal and Telecommunications Administrations (CEPT) in Europe, and similar organizations in Asia have established specific allocation schemes for mmWave bands.
In the United States, the FCC has designated several mmWave bands for commercial use, including 24 GHz, 28 GHz, 37 GHz, 39 GHz, and 47 GHz bands. These allocations provide substantial bandwidth for high-data-rate applications, including remote monitoring systems. The regulatory framework includes technical specifications regarding transmission power limits, out-of-band emissions, and interference protection measures that directly influence system design parameters.
European regulations, coordinated through CEPT and implemented by national regulatory authorities, have focused on the 26 GHz band (24.25-27.5 GHz) as a pioneer band for 5G services, which encompasses mmWave remote monitoring applications. The European framework emphasizes harmonization across member states while addressing specific national requirements and existing spectrum usage patterns.
In Asia-Pacific regions, countries like Japan, South Korea, and China have developed their own regulatory approaches to mmWave allocation. Japan's Ministry of Internal Affairs and Communications (MIC) has allocated the 28 GHz band for 5G services, while South Korea has been progressive in allocating multiple mmWave bands to support advanced wireless applications including remote monitoring systems.
These regulatory frameworks significantly impact the effectiveness measurement of mmWave in remote monitoring systems through several mechanisms. First, the allocated bandwidth directly determines the maximum achievable data rates and system capacity. Second, power limitations affect the maximum operational range and penetration capabilities of mmWave signals. Third, licensing requirements and costs influence the economic viability of deploying mmWave-based monitoring solutions.
Cross-border coordination presents additional challenges, particularly for remote monitoring systems deployed in border regions or for international applications. The International Telecommunication Union (ITU) provides overarching coordination through its Radio Regulations and World Radiocommunication Conferences (WRC), which periodically review and revise the international regulatory framework for all radio frequency spectrum uses.
Emerging regulatory trends indicate a move toward more flexible spectrum management approaches, including shared spectrum access models and dynamic spectrum allocation. These developments may provide new opportunities for mmWave remote monitoring systems to operate more efficiently within complex electromagnetic environments while maintaining compliance with regulatory requirements.
In the United States, the FCC has designated several mmWave bands for commercial use, including 24 GHz, 28 GHz, 37 GHz, 39 GHz, and 47 GHz bands. These allocations provide substantial bandwidth for high-data-rate applications, including remote monitoring systems. The regulatory framework includes technical specifications regarding transmission power limits, out-of-band emissions, and interference protection measures that directly influence system design parameters.
European regulations, coordinated through CEPT and implemented by national regulatory authorities, have focused on the 26 GHz band (24.25-27.5 GHz) as a pioneer band for 5G services, which encompasses mmWave remote monitoring applications. The European framework emphasizes harmonization across member states while addressing specific national requirements and existing spectrum usage patterns.
In Asia-Pacific regions, countries like Japan, South Korea, and China have developed their own regulatory approaches to mmWave allocation. Japan's Ministry of Internal Affairs and Communications (MIC) has allocated the 28 GHz band for 5G services, while South Korea has been progressive in allocating multiple mmWave bands to support advanced wireless applications including remote monitoring systems.
These regulatory frameworks significantly impact the effectiveness measurement of mmWave in remote monitoring systems through several mechanisms. First, the allocated bandwidth directly determines the maximum achievable data rates and system capacity. Second, power limitations affect the maximum operational range and penetration capabilities of mmWave signals. Third, licensing requirements and costs influence the economic viability of deploying mmWave-based monitoring solutions.
Cross-border coordination presents additional challenges, particularly for remote monitoring systems deployed in border regions or for international applications. The International Telecommunication Union (ITU) provides overarching coordination through its Radio Regulations and World Radiocommunication Conferences (WRC), which periodically review and revise the international regulatory framework for all radio frequency spectrum uses.
Emerging regulatory trends indicate a move toward more flexible spectrum management approaches, including shared spectrum access models and dynamic spectrum allocation. These developments may provide new opportunities for mmWave remote monitoring systems to operate more efficiently within complex electromagnetic environments while maintaining compliance with regulatory requirements.
Performance Metrics and Effectiveness Evaluation Methods
Evaluating the effectiveness of mmWave technology in remote monitoring systems requires comprehensive performance metrics and standardized evaluation methodologies. The Signal-to-Noise Ratio (SNR) serves as a fundamental metric, quantifying the clarity of mmWave signals against background noise, with higher values indicating superior detection capabilities. Detection range accuracy represents another critical parameter, measuring the maximum effective distance at which the system can reliably identify and track objects, typically ranging from 30 to 300 meters depending on environmental conditions and system specifications.
Resolution capabilities constitute a multi-dimensional metric encompassing range resolution (ability to distinguish objects at similar distances), angular resolution (precision in determining object direction), and velocity resolution (accuracy in measuring object speed). These parameters directly impact the system's ability to create detailed environmental maps and track multiple objects simultaneously in complex scenarios.
Penetration effectiveness metrics evaluate the mmWave signal's ability to propagate through various materials, quantified through attenuation coefficients and penetration depth measurements across different substances. This becomes particularly relevant in applications requiring monitoring through walls, smoke, dust, or adverse weather conditions where visual systems typically fail.
Environmental resilience testing protocols assess system performance across diverse conditions including precipitation, temperature extremes, humidity variations, and atmospheric interference. Standardized testing procedures involve controlled environment chambers and field tests in various weather conditions to establish operational boundaries and reliability parameters.
Power efficiency metrics measure energy consumption relative to detection capabilities, including metrics like watts per square meter of coverage area and energy consumption per detection event. These become particularly significant for battery-operated remote monitoring deployments where power constraints limit operational duration.
False alarm rates and detection probability statistics provide critical insights into system reliability, with industry standards typically requiring false positive rates below 1% and detection probabilities exceeding 95% for mission-critical applications. These metrics must be evaluated across various environmental conditions and target scenarios to establish comprehensive performance profiles.
Integration compatibility assessments examine the mmWave system's ability to function alongside other sensing technologies, measuring factors like data fusion efficiency, synchronization accuracy, and complementary detection capabilities. This evaluation becomes essential when mmWave sensors operate as part of multi-modal sensing networks combining infrared, optical, or acoustic technologies.
Resolution capabilities constitute a multi-dimensional metric encompassing range resolution (ability to distinguish objects at similar distances), angular resolution (precision in determining object direction), and velocity resolution (accuracy in measuring object speed). These parameters directly impact the system's ability to create detailed environmental maps and track multiple objects simultaneously in complex scenarios.
Penetration effectiveness metrics evaluate the mmWave signal's ability to propagate through various materials, quantified through attenuation coefficients and penetration depth measurements across different substances. This becomes particularly relevant in applications requiring monitoring through walls, smoke, dust, or adverse weather conditions where visual systems typically fail.
Environmental resilience testing protocols assess system performance across diverse conditions including precipitation, temperature extremes, humidity variations, and atmospheric interference. Standardized testing procedures involve controlled environment chambers and field tests in various weather conditions to establish operational boundaries and reliability parameters.
Power efficiency metrics measure energy consumption relative to detection capabilities, including metrics like watts per square meter of coverage area and energy consumption per detection event. These become particularly significant for battery-operated remote monitoring deployments where power constraints limit operational duration.
False alarm rates and detection probability statistics provide critical insights into system reliability, with industry standards typically requiring false positive rates below 1% and detection probabilities exceeding 95% for mission-critical applications. These metrics must be evaluated across various environmental conditions and target scenarios to establish comprehensive performance profiles.
Integration compatibility assessments examine the mmWave system's ability to function alongside other sensing technologies, measuring factors like data fusion efficiency, synchronization accuracy, and complementary detection capabilities. This evaluation becomes essential when mmWave sensors operate as part of multi-modal sensing networks combining infrared, optical, or acoustic technologies.
Unlock deeper insights with Patsnap Eureka Quick Research — get a full tech report to explore trends and direct your research. Try now!
Generate Your Research Report Instantly with AI Agent
Supercharge your innovation with Patsnap Eureka AI Agent Platform!







