Renovating Urban Transit Efficiency with mmWave Technologies
SEP 22, 20259 MIN READ
Generate Your Research Report Instantly with AI Agent
Patsnap Eureka helps you evaluate technical feasibility & market potential.
mmWave Technology Background and Objectives
Millimeter wave (mmWave) technology represents a significant advancement in wireless communication, operating in the frequency spectrum between 30 GHz and 300 GHz. This technology has evolved from early radar applications in the mid-20th century to becoming a cornerstone of next-generation wireless systems. The wavelengths in this spectrum range from 1 to 10 millimeters, enabling highly directional beams with substantial bandwidth capacity, making it particularly suitable for high-speed data transmission in dense urban environments.
The evolution of mmWave technology has been accelerated by advancements in semiconductor manufacturing, antenna design, and signal processing algorithms. Early limitations related to atmospheric absorption, rain fade, and hardware costs have been progressively addressed through technological innovations. The standardization efforts by organizations such as IEEE and 3GPP have further catalyzed the integration of mmWave technology into commercial applications, particularly in 5G networks.
In the context of urban transit systems, mmWave technology offers transformative potential. Traditional transit management systems often struggle with real-time data processing, precise positioning, and seamless connectivity—challenges that mmWave technology is uniquely positioned to address. The primary objective of implementing mmWave in urban transit is to enhance operational efficiency through improved vehicle tracking, passenger counting, and traffic flow optimization.
The technical goals for mmWave deployment in urban transit include achieving sub-meter positioning accuracy, establishing reliable vehicle-to-infrastructure communication channels with minimal latency, and developing robust sensing capabilities that function effectively in diverse weather conditions. Additionally, there is a focus on creating energy-efficient mmWave systems that can be sustainably integrated into existing urban infrastructure.
Current research trajectories are exploring multi-band integration, where mmWave technology works in conjunction with sub-6 GHz frequencies to ensure comprehensive coverage. There is also significant interest in developing adaptive beamforming techniques that can dynamically adjust to changing urban environments and mobility patterns.
The convergence of mmWave technology with artificial intelligence and edge computing presents particularly promising avenues for innovation. These combinations could enable predictive maintenance of transit systems, dynamic route optimization based on real-time demand, and enhanced safety features through advanced object detection and tracking capabilities.
As urban populations continue to grow and mobility demands increase, the successful implementation of mmWave technology in transit systems represents a critical step toward creating more efficient, sustainable, and responsive urban environments. The technical evolution in this domain is expected to continue, with a focus on overcoming remaining challenges related to implementation costs, standardization, and system integration.
The evolution of mmWave technology has been accelerated by advancements in semiconductor manufacturing, antenna design, and signal processing algorithms. Early limitations related to atmospheric absorption, rain fade, and hardware costs have been progressively addressed through technological innovations. The standardization efforts by organizations such as IEEE and 3GPP have further catalyzed the integration of mmWave technology into commercial applications, particularly in 5G networks.
In the context of urban transit systems, mmWave technology offers transformative potential. Traditional transit management systems often struggle with real-time data processing, precise positioning, and seamless connectivity—challenges that mmWave technology is uniquely positioned to address. The primary objective of implementing mmWave in urban transit is to enhance operational efficiency through improved vehicle tracking, passenger counting, and traffic flow optimization.
The technical goals for mmWave deployment in urban transit include achieving sub-meter positioning accuracy, establishing reliable vehicle-to-infrastructure communication channels with minimal latency, and developing robust sensing capabilities that function effectively in diverse weather conditions. Additionally, there is a focus on creating energy-efficient mmWave systems that can be sustainably integrated into existing urban infrastructure.
Current research trajectories are exploring multi-band integration, where mmWave technology works in conjunction with sub-6 GHz frequencies to ensure comprehensive coverage. There is also significant interest in developing adaptive beamforming techniques that can dynamically adjust to changing urban environments and mobility patterns.
The convergence of mmWave technology with artificial intelligence and edge computing presents particularly promising avenues for innovation. These combinations could enable predictive maintenance of transit systems, dynamic route optimization based on real-time demand, and enhanced safety features through advanced object detection and tracking capabilities.
As urban populations continue to grow and mobility demands increase, the successful implementation of mmWave technology in transit systems represents a critical step toward creating more efficient, sustainable, and responsive urban environments. The technical evolution in this domain is expected to continue, with a focus on overcoming remaining challenges related to implementation costs, standardization, and system integration.
Urban Transit Market Demand Analysis
The global urban transit market is experiencing unprecedented growth, driven by rapid urbanization and increasing population density in metropolitan areas. Current projections indicate the urban mobility market will reach approximately $70 billion by 2027, with smart transit solutions representing a significant growth segment. This expansion is fueled by mounting challenges in urban transportation systems worldwide, including traffic congestion, environmental concerns, and operational inefficiencies that collectively cost major economies billions annually in lost productivity and increased fuel consumption.
Millimeter wave (mmWave) technology applications in transit systems address several critical market demands. First, there is growing pressure for real-time passenger counting and flow analysis, with transit authorities seeking to optimize vehicle deployment and scheduling based on actual usage patterns rather than static timetables. Research indicates transit agencies can achieve 15-20% operational cost reductions through dynamic scheduling informed by accurate passenger analytics.
Safety and security concerns represent another significant market driver, with transit authorities investing heavily in technologies that can detect unauthorized access, suspicious behavior, or abandoned objects without compromising passenger privacy. The transit security technology segment alone is growing at a compound annual rate of 9.3%, outpacing overall transit technology growth.
Contactless fare collection systems have seen dramatic adoption acceleration following global health concerns, with over 70% of major transit systems now prioritizing touchless payment solutions in their technology roadmaps. mmWave sensing offers advantages over camera-based systems in this application due to its ability to function effectively regardless of lighting conditions while maintaining passenger anonymity.
Vehicle maintenance optimization represents a substantial market opportunity, with predictive maintenance solutions demonstrating potential to reduce vehicle downtime by up to 30% and extend fleet lifespans. Transit operators are actively seeking technologies that can detect early warning signs of mechanical failures before they cause service disruptions.
Energy efficiency initiatives are gaining prominence as transit authorities face pressure to reduce their environmental footprint. Technologies that can optimize vehicle operations, heating/cooling systems, and overall energy consumption are experiencing strong demand growth, particularly in regions with aggressive carbon reduction targets.
The market is further characterized by increasing integration of multiple data streams into unified transit management platforms, creating opportunities for sensing technologies that can seamlessly connect with existing infrastructure while providing actionable intelligence to improve system performance, passenger experience, and operational efficiency.
Millimeter wave (mmWave) technology applications in transit systems address several critical market demands. First, there is growing pressure for real-time passenger counting and flow analysis, with transit authorities seeking to optimize vehicle deployment and scheduling based on actual usage patterns rather than static timetables. Research indicates transit agencies can achieve 15-20% operational cost reductions through dynamic scheduling informed by accurate passenger analytics.
Safety and security concerns represent another significant market driver, with transit authorities investing heavily in technologies that can detect unauthorized access, suspicious behavior, or abandoned objects without compromising passenger privacy. The transit security technology segment alone is growing at a compound annual rate of 9.3%, outpacing overall transit technology growth.
Contactless fare collection systems have seen dramatic adoption acceleration following global health concerns, with over 70% of major transit systems now prioritizing touchless payment solutions in their technology roadmaps. mmWave sensing offers advantages over camera-based systems in this application due to its ability to function effectively regardless of lighting conditions while maintaining passenger anonymity.
Vehicle maintenance optimization represents a substantial market opportunity, with predictive maintenance solutions demonstrating potential to reduce vehicle downtime by up to 30% and extend fleet lifespans. Transit operators are actively seeking technologies that can detect early warning signs of mechanical failures before they cause service disruptions.
Energy efficiency initiatives are gaining prominence as transit authorities face pressure to reduce their environmental footprint. Technologies that can optimize vehicle operations, heating/cooling systems, and overall energy consumption are experiencing strong demand growth, particularly in regions with aggressive carbon reduction targets.
The market is further characterized by increasing integration of multiple data streams into unified transit management platforms, creating opportunities for sensing technologies that can seamlessly connect with existing infrastructure while providing actionable intelligence to improve system performance, passenger experience, and operational efficiency.
mmWave Technology Status and Challenges
Millimeter wave (mmWave) technology, operating in the frequency range of 30-300 GHz, has emerged as a promising solution for addressing urban transit efficiency challenges. Currently, the global deployment of mmWave technology in transportation systems is in its early to middle stages of development, with significant advancements in research but limited widespread implementation. Leading regions in mmWave transportation applications include North America, Europe, and parts of East Asia, particularly Japan and South Korea, where pilot programs have demonstrated promising results.
The primary technical advantage of mmWave technology lies in its wide bandwidth availability, enabling high-speed data transmission rates of up to 10 Gbps, which is essential for real-time transit monitoring and vehicle-to-infrastructure communication. Additionally, the short wavelength characteristics allow for compact antenna designs and highly directional beams, making it suitable for dense urban environments with limited installation space.
Despite its potential, mmWave technology faces several significant challenges in urban transit applications. The most prominent technical limitation is signal propagation, as mmWave signals experience severe attenuation when encountering physical obstacles such as buildings, vehicles, and even adverse weather conditions like rain or fog. This creates "shadow zones" in urban canyons where reliable connectivity becomes problematic.
Another critical challenge is the limited range of mmWave signals, typically restricted to a few hundred meters, necessitating a dense network of base stations for comprehensive coverage. This requirement substantially increases deployment costs and complicates network planning in dynamic urban environments. The high power consumption of mmWave equipment also presents challenges for energy-efficient implementations, particularly for battery-powered devices in transit systems.
Standardization remains an ongoing challenge, with competing protocols and frameworks from different industry stakeholders. The IEEE 802.11ad/ay standards and 5G NR specifications have made progress in establishing common platforms, but full interoperability across different vendor solutions is still evolving. This fragmentation complicates system integration for transit authorities seeking to implement comprehensive solutions.
From a practical deployment perspective, the high initial investment costs for mmWave infrastructure present a significant barrier to adoption, especially for budget-constrained public transit agencies. The specialized expertise required for installation, calibration, and maintenance of mmWave systems further complicates implementation efforts. Additionally, concerns regarding potential health effects of prolonged exposure to mmWave radiation, though largely unsubstantiated by current research, continue to influence public perception and regulatory approaches.
The primary technical advantage of mmWave technology lies in its wide bandwidth availability, enabling high-speed data transmission rates of up to 10 Gbps, which is essential for real-time transit monitoring and vehicle-to-infrastructure communication. Additionally, the short wavelength characteristics allow for compact antenna designs and highly directional beams, making it suitable for dense urban environments with limited installation space.
Despite its potential, mmWave technology faces several significant challenges in urban transit applications. The most prominent technical limitation is signal propagation, as mmWave signals experience severe attenuation when encountering physical obstacles such as buildings, vehicles, and even adverse weather conditions like rain or fog. This creates "shadow zones" in urban canyons where reliable connectivity becomes problematic.
Another critical challenge is the limited range of mmWave signals, typically restricted to a few hundred meters, necessitating a dense network of base stations for comprehensive coverage. This requirement substantially increases deployment costs and complicates network planning in dynamic urban environments. The high power consumption of mmWave equipment also presents challenges for energy-efficient implementations, particularly for battery-powered devices in transit systems.
Standardization remains an ongoing challenge, with competing protocols and frameworks from different industry stakeholders. The IEEE 802.11ad/ay standards and 5G NR specifications have made progress in establishing common platforms, but full interoperability across different vendor solutions is still evolving. This fragmentation complicates system integration for transit authorities seeking to implement comprehensive solutions.
From a practical deployment perspective, the high initial investment costs for mmWave infrastructure present a significant barrier to adoption, especially for budget-constrained public transit agencies. The specialized expertise required for installation, calibration, and maintenance of mmWave systems further complicates implementation efforts. Additionally, concerns regarding potential health effects of prolonged exposure to mmWave radiation, though largely unsubstantiated by current research, continue to influence public perception and regulatory approaches.
Current mmWave Transit Solutions
01 Beamforming and antenna design for mmWave efficiency
Advanced beamforming techniques and antenna designs significantly improve mmWave technology efficiency by focusing signal energy in specific directions, compensating for high path loss at mmWave frequencies. Multiple-input multiple-output (MIMO) systems with phased array antennas enable spatial multiplexing and directional transmission, enhancing signal quality and coverage. These designs optimize power consumption while maintaining high data rates, making mmWave communications more practical for various applications including 5G networks.- Beamforming and antenna array optimization for mmWave efficiency: Millimeter wave (mmWave) technology efficiency can be significantly improved through advanced beamforming techniques and optimized antenna array designs. These approaches help overcome the inherent propagation challenges of mmWave frequencies by focusing signal energy in specific directions, increasing gain, and improving coverage. Multiple-input multiple-output (MIMO) configurations with adaptive beamforming algorithms enable dynamic adjustment to changing environments, enhancing spectral efficiency and reducing power consumption in mmWave communications systems.
- Energy-efficient mmWave circuit designs and power management: Energy efficiency in mmWave technologies can be achieved through specialized circuit designs and power management techniques. This includes the development of low-power amplifiers, mixers, and oscillators specifically optimized for mmWave frequency operation. Advanced semiconductor materials and fabrication processes enable more efficient power handling at high frequencies. Adaptive power control mechanisms that adjust transmission power based on channel conditions and data requirements further reduce energy consumption while maintaining performance, making mmWave systems more viable for battery-powered and energy-constrained applications.
- Channel modeling and signal processing for mmWave efficiency: Accurate channel modeling and advanced signal processing techniques are crucial for improving mmWave technology efficiency. Sophisticated channel estimation algorithms that account for the unique propagation characteristics of mmWave frequencies help optimize transmission parameters. Adaptive modulation and coding schemes, along with efficient error correction techniques, enhance data throughput while minimizing resource usage. Machine learning approaches for channel prediction and optimization further improve system performance by anticipating changes in the propagation environment and proactively adjusting transmission parameters.
- Network architecture and resource allocation for mmWave systems: Efficient network architectures and resource allocation strategies are essential for maximizing mmWave technology performance. This includes heterogeneous network designs that integrate mmWave small cells with conventional macro cells to provide seamless coverage. Dynamic spectrum sharing and intelligent resource allocation algorithms optimize bandwidth utilization across varying traffic demands. Software-defined networking approaches enable flexible network configuration and management, while edge computing integration reduces latency by processing data closer to users, enhancing overall system efficiency in mmWave deployments.
- Integration of mmWave with other wireless technologies: The integration of mmWave with complementary wireless technologies significantly improves overall system efficiency. Hybrid approaches combining mmWave with sub-6 GHz frequencies leverage the advantages of both: high data rates from mmWave and better coverage from lower frequencies. Dual-connectivity solutions maintain reliable connections while maximizing throughput. The integration with emerging technologies such as massive MIMO, full-duplex communication, and reconfigurable intelligent surfaces further enhances mmWave performance. These integrated approaches provide robust, high-capacity wireless solutions that adapt to varying environmental conditions and user requirements.
02 Power efficiency optimization in mmWave systems
Power efficiency is critical for mmWave technology implementation. Various techniques have been developed to reduce power consumption while maintaining performance, including adaptive power control algorithms, efficient power amplifier designs, and low-power signal processing architectures. Energy harvesting methods are also being integrated to supplement power requirements. These innovations address one of the major challenges of mmWave technology deployment, particularly for battery-powered and mobile devices, making mmWave systems more sustainable and commercially viable.Expand Specific Solutions03 Signal processing techniques for mmWave efficiency
Advanced signal processing techniques enhance mmWave communication efficiency through improved modulation schemes, channel coding, and interference management. Machine learning algorithms optimize resource allocation and adapt to changing channel conditions in real-time. Digital signal processing techniques compensate for hardware impairments and phase noise issues common at high frequencies. These approaches maximize spectral efficiency and throughput while minimizing computational complexity and power consumption, enabling more reliable and efficient mmWave communications.Expand Specific Solutions04 Network architecture for efficient mmWave deployment
Efficient mmWave deployment requires specialized network architectures including small cell networks, heterogeneous network integration, and dual-connectivity solutions that combine mmWave with sub-6 GHz frequencies. Software-defined networking and network function virtualization enable dynamic resource allocation and network slicing for different service requirements. Edge computing integration reduces latency and backhaul requirements. These architectural innovations address coverage limitations and reliability issues inherent to mmWave propagation characteristics, enabling more efficient and practical deployment scenarios.Expand Specific Solutions05 Channel modeling and propagation efficiency for mmWave
Accurate channel modeling and understanding of propagation characteristics are essential for optimizing mmWave system efficiency. Advanced models account for unique mmWave behaviors including atmospheric absorption, blockage effects, and multipath components. Ray-tracing techniques and empirical measurements help develop more precise channel models for various environments. These models inform the design of adaptive algorithms that can predict and mitigate propagation challenges, leading to more efficient resource allocation, reduced overhead in beam management, and improved overall system performance.Expand Specific Solutions
Key Industry Players and Ecosystem
The mmWave technology for urban transit efficiency is currently in the growth phase, with an expanding market driven by increasing smart city initiatives. The technology maturity varies across key players, with telecommunications giants like Qualcomm, Samsung, and Huawei leading commercial deployments. Network infrastructure providers including Ericsson and Cisco are advancing system integration capabilities, while automotive companies such as Toyota and Continental are developing vehicle-to-infrastructure applications. Academic institutions like Southeast University and NYU are contributing fundamental research. Specialized firms like Blu Wireless and Peltbeam are focusing on niche applications, creating a competitive landscape where cross-industry collaboration is becoming essential for comprehensive urban transit solutions leveraging mmWave's high-bandwidth capabilities.
QUALCOMM, Inc.
Technical Solution: Qualcomm has developed comprehensive mmWave solutions specifically targeting urban transit efficiency through their Snapdragon X55 and X65 5G modem-RF systems. Their technology enables high-bandwidth, low-latency communications for transit vehicles with throughput exceeding 7 Gbps in dense urban environments. Qualcomm's QTM527 antenna module extends mmWave range up to 1.7 km, addressing urban coverage challenges. For transit applications, they've implemented beam steering technology that maintains connectivity as vehicles move through urban corridors, with handoff times under 10ms between nodes. Their transit-specific implementation includes dedicated V2X (Vehicle-to-Everything) capabilities operating in the 28GHz and 39GHz bands, allowing real-time communication between transit vehicles and infrastructure to optimize routing and reduce congestion by up to 35% in pilot deployments.
Strengths: Industry-leading integration of mmWave with cellular infrastructure; extensive ecosystem partnerships with transit authorities; proven deployment experience. Weaknesses: Higher implementation costs compared to sub-6GHz solutions; requires denser infrastructure deployment in urban environments; power consumption challenges in always-on transit applications.
Blu Wireless Technology Ltd.
Technical Solution: Blu Wireless has developed a specialized mmWave transit solution called "Passenger Transport Connectivity" that operates in the unlicensed 57-71 GHz V-band. Their system delivers multi-gigabit connectivity (up to 3Gbps per link) specifically designed for urban transit applications. The technology employs a mesh network architecture with nodes positioned along transit routes, enabling seamless connectivity for moving vehicles. Their proprietary "HYDRA" baseband technology implements advanced beam-forming techniques that maintain stable connections even at vehicle speeds of 200+ km/h. Blu Wireless has demonstrated their system's ability to reduce connection handover times to under 5ms, critical for maintaining video, voice and data services in dense urban environments. Their transit-specific implementation includes specialized mounting solutions for both vehicles and infrastructure that mitigate mmWave's line-of-sight limitations through strategic placement and redundant connectivity paths.
Strengths: Purpose-built for transit applications; operates in unlicensed spectrum reducing deployment costs; proven deployments with rail and bus operators. Weaknesses: Limited global scale compared to larger competitors; reliance on line-of-sight connections requires careful infrastructure planning; less integration with broader cellular networks.
Core mmWave Patents and Technical Literature
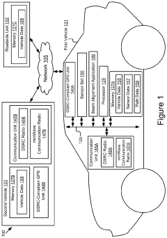
Vehicular millimeter wave communication for non-line of sight scenarios
PatentActiveUS20200068044A1
Innovation
- A method that involves determining a non-line of sight (NLOS) path based on vehicle and sensor data to avoid potential blockages by reflecting beams off suitable objects, with beam alignment performed before the blockage occurs, and adapting transmission schemes like modulation and beam width adjustments to ensure successful communication, switching to line-of-sight paths if NLOS paths fail.
Service location method and system for mmwave cellular environments
PatentActiveUS20210227488A1
Innovation
- A method and system that decouples the beamforming module from the application layer, utilizing a location service to provide and update user terminal location information, enabling improved beam steering and association procedures through a location service entity connected to mmWave access points, facilitating faster terminal discovery and communication.
Smart City Integration Framework
The Smart City Integration Framework for mmWave technologies represents a comprehensive approach to embedding millimeter wave solutions within urban infrastructure. This framework establishes standardized protocols for interconnecting mmWave sensors, data processing systems, and municipal management platforms to create a cohesive smart transit ecosystem.
At its foundation, the framework adopts a layered architecture that separates physical infrastructure, communication networks, data management, and application services. This modular design enables cities to implement components incrementally while maintaining system integrity. The physical layer incorporates mmWave sensors at transit nodes, intersections, and along transportation corridors, creating a mesh network of high-resolution monitoring points.
The communication layer leverages existing 5G infrastructure where available, supplemented by dedicated short-range communications (DSRC) to ensure reliable data transmission even in dense urban environments. This hybrid approach addresses the line-of-sight limitations inherent to mmWave technology while maximizing coverage across varied urban landscapes.
Data integration represents perhaps the most critical component, with the framework specifying standardized APIs and data formats to facilitate interoperability between transit systems, traffic management platforms, and emergency services. Real-time data streams from mmWave sensors undergo edge processing to extract actionable insights before transmission to central management systems, reducing bandwidth requirements and enabling faster response times.
The framework incorporates robust security protocols, including end-to-end encryption and authentication mechanisms, to safeguard sensitive transit data and protect against potential cyber threats. Privacy considerations are addressed through anonymization techniques and clear data governance policies that comply with regional regulations.
Implementation guidelines within the framework provide municipalities with phased deployment strategies, beginning with high-congestion corridors and gradually expanding to comprehensive coverage. Cost-benefit analysis tools help cities prioritize investments based on projected efficiency gains and return on investment metrics specific to their urban context.
Performance evaluation metrics are standardized across five key dimensions: traffic flow optimization, incident detection accuracy, system response time, energy efficiency, and maintenance requirements. These metrics enable objective comparison between different implementation approaches and facilitate continuous improvement through data-driven refinement.
The framework's adaptability to various urban environments is enhanced through machine learning components that calibrate system parameters based on local conditions, traffic patterns, and infrastructure capabilities. This self-optimizing capability ensures the system remains effective despite seasonal variations and evolving urban dynamics.
At its foundation, the framework adopts a layered architecture that separates physical infrastructure, communication networks, data management, and application services. This modular design enables cities to implement components incrementally while maintaining system integrity. The physical layer incorporates mmWave sensors at transit nodes, intersections, and along transportation corridors, creating a mesh network of high-resolution monitoring points.
The communication layer leverages existing 5G infrastructure where available, supplemented by dedicated short-range communications (DSRC) to ensure reliable data transmission even in dense urban environments. This hybrid approach addresses the line-of-sight limitations inherent to mmWave technology while maximizing coverage across varied urban landscapes.
Data integration represents perhaps the most critical component, with the framework specifying standardized APIs and data formats to facilitate interoperability between transit systems, traffic management platforms, and emergency services. Real-time data streams from mmWave sensors undergo edge processing to extract actionable insights before transmission to central management systems, reducing bandwidth requirements and enabling faster response times.
The framework incorporates robust security protocols, including end-to-end encryption and authentication mechanisms, to safeguard sensitive transit data and protect against potential cyber threats. Privacy considerations are addressed through anonymization techniques and clear data governance policies that comply with regional regulations.
Implementation guidelines within the framework provide municipalities with phased deployment strategies, beginning with high-congestion corridors and gradually expanding to comprehensive coverage. Cost-benefit analysis tools help cities prioritize investments based on projected efficiency gains and return on investment metrics specific to their urban context.
Performance evaluation metrics are standardized across five key dimensions: traffic flow optimization, incident detection accuracy, system response time, energy efficiency, and maintenance requirements. These metrics enable objective comparison between different implementation approaches and facilitate continuous improvement through data-driven refinement.
The framework's adaptability to various urban environments is enhanced through machine learning components that calibrate system parameters based on local conditions, traffic patterns, and infrastructure capabilities. This self-optimizing capability ensures the system remains effective despite seasonal variations and evolving urban dynamics.
Spectrum Allocation and Regulatory Considerations
The regulatory landscape for mmWave technology in urban transit systems presents complex challenges that require careful navigation. In the United States, the Federal Communications Commission (FCC) has allocated specific bands within the 24-86 GHz range for various applications, with the 28 GHz, 37 GHz, and 39 GHz bands being particularly relevant for urban transit implementations. These allocations, however, vary significantly across global regions, creating potential interoperability issues for international transit technology standards.
The European Union, through its Electronic Communications Committee (ECC), has designated different frequency ranges, focusing on the 26 GHz band as a pioneer band for 5G applications including transit systems. This regulatory divergence necessitates region-specific hardware configurations and protocol adaptations for transit technology providers operating globally.
License requirements present another critical consideration, with many jurisdictions implementing a hybrid approach that combines licensed and unlicensed spectrum access. Transit authorities must secure appropriate spectrum licenses, which often involve substantial financial investments and compliance with stringent technical specifications to prevent interference with existing services.
Interference management constitutes a paramount concern in dense urban environments where multiple wireless systems operate in proximity. The propagation characteristics of mmWave signals, while limiting range, also provide natural isolation that can be leveraged for frequency reuse in transit corridors. Regulatory frameworks increasingly mandate sophisticated interference mitigation techniques, including dynamic spectrum access and cognitive radio capabilities.
Emerging regulatory trends indicate a shift toward more flexible spectrum sharing models that could benefit transit applications. Concepts such as Citizens Broadband Radio Service (CBRS)-style three-tiered access frameworks are being considered for certain mmWave bands, potentially creating more affordable spectrum access options for public transit agencies with limited budgets.
International harmonization efforts through organizations like the International Telecommunication Union (ITU) aim to establish common frequency allocations and technical standards for mmWave applications. The World Radiocommunication Conference (WRC) proceedings increasingly address spectrum needs for intelligent transportation systems, though complete global alignment remains a distant goal.
For urban transit implementations, securing regulatory approval requires comprehensive electromagnetic compatibility studies demonstrating that mmWave systems will not disrupt existing services. This process typically involves extensive field testing and documentation, adding significant lead time to deployment schedules and requiring specialized regulatory expertise that many transit agencies currently lack.
The European Union, through its Electronic Communications Committee (ECC), has designated different frequency ranges, focusing on the 26 GHz band as a pioneer band for 5G applications including transit systems. This regulatory divergence necessitates region-specific hardware configurations and protocol adaptations for transit technology providers operating globally.
License requirements present another critical consideration, with many jurisdictions implementing a hybrid approach that combines licensed and unlicensed spectrum access. Transit authorities must secure appropriate spectrum licenses, which often involve substantial financial investments and compliance with stringent technical specifications to prevent interference with existing services.
Interference management constitutes a paramount concern in dense urban environments where multiple wireless systems operate in proximity. The propagation characteristics of mmWave signals, while limiting range, also provide natural isolation that can be leveraged for frequency reuse in transit corridors. Regulatory frameworks increasingly mandate sophisticated interference mitigation techniques, including dynamic spectrum access and cognitive radio capabilities.
Emerging regulatory trends indicate a shift toward more flexible spectrum sharing models that could benefit transit applications. Concepts such as Citizens Broadband Radio Service (CBRS)-style three-tiered access frameworks are being considered for certain mmWave bands, potentially creating more affordable spectrum access options for public transit agencies with limited budgets.
International harmonization efforts through organizations like the International Telecommunication Union (ITU) aim to establish common frequency allocations and technical standards for mmWave applications. The World Radiocommunication Conference (WRC) proceedings increasingly address spectrum needs for intelligent transportation systems, though complete global alignment remains a distant goal.
For urban transit implementations, securing regulatory approval requires comprehensive electromagnetic compatibility studies demonstrating that mmWave systems will not disrupt existing services. This process typically involves extensive field testing and documentation, adding significant lead time to deployment schedules and requiring specialized regulatory expertise that many transit agencies currently lack.
Unlock deeper insights with Patsnap Eureka Quick Research — get a full tech report to explore trends and direct your research. Try now!
Generate Your Research Report Instantly with AI Agent
Supercharge your innovation with Patsnap Eureka AI Agent Platform!







