Occlusive Dressing Use In Sports Medicine: Performance And Safety
AUG 21, 20259 MIN READ
Generate Your Research Report Instantly with AI Agent
Patsnap Eureka helps you evaluate technical feasibility & market potential.
Sports Medicine Occlusive Dressing Background
Occlusive dressings have emerged as a significant innovation in sports medicine, revolutionizing the management of athletic injuries and wound care. These specialized dressings create a moist, protected environment that promotes faster healing and reduces the risk of infection. The concept of occlusive dressings dates back to the 1960s when researchers first observed the benefits of keeping wounds moist. However, their application in sports medicine has gained prominence over the past two decades.
The primary function of occlusive dressings is to create a barrier between the wound and the external environment. This barrier not only protects against contaminants but also maintains an optimal moisture level, which is crucial for cellular activities involved in the healing process. In sports medicine, where rapid recovery and return to play are paramount, these dressings have proven particularly valuable.
The evolution of occlusive dressings in sports medicine has been driven by the unique demands of athletic environments. Athletes require dressings that can withstand intense physical activity, perspiration, and frequent movement. This has led to the development of advanced materials and designs that offer superior adhesion, flexibility, and durability while maintaining their occlusive properties.
One of the key advantages of occlusive dressings in sports medicine is their ability to reduce healing time. By maintaining a moist wound environment, these dressings facilitate faster cell migration and proliferation, leading to quicker tissue repair. This is particularly beneficial for athletes who need to return to training or competition as soon as possible.
Moreover, occlusive dressings have shown efficacy in managing a wide range of sports-related injuries, including abrasions, lacerations, blisters, and post-surgical wounds. They are also effective in preventing friction-related injuries, making them popular for preventive use in high-risk areas prone to blistering or chafing.
The adoption of occlusive dressings in sports medicine has been further propelled by advancements in material science. Modern occlusive dressings incorporate materials like hydrocolloids, hydrogels, and polyurethane films, each offering specific benefits for different types of wounds and athletic applications. These materials not only provide occlusion but also offer additional features such as absorption of excess exudate, pain relief, and even antimicrobial properties.
As the field of sports medicine continues to evolve, the role of occlusive dressings is expanding. Research is ongoing to develop "smart" occlusive dressings that can monitor wound healing progress, detect early signs of infection, or deliver targeted therapies. These innovations promise to further enhance the performance and safety aspects of occlusive dressings in sports medicine.
The primary function of occlusive dressings is to create a barrier between the wound and the external environment. This barrier not only protects against contaminants but also maintains an optimal moisture level, which is crucial for cellular activities involved in the healing process. In sports medicine, where rapid recovery and return to play are paramount, these dressings have proven particularly valuable.
The evolution of occlusive dressings in sports medicine has been driven by the unique demands of athletic environments. Athletes require dressings that can withstand intense physical activity, perspiration, and frequent movement. This has led to the development of advanced materials and designs that offer superior adhesion, flexibility, and durability while maintaining their occlusive properties.
One of the key advantages of occlusive dressings in sports medicine is their ability to reduce healing time. By maintaining a moist wound environment, these dressings facilitate faster cell migration and proliferation, leading to quicker tissue repair. This is particularly beneficial for athletes who need to return to training or competition as soon as possible.
Moreover, occlusive dressings have shown efficacy in managing a wide range of sports-related injuries, including abrasions, lacerations, blisters, and post-surgical wounds. They are also effective in preventing friction-related injuries, making them popular for preventive use in high-risk areas prone to blistering or chafing.
The adoption of occlusive dressings in sports medicine has been further propelled by advancements in material science. Modern occlusive dressings incorporate materials like hydrocolloids, hydrogels, and polyurethane films, each offering specific benefits for different types of wounds and athletic applications. These materials not only provide occlusion but also offer additional features such as absorption of excess exudate, pain relief, and even antimicrobial properties.
As the field of sports medicine continues to evolve, the role of occlusive dressings is expanding. Research is ongoing to develop "smart" occlusive dressings that can monitor wound healing progress, detect early signs of infection, or deliver targeted therapies. These innovations promise to further enhance the performance and safety aspects of occlusive dressings in sports medicine.
Market Analysis for Sports Medicine Dressings
The sports medicine dressing market has experienced significant growth in recent years, driven by the increasing participation in sports activities and the rising awareness of sports-related injuries. This market segment is characterized by a diverse range of products, including occlusive dressings, which have gained prominence due to their ability to create an optimal healing environment for wounds and injuries.
The global sports medicine market, which encompasses dressings and other related products, was valued at approximately $7.2 billion in 2020 and is projected to reach $10.8 billion by 2026, growing at a CAGR of 6.8% during the forecast period. Within this broader market, occlusive dressings for sports medicine applications are expected to witness substantial growth due to their effectiveness in managing wounds and preventing infections in athletic settings.
Key factors driving the demand for sports medicine dressings, particularly occlusive dressings, include the rising incidence of sports injuries, growing awareness of the importance of proper wound care in athletic performance, and advancements in dressing technologies. The increasing adoption of minimally invasive surgical procedures in sports medicine has also contributed to the market expansion, as these procedures often require specialized dressings for post-operative care.
Geographically, North America dominates the sports medicine dressing market, followed by Europe and Asia-Pacific. The United States, in particular, holds a significant market share due to its large sports industry and high healthcare expenditure. However, emerging economies in Asia-Pacific and Latin America are expected to witness rapid growth in the coming years, driven by increasing sports participation and improving healthcare infrastructure.
The market is segmented based on product type, application, and end-user. Occlusive dressings represent a growing segment within the broader sports medicine dressing market, with applications ranging from wound management to performance enhancement. These dressings are particularly valued for their ability to maintain a moist wound environment, promote faster healing, and provide a barrier against external contaminants.
Key players in the sports medicine dressing market include multinational corporations such as 3M Company, Smith & Nephew, and Johnson & Johnson, as well as specialized sports medicine companies like DJO Global and Össur. These companies are investing heavily in research and development to introduce innovative products that address the specific needs of athletes and sports medicine professionals.
Despite the positive growth outlook, the market faces challenges such as the high cost of advanced dressings and the need for specialized training in their application. Additionally, the COVID-19 pandemic has temporarily impacted the market due to the postponement of sports events and reduced athletic activities. However, the long-term prospects remain strong as sports activities resume and the focus on athlete health and performance continues to grow.
The global sports medicine market, which encompasses dressings and other related products, was valued at approximately $7.2 billion in 2020 and is projected to reach $10.8 billion by 2026, growing at a CAGR of 6.8% during the forecast period. Within this broader market, occlusive dressings for sports medicine applications are expected to witness substantial growth due to their effectiveness in managing wounds and preventing infections in athletic settings.
Key factors driving the demand for sports medicine dressings, particularly occlusive dressings, include the rising incidence of sports injuries, growing awareness of the importance of proper wound care in athletic performance, and advancements in dressing technologies. The increasing adoption of minimally invasive surgical procedures in sports medicine has also contributed to the market expansion, as these procedures often require specialized dressings for post-operative care.
Geographically, North America dominates the sports medicine dressing market, followed by Europe and Asia-Pacific. The United States, in particular, holds a significant market share due to its large sports industry and high healthcare expenditure. However, emerging economies in Asia-Pacific and Latin America are expected to witness rapid growth in the coming years, driven by increasing sports participation and improving healthcare infrastructure.
The market is segmented based on product type, application, and end-user. Occlusive dressings represent a growing segment within the broader sports medicine dressing market, with applications ranging from wound management to performance enhancement. These dressings are particularly valued for their ability to maintain a moist wound environment, promote faster healing, and provide a barrier against external contaminants.
Key players in the sports medicine dressing market include multinational corporations such as 3M Company, Smith & Nephew, and Johnson & Johnson, as well as specialized sports medicine companies like DJO Global and Össur. These companies are investing heavily in research and development to introduce innovative products that address the specific needs of athletes and sports medicine professionals.
Despite the positive growth outlook, the market faces challenges such as the high cost of advanced dressings and the need for specialized training in their application. Additionally, the COVID-19 pandemic has temporarily impacted the market due to the postponement of sports events and reduced athletic activities. However, the long-term prospects remain strong as sports activities resume and the focus on athlete health and performance continues to grow.
Current Challenges in Occlusive Dressing Technology
Despite the widespread use of occlusive dressings in sports medicine, several challenges persist in their technology and application. One of the primary issues is the balance between moisture retention and breathability. While occlusive dressings are designed to maintain a moist wound environment, excessive moisture can lead to maceration of the surrounding skin, potentially compromising the healing process and increasing the risk of infection.
Another significant challenge is the adhesive properties of occlusive dressings. The adhesive must be strong enough to keep the dressing in place during intense physical activity, yet gentle enough to avoid skin damage upon removal. This is particularly crucial in sports medicine, where athletes may need frequent dressing changes or adjustments. Current adhesive technologies often struggle to meet both these requirements simultaneously, leading to either premature dressing detachment or painful removal experiences.
Durability and flexibility remain ongoing concerns in occlusive dressing technology. Sports-related injuries often occur in areas of high movement and friction, such as joints or high-impact zones. Existing dressings may not always withstand the rigorous demands of athletic activities, leading to premature wear, tearing, or loss of occlusive properties. This not only compromises wound healing but also increases the frequency of dressing changes, which can be both time-consuming and costly.
The issue of biocompatibility presents another challenge. While most modern occlusive dressings are designed to be hypoallergenic, some athletes may still experience adverse reactions or sensitivities to certain materials used in these dressings. This necessitates the development of more universally tolerated materials that maintain the beneficial properties of occlusive dressings without triggering allergic responses.
Furthermore, there is a growing demand for "smart" occlusive dressings that can provide real-time monitoring of wound healing progress. Current technology is limited in its ability to integrate sensors or indicators that can track factors such as moisture levels, pH, or the presence of infection-causing bacteria without compromising the dressing's occlusive properties. The development of such advanced dressings requires overcoming significant technical hurdles in materials science and miniaturization of sensing technologies.
Lastly, the environmental impact of disposable occlusive dressings is becoming an increasing concern. Many current dressings are not biodegradable or easily recyclable, contributing to medical waste. The challenge lies in developing eco-friendly alternatives that maintain the same level of performance and safety as traditional occlusive dressings, while also being cost-effective and compliant with medical regulations.
Another significant challenge is the adhesive properties of occlusive dressings. The adhesive must be strong enough to keep the dressing in place during intense physical activity, yet gentle enough to avoid skin damage upon removal. This is particularly crucial in sports medicine, where athletes may need frequent dressing changes or adjustments. Current adhesive technologies often struggle to meet both these requirements simultaneously, leading to either premature dressing detachment or painful removal experiences.
Durability and flexibility remain ongoing concerns in occlusive dressing technology. Sports-related injuries often occur in areas of high movement and friction, such as joints or high-impact zones. Existing dressings may not always withstand the rigorous demands of athletic activities, leading to premature wear, tearing, or loss of occlusive properties. This not only compromises wound healing but also increases the frequency of dressing changes, which can be both time-consuming and costly.
The issue of biocompatibility presents another challenge. While most modern occlusive dressings are designed to be hypoallergenic, some athletes may still experience adverse reactions or sensitivities to certain materials used in these dressings. This necessitates the development of more universally tolerated materials that maintain the beneficial properties of occlusive dressings without triggering allergic responses.
Furthermore, there is a growing demand for "smart" occlusive dressings that can provide real-time monitoring of wound healing progress. Current technology is limited in its ability to integrate sensors or indicators that can track factors such as moisture levels, pH, or the presence of infection-causing bacteria without compromising the dressing's occlusive properties. The development of such advanced dressings requires overcoming significant technical hurdles in materials science and miniaturization of sensing technologies.
Lastly, the environmental impact of disposable occlusive dressings is becoming an increasing concern. Many current dressings are not biodegradable or easily recyclable, contributing to medical waste. The challenge lies in developing eco-friendly alternatives that maintain the same level of performance and safety as traditional occlusive dressings, while also being cost-effective and compliant with medical regulations.
Existing Occlusive Dressing Solutions for Athletes
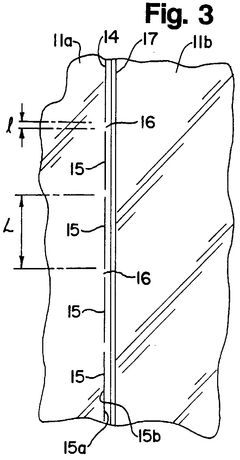
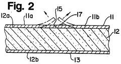
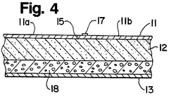
01 Moisture management and wound healing
Occlusive dressings are designed to maintain a moist wound environment, which promotes faster healing and reduces the risk of infection. These dressings create a barrier that prevents moisture loss from the wound while allowing oxygen to penetrate. This environment supports cell migration, proliferation, and the formation of new tissue, ultimately accelerating the healing process.- Moisture management and wound healing: Occlusive dressings are designed to maintain a moist wound environment, which promotes faster healing and reduces the risk of infection. These dressings create a barrier that prevents moisture loss from the wound while allowing oxygen to penetrate. This environment facilitates cell migration, enhances autolytic debridement, and supports the formation of new tissue.
- Adhesive properties and skin protection: Advanced occlusive dressings incorporate adhesive technologies that provide secure attachment to the skin while minimizing trauma upon removal. These adhesives are designed to be gentle on the skin, reducing the risk of irritation or damage to the surrounding healthy tissue. Some dressings also include skin-friendly materials that help maintain the integrity of the periwound area.
- Breathability and infection control: Modern occlusive dressings are engineered to be semi-permeable, allowing for gas exchange while maintaining a barrier against external contaminants. This breathability helps prevent maceration of the wound and surrounding skin while reducing the risk of bacterial colonization. Some dressings incorporate antimicrobial agents to further enhance infection control.
- Absorption and exudate management: Occlusive dressings with advanced absorption capabilities effectively manage wound exudate, maintaining an optimal moisture balance. These dressings can absorb excess fluid while preventing the wound bed from drying out. Some designs incorporate multiple layers or special materials to enhance fluid handling and distribution, reducing the risk of maceration and promoting healing.
- Visibility and monitoring: Innovative occlusive dressings feature transparent or semi-transparent materials that allow for wound observation without removing the dressing. This design enables healthcare professionals to monitor the healing progress, detect early signs of infection, and assess the need for dressing changes without disturbing the wound environment. Some dressings incorporate indicators that signal when a change is necessary.
02 Adhesive properties and skin protection
Advanced occlusive dressings incorporate adhesive technologies that provide secure attachment to the skin while minimizing trauma upon removal. These adhesives are designed to be gentle on the skin, reducing the risk of irritation or damage to the surrounding healthy tissue. Some dressings also feature silicone-based adhesives that allow for painless removal and repositioning.Expand Specific Solutions03 Breathability and infection control
Modern occlusive dressings are engineered to be semi-permeable, allowing for gas exchange while maintaining a barrier against external contaminants. This breathability helps prevent maceration of the surrounding skin and reduces the risk of bacterial growth. Some dressings incorporate antimicrobial agents to further enhance infection control properties.Expand Specific Solutions04 Absorption and exudate management
Occlusive dressings with advanced absorption capabilities effectively manage wound exudate, maintaining an optimal moisture balance. These dressings often feature multiple layers, including an absorbent core that can lock away excess fluid. This design helps prevent leakage and reduces the frequency of dressing changes, improving patient comfort and reducing the risk of maceration.Expand Specific Solutions05 Transparency and wound monitoring
Some occlusive dressings are designed with transparency features that allow for visual inspection of the wound without removing the dressing. This capability enables healthcare professionals to monitor wound healing progress, detect early signs of infection, and make informed decisions about dressing changes. Transparent dressings also reduce the need for frequent dressing removals, minimizing disruption to the healing process.Expand Specific Solutions
Key Players in Sports Medicine Dressing Industry
The occlusive dressing market in sports medicine is in a growth phase, driven by increasing awareness of advanced wound care techniques and rising sports-related injuries. The market size is expanding, with a projected CAGR of 6-8% over the next five years. Technologically, occlusive dressings are evolving, with companies like 3M Innovative Properties Co., Mölnlycke Health Care AB, and Coloplast A/S leading innovation. These firms are developing advanced materials and designs to enhance performance and safety. Emerging players such as Worldwide Innovative Healthcare, Inc. and ViOptix, Inc. are introducing novel technologies, intensifying competition and driving further advancements in occlusive dressing applications for sports medicine.
3M Innovative Properties Co.
Technical Solution: 3M has developed advanced occlusive dressings specifically for sports medicine applications. Their technology incorporates breathable film barriers that maintain a moist wound environment while allowing oxygen exchange. The dressings utilize proprietary adhesive technologies that provide strong adherence during physical activity, yet allow for gentle removal to minimize skin trauma. 3M's occlusive dressings also incorporate antimicrobial agents to reduce infection risk in sports-related wounds[1]. The company has conducted extensive clinical trials demonstrating improved healing rates and reduced scarring compared to traditional dressings[2]. Their latest innovations include smart dressings with embedded sensors to monitor wound healing progress and alert athletes/medical staff when dressing changes are needed[3].
Strengths: Strong adhesion during activity, antimicrobial properties, clinically proven efficacy. Weaknesses: May be more expensive than basic dressings, requires proper application technique for optimal performance.
Mölnlycke Health Care, AB.
Technical Solution: Mölnlycke has pioneered the use of Safetac technology in their occlusive dressings for sports medicine. This silicone-based adhesive technology minimizes pain and trauma during dressing changes while maintaining a secure seal. Their dressings feature a multi-layered design that optimizes moisture balance and promotes faster healing[4]. Mölnlycke's products incorporate a transparent film that allows for easy wound monitoring without removing the dressing. The company has also developed specialized shapes and sizes tailored for different body areas commonly injured in sports[5]. Recent innovations include dressings with controlled release of analgesics to manage pain associated with sports injuries[6].
Strengths: Painless removal, optimized moisture control, specialized designs for sports injuries. Weaknesses: May have higher initial cost, requires education on proper use for maximum benefit.
Innovations in Occlusive Dressing Materials
Occlusive dressing with release sheet having extended tabs
PatentInactiveUS5998694A
Innovation
- A hydrocolloid-type occlusive dressing with a release sheet composed of sections meeting along a line defined by alternating slits and connecting segments, where the segments maintain the edges in abutting relation until removal, and extended tabs are provided for easy separation without contacting the barrier layer.
Novel Occlusive Dressing
PatentInactiveUS20070244421A1
Innovation
- A transparent, elliptical or circular bandage with a one-way flutter valve housed in a rigid casing, allowing fluid and air escape while preventing ingress, and featuring a collection bag and irrigation system, ensuring easy application and effective pressure management.
Safety Regulations for Medical Dressings in Sports
Safety regulations for medical dressings in sports are crucial to ensure the well-being of athletes and maintain the integrity of sports competitions. These regulations are typically established by governing bodies such as sports federations, medical associations, and regulatory agencies. The primary focus is on ensuring that occlusive dressings used in sports medicine meet stringent safety standards and do not provide unfair advantages to athletes.
One of the key aspects of safety regulations is the requirement for biocompatibility testing. Occlusive dressings must undergo rigorous testing to ensure they do not cause adverse reactions when in contact with the skin. This includes evaluations for skin irritation, sensitization, and cytotoxicity. Materials used in these dressings must be hypoallergenic and non-toxic to minimize the risk of allergic reactions or other complications.
Sterility is another critical factor addressed by safety regulations. Occlusive dressings used in sports medicine must be manufactured and packaged under sterile conditions to prevent the introduction of pathogens. Regulations often specify sterilization methods and shelf-life requirements to maintain the sterility of the dressings until use.
Breathability and moisture management are also important considerations in safety regulations. While occlusive dressings are designed to create a barrier, they must still allow for some degree of gas exchange to prevent maceration of the skin. Regulations may specify minimum levels of moisture vapor transmission rate (MVTR) to ensure adequate breathability.
Adhesive properties of occlusive dressings are subject to regulatory scrutiny as well. The adhesives used must be strong enough to keep the dressing in place during physical activity but gentle enough to avoid skin damage upon removal. Regulations often include guidelines for adhesive strength and removal force to balance these requirements.
Performance enhancement concerns are addressed in safety regulations to maintain fair play in sports. Dressings must not contain any substances that could artificially enhance an athlete's performance or mask the use of prohibited substances. This includes restrictions on the incorporation of stimulants, analgesics, or other performance-enhancing compounds into the dressing materials.
Transparency in labeling and documentation is a key component of safety regulations. Manufacturers must provide clear information about the composition, intended use, and potential risks associated with their occlusive dressings. This includes detailed instructions for application, removal, and disposal, as well as any contraindications or precautions.
Regulatory bodies also establish protocols for post-market surveillance and adverse event reporting. This ensures that any safety issues that arise after a product has been approved for use can be quickly identified and addressed. Manufacturers are typically required to maintain records of complaints and adverse events, and to report serious incidents to the relevant authorities.
One of the key aspects of safety regulations is the requirement for biocompatibility testing. Occlusive dressings must undergo rigorous testing to ensure they do not cause adverse reactions when in contact with the skin. This includes evaluations for skin irritation, sensitization, and cytotoxicity. Materials used in these dressings must be hypoallergenic and non-toxic to minimize the risk of allergic reactions or other complications.
Sterility is another critical factor addressed by safety regulations. Occlusive dressings used in sports medicine must be manufactured and packaged under sterile conditions to prevent the introduction of pathogens. Regulations often specify sterilization methods and shelf-life requirements to maintain the sterility of the dressings until use.
Breathability and moisture management are also important considerations in safety regulations. While occlusive dressings are designed to create a barrier, they must still allow for some degree of gas exchange to prevent maceration of the skin. Regulations may specify minimum levels of moisture vapor transmission rate (MVTR) to ensure adequate breathability.
Adhesive properties of occlusive dressings are subject to regulatory scrutiny as well. The adhesives used must be strong enough to keep the dressing in place during physical activity but gentle enough to avoid skin damage upon removal. Regulations often include guidelines for adhesive strength and removal force to balance these requirements.
Performance enhancement concerns are addressed in safety regulations to maintain fair play in sports. Dressings must not contain any substances that could artificially enhance an athlete's performance or mask the use of prohibited substances. This includes restrictions on the incorporation of stimulants, analgesics, or other performance-enhancing compounds into the dressing materials.
Transparency in labeling and documentation is a key component of safety regulations. Manufacturers must provide clear information about the composition, intended use, and potential risks associated with their occlusive dressings. This includes detailed instructions for application, removal, and disposal, as well as any contraindications or precautions.
Regulatory bodies also establish protocols for post-market surveillance and adverse event reporting. This ensures that any safety issues that arise after a product has been approved for use can be quickly identified and addressed. Manufacturers are typically required to maintain records of complaints and adverse events, and to report serious incidents to the relevant authorities.
Environmental Impact of Occlusive Dressings
The environmental impact of occlusive dressings in sports medicine is an increasingly important consideration as sustainability becomes a key focus across industries. These dressings, while effective for wound care and performance enhancement, can contribute to environmental concerns if not properly managed.
One of the primary environmental issues associated with occlusive dressings is their disposal. Many of these dressings are single-use products, often made from synthetic materials that are not biodegradable. When discarded, they can contribute to landfill waste and potentially harm ecosystems if not disposed of correctly. The production of these dressings also involves the use of petroleum-based materials, which raises concerns about resource depletion and carbon footprint.
However, advancements in materials science are beginning to address these environmental challenges. Some manufacturers are now developing biodegradable occlusive dressings made from natural materials such as cellulose or alginate. These eco-friendly alternatives can decompose naturally, reducing their long-term environmental impact. Additionally, research is being conducted on reusable occlusive dressings that can be sterilized and applied multiple times, potentially reducing waste significantly.
The packaging of occlusive dressings is another area of environmental concern. Traditional packaging often includes multiple layers of plastic and paper, contributing to excess waste. To mitigate this, some companies are adopting minimalist packaging designs and using recycled or recyclable materials. This shift not only reduces waste but also decreases the carbon footprint associated with manufacturing and transportation.
Water pollution is a less obvious but significant environmental impact of occlusive dressings. The adhesives used in these dressings can contain chemicals that, when washed off or disposed of improperly, may enter water systems. This can potentially harm aquatic life and affect water quality. To address this, research is ongoing into developing water-soluble adhesives that break down harmlessly in the environment.
The lifecycle assessment of occlusive dressings is becoming an important tool for manufacturers and healthcare providers. By analyzing the environmental impact from production to disposal, companies can identify areas for improvement and develop more sustainable practices. This holistic approach is leading to innovations in manufacturing processes, such as using renewable energy sources and implementing closed-loop recycling systems.
As the sports medicine industry continues to grow, the demand for occlusive dressings is likely to increase. This presents both a challenge and an opportunity for environmental stewardship. By prioritizing sustainability in the design, production, and disposal of these dressings, the industry can significantly reduce its environmental footprint while maintaining the high performance standards required in sports medicine.
One of the primary environmental issues associated with occlusive dressings is their disposal. Many of these dressings are single-use products, often made from synthetic materials that are not biodegradable. When discarded, they can contribute to landfill waste and potentially harm ecosystems if not disposed of correctly. The production of these dressings also involves the use of petroleum-based materials, which raises concerns about resource depletion and carbon footprint.
However, advancements in materials science are beginning to address these environmental challenges. Some manufacturers are now developing biodegradable occlusive dressings made from natural materials such as cellulose or alginate. These eco-friendly alternatives can decompose naturally, reducing their long-term environmental impact. Additionally, research is being conducted on reusable occlusive dressings that can be sterilized and applied multiple times, potentially reducing waste significantly.
The packaging of occlusive dressings is another area of environmental concern. Traditional packaging often includes multiple layers of plastic and paper, contributing to excess waste. To mitigate this, some companies are adopting minimalist packaging designs and using recycled or recyclable materials. This shift not only reduces waste but also decreases the carbon footprint associated with manufacturing and transportation.
Water pollution is a less obvious but significant environmental impact of occlusive dressings. The adhesives used in these dressings can contain chemicals that, when washed off or disposed of improperly, may enter water systems. This can potentially harm aquatic life and affect water quality. To address this, research is ongoing into developing water-soluble adhesives that break down harmlessly in the environment.
The lifecycle assessment of occlusive dressings is becoming an important tool for manufacturers and healthcare providers. By analyzing the environmental impact from production to disposal, companies can identify areas for improvement and develop more sustainable practices. This holistic approach is leading to innovations in manufacturing processes, such as using renewable energy sources and implementing closed-loop recycling systems.
As the sports medicine industry continues to grow, the demand for occlusive dressings is likely to increase. This presents both a challenge and an opportunity for environmental stewardship. By prioritizing sustainability in the design, production, and disposal of these dressings, the industry can significantly reduce its environmental footprint while maintaining the high performance standards required in sports medicine.
Unlock deeper insights with Patsnap Eureka Quick Research — get a full tech report to explore trends and direct your research. Try now!
Generate Your Research Report Instantly with AI Agent
Supercharge your innovation with Patsnap Eureka AI Agent Platform!







