Wireless hydrogel-based biosensing systems
OCT 14, 20259 MIN READ
Generate Your Research Report Instantly with AI Agent
Patsnap Eureka helps you evaluate technical feasibility & market potential.
Hydrogel Biosensors Background and Objectives
Hydrogel-based biosensing systems represent a revolutionary advancement in the field of biomedical engineering and healthcare monitoring. These systems have evolved significantly over the past two decades, transitioning from simple hydrogel matrices to sophisticated wireless sensing platforms capable of real-time physiological monitoring. The integration of hydrogels—three-dimensional networks of hydrophilic polymers—with electronic components has created a unique class of biosensors that combine biocompatibility with high sensitivity and specificity.
The historical trajectory of hydrogel biosensors began with conventional enzyme-immobilized systems in the early 2000s, progressing through significant milestones including the development of stimuli-responsive hydrogels, integration with microelectronics, and most recently, the incorporation of wireless communication capabilities. This evolution has been driven by advances in materials science, particularly in the development of conductive hydrogels and the miniaturization of electronic components.
Current technological trends point toward increasing sophistication in wireless hydrogel biosensing systems, with particular emphasis on improving power efficiency, enhancing signal processing capabilities, and expanding the range of detectable biomarkers. The convergence of flexible electronics, Internet of Things (IoT) technologies, and advanced hydrogel chemistry is accelerating innovation in this domain.
The primary objectives of research in wireless hydrogel-based biosensing systems encompass several critical dimensions. First, there is a pressing need to develop systems with enhanced longevity and stability under physiological conditions, addressing challenges related to biofouling and material degradation. Second, improving wireless power transfer efficiency and data transmission reliability remains crucial for enabling truly autonomous operation.
Additionally, research aims to expand the functionality of these systems by incorporating multi-analyte detection capabilities, thereby providing comprehensive physiological monitoring from a single platform. This includes the development of hydrogel formulations capable of simultaneously detecting various biomarkers such as glucose, lactate, electrolytes, and specific disease markers.
Another significant objective involves miniaturization and form factor optimization to enable less invasive or non-invasive monitoring solutions. This includes the development of implantable microsensors, wearable patch-type sensors, and even ingestible sensing systems, all leveraging the unique properties of hydrogels.
Finally, research is increasingly focused on translational aspects, addressing challenges related to manufacturing scalability, regulatory compliance, and clinical validation. The ultimate goal is to bridge the gap between laboratory prototypes and commercially viable medical devices that can transform patient care through continuous, wireless physiological monitoring.
The historical trajectory of hydrogel biosensors began with conventional enzyme-immobilized systems in the early 2000s, progressing through significant milestones including the development of stimuli-responsive hydrogels, integration with microelectronics, and most recently, the incorporation of wireless communication capabilities. This evolution has been driven by advances in materials science, particularly in the development of conductive hydrogels and the miniaturization of electronic components.
Current technological trends point toward increasing sophistication in wireless hydrogel biosensing systems, with particular emphasis on improving power efficiency, enhancing signal processing capabilities, and expanding the range of detectable biomarkers. The convergence of flexible electronics, Internet of Things (IoT) technologies, and advanced hydrogel chemistry is accelerating innovation in this domain.
The primary objectives of research in wireless hydrogel-based biosensing systems encompass several critical dimensions. First, there is a pressing need to develop systems with enhanced longevity and stability under physiological conditions, addressing challenges related to biofouling and material degradation. Second, improving wireless power transfer efficiency and data transmission reliability remains crucial for enabling truly autonomous operation.
Additionally, research aims to expand the functionality of these systems by incorporating multi-analyte detection capabilities, thereby providing comprehensive physiological monitoring from a single platform. This includes the development of hydrogel formulations capable of simultaneously detecting various biomarkers such as glucose, lactate, electrolytes, and specific disease markers.
Another significant objective involves miniaturization and form factor optimization to enable less invasive or non-invasive monitoring solutions. This includes the development of implantable microsensors, wearable patch-type sensors, and even ingestible sensing systems, all leveraging the unique properties of hydrogels.
Finally, research is increasingly focused on translational aspects, addressing challenges related to manufacturing scalability, regulatory compliance, and clinical validation. The ultimate goal is to bridge the gap between laboratory prototypes and commercially viable medical devices that can transform patient care through continuous, wireless physiological monitoring.
Market Analysis for Wireless Biosensing Applications
The wireless hydrogel-based biosensing systems market is experiencing robust growth, driven by increasing demand for continuous health monitoring solutions and advancements in wearable technology. The global biosensors market was valued at approximately $25.5 billion in 2022 and is projected to reach $41.8 billion by 2028, with wireless hydrogel-based systems representing an emerging segment with significant growth potential. This represents a compound annual growth rate (CAGR) of 8.3% during the forecast period.
Healthcare applications dominate the market demand, particularly in diabetes management, where continuous glucose monitoring systems have revolutionized patient care. The aging global population and rising prevalence of chronic diseases are creating sustained demand for non-invasive, real-time monitoring solutions. According to the International Diabetes Federation, over 537 million adults were living with diabetes in 2021, a number expected to rise to 783 million by 2045, creating substantial market opportunities.
Beyond healthcare, environmental monitoring and food safety applications are emerging as significant market segments. The ability of hydrogel-based sensors to detect environmental pollutants, pathogens, and toxins with high sensitivity is driving adoption in these sectors. The global environmental sensing market is expected to reach $3.2 billion by 2027, with biosensors playing an increasingly important role.
Consumer wellness represents another rapidly expanding market segment, with fitness tracking and personalized health monitoring gaining popularity. The global wearable technology market, valued at $61.3 billion in 2022, is expected to grow at a CAGR of 14.6% through 2030, with biosensing capabilities becoming a key differentiator in next-generation devices.
Geographically, North America currently leads the market with approximately 38% share, followed by Europe at 29% and Asia-Pacific at 24%. However, the Asia-Pacific region is expected to witness the fastest growth due to increasing healthcare expenditure, growing awareness about preventive healthcare, and rapid technological adoption in countries like China, Japan, and South Korea.
Key market trends include miniaturization of sensing devices, integration with smartphone applications, and development of multi-analyte detection capabilities. The convergence of biosensing with Internet of Things (IoT) technology is creating new market opportunities, particularly in remote patient monitoring and smart healthcare systems. Industry analysts predict that wireless, hydrogel-based systems will increasingly replace traditional sensing methods due to their superior biocompatibility, flexibility, and potential for continuous, non-invasive monitoring.
Healthcare applications dominate the market demand, particularly in diabetes management, where continuous glucose monitoring systems have revolutionized patient care. The aging global population and rising prevalence of chronic diseases are creating sustained demand for non-invasive, real-time monitoring solutions. According to the International Diabetes Federation, over 537 million adults were living with diabetes in 2021, a number expected to rise to 783 million by 2045, creating substantial market opportunities.
Beyond healthcare, environmental monitoring and food safety applications are emerging as significant market segments. The ability of hydrogel-based sensors to detect environmental pollutants, pathogens, and toxins with high sensitivity is driving adoption in these sectors. The global environmental sensing market is expected to reach $3.2 billion by 2027, with biosensors playing an increasingly important role.
Consumer wellness represents another rapidly expanding market segment, with fitness tracking and personalized health monitoring gaining popularity. The global wearable technology market, valued at $61.3 billion in 2022, is expected to grow at a CAGR of 14.6% through 2030, with biosensing capabilities becoming a key differentiator in next-generation devices.
Geographically, North America currently leads the market with approximately 38% share, followed by Europe at 29% and Asia-Pacific at 24%. However, the Asia-Pacific region is expected to witness the fastest growth due to increasing healthcare expenditure, growing awareness about preventive healthcare, and rapid technological adoption in countries like China, Japan, and South Korea.
Key market trends include miniaturization of sensing devices, integration with smartphone applications, and development of multi-analyte detection capabilities. The convergence of biosensing with Internet of Things (IoT) technology is creating new market opportunities, particularly in remote patient monitoring and smart healthcare systems. Industry analysts predict that wireless, hydrogel-based systems will increasingly replace traditional sensing methods due to their superior biocompatibility, flexibility, and potential for continuous, non-invasive monitoring.
Current Challenges in Hydrogel-Based Wireless Sensing
Despite significant advancements in hydrogel-based wireless biosensing systems, several critical challenges continue to impede their widespread adoption and clinical translation. The integration of hydrogels with wireless communication technologies presents unique difficulties at the material-electronic interface. Hydrogels, being predominantly water-based, create hostile environments for conventional electronics, leading to rapid degradation of sensing components and unreliable signal transmission.
Signal attenuation remains a persistent obstacle, particularly when these sensors are implanted in deep tissues. The human body's high water content significantly dampens electromagnetic signals, resulting in reduced transmission range and data quality. This challenge is further compounded when hydrogels absorb bodily fluids, altering their dielectric properties and consequently affecting signal propagation characteristics.
Power management represents another formidable challenge. Current wireless hydrogel sensors either rely on bulky batteries that compromise the form factor and biocompatibility, or depend on external power sources that limit mobility and user comfort. Energy harvesting solutions integrated with hydrogels have shown promise but struggle with generating sufficient power for continuous operation while maintaining the mechanical and biochemical properties of the hydrogel matrix.
Biocompatibility and biofouling issues continue to plague long-term implantable hydrogel sensors. While hydrogels themselves offer excellent biocompatibility, the incorporation of electronic components often triggers foreign body responses. Protein adsorption and cellular encapsulation progressively diminish sensor performance, with most current systems showing significant drift after just weeks of implantation.
Stability and calibration drift present substantial hurdles for clinical applications. Environmental factors such as pH fluctuations, temperature variations, and mechanical deformations alter hydrogel properties, necessitating complex calibration algorithms. The lack of standardized calibration protocols across different physiological conditions hampers reliable quantitative measurements in real-world scenarios.
Manufacturing scalability remains underdeveloped, with most current fabrication approaches being laboratory-focused and difficult to translate to mass production. The integration of hydrogels with electronic components typically involves multi-step processes requiring precise control over environmental conditions, limiting commercial viability.
Data security and privacy concerns have emerged as wireless biosensors become more sophisticated. The continuous transmission of potentially sensitive health data raises significant regulatory and ethical questions that must be addressed before widespread clinical implementation can occur. Current encryption methods often demand computational resources that exceed the capabilities of miniaturized, low-power hydrogel-based systems.
Signal attenuation remains a persistent obstacle, particularly when these sensors are implanted in deep tissues. The human body's high water content significantly dampens electromagnetic signals, resulting in reduced transmission range and data quality. This challenge is further compounded when hydrogels absorb bodily fluids, altering their dielectric properties and consequently affecting signal propagation characteristics.
Power management represents another formidable challenge. Current wireless hydrogel sensors either rely on bulky batteries that compromise the form factor and biocompatibility, or depend on external power sources that limit mobility and user comfort. Energy harvesting solutions integrated with hydrogels have shown promise but struggle with generating sufficient power for continuous operation while maintaining the mechanical and biochemical properties of the hydrogel matrix.
Biocompatibility and biofouling issues continue to plague long-term implantable hydrogel sensors. While hydrogels themselves offer excellent biocompatibility, the incorporation of electronic components often triggers foreign body responses. Protein adsorption and cellular encapsulation progressively diminish sensor performance, with most current systems showing significant drift after just weeks of implantation.
Stability and calibration drift present substantial hurdles for clinical applications. Environmental factors such as pH fluctuations, temperature variations, and mechanical deformations alter hydrogel properties, necessitating complex calibration algorithms. The lack of standardized calibration protocols across different physiological conditions hampers reliable quantitative measurements in real-world scenarios.
Manufacturing scalability remains underdeveloped, with most current fabrication approaches being laboratory-focused and difficult to translate to mass production. The integration of hydrogels with electronic components typically involves multi-step processes requiring precise control over environmental conditions, limiting commercial viability.
Data security and privacy concerns have emerged as wireless biosensors become more sophisticated. The continuous transmission of potentially sensitive health data raises significant regulatory and ethical questions that must be addressed before widespread clinical implementation can occur. Current encryption methods often demand computational resources that exceed the capabilities of miniaturized, low-power hydrogel-based systems.
Existing Wireless Hydrogel Sensing Architectures
01 Hydrogel compositions for wireless biosensing
Specific hydrogel compositions can be formulated for wireless biosensing applications. These compositions typically include polymeric networks with high water content that can incorporate sensing elements while maintaining biocompatibility. The hydrogels can be designed with specific mechanical properties, swelling behaviors, and response characteristics to detect various analytes. These materials serve as the foundation for creating flexible, wearable biosensors that can transmit data wirelessly.- Hydrogel compositions for wireless biosensing: Specific hydrogel compositions can be formulated for wireless biosensing applications. These compositions typically include biocompatible polymers that can be functionalized with sensing elements while maintaining wireless signal transmission capabilities. The hydrogels can be designed with specific mechanical properties, swelling behaviors, and response characteristics to detect various biomarkers. These materials form the foundation of wireless hydrogel-based biosensors by providing a matrix that can incorporate both biological recognition elements and signal transduction components.
- Integration of wireless communication systems with hydrogel sensors: Wireless communication systems can be integrated with hydrogel-based sensing platforms to enable remote monitoring of biological parameters. These systems typically include miniaturized antennas, RFID tags, or Bluetooth modules embedded within or attached to the hydrogel matrix. The wireless components allow for data transmission without physical connections, making these biosensors suitable for implantable or wearable applications. The integration techniques focus on maintaining sensor sensitivity while ensuring reliable wireless signal transmission through biological tissues.
- Stimuli-responsive hydrogels for biosensing applications: Stimuli-responsive hydrogels can change their properties in response to specific biological or environmental triggers, making them ideal for biosensing applications. These smart hydrogels can respond to changes in pH, temperature, glucose levels, or specific biomolecules by altering their volume, optical properties, or electrical conductivity. When combined with wireless transmission capabilities, these responsive materials enable real-time monitoring of physiological parameters. The design of these hydrogels focuses on specificity, sensitivity, and reversibility of the response to ensure accurate biosensing.
- Implantable wireless hydrogel biosensors for continuous health monitoring: Implantable wireless hydrogel biosensors can be designed for continuous monitoring of health parameters within the body. These biosensors are engineered to be biocompatible, minimizing foreign body responses while maintaining long-term functionality. The hydrogel matrix provides a favorable microenvironment for biological recognition elements while allowing analyte diffusion. Wireless capabilities enable data transmission through tissue, allowing for non-invasive monitoring after implantation. These systems are particularly valuable for monitoring chronic conditions that require continuous assessment of biomarkers.
- Fabrication methods for wireless hydrogel-based biosensors: Various fabrication techniques can be employed to create wireless hydrogel-based biosensors with precise structures and functionalities. These methods include 3D printing, photolithography, microfluidic approaches, and self-assembly processes that enable the creation of complex sensor architectures. The fabrication processes focus on integrating wireless components with hydrogel matrices while preserving the activity of biological sensing elements. Advanced manufacturing approaches allow for miniaturization, improved sensitivity, and reproducibility of these biosensors, making them suitable for various biomedical applications.
02 Integration of wireless communication systems with hydrogel sensors
Wireless communication systems can be integrated with hydrogel-based biosensors to enable remote monitoring of physiological parameters. These systems typically include miniaturized antennas, transmitters, or RFID components embedded within or attached to the hydrogel matrix. The wireless components allow for data transmission to external receivers without the need for physical connections, making them suitable for implantable or wearable health monitoring applications.Expand Specific Solutions03 Stimuli-responsive hydrogels for biosensing applications
Stimuli-responsive hydrogels can change their properties in response to specific environmental triggers such as pH, temperature, or the presence of certain biomolecules. These smart materials can be engineered to produce detectable signals when target analytes are present, which can then be wirelessly transmitted. The responsive nature of these hydrogels makes them particularly valuable for continuous monitoring of biomarkers in medical diagnostics and personalized healthcare.Expand Specific Solutions04 Fabrication methods for wireless hydrogel biosensors
Various fabrication techniques can be employed to create wireless hydrogel-based biosensors, including 3D printing, photolithography, and microfluidic approaches. These methods allow for precise control over the sensor architecture, incorporation of wireless components, and integration of biorecognition elements. Advanced manufacturing processes enable the production of miniaturized, flexible sensors that can conform to biological tissues while maintaining wireless functionality.Expand Specific Solutions05 Biomedical applications of wireless hydrogel biosensors
Wireless hydrogel-based biosensors have numerous biomedical applications, including continuous glucose monitoring, wound healing assessment, drug delivery monitoring, and detection of disease biomarkers. These sensors can be designed for external wear or implantation, offering real-time data on physiological parameters. The combination of biocompatible hydrogels with wireless technology enables long-term monitoring with minimal invasiveness, improving patient comfort and healthcare outcomes.Expand Specific Solutions
Leading Companies and Research Institutions
Wireless hydrogel-based biosensing systems are currently in an early growth phase, with the market expanding rapidly due to increasing healthcare demands for continuous monitoring solutions. The global market size is projected to reach significant value by 2030, driven by applications in wearable health monitoring and point-of-care diagnostics. Technologically, the field shows moderate maturity with key players at different development stages. Academic institutions like University of California, Zhejiang University, and Georgia Tech lead fundamental research, while companies such as Philips, FUJIFILM, and Nanowear are advancing commercial applications. Edwards Lifesciences and STMicroelectronics are integrating these technologies into medical devices, while startups like GrollTex are developing specialized materials. The ecosystem demonstrates a healthy balance between established corporations and emerging innovators, with cross-sector collaborations accelerating technological advancement.
The Regents of the University of California
Technical Solution: The University of California has developed advanced wireless hydrogel-based biosensing systems that integrate flexible electronics with biocompatible hydrogels. Their technology utilizes a multi-layered approach where conductive nanomaterials (such as graphene, carbon nanotubes, or silver nanowires) are embedded within hydrogel matrices to create stretchable, self-healing sensors. These sensors can detect multiple biomarkers simultaneously through impedance measurements, electrochemical sensing, or optical transduction mechanisms. The UC system employs near-field communication (NFC) protocols for wireless data transmission, allowing continuous monitoring without physical connections. Their latest platforms incorporate energy harvesting components that utilize body movement or thermal gradients to power the sensing system, eliminating the need for batteries in some applications. The hydrogels are engineered with antifouling properties to maintain long-term stability in biological environments, addressing one of the key challenges in implantable biosensors.
Strengths: Superior biocompatibility through customized hydrogel formulations that minimize foreign body response; excellent mechanical compatibility with soft tissues; and advanced wireless power transfer capabilities that enable truly untethered operation. Weaknesses: Limited sensing range compared to wired alternatives; potential signal interference in complex biological environments; and challenges in achieving consistent mass production with uniform sensing properties.
National University of Singapore
Technical Solution: National University of Singapore has pioneered wireless hydrogel-based biosensing systems that leverage ionic conductivity rather than electronic conductivity. Their proprietary technology incorporates a double-network hydrogel structure with one network providing mechanical stability and the other facilitating ion transport for sensing capabilities. The system utilizes a unique wireless interrogation method based on magnetic induction, where changes in the hydrogel's properties (due to target analyte binding) alter the resonant frequency of an embedded LC circuit. This allows for completely passive operation without onboard power sources. NUS researchers have developed specialized hydrogel formulations with molecularly imprinted polymers (MIPs) that provide highly specific recognition sites for target biomarkers, enhancing selectivity in complex biological fluids. Their recent innovations include self-healing capabilities through dynamic covalent chemistry, allowing the sensors to recover from mechanical damage and extend operational lifetime in vivo.
Strengths: Exceptional sensitivity to ionic changes in physiological environments; completely passive operation without batteries; and minimal foreign body response due to biomimetic material properties. Weaknesses: Limited detection range (typically within 5-10 cm from the reader device); potential interference from environmental factors affecting hydrogel properties; and challenges in achieving consistent manufacturing at scale.
Key Patents and Scientific Breakthroughs
RF biosensing system using an RF sensor with microneedle
PatentPendingUS20240324960A1
Innovation
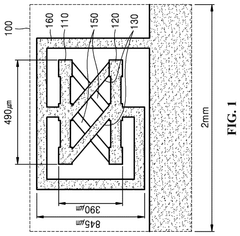
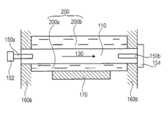
- An RF biosensing system utilizing glucose-responsive hydrogel-based microneedles that minimally invasively contact the skin, using resonant frequencies to detect and transmit sensing signals for wireless glucose monitoring, enabling the measurement of glucose concentrations through changes in capacitance and resonant frequencies.
Waveguide core and biosensor
PatentInactiveUS7831126B2
Innovation
- A waveguide core made of hydrogel serves as an immobilization matrix with embedded receptor molecules, allowing for efficient light interaction and detection, where the hydrogel waveguide core has a higher refractive index than the surrounding medium, enabling maximum receptor molecule participation and expanded interaction zones.
Biocompatibility and Safety Considerations
Biocompatibility remains a critical concern in the development of wireless hydrogel-based biosensing systems, as these devices operate in direct contact with biological tissues and fluids. The hydrogel matrices used in these biosensors must demonstrate minimal immunogenicity and toxicity while maintaining their functional properties over extended periods. Recent studies have shown that natural polymer-based hydrogels, such as those derived from alginate, chitosan, and hyaluronic acid, generally exhibit superior biocompatibility compared to their synthetic counterparts, though they often lack mechanical stability.
The degradation profiles of hydrogel materials present another significant consideration. Ideally, the degradation rate should match the intended duration of sensor functionality, preventing premature failure while avoiding the need for surgical removal of non-degradable components. Current research focuses on developing hydrogels with controllable degradation kinetics through the incorporation of enzymatically cleavable crosslinks or hydrolytically susceptible bonds.
Foreign body responses pose substantial challenges to long-term biosensor performance. Upon implantation, protein adsorption and subsequent inflammatory cell recruitment can lead to fibrous encapsulation, which impedes analyte diffusion and compromises sensor accuracy. Surface modifications using anti-fouling coatings, such as polyethylene glycol (PEG) or zwitterionic polymers, have demonstrated promising results in mitigating these responses, though complete prevention remains elusive.
Wireless power transmission safety represents another critical aspect of these systems. The electromagnetic radiation used for power transfer must comply with specific absorption rate (SAR) limits established by regulatory bodies to prevent tissue heating and potential damage. Recent advancements in resonant inductive coupling and ultrasonic power transfer technologies have significantly improved energy efficiency while reducing exposure risks.
Sterilization compatibility presents unique challenges for hydrogel-based sensors. Common sterilization methods such as autoclaving, gamma irradiation, and ethylene oxide treatment can compromise hydrogel integrity and sensor functionality. Research into alternative approaches, including supercritical CO2 sterilization and cold plasma treatment, shows promise for preserving sensor performance while ensuring sterility.
Regulatory pathways for these innovative biosensing systems remain complex and evolving. The FDA and similar international bodies typically classify implantable biosensors as Class III medical devices, requiring extensive preclinical and clinical testing to demonstrate safety and efficacy. Manufacturers must navigate these regulatory frameworks while addressing biocompatibility concerns throughout the development process, from material selection to final device validation.
The degradation profiles of hydrogel materials present another significant consideration. Ideally, the degradation rate should match the intended duration of sensor functionality, preventing premature failure while avoiding the need for surgical removal of non-degradable components. Current research focuses on developing hydrogels with controllable degradation kinetics through the incorporation of enzymatically cleavable crosslinks or hydrolytically susceptible bonds.
Foreign body responses pose substantial challenges to long-term biosensor performance. Upon implantation, protein adsorption and subsequent inflammatory cell recruitment can lead to fibrous encapsulation, which impedes analyte diffusion and compromises sensor accuracy. Surface modifications using anti-fouling coatings, such as polyethylene glycol (PEG) or zwitterionic polymers, have demonstrated promising results in mitigating these responses, though complete prevention remains elusive.
Wireless power transmission safety represents another critical aspect of these systems. The electromagnetic radiation used for power transfer must comply with specific absorption rate (SAR) limits established by regulatory bodies to prevent tissue heating and potential damage. Recent advancements in resonant inductive coupling and ultrasonic power transfer technologies have significantly improved energy efficiency while reducing exposure risks.
Sterilization compatibility presents unique challenges for hydrogel-based sensors. Common sterilization methods such as autoclaving, gamma irradiation, and ethylene oxide treatment can compromise hydrogel integrity and sensor functionality. Research into alternative approaches, including supercritical CO2 sterilization and cold plasma treatment, shows promise for preserving sensor performance while ensuring sterility.
Regulatory pathways for these innovative biosensing systems remain complex and evolving. The FDA and similar international bodies typically classify implantable biosensors as Class III medical devices, requiring extensive preclinical and clinical testing to demonstrate safety and efficacy. Manufacturers must navigate these regulatory frameworks while addressing biocompatibility concerns throughout the development process, from material selection to final device validation.
Energy Harvesting Solutions for Long-term Operation
Wireless hydrogel-based biosensing systems face significant challenges in maintaining long-term operation due to their power requirements. Energy harvesting technologies offer promising solutions to address this limitation by converting ambient energy into electrical power, enabling self-sustainable operation of these biosensors.
Photovoltaic energy harvesting represents one of the most mature approaches, with recent advancements in flexible and biocompatible solar cells achieving conversion efficiencies of 10-15% under optimal conditions. These systems can be integrated with hydrogel-based sensors to provide consistent power in well-lit environments, though their performance decreases significantly in low-light conditions such as implantable applications.
Piezoelectric energy harvesting leverages mechanical deformations to generate electrical energy, making it particularly suitable for biosensors exposed to regular mechanical stimuli. Recent developments in PVDF (polyvinylidene fluoride) and PZT (lead zirconate titanate) nanocomposites have demonstrated power densities of 1-5 μW/cm² when integrated with hydrogel matrices, sufficient for intermittent sensing and data transmission.
Thermoelectric generators (TEGs) utilize temperature differentials between the body and environment to generate power. Miniaturized TEGs incorporated into hydrogel platforms have shown capabilities of harvesting 10-50 μW/cm² from body heat, making them viable for continuous low-power operation of biosensing systems.
Biofuel cells represent a particularly promising approach for hydrogel-based biosensors, as they can directly utilize biochemicals present in physiological fluids. Glucose-powered biofuel cells have demonstrated sustained power outputs of 50-200 μW/cm² in laboratory conditions, potentially enabling continuous operation in glucose-rich environments such as interstitial fluid or blood.
Hybrid energy harvesting systems that combine multiple modalities show the greatest potential for ensuring reliable long-term operation. Recent research demonstrates that integrating piezoelectric elements with biofuel cells in hydrogel matrices can provide complementary power generation capabilities, maintaining sensor function across varying environmental conditions.
Energy storage remains a critical component of these systems, with recent advances in biocompatible supercapacitors and thin-film batteries enabling efficient energy buffering. Hydrogel-based ionic supercapacitors have achieved energy densities of 1-5 mWh/cm³ while maintaining the flexibility and biocompatibility required for integration with biosensing platforms.
Wireless power transfer technologies, particularly near-field resonant coupling systems, offer an alternative approach for powering implantable hydrogel biosensors, achieving power transfer efficiencies of 30-60% across tissue-like media at distances of 1-5 cm, though concerns about tissue heating and limited range remain significant challenges.
Photovoltaic energy harvesting represents one of the most mature approaches, with recent advancements in flexible and biocompatible solar cells achieving conversion efficiencies of 10-15% under optimal conditions. These systems can be integrated with hydrogel-based sensors to provide consistent power in well-lit environments, though their performance decreases significantly in low-light conditions such as implantable applications.
Piezoelectric energy harvesting leverages mechanical deformations to generate electrical energy, making it particularly suitable for biosensors exposed to regular mechanical stimuli. Recent developments in PVDF (polyvinylidene fluoride) and PZT (lead zirconate titanate) nanocomposites have demonstrated power densities of 1-5 μW/cm² when integrated with hydrogel matrices, sufficient for intermittent sensing and data transmission.
Thermoelectric generators (TEGs) utilize temperature differentials between the body and environment to generate power. Miniaturized TEGs incorporated into hydrogel platforms have shown capabilities of harvesting 10-50 μW/cm² from body heat, making them viable for continuous low-power operation of biosensing systems.
Biofuel cells represent a particularly promising approach for hydrogel-based biosensors, as they can directly utilize biochemicals present in physiological fluids. Glucose-powered biofuel cells have demonstrated sustained power outputs of 50-200 μW/cm² in laboratory conditions, potentially enabling continuous operation in glucose-rich environments such as interstitial fluid or blood.
Hybrid energy harvesting systems that combine multiple modalities show the greatest potential for ensuring reliable long-term operation. Recent research demonstrates that integrating piezoelectric elements with biofuel cells in hydrogel matrices can provide complementary power generation capabilities, maintaining sensor function across varying environmental conditions.
Energy storage remains a critical component of these systems, with recent advances in biocompatible supercapacitors and thin-film batteries enabling efficient energy buffering. Hydrogel-based ionic supercapacitors have achieved energy densities of 1-5 mWh/cm³ while maintaining the flexibility and biocompatibility required for integration with biosensing platforms.
Wireless power transfer technologies, particularly near-field resonant coupling systems, offer an alternative approach for powering implantable hydrogel biosensors, achieving power transfer efficiencies of 30-60% across tissue-like media at distances of 1-5 cm, though concerns about tissue heating and limited range remain significant challenges.
Unlock deeper insights with Patsnap Eureka Quick Research — get a full tech report to explore trends and direct your research. Try now!
Generate Your Research Report Instantly with AI Agent
Supercharge your innovation with Patsnap Eureka AI Agent Platform!







