The role of isotonic solutions in ex vivo organ perfusion
AUG 19, 20259 MIN READ
Generate Your Research Report Instantly with AI Agent
Patsnap Eureka helps you evaluate technical feasibility & market potential.
Ex Vivo Perfusion Background and Objectives
Ex vivo organ perfusion has emerged as a groundbreaking technique in the field of transplantation medicine, offering a novel approach to organ preservation and assessment. This method involves maintaining organs outside the body in a near-physiological state, allowing for extended preservation times and improved organ quality. The development of ex vivo perfusion techniques has been driven by the critical shortage of donor organs and the need to expand the donor pool by utilizing marginal organs that would otherwise be discarded.
The evolution of ex vivo perfusion technology can be traced back to the early 20th century, with significant advancements occurring in the past few decades. Initially, static cold storage was the primary method of organ preservation. However, this approach had limitations in terms of preservation time and the ability to assess organ viability. The introduction of machine perfusion in the 1960s marked a significant milestone, paving the way for more sophisticated ex vivo perfusion systems.
Recent years have witnessed remarkable progress in ex vivo perfusion techniques, with the development of organ-specific perfusion systems for the heart, lungs, liver, and kidneys. These systems aim to mimic physiological conditions more closely, providing organs with oxygen, nutrients, and other essential factors to maintain cellular function and metabolism.
The primary objectives of ex vivo organ perfusion are multifaceted. Firstly, it aims to extend the preservation time of donor organs, allowing for better logistical management and increasing the geographical range for organ allocation. Secondly, it provides a platform for comprehensive organ assessment, enabling clinicians to evaluate function and viability before transplantation. This capability is particularly crucial for marginal organs, which may be rejuvenated or reconditioned during the perfusion process.
Furthermore, ex vivo perfusion offers unique opportunities for therapeutic interventions. The isolated organ environment allows for targeted treatments, such as gene therapy, drug delivery, or immunomodulation, which could potentially improve graft outcomes post-transplantation. Additionally, this technology holds promise for reducing ischemia-reperfusion injury, a significant cause of early graft dysfunction.
In the context of isotonic solutions, their role in ex vivo organ perfusion is fundamental. These solutions are designed to maintain osmotic balance and provide essential nutrients and electrolytes to the perfused organ. The composition of perfusion solutions has evolved significantly, with current formulations aiming to closely mimic the physiological environment of the specific organ being perfused.
As research in this field progresses, the objectives of ex vivo perfusion continue to expand. Future goals include developing more sophisticated perfusion systems, optimizing perfusion protocols for different organ types, and exploring the potential of ex vivo perfusion in regenerative medicine and bioengineering applications. The ultimate aim is to increase the quantity and quality of transplantable organs, thereby improving patient outcomes and addressing the global organ shortage crisis.
The evolution of ex vivo perfusion technology can be traced back to the early 20th century, with significant advancements occurring in the past few decades. Initially, static cold storage was the primary method of organ preservation. However, this approach had limitations in terms of preservation time and the ability to assess organ viability. The introduction of machine perfusion in the 1960s marked a significant milestone, paving the way for more sophisticated ex vivo perfusion systems.
Recent years have witnessed remarkable progress in ex vivo perfusion techniques, with the development of organ-specific perfusion systems for the heart, lungs, liver, and kidneys. These systems aim to mimic physiological conditions more closely, providing organs with oxygen, nutrients, and other essential factors to maintain cellular function and metabolism.
The primary objectives of ex vivo organ perfusion are multifaceted. Firstly, it aims to extend the preservation time of donor organs, allowing for better logistical management and increasing the geographical range for organ allocation. Secondly, it provides a platform for comprehensive organ assessment, enabling clinicians to evaluate function and viability before transplantation. This capability is particularly crucial for marginal organs, which may be rejuvenated or reconditioned during the perfusion process.
Furthermore, ex vivo perfusion offers unique opportunities for therapeutic interventions. The isolated organ environment allows for targeted treatments, such as gene therapy, drug delivery, or immunomodulation, which could potentially improve graft outcomes post-transplantation. Additionally, this technology holds promise for reducing ischemia-reperfusion injury, a significant cause of early graft dysfunction.
In the context of isotonic solutions, their role in ex vivo organ perfusion is fundamental. These solutions are designed to maintain osmotic balance and provide essential nutrients and electrolytes to the perfused organ. The composition of perfusion solutions has evolved significantly, with current formulations aiming to closely mimic the physiological environment of the specific organ being perfused.
As research in this field progresses, the objectives of ex vivo perfusion continue to expand. Future goals include developing more sophisticated perfusion systems, optimizing perfusion protocols for different organ types, and exploring the potential of ex vivo perfusion in regenerative medicine and bioengineering applications. The ultimate aim is to increase the quantity and quality of transplantable organs, thereby improving patient outcomes and addressing the global organ shortage crisis.
Isotonic Solutions Market Analysis
The isotonic solutions market for ex vivo organ perfusion has experienced significant growth in recent years, driven by the increasing demand for organ transplantation and advancements in preservation techniques. This market segment is closely tied to the broader organ preservation solutions market, which is projected to reach substantial value in the coming years.
The demand for isotonic solutions in ex vivo organ perfusion is primarily fueled by the rising incidence of organ failure and the growing number of organ transplant procedures worldwide. Factors such as an aging population, lifestyle-related diseases, and improvements in transplantation techniques contribute to this increased demand. Additionally, the development of more sophisticated ex vivo perfusion systems has expanded the potential applications of isotonic solutions in organ preservation and assessment.
Geographically, North America currently dominates the isotonic solutions market for ex vivo organ perfusion, followed by Europe. This leadership is attributed to well-established healthcare infrastructure, higher healthcare expenditure, and a greater number of organ transplant procedures in these regions. However, the Asia-Pacific region is expected to witness the fastest growth in the coming years due to improving healthcare facilities, increasing awareness about organ donation, and rising disposable incomes.
The market is characterized by the presence of both established players and new entrants, leading to intense competition and driving innovation in product development. Key market players are focusing on research and development activities to enhance the efficacy of their isotonic solutions and expand their product portfolios. Collaborations between academic institutions, research organizations, and industry players are also contributing to market growth by facilitating knowledge exchange and accelerating technological advancements.
One of the notable trends in the isotonic solutions market is the shift towards machine perfusion techniques, which offer superior organ preservation compared to traditional static cold storage methods. This trend is creating new opportunities for specialized isotonic solutions designed specifically for machine perfusion systems. Furthermore, there is growing interest in developing organ-specific perfusion solutions that cater to the unique physiological requirements of different organs, potentially opening new market segments.
Despite the positive growth outlook, the isotonic solutions market faces challenges such as the high cost of organ preservation solutions, stringent regulatory requirements, and limited organ donation rates in some regions. However, ongoing efforts to increase organ donation awareness, coupled with technological advancements in organ preservation techniques, are expected to mitigate these challenges and drive market growth in the long term.
The demand for isotonic solutions in ex vivo organ perfusion is primarily fueled by the rising incidence of organ failure and the growing number of organ transplant procedures worldwide. Factors such as an aging population, lifestyle-related diseases, and improvements in transplantation techniques contribute to this increased demand. Additionally, the development of more sophisticated ex vivo perfusion systems has expanded the potential applications of isotonic solutions in organ preservation and assessment.
Geographically, North America currently dominates the isotonic solutions market for ex vivo organ perfusion, followed by Europe. This leadership is attributed to well-established healthcare infrastructure, higher healthcare expenditure, and a greater number of organ transplant procedures in these regions. However, the Asia-Pacific region is expected to witness the fastest growth in the coming years due to improving healthcare facilities, increasing awareness about organ donation, and rising disposable incomes.
The market is characterized by the presence of both established players and new entrants, leading to intense competition and driving innovation in product development. Key market players are focusing on research and development activities to enhance the efficacy of their isotonic solutions and expand their product portfolios. Collaborations between academic institutions, research organizations, and industry players are also contributing to market growth by facilitating knowledge exchange and accelerating technological advancements.
One of the notable trends in the isotonic solutions market is the shift towards machine perfusion techniques, which offer superior organ preservation compared to traditional static cold storage methods. This trend is creating new opportunities for specialized isotonic solutions designed specifically for machine perfusion systems. Furthermore, there is growing interest in developing organ-specific perfusion solutions that cater to the unique physiological requirements of different organs, potentially opening new market segments.
Despite the positive growth outlook, the isotonic solutions market faces challenges such as the high cost of organ preservation solutions, stringent regulatory requirements, and limited organ donation rates in some regions. However, ongoing efforts to increase organ donation awareness, coupled with technological advancements in organ preservation techniques, are expected to mitigate these challenges and drive market growth in the long term.
Current Challenges in Organ Preservation
Organ preservation remains a critical challenge in transplantation medicine, with current techniques facing several limitations. The primary issue is the inevitable deterioration of organ quality during storage and transportation. Despite advances in preservation solutions and cooling methods, organs still suffer from ischemia-reperfusion injury, which can lead to delayed graft function or even organ failure post-transplantation.
One of the most pressing challenges is the limited preservation time for organs. Current static cold storage methods typically allow for only 4-6 hours for hearts and lungs, 12-18 hours for livers, and up to 24-36 hours for kidneys. This narrow window significantly restricts the geographical range for organ allocation and complicates logistics, often resulting in viable organs being discarded due to time constraints.
Another major hurdle is the inability to effectively assess organ viability during preservation. Current methods rely heavily on visual inspection and limited biomarker testing, which may not accurately reflect the organ's functional status. This uncertainty can lead to the use of suboptimal organs or the unnecessary discard of potentially viable ones.
The heterogeneity of organ donors also presents a significant challenge. Organs from extended criteria donors or donation after circulatory death (DCD) are particularly susceptible to preservation-related injuries. These organs often require more advanced preservation techniques to maintain their viability, yet current methods may not adequately address their specific needs.
Metabolic support during preservation is another area of concern. Traditional static cold storage methods essentially put organs in a state of suspended animation, which, while reducing metabolic demand, also limits the ability to provide nutrients and remove waste products. This can lead to cellular damage and compromised organ function upon reperfusion.
The lack of standardization in preservation protocols across different transplant centers adds another layer of complexity. Variations in preservation techniques and solutions can lead to inconsistent outcomes and make it difficult to compare results across institutions or in clinical trials.
Lastly, the financial and logistical challenges associated with more advanced preservation techniques, such as machine perfusion, hinder their widespread adoption. While these methods show promise in improving organ quality and extending preservation times, their high cost and complexity limit their use in many transplant centers, particularly in resource-constrained settings.
One of the most pressing challenges is the limited preservation time for organs. Current static cold storage methods typically allow for only 4-6 hours for hearts and lungs, 12-18 hours for livers, and up to 24-36 hours for kidneys. This narrow window significantly restricts the geographical range for organ allocation and complicates logistics, often resulting in viable organs being discarded due to time constraints.
Another major hurdle is the inability to effectively assess organ viability during preservation. Current methods rely heavily on visual inspection and limited biomarker testing, which may not accurately reflect the organ's functional status. This uncertainty can lead to the use of suboptimal organs or the unnecessary discard of potentially viable ones.
The heterogeneity of organ donors also presents a significant challenge. Organs from extended criteria donors or donation after circulatory death (DCD) are particularly susceptible to preservation-related injuries. These organs often require more advanced preservation techniques to maintain their viability, yet current methods may not adequately address their specific needs.
Metabolic support during preservation is another area of concern. Traditional static cold storage methods essentially put organs in a state of suspended animation, which, while reducing metabolic demand, also limits the ability to provide nutrients and remove waste products. This can lead to cellular damage and compromised organ function upon reperfusion.
The lack of standardization in preservation protocols across different transplant centers adds another layer of complexity. Variations in preservation techniques and solutions can lead to inconsistent outcomes and make it difficult to compare results across institutions or in clinical trials.
Lastly, the financial and logistical challenges associated with more advanced preservation techniques, such as machine perfusion, hinder their widespread adoption. While these methods show promise in improving organ quality and extending preservation times, their high cost and complexity limit their use in many transplant centers, particularly in resource-constrained settings.
Isotonic Solution Formulations
01 Composition of isotonic solutions
Isotonic solutions are formulated to have the same osmotic pressure as body fluids, typically containing a balance of electrolytes and other solutes. These solutions are designed to maintain cellular integrity and prevent osmotic shock when introduced into the body. Common components may include sodium chloride, potassium chloride, and glucose in specific concentrations to match physiological conditions.- Composition of isotonic solutions: Isotonic solutions are formulated to have the same osmotic pressure as body fluids, typically containing a balance of electrolytes and other solutes. These solutions are crucial in medical applications, including intravenous therapy and cell culture media. The composition often includes sodium chloride, potassium chloride, and other physiologically compatible substances to maintain cellular integrity and function.
- Medical applications of isotonic solutions: Isotonic solutions have diverse medical applications, including use in intravenous fluids, dialysis, wound irrigation, and ophthalmic preparations. They are essential for maintaining fluid balance, electrolyte levels, and cellular function in various medical procedures and treatments. These solutions are designed to minimize cellular stress and damage when introduced into the body.
- Isotonic solutions in cell culture and biotechnology: In biotechnology and cell culture applications, isotonic solutions play a crucial role in maintaining cell viability and function. They are used as growth media, cryopreservation solutions, and in various bioprocessing steps. The formulation of these solutions is tailored to specific cell types and experimental conditions to optimize cell growth, protein production, and other biological processes.
- Preparation and quality control of isotonic solutions: The preparation of isotonic solutions requires precise formulation and quality control measures to ensure consistency and safety. This includes careful selection and measurement of ingredients, pH adjustment, sterilization processes, and packaging considerations. Advanced analytical techniques are employed to verify the osmolality, electrolyte concentrations, and absence of contaminants in the final product.
- Novel approaches and innovations in isotonic solutions: Recent innovations in isotonic solutions focus on enhancing their functionality and applicability. This includes the development of balanced electrolyte solutions, incorporation of nutrients or therapeutic agents, and creation of specialized formulations for specific medical conditions or cell types. Research is also exploring the use of alternative solutes and advanced delivery systems to improve the efficacy and versatility of isotonic solutions.
02 Medical applications of isotonic solutions
Isotonic solutions have various medical applications, including intravenous fluid therapy, wound irrigation, and as a base for drug delivery. They are used in hospitals and clinical settings to rehydrate patients, maintain electrolyte balance, and as a vehicle for administering medications. These solutions are crucial in treating dehydration, shock, and other medical conditions requiring fluid replacement.Expand Specific Solutions03 Isotonic solutions in ophthalmology
In ophthalmology, isotonic solutions are used as eye drops and for contact lens care. These solutions are formulated to match the tonicity of tears, preventing irritation and maintaining ocular health. They may contain additional ingredients such as lubricants or preservatives to enhance their effectiveness and shelf life while ensuring compatibility with the delicate eye environment.Expand Specific Solutions04 Production and quality control of isotonic solutions
The production of isotonic solutions involves precise formulation and quality control measures to ensure consistency and safety. This includes careful selection and measurement of ingredients, sterile manufacturing processes, and rigorous testing for osmolality, pH, and microbial contamination. Advanced technologies and automated systems may be employed to maintain accuracy and efficiency in large-scale production.Expand Specific Solutions05 Innovative applications and delivery systems
Research is ongoing to develop new applications and delivery systems for isotonic solutions. This includes the creation of specialized formulations for specific medical conditions, novel packaging designs for improved storage and administration, and the integration of smart technologies for monitoring and controlling fluid delivery. These innovations aim to enhance the efficacy and user-friendliness of isotonic solutions in various healthcare settings.Expand Specific Solutions
Key Players in Organ Preservation
The field of ex vivo organ perfusion using isotonic solutions is in a growth phase, with increasing market size and technological advancements. The global market for organ preservation solutions is projected to expand significantly in the coming years, driven by the rising demand for organ transplantation. Companies like TransMedics, Inc. and Xvivo Perfusion AB are at the forefront, developing innovative perfusion systems and solutions. The technology's maturity varies across different organ types, with kidney and liver perfusion being more established. Research institutions such as Harvard College and University of California are contributing to the advancement of this technology, while pharmaceutical companies like Novartis AG and Bayer Pharma AG are exploring potential applications in drug development and testing.
TransMedics, Inc.
Technical Solution: TransMedics has developed the Organ Care System (OCS), a portable perfusion and monitoring system that maintains organs in a near-physiologic state. For ex vivo organ perfusion, they use a proprietary solution that mimics blood composition. This solution is designed to provide optimal oxygenation and nutrition to the organ during transport. The OCS platform allows for continuous assessment and optimization of organ function, potentially improving transplant outcomes[1][2]. Their isotonic solution is tailored for each organ type (heart, lung, liver) to meet specific metabolic needs and maintain cellular integrity during the ex vivo period[3].
Strengths: Organ-specific solutions, continuous monitoring capabilities, potential for improved organ viability. Weaknesses: System complexity, higher cost compared to traditional cold storage methods.
Xvivo Perfusion AB
Technical Solution: Xvivo Perfusion specializes in developing solutions and systems for organ preservation and evaluation. Their STEEN Solution is a key product for ex vivo lung perfusion (EVLP). This isotonic solution is designed to mimic human extracellular fluid, providing optimal conditions for lung assessment and reconditioning. The solution contains human serum albumin to maintain oncotic pressure, dextran for endothelial protection, and electrolytes to support cellular function[4]. Xvivo's approach allows for extended preservation times and the potential to recondition and evaluate organs that might otherwise be deemed unsuitable for transplantation[5]. They have also developed organ-specific solutions for heart and liver perfusion, expanding their portfolio in the ex vivo organ perfusion field[6].
Strengths: Specialized solutions for different organs, potential to increase donor pool by reconditioning marginal organs. Weaknesses: Requires specialized equipment and training, limited to specific organ types.
Innovations in Perfusate Composition
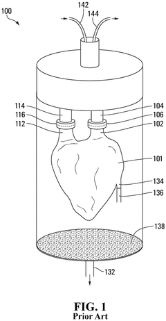
Organ preservation and/or perfusion solution
PatentPendingUS20230284612A1
Innovation
- An organ preservation and perfusion solution containing acetylated serum albumin, which is prepared by mixing serum albumin with an acetylating agent and incubating it to reduce glycation and protect the vascular endothelium, thereby maintaining organ integrity and function during prolonged perfusion.
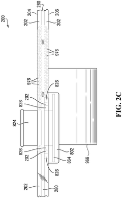
Device and kit for supporting and connecting an excised organ
PatentPendingEP4512245A2
Innovation
- A resilient and flexible sheet with a soft portion for organ support and a magnetic material-embedded portion for quick and secure fluid connection, allowing for easy reconfiguration without the need for suturing.
Regulatory Framework for Perfusion Solutions
The regulatory framework for perfusion solutions in ex vivo organ perfusion is a critical aspect of ensuring the safety and efficacy of this innovative medical procedure. Regulatory bodies, such as the Food and Drug Administration (FDA) in the United States and the European Medicines Agency (EMA) in Europe, have established guidelines and requirements for the development, manufacturing, and use of perfusion solutions.
These regulatory frameworks typically encompass several key areas. First, they address the composition and quality of perfusion solutions, requiring manufacturers to adhere to strict standards for purity, sterility, and stability. This includes detailed specifications for the types and concentrations of electrolytes, nutrients, and other components present in the solution.
Safety and efficacy testing is another crucial component of the regulatory process. Manufacturers must conduct extensive pre-clinical and clinical studies to demonstrate the safety profile of their perfusion solutions and their effectiveness in preserving organ function during ex vivo perfusion. These studies often involve animal models and human trials, with rigorous protocols for data collection and analysis.
The regulatory framework also covers the manufacturing process of perfusion solutions. Good Manufacturing Practices (GMP) must be followed to ensure consistent quality and safety. This includes requirements for facility design, equipment validation, personnel training, and quality control measures throughout the production process.
Labeling and packaging regulations are also an important consideration. Perfusion solutions must be clearly labeled with their composition, intended use, storage requirements, and expiration dates. Instructions for proper handling and administration must be provided to ensure safe and effective use by medical professionals.
Post-market surveillance is another critical aspect of the regulatory framework. Manufacturers are required to monitor the performance of their perfusion solutions in real-world clinical settings and report any adverse events or quality issues to the relevant regulatory authorities.
As the field of ex vivo organ perfusion continues to evolve, regulatory frameworks are adapting to keep pace with technological advancements. This includes considerations for novel components in perfusion solutions, such as oxygen carriers or organ-specific additives, which may require additional safety and efficacy evaluations.
These regulatory frameworks typically encompass several key areas. First, they address the composition and quality of perfusion solutions, requiring manufacturers to adhere to strict standards for purity, sterility, and stability. This includes detailed specifications for the types and concentrations of electrolytes, nutrients, and other components present in the solution.
Safety and efficacy testing is another crucial component of the regulatory process. Manufacturers must conduct extensive pre-clinical and clinical studies to demonstrate the safety profile of their perfusion solutions and their effectiveness in preserving organ function during ex vivo perfusion. These studies often involve animal models and human trials, with rigorous protocols for data collection and analysis.
The regulatory framework also covers the manufacturing process of perfusion solutions. Good Manufacturing Practices (GMP) must be followed to ensure consistent quality and safety. This includes requirements for facility design, equipment validation, personnel training, and quality control measures throughout the production process.
Labeling and packaging regulations are also an important consideration. Perfusion solutions must be clearly labeled with their composition, intended use, storage requirements, and expiration dates. Instructions for proper handling and administration must be provided to ensure safe and effective use by medical professionals.
Post-market surveillance is another critical aspect of the regulatory framework. Manufacturers are required to monitor the performance of their perfusion solutions in real-world clinical settings and report any adverse events or quality issues to the relevant regulatory authorities.
As the field of ex vivo organ perfusion continues to evolve, regulatory frameworks are adapting to keep pace with technological advancements. This includes considerations for novel components in perfusion solutions, such as oxygen carriers or organ-specific additives, which may require additional safety and efficacy evaluations.
Bioethical Considerations in Organ Preservation
The preservation and perfusion of organs for transplantation raise significant bioethical considerations that must be carefully addressed. One primary concern is the equitable allocation of preserved organs, ensuring fair distribution among recipients based on medical need and compatibility rather than socioeconomic factors. This requires transparent policies and oversight to prevent discrimination or favoritism in organ allocation.
Another crucial ethical issue is informed consent from both donors and recipients. Donors or their families must be fully informed about the preservation process and potential uses of the organ. Similarly, recipients should understand the risks and benefits associated with receiving an organ that has undergone ex vivo perfusion, including any potential impacts on organ quality or function.
The use of animal-derived products in perfusion solutions also presents ethical challenges. While these may enhance organ preservation, they raise concerns about animal welfare and potential cultural or religious objections from donors or recipients. Developing synthetic alternatives could help mitigate these issues.
Privacy and confidentiality of donor and recipient information is paramount in organ preservation and transplantation. Strict protocols must be in place to protect sensitive medical data and maintain anonymity where appropriate, balancing the need for traceability with individual privacy rights.
The development and testing of new preservation techniques, including isotonic solutions for ex vivo perfusion, must adhere to rigorous ethical standards in research. This includes ensuring proper oversight, minimizing risks to human subjects, and conducting animal studies in an ethical manner when necessary.
There are also broader societal implications to consider. Advances in organ preservation technology may influence public perception of organ donation and transplantation, potentially affecting donation rates. Clear communication about the benefits and limitations of these technologies is essential to maintain public trust and support for organ donation programs.
Lastly, the economic aspects of organ preservation raise ethical questions about resource allocation in healthcare. While improved preservation techniques may save lives, they also increase costs. Balancing the benefits of these technologies with equitable access to healthcare resources is a complex ethical challenge that requires ongoing dialogue and policy development.
Another crucial ethical issue is informed consent from both donors and recipients. Donors or their families must be fully informed about the preservation process and potential uses of the organ. Similarly, recipients should understand the risks and benefits associated with receiving an organ that has undergone ex vivo perfusion, including any potential impacts on organ quality or function.
The use of animal-derived products in perfusion solutions also presents ethical challenges. While these may enhance organ preservation, they raise concerns about animal welfare and potential cultural or religious objections from donors or recipients. Developing synthetic alternatives could help mitigate these issues.
Privacy and confidentiality of donor and recipient information is paramount in organ preservation and transplantation. Strict protocols must be in place to protect sensitive medical data and maintain anonymity where appropriate, balancing the need for traceability with individual privacy rights.
The development and testing of new preservation techniques, including isotonic solutions for ex vivo perfusion, must adhere to rigorous ethical standards in research. This includes ensuring proper oversight, minimizing risks to human subjects, and conducting animal studies in an ethical manner when necessary.
There are also broader societal implications to consider. Advances in organ preservation technology may influence public perception of organ donation and transplantation, potentially affecting donation rates. Clear communication about the benefits and limitations of these technologies is essential to maintain public trust and support for organ donation programs.
Lastly, the economic aspects of organ preservation raise ethical questions about resource allocation in healthcare. While improved preservation techniques may save lives, they also increase costs. Balancing the benefits of these technologies with equitable access to healthcare resources is a complex ethical challenge that requires ongoing dialogue and policy development.
Unlock deeper insights with Patsnap Eureka Quick Research — get a full tech report to explore trends and direct your research. Try now!
Generate Your Research Report Instantly with AI Agent
Supercharge your innovation with Patsnap Eureka AI Agent Platform!







