The Role of Selector Devices in Neuromorphic Crossbar Arrays.
SEP 2, 202510 MIN READ
Generate Your Research Report Instantly with AI Agent
Patsnap Eureka helps you evaluate technical feasibility & market potential.
Neuromorphic Computing Evolution and Objectives
Neuromorphic computing represents a paradigm shift in computational architecture, drawing inspiration from the structure and function of the human brain. This field has evolved significantly since its conceptual inception in the late 1980s when Carver Mead first proposed the idea of using analog circuits to mimic neurobiological architectures. The evolution trajectory has been marked by several key milestones, from simple neural network implementations to today's sophisticated brain-inspired computing systems capable of pattern recognition, learning, and adaptation.
The early 2000s witnessed the emergence of hardware implementations of spiking neural networks (SNNs), which more accurately replicate the brain's information processing mechanisms compared to traditional artificial neural networks. This period also saw the development of memristive devices, which became fundamental building blocks for neuromorphic systems due to their ability to mimic synaptic plasticity.
In recent years, crossbar array architectures have gained prominence as an efficient structural framework for neuromorphic computing. These arrays consist of perpendicular sets of conductive lines with memory elements at their intersections, enabling parallel processing and significantly reducing power consumption compared to conventional von Neumann architectures.
The integration of selector devices within these crossbar arrays represents a critical advancement in addressing challenges such as sneak path currents and crosstalk, which have historically limited the scalability and reliability of neuromorphic systems. Selector devices function as switches that control access to individual memory elements, ensuring precise signal routing and minimizing interference between adjacent elements.
The primary objectives of neuromorphic computing research center around developing systems that can process information with the efficiency, adaptability, and fault tolerance characteristic of biological neural networks. Specific goals include achieving ultra-low power consumption for edge computing applications, enabling on-chip learning capabilities, and developing architectures capable of handling complex cognitive tasks with minimal energy expenditure.
For selector devices in neuromorphic crossbar arrays specifically, the technical objectives include improving nonlinearity characteristics, reducing operational voltage requirements, enhancing endurance and reliability, and ensuring compatibility with existing CMOS fabrication processes. These advancements aim to overcome current limitations in density, speed, and energy efficiency that prevent neuromorphic systems from reaching their full potential in real-world applications.
The trajectory of neuromorphic computing is increasingly converging with developments in artificial intelligence, edge computing, and IoT technologies, positioning it as a potentially transformative approach for next-generation computing paradigms where energy efficiency and cognitive capabilities are paramount.
The early 2000s witnessed the emergence of hardware implementations of spiking neural networks (SNNs), which more accurately replicate the brain's information processing mechanisms compared to traditional artificial neural networks. This period also saw the development of memristive devices, which became fundamental building blocks for neuromorphic systems due to their ability to mimic synaptic plasticity.
In recent years, crossbar array architectures have gained prominence as an efficient structural framework for neuromorphic computing. These arrays consist of perpendicular sets of conductive lines with memory elements at their intersections, enabling parallel processing and significantly reducing power consumption compared to conventional von Neumann architectures.
The integration of selector devices within these crossbar arrays represents a critical advancement in addressing challenges such as sneak path currents and crosstalk, which have historically limited the scalability and reliability of neuromorphic systems. Selector devices function as switches that control access to individual memory elements, ensuring precise signal routing and minimizing interference between adjacent elements.
The primary objectives of neuromorphic computing research center around developing systems that can process information with the efficiency, adaptability, and fault tolerance characteristic of biological neural networks. Specific goals include achieving ultra-low power consumption for edge computing applications, enabling on-chip learning capabilities, and developing architectures capable of handling complex cognitive tasks with minimal energy expenditure.
For selector devices in neuromorphic crossbar arrays specifically, the technical objectives include improving nonlinearity characteristics, reducing operational voltage requirements, enhancing endurance and reliability, and ensuring compatibility with existing CMOS fabrication processes. These advancements aim to overcome current limitations in density, speed, and energy efficiency that prevent neuromorphic systems from reaching their full potential in real-world applications.
The trajectory of neuromorphic computing is increasingly converging with developments in artificial intelligence, edge computing, and IoT technologies, positioning it as a potentially transformative approach for next-generation computing paradigms where energy efficiency and cognitive capabilities are paramount.
Market Analysis for Brain-Inspired Computing Solutions
The brain-inspired computing market is experiencing significant growth, driven by the increasing demand for efficient processing of complex data patterns and the limitations of traditional von Neumann computing architectures. Current market valuations place neuromorphic computing at approximately $2.5 billion, with projections indicating a compound annual growth rate of 20-25% over the next five years, potentially reaching $7-8 billion by 2028.
Key market segments demonstrating strong demand include autonomous vehicles, where neuromorphic systems offer real-time pattern recognition capabilities critical for navigation and obstacle detection. The healthcare sector represents another substantial market, utilizing brain-inspired computing for medical imaging analysis, patient monitoring, and drug discovery processes that benefit from biomimetic pattern recognition.
Edge computing applications constitute a rapidly expanding segment, as neuromorphic architectures provide energy-efficient solutions for processing sensor data directly on devices. This addresses growing concerns about data privacy, latency, and bandwidth limitations in cloud-based processing models.
Market analysis reveals that selector devices in neuromorphic crossbar arrays represent a critical technological component driving adoption. These devices enable precise control of signal pathways within dense memory arrays, significantly reducing sneak path currents and improving overall system reliability. Organizations implementing these advanced selector technologies report 30-40% improvements in power efficiency and 50-60% reductions in computational latency compared to conventional computing approaches.
Regional market distribution shows North America leading with approximately 40% market share, followed by Asia-Pacific at 35%, with particularly strong growth in China, Japan, and South Korea. European markets account for 20% of global demand, with emerging economies contributing the remaining 5%.
Customer segmentation indicates three primary buyer categories: research institutions and universities (25%), technology corporations developing proprietary AI solutions (45%), and government/defense organizations (30%). Each segment demonstrates distinct requirements regarding performance metrics, power constraints, and integration capabilities.
Market barriers include high initial implementation costs, technical complexity requiring specialized expertise, and integration challenges with existing computing infrastructure. Additionally, standardization issues across different neuromorphic architectures limit interoperability and slow broader market adoption.
The competitive landscape features established semiconductor manufacturers expanding into neuromorphic solutions alongside specialized startups focused exclusively on brain-inspired computing architectures. Strategic partnerships between hardware developers and algorithm specialists are increasingly common, creating integrated solution ecosystems that address specific industry applications.
Key market segments demonstrating strong demand include autonomous vehicles, where neuromorphic systems offer real-time pattern recognition capabilities critical for navigation and obstacle detection. The healthcare sector represents another substantial market, utilizing brain-inspired computing for medical imaging analysis, patient monitoring, and drug discovery processes that benefit from biomimetic pattern recognition.
Edge computing applications constitute a rapidly expanding segment, as neuromorphic architectures provide energy-efficient solutions for processing sensor data directly on devices. This addresses growing concerns about data privacy, latency, and bandwidth limitations in cloud-based processing models.
Market analysis reveals that selector devices in neuromorphic crossbar arrays represent a critical technological component driving adoption. These devices enable precise control of signal pathways within dense memory arrays, significantly reducing sneak path currents and improving overall system reliability. Organizations implementing these advanced selector technologies report 30-40% improvements in power efficiency and 50-60% reductions in computational latency compared to conventional computing approaches.
Regional market distribution shows North America leading with approximately 40% market share, followed by Asia-Pacific at 35%, with particularly strong growth in China, Japan, and South Korea. European markets account for 20% of global demand, with emerging economies contributing the remaining 5%.
Customer segmentation indicates three primary buyer categories: research institutions and universities (25%), technology corporations developing proprietary AI solutions (45%), and government/defense organizations (30%). Each segment demonstrates distinct requirements regarding performance metrics, power constraints, and integration capabilities.
Market barriers include high initial implementation costs, technical complexity requiring specialized expertise, and integration challenges with existing computing infrastructure. Additionally, standardization issues across different neuromorphic architectures limit interoperability and slow broader market adoption.
The competitive landscape features established semiconductor manufacturers expanding into neuromorphic solutions alongside specialized startups focused exclusively on brain-inspired computing architectures. Strategic partnerships between hardware developers and algorithm specialists are increasingly common, creating integrated solution ecosystems that address specific industry applications.
Selector Devices: Current Status and Technical Barriers
Selector devices are critical components in neuromorphic crossbar arrays, serving as switches that enable precise control of individual memory cells. Currently, the field employs several types of selectors, each with distinct advantages and limitations. Transistor-based selectors, particularly CMOS technology, offer excellent reliability and switching characteristics but face scaling challenges in high-density arrays. Two-terminal selectors such as threshold switching devices and tunnel diodes have gained prominence due to their compatibility with back-end-of-line integration and smaller footprint.
The current technical landscape shows significant progress in oxide-based selectors, particularly using materials like HfO2 and Ta2O5, which demonstrate favorable nonlinearity and endurance characteristics. Ovonic threshold switches based on chalcogenide materials have also shown promising results with high ON/OFF ratios exceeding 10^7 and fast switching speeds in the nanosecond range. Phase-change material selectors represent another important category, leveraging the distinct resistance states of crystalline and amorphous phases.
Despite these advancements, several technical barriers persist. The most significant challenge is achieving the "ideal selector" that simultaneously satisfies multiple requirements: high nonlinearity (>10^4), low leakage current (<10 nA), fast switching speed (<10 ns), high endurance (>10^12 cycles), and CMOS compatibility. Current selectors typically excel in some metrics while underperforming in others, creating a fundamental trade-off dilemma.
Scalability presents another major hurdle, particularly as crossbar arrays move toward higher densities. As device dimensions shrink below 10nm, quantum effects and variability issues become increasingly problematic, affecting selector performance consistency. The integration of selectors with different types of memristive devices also remains challenging due to material compatibility issues and process temperature constraints.
Power consumption represents a critical barrier, especially for edge computing applications where energy efficiency is paramount. Many current selector technologies exhibit relatively high operating voltages or persistent leakage currents that limit their suitability for low-power neuromorphic systems. The voltage margin between the ON and OFF states often narrows with scaling, further complicating this challenge.
Reliability and uniformity issues constitute another significant barrier. Device-to-device and cycle-to-cycle variations can severely impact the performance of large-scale neuromorphic arrays. Current selector technologies frequently show degradation in switching characteristics over extended cycling, limiting their practical lifespan in commercial applications.
Manufacturing complexity and cost considerations also pose substantial challenges. Many advanced selector materials require specialized deposition techniques or precise stoichiometry control, making mass production difficult. The industry continues to search for selector solutions that balance performance requirements with manufacturing feasibility.
The current technical landscape shows significant progress in oxide-based selectors, particularly using materials like HfO2 and Ta2O5, which demonstrate favorable nonlinearity and endurance characteristics. Ovonic threshold switches based on chalcogenide materials have also shown promising results with high ON/OFF ratios exceeding 10^7 and fast switching speeds in the nanosecond range. Phase-change material selectors represent another important category, leveraging the distinct resistance states of crystalline and amorphous phases.
Despite these advancements, several technical barriers persist. The most significant challenge is achieving the "ideal selector" that simultaneously satisfies multiple requirements: high nonlinearity (>10^4), low leakage current (<10 nA), fast switching speed (<10 ns), high endurance (>10^12 cycles), and CMOS compatibility. Current selectors typically excel in some metrics while underperforming in others, creating a fundamental trade-off dilemma.
Scalability presents another major hurdle, particularly as crossbar arrays move toward higher densities. As device dimensions shrink below 10nm, quantum effects and variability issues become increasingly problematic, affecting selector performance consistency. The integration of selectors with different types of memristive devices also remains challenging due to material compatibility issues and process temperature constraints.
Power consumption represents a critical barrier, especially for edge computing applications where energy efficiency is paramount. Many current selector technologies exhibit relatively high operating voltages or persistent leakage currents that limit their suitability for low-power neuromorphic systems. The voltage margin between the ON and OFF states often narrows with scaling, further complicating this challenge.
Reliability and uniformity issues constitute another significant barrier. Device-to-device and cycle-to-cycle variations can severely impact the performance of large-scale neuromorphic arrays. Current selector technologies frequently show degradation in switching characteristics over extended cycling, limiting their practical lifespan in commercial applications.
Manufacturing complexity and cost considerations also pose substantial challenges. Many advanced selector materials require specialized deposition techniques or precise stoichiometry control, making mass production difficult. The industry continues to search for selector solutions that balance performance requirements with manufacturing feasibility.
Contemporary Selector Device Implementation Strategies
01 Memory selector devices
Selector devices are used in memory applications to control access to memory cells. These devices include various types of memory selectors such as those used in DRAM, SRAM, and non-volatile memory architectures. The selectors enable addressing specific memory cells within an array, controlling read/write operations, and managing data flow. Advanced memory selector designs improve performance metrics like access speed, power consumption, and data retention while reducing interference between adjacent cells.- Memory selector devices: Selector devices are used in memory applications to control access to memory cells. These devices include various types of memory selectors such as those used in DRAM, SRAM, and non-volatile memory architectures. The selectors enable addressing specific memory cells within an array, controlling read/write operations, and managing data flow. Advanced memory selector designs improve performance metrics like access speed, power consumption, and data retention while reducing interference between adjacent cells.
- Semiconductor selector structures: Semiconductor-based selector devices incorporate specific materials and structures to achieve desired switching characteristics. These include various transistor configurations, diodes, and other semiconductor junctions that function as selection elements. The semiconductor structures are designed with specific doping profiles, material compositions, and geometries to optimize electrical performance. These selectors are critical components in integrated circuits where they control current flow paths and signal routing.
- Cross-point array selectors: Cross-point array architectures utilize selector devices at intersection points to enable high-density memory or logic implementations. These selectors allow for individual addressing of cells within the array while preventing sneak path currents that could cause read/write errors. The design focuses on minimizing the selector footprint while maintaining reliable switching characteristics. Advanced cross-point selectors incorporate materials with non-linear current-voltage characteristics to improve isolation between selected and non-selected paths.
- Selector device control systems: Control systems for selector devices manage the operation timing, voltage levels, and current limits to ensure proper functionality. These systems include driver circuits, timing controllers, and feedback mechanisms that optimize selector performance while preventing damage from overcurrent or voltage stress. Advanced control architectures implement adaptive algorithms that adjust selector parameters based on operating conditions, temperature variations, and aging effects to maintain consistent performance over the device lifetime.
- Two-terminal selector technologies: Two-terminal selector devices provide bidirectional or unidirectional current control without requiring a third control terminal. These include various implementations such as ovonic threshold switches, metal-insulator transitions, and tunneling devices. The two-terminal architecture enables high-density integration in three-dimensional structures while maintaining the necessary non-linear current-voltage characteristics for effective selection. These selectors are particularly valuable in resistive memory technologies where they prevent parasitic currents during read and write operations.
02 Semiconductor selector structures
Semiconductor-based selector devices incorporate specific material structures and configurations to achieve desired electrical characteristics. These include various junction types, thin-film transistors, and specialized semiconductor layers that function as switching elements. The semiconductor structures are designed to provide reliable selection functionality with optimized threshold voltages, leakage current control, and thermal stability. Advanced fabrication techniques enable the creation of high-performance selector devices with reduced footprint and improved integration capabilities.Expand Specific Solutions03 Selector devices for display applications
Selector devices play a crucial role in display technologies, enabling pixel addressing and control in various display architectures. These selectors include thin-film transistors and other switching elements that control individual display elements. The design focuses on achieving uniform brightness, reducing crosstalk between pixels, and enabling high refresh rates. Advanced selector designs for displays incorporate materials and structures that improve response time, power efficiency, and resolution while maintaining manufacturing scalability.Expand Specific Solutions04 Interface and communication selector devices
Selector devices are implemented in communication interfaces to manage data routing, signal selection, and protocol handling between different system components. These selectors enable dynamic configuration of communication pathways, multiplexing of signals, and management of data flow across various interfaces. The designs incorporate features for signal integrity preservation, noise reduction, and compatibility with multiple communication standards. Advanced interface selectors provide programmable functionality to adapt to changing system requirements and communication protocols.Expand Specific Solutions05 Touch and input selector technologies
Selector devices for touch and input applications enable user interaction with electronic devices through various sensing mechanisms. These include capacitive, resistive, and optical sensing technologies that detect and process user inputs. The selector designs focus on achieving high sensitivity, multi-touch capability, and reliable operation under various environmental conditions. Advanced touch selectors incorporate features for palm rejection, pressure sensitivity, and integration with display technologies while maintaining low power consumption and fast response times.Expand Specific Solutions
Leading Organizations in Neuromorphic Hardware Development
The neuromorphic crossbar array market is in an early growth phase, characterized by significant research activity but limited commercial deployment. Market size is expanding as AI applications drive demand for energy-efficient computing solutions, with projections suggesting substantial growth over the next decade. Technologically, selector devices remain at varying maturity levels, with IBM, Samsung, and SK Hynix leading commercial development through advanced materials research and integration techniques. Academic institutions like Peking University and IMEC are contributing fundamental innovations, while specialized startups like TetraMem are developing novel approaches. Established semiconductor companies including Qualcomm, TI, and Applied Materials are strategically positioning themselves through patent portfolios and research partnerships, creating a competitive landscape balanced between academic innovation and industrial commercialization.
International Business Machines Corp.
Technical Solution: IBM has developed advanced selector devices for neuromorphic crossbar arrays using phase-change materials (PCM) and metal-oxide memristors. Their approach integrates highly non-linear threshold switching selectors with memory elements to create efficient crossbar architectures. IBM's research focuses on mitigating sneak path currents through innovative selector designs that maintain high on/off ratios while enabling dense integration. Their technology implements two-terminal selectors with steep subthreshold slopes that effectively isolate inactive cells during read and write operations[1]. IBM has also pioneered 3D integration techniques for stacking selector-memory elements, achieving crossbar densities exceeding 10^10 devices/cm² while maintaining operational reliability. Their recent developments include voltage-controlled threshold selectors that dynamically adjust conductance based on applied voltage, significantly reducing power consumption during array operation[3]. IBM's neuromorphic architecture incorporates these selectors within a comprehensive system design that includes peripheral circuitry optimized for neural network acceleration.
Strengths: IBM's selector technology demonstrates exceptional non-linearity (>10^5) and switching speed (<10ns), enabling large-scale crossbar implementation. Their integration approach maintains CMOS compatibility while achieving high device density. Weaknesses: The technology faces challenges with thermal stability during extended operation and requires complex fabrication processes that may impact manufacturing scalability and cost-effectiveness.
TetraMem, Inc.
Technical Solution: TetraMem has developed proprietary selector technology specifically designed for neuromorphic computing applications in crossbar arrays. Their approach utilizes novel two-terminal threshold switching devices based on engineered chalcogenide materials that exhibit exceptional non-linearity and ultra-fast switching characteristics. TetraMem's selectors feature sub-nanosecond switching times and extremely high on/off ratios (>10^7) that effectively eliminate sneak path currents in high-density arrays[2]. The company has integrated these selectors with their resistive memory elements in a 1S1R (one-selector-one-resistor) configuration that maintains excellent retention while enabling precise weight updates required for neuromorphic learning. Their technology incorporates atomic layer deposition techniques to create highly uniform selector devices with tightly controlled threshold voltages across the array, addressing variability issues that typically plague large-scale implementations. TetraMem's architecture also features innovative bias schemes that minimize disturbance during partial array operations, allowing for parallel weight updates in neural network training applications.
Strengths: TetraMem's selector technology demonstrates exceptional uniformity across large arrays and compatibility with standard CMOS processes, enabling straightforward integration with existing manufacturing flows. Their selectors maintain performance across a wide temperature range (-40°C to 125°C). Weaknesses: The technology may require higher operating voltages compared to some competing approaches, potentially increasing power consumption in large-scale implementations. Long-term reliability data remains limited compared to more established technologies.
Critical Patents and Breakthroughs in Selector Technology
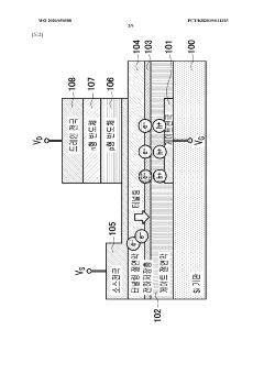
Neuromorphic device with crossbar array structure
PatentWO2021094861A1
Innovation
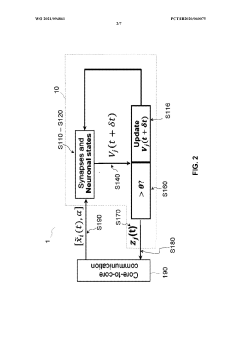
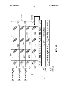
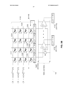
- A neuromorphic device with a crossbar array structure that integrates analog circuits to store synaptic weights and neuronal states using memristive devices, allowing for direct computation and readout of neuronal states without additional circuitry or digital conversion, enabling efficient computation of neuronal states in constant time.
Neuromorphic device using crossbar memory structure
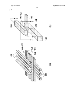
PatentWO2020050588A1
Innovation
- A vertical transistor-based neuromorphic device with a crossbar memory structure, featuring gate, drain, and source electrodes, along with a tunneling insulating film and charge storage layer, where the gate electrode controls synaptic weight by managing charge storage, overcoming the limitations of two-terminal devices and achieving high device density.
Energy Efficiency Considerations in Neuromorphic Systems
Energy efficiency represents a critical factor in the development and deployment of neuromorphic systems, particularly when considering the role of selector devices in crossbar arrays. The power consumption profile of neuromorphic computing architectures differs fundamentally from traditional von Neumann architectures, offering potential advantages for specific applications while presenting unique challenges.
Selector devices in neuromorphic crossbar arrays significantly impact overall energy consumption through several mechanisms. During read operations, selectors control leakage currents that would otherwise create parasitic power losses across the array. The threshold voltage characteristics of these selectors determine the minimum operating voltage required, directly affecting dynamic power consumption during both read and write operations.
The switching energy of selector devices constitutes a substantial portion of the system's energy budget. Current selector technologies demonstrate switching energies ranging from picojoules to femtojoules per operation, with research targeting attomole-level efficiency to achieve biological-level energy consumption. This parameter becomes increasingly critical as array sizes scale to accommodate complex neural network implementations.
Thermal considerations also play a vital role in energy efficiency. Selector devices with high on-state resistance generate heat during operation, necessitating cooling systems that further increase power requirements. Advanced selector materials with lower resistance characteristics can mitigate this effect, improving overall system efficiency.
The standby power consumption of neuromorphic systems depends heavily on the leakage characteristics of the employed selector devices. Two-terminal selectors typically offer superior leakage performance compared to three-terminal alternatives, though at the cost of programmability. This trade-off between leakage control and functional flexibility represents a key design consideration for energy-constrained applications.
When comparing neuromorphic implementations to traditional computing approaches, the energy advantage becomes most pronounced in inference tasks. Systems utilizing optimized selector devices in crossbar arrays demonstrate energy efficiency improvements of 10-100× for pattern recognition and similar workloads. However, this advantage diminishes during training phases, where the write energy of resistive memory elements often dominates the energy profile.
Future improvements in energy efficiency will likely emerge from novel selector materials and architectures. Emerging two-dimensional materials and phase-change compounds show promise for reducing switching energies while maintaining the necessary nonlinearity for effective crossbar operation. These advances could potentially enable neuromorphic systems that approach the remarkable energy efficiency of biological neural systems.
Selector devices in neuromorphic crossbar arrays significantly impact overall energy consumption through several mechanisms. During read operations, selectors control leakage currents that would otherwise create parasitic power losses across the array. The threshold voltage characteristics of these selectors determine the minimum operating voltage required, directly affecting dynamic power consumption during both read and write operations.
The switching energy of selector devices constitutes a substantial portion of the system's energy budget. Current selector technologies demonstrate switching energies ranging from picojoules to femtojoules per operation, with research targeting attomole-level efficiency to achieve biological-level energy consumption. This parameter becomes increasingly critical as array sizes scale to accommodate complex neural network implementations.
Thermal considerations also play a vital role in energy efficiency. Selector devices with high on-state resistance generate heat during operation, necessitating cooling systems that further increase power requirements. Advanced selector materials with lower resistance characteristics can mitigate this effect, improving overall system efficiency.
The standby power consumption of neuromorphic systems depends heavily on the leakage characteristics of the employed selector devices. Two-terminal selectors typically offer superior leakage performance compared to three-terminal alternatives, though at the cost of programmability. This trade-off between leakage control and functional flexibility represents a key design consideration for energy-constrained applications.
When comparing neuromorphic implementations to traditional computing approaches, the energy advantage becomes most pronounced in inference tasks. Systems utilizing optimized selector devices in crossbar arrays demonstrate energy efficiency improvements of 10-100× for pattern recognition and similar workloads. However, this advantage diminishes during training phases, where the write energy of resistive memory elements often dominates the energy profile.
Future improvements in energy efficiency will likely emerge from novel selector materials and architectures. Emerging two-dimensional materials and phase-change compounds show promise for reducing switching energies while maintaining the necessary nonlinearity for effective crossbar operation. These advances could potentially enable neuromorphic systems that approach the remarkable energy efficiency of biological neural systems.
Fabrication Challenges and Material Science Innovations
The fabrication of neuromorphic crossbar arrays with effective selector devices presents significant challenges that require innovative material science solutions. Current manufacturing processes face limitations in achieving the necessary density, uniformity, and reliability required for large-scale neuromorphic systems. The integration of selector devices with memristive elements demands precise control over nanoscale features, often pushing the boundaries of conventional lithography techniques.
Material compatibility issues represent a major hurdle in fabrication processes. The interface between selector materials and memristive elements must maintain electrical integrity while preventing undesired chemical reactions or diffusion that could compromise device performance. This challenge is particularly pronounced when integrating volatile organic materials with inorganic components, requiring careful consideration of processing temperatures and chemical environments.
Scaling presents another critical challenge, as reducing device dimensions to increase density often leads to increased variability in electrical characteristics. This variability manifests as inconsistent switching thresholds and leakage currents across the array, directly impacting the computational accuracy of neuromorphic systems. Advanced deposition techniques such as atomic layer deposition (ALD) and molecular beam epitaxy (MBE) are being explored to achieve better uniformity at nanoscale dimensions.
Recent material science innovations have focused on developing novel selector materials with improved characteristics. Two-dimensional materials like graphene and transition metal dichalcogenides show promise due to their atomically thin nature and tunable electronic properties. These materials enable sharp switching characteristics while maintaining compatibility with existing CMOS fabrication infrastructure. Additionally, phase-change materials that exhibit significant resistance contrast between amorphous and crystalline states are being engineered to function as highly efficient selectors.
Emerging fabrication approaches include self-assembly techniques that leverage bottom-up manufacturing to overcome lithographic limitations. Block copolymer lithography, for instance, enables the creation of regular nanoscale patterns with dimensions below 10nm, potentially allowing for higher density crossbar arrays. Directed self-assembly methods further enhance this approach by guiding the formation of desired structures through pre-patterned substrates.
The development of multi-functional materials represents another promising direction, where a single material system can serve both as the memristive element and the selector through different operational modes. This approach simplifies fabrication processes and reduces potential interface issues. Materials exhibiting threshold switching behavior, such as certain chalcogenides and metal oxides, are particularly valuable in this context as they can inherently provide the nonlinearity required for selector functionality.
Material compatibility issues represent a major hurdle in fabrication processes. The interface between selector materials and memristive elements must maintain electrical integrity while preventing undesired chemical reactions or diffusion that could compromise device performance. This challenge is particularly pronounced when integrating volatile organic materials with inorganic components, requiring careful consideration of processing temperatures and chemical environments.
Scaling presents another critical challenge, as reducing device dimensions to increase density often leads to increased variability in electrical characteristics. This variability manifests as inconsistent switching thresholds and leakage currents across the array, directly impacting the computational accuracy of neuromorphic systems. Advanced deposition techniques such as atomic layer deposition (ALD) and molecular beam epitaxy (MBE) are being explored to achieve better uniformity at nanoscale dimensions.
Recent material science innovations have focused on developing novel selector materials with improved characteristics. Two-dimensional materials like graphene and transition metal dichalcogenides show promise due to their atomically thin nature and tunable electronic properties. These materials enable sharp switching characteristics while maintaining compatibility with existing CMOS fabrication infrastructure. Additionally, phase-change materials that exhibit significant resistance contrast between amorphous and crystalline states are being engineered to function as highly efficient selectors.
Emerging fabrication approaches include self-assembly techniques that leverage bottom-up manufacturing to overcome lithographic limitations. Block copolymer lithography, for instance, enables the creation of regular nanoscale patterns with dimensions below 10nm, potentially allowing for higher density crossbar arrays. Directed self-assembly methods further enhance this approach by guiding the formation of desired structures through pre-patterned substrates.
The development of multi-functional materials represents another promising direction, where a single material system can serve both as the memristive element and the selector through different operational modes. This approach simplifies fabrication processes and reduces potential interface issues. Materials exhibiting threshold switching behavior, such as certain chalcogenides and metal oxides, are particularly valuable in this context as they can inherently provide the nonlinearity required for selector functionality.
Unlock deeper insights with Patsnap Eureka Quick Research — get a full tech report to explore trends and direct your research. Try now!
Generate Your Research Report Instantly with AI Agent
Supercharge your innovation with Patsnap Eureka AI Agent Platform!







