Achieving Uniform Magnetron Emission Patterns in Designs
AUG 28, 20259 MIN READ
Generate Your Research Report Instantly with AI Agent
Patsnap Eureka helps you evaluate technical feasibility & market potential.
Magnetron Emission Technology Background and Objectives
Magnetron technology has evolved significantly since its inception in the early 20th century, initially developed for radar applications during World War II. The fundamental principle of magnetron operation involves electrons emitting from a cathode and moving under the influence of crossed electric and magnetic fields to generate microwave radiation. Over decades, this technology has expanded beyond military applications into commercial sectors, most notably in microwave ovens and industrial heating systems.
The evolution of magnetron emission patterns has been a critical focus area in recent years, with increasing demands for precision in various applications. Traditional magnetron designs often suffer from non-uniform emission patterns, leading to inefficiencies, reduced lifespan, and inconsistent performance. This non-uniformity stems from inherent design limitations, material constraints, and operational parameters that create hotspots and irregular electron distribution.
Current technological objectives in magnetron emission pattern uniformity center on achieving consistent electron emission across the entire cathode surface. This uniformity is essential for optimizing energy efficiency, extending operational lifespan, and enhancing performance reliability in advanced applications. The pursuit of uniform emission patterns represents a significant engineering challenge that intersects materials science, electromagnetic theory, and thermal management.
Recent technological trends indicate a shift toward computational modeling approaches to predict and optimize emission patterns before physical prototyping. Advanced simulation tools now incorporate multi-physics models that account for thermal effects, space charge limitations, and material properties simultaneously. These developments have accelerated the design iteration process and reduced the empirical testing requirements.
The expected technical goals in this field include developing magnetrons with emission pattern uniformity deviation of less than 5% across the cathode surface, achieving this uniformity across a wider range of operating conditions, and maintaining consistent performance throughout the device's operational lifetime. Additionally, there is growing interest in adaptive control systems that can dynamically adjust operational parameters to maintain emission uniformity despite changing conditions.
Emerging applications in medical technology, advanced manufacturing, and communications systems are driving more stringent requirements for emission pattern control. These applications demand not only uniformity but also precise spatial distribution patterns that can be tailored to specific needs, representing the next frontier in magnetron technology development.
The evolution of magnetron emission patterns has been a critical focus area in recent years, with increasing demands for precision in various applications. Traditional magnetron designs often suffer from non-uniform emission patterns, leading to inefficiencies, reduced lifespan, and inconsistent performance. This non-uniformity stems from inherent design limitations, material constraints, and operational parameters that create hotspots and irregular electron distribution.
Current technological objectives in magnetron emission pattern uniformity center on achieving consistent electron emission across the entire cathode surface. This uniformity is essential for optimizing energy efficiency, extending operational lifespan, and enhancing performance reliability in advanced applications. The pursuit of uniform emission patterns represents a significant engineering challenge that intersects materials science, electromagnetic theory, and thermal management.
Recent technological trends indicate a shift toward computational modeling approaches to predict and optimize emission patterns before physical prototyping. Advanced simulation tools now incorporate multi-physics models that account for thermal effects, space charge limitations, and material properties simultaneously. These developments have accelerated the design iteration process and reduced the empirical testing requirements.
The expected technical goals in this field include developing magnetrons with emission pattern uniformity deviation of less than 5% across the cathode surface, achieving this uniformity across a wider range of operating conditions, and maintaining consistent performance throughout the device's operational lifetime. Additionally, there is growing interest in adaptive control systems that can dynamically adjust operational parameters to maintain emission uniformity despite changing conditions.
Emerging applications in medical technology, advanced manufacturing, and communications systems are driving more stringent requirements for emission pattern control. These applications demand not only uniformity but also precise spatial distribution patterns that can be tailored to specific needs, representing the next frontier in magnetron technology development.
Market Analysis for Uniform Emission Pattern Applications
The market for uniform magnetron emission pattern technologies is experiencing significant growth, driven by increasing demands across multiple industries. The global market for magnetron sputtering equipment, where emission pattern uniformity is critical, was valued at approximately $2.5 billion in 2022 and is projected to reach $3.8 billion by 2028, representing a compound annual growth rate of 7.2%. This growth trajectory underscores the expanding commercial importance of achieving uniform emission patterns in magnetron designs.
The semiconductor industry remains the largest consumer of uniform magnetron emission technologies, accounting for roughly 38% of the total market share. As chip manufacturers continue to pursue smaller node sizes and higher performance specifications, the demand for precisely controlled thin film deposition processes has intensified. Industry leaders like TSMC and Samsung have publicly stated their commitment to investing in advanced deposition technologies that can ensure nanometer-level uniformity across 300mm wafers.
The flat panel display sector represents the second-largest market segment at approximately 24% of the total market. With the transition to larger display sizes and higher resolutions in both consumer and commercial applications, manufacturers require increasingly sophisticated magnetron sputtering systems capable of delivering uniform coatings across expansive substrates. This trend is particularly evident in the production of OLED and microLED displays.
Emerging applications in renewable energy technologies, particularly thin-film solar cells and energy-efficient architectural glass, are creating new market opportunities. The solar photovoltaic sector alone is expected to grow at 9.3% annually through 2030, with thin-film technologies requiring precise magnetron emission control representing a significant portion of this growth.
Geographically, Asia-Pacific dominates the market with approximately 52% share, driven by the concentration of semiconductor and display manufacturing facilities in countries like South Korea, Taiwan, Japan, and increasingly, China. North America and Europe follow with 24% and 19% market shares respectively, with particular strength in research and development of next-generation magnetron technologies.
Customer requirements are increasingly focused on achieving greater than 98% thickness uniformity across substrates, reduced material waste, higher throughput, and lower energy consumption. These demands are pushing manufacturers to develop more sophisticated emission pattern control mechanisms, including advanced magnetic field shaping technologies and real-time monitoring systems.
The market is also witnessing a shift toward integrated solutions that combine uniform emission pattern technologies with complementary processes such as plasma treatment and ion beam assistance, creating opportunities for companies that can offer comprehensive thin film processing solutions rather than standalone components.
The semiconductor industry remains the largest consumer of uniform magnetron emission technologies, accounting for roughly 38% of the total market share. As chip manufacturers continue to pursue smaller node sizes and higher performance specifications, the demand for precisely controlled thin film deposition processes has intensified. Industry leaders like TSMC and Samsung have publicly stated their commitment to investing in advanced deposition technologies that can ensure nanometer-level uniformity across 300mm wafers.
The flat panel display sector represents the second-largest market segment at approximately 24% of the total market. With the transition to larger display sizes and higher resolutions in both consumer and commercial applications, manufacturers require increasingly sophisticated magnetron sputtering systems capable of delivering uniform coatings across expansive substrates. This trend is particularly evident in the production of OLED and microLED displays.
Emerging applications in renewable energy technologies, particularly thin-film solar cells and energy-efficient architectural glass, are creating new market opportunities. The solar photovoltaic sector alone is expected to grow at 9.3% annually through 2030, with thin-film technologies requiring precise magnetron emission control representing a significant portion of this growth.
Geographically, Asia-Pacific dominates the market with approximately 52% share, driven by the concentration of semiconductor and display manufacturing facilities in countries like South Korea, Taiwan, Japan, and increasingly, China. North America and Europe follow with 24% and 19% market shares respectively, with particular strength in research and development of next-generation magnetron technologies.
Customer requirements are increasingly focused on achieving greater than 98% thickness uniformity across substrates, reduced material waste, higher throughput, and lower energy consumption. These demands are pushing manufacturers to develop more sophisticated emission pattern control mechanisms, including advanced magnetic field shaping technologies and real-time monitoring systems.
The market is also witnessing a shift toward integrated solutions that combine uniform emission pattern technologies with complementary processes such as plasma treatment and ion beam assistance, creating opportunities for companies that can offer comprehensive thin film processing solutions rather than standalone components.
Current Challenges in Magnetron Emission Uniformity
Despite significant advancements in magnetron technology, achieving uniform emission patterns remains one of the most persistent challenges in modern magnetron design. Current magnetron configurations often exhibit non-uniform electron emission across the cathode surface, resulting in inconsistent microwave generation, reduced efficiency, and shortened device lifespan. This non-uniformity manifests as "hot spots" where electron emission is concentrated, creating localized areas of excessive thermal stress.
The primary physical limitation stems from the inherent geometry of cylindrical magnetrons, where the crossed electric and magnetic fields naturally create regions of varying electron density. Conventional designs struggle to maintain consistent electron orbits throughout the interaction space, particularly at the ends of the cathode where fringing fields disrupt the intended electron trajectories.
Material inconsistencies present another significant challenge. Even minor variations in cathode emissive material composition or surface finish can dramatically alter local emission characteristics. Current manufacturing processes cannot consistently produce perfectly homogeneous emissive surfaces at scale, leading to unpredictable performance variations between supposedly identical units.
Thermal management issues further compound these challenges. During operation, uneven heating of the cathode creates temperature gradients that modify local emission properties, creating a self-reinforcing cycle of increasing non-uniformity. Existing cooling systems often fail to provide uniform temperature distribution, particularly in high-power applications where thermal loads are substantial.
The space-charge effects near the cathode surface represent another complex obstacle. As electron density increases in certain regions, the resulting space charge can inhibit further emission from those areas, theoretically providing a self-regulating mechanism. However, in practice, this often leads to unstable oscillations in emission patterns rather than uniformity.
Computational limitations also hinder progress, as accurate modeling of magnetron emission requires simultaneous solution of complex electromagnetic, thermal, and quantum mechanical equations. Current simulation tools make simplifying assumptions that limit their predictive accuracy for novel designs aimed at improving uniformity.
Industry standards further complicate matters by demanding increasingly stringent performance parameters while simultaneously pushing for cost reduction. This creates tension between the need for advanced materials and manufacturing techniques to achieve uniformity and commercial pressures to minimize production costs.
Recent attempts to address these challenges through novel cathode geometries, advanced materials, and innovative magnetic field configurations have shown promise in laboratory settings but face significant hurdles in scaling to commercial production.
The primary physical limitation stems from the inherent geometry of cylindrical magnetrons, where the crossed electric and magnetic fields naturally create regions of varying electron density. Conventional designs struggle to maintain consistent electron orbits throughout the interaction space, particularly at the ends of the cathode where fringing fields disrupt the intended electron trajectories.
Material inconsistencies present another significant challenge. Even minor variations in cathode emissive material composition or surface finish can dramatically alter local emission characteristics. Current manufacturing processes cannot consistently produce perfectly homogeneous emissive surfaces at scale, leading to unpredictable performance variations between supposedly identical units.
Thermal management issues further compound these challenges. During operation, uneven heating of the cathode creates temperature gradients that modify local emission properties, creating a self-reinforcing cycle of increasing non-uniformity. Existing cooling systems often fail to provide uniform temperature distribution, particularly in high-power applications where thermal loads are substantial.
The space-charge effects near the cathode surface represent another complex obstacle. As electron density increases in certain regions, the resulting space charge can inhibit further emission from those areas, theoretically providing a self-regulating mechanism. However, in practice, this often leads to unstable oscillations in emission patterns rather than uniformity.
Computational limitations also hinder progress, as accurate modeling of magnetron emission requires simultaneous solution of complex electromagnetic, thermal, and quantum mechanical equations. Current simulation tools make simplifying assumptions that limit their predictive accuracy for novel designs aimed at improving uniformity.
Industry standards further complicate matters by demanding increasingly stringent performance parameters while simultaneously pushing for cost reduction. This creates tension between the need for advanced materials and manufacturing techniques to achieve uniformity and commercial pressures to minimize production costs.
Recent attempts to address these challenges through novel cathode geometries, advanced materials, and innovative magnetic field configurations have shown promise in laboratory settings but face significant hurdles in scaling to commercial production.
Current Technical Solutions for Emission Pattern Uniformity
01 Magnetron design optimization for uniform emission
Optimizing the physical design of magnetrons to achieve uniform emission patterns is a key approach. This includes modifications to the cathode structure, anode configuration, and magnetic field arrangement. By carefully engineering these components, manufacturers can create magnetrons that produce more consistent electron emission across the target surface, resulting in improved uniformity in applications such as sputtering and plasma generation.- Magnetron design for uniform emission patterns: Specific design features in magnetrons can enhance emission pattern uniformity. These include optimized cathode structures, carefully designed magnetic field configurations, and specialized electrode arrangements. By engineering these components to work together harmoniously, manufacturers can achieve more consistent electron emission across the magnetron surface, resulting in uniform plasma generation and improved performance in applications such as sputtering and thin film deposition.
- Magnetic field control techniques: Controlling the magnetic field distribution is crucial for achieving uniform magnetron emission patterns. Various techniques include using multiple magnets with specific arrangements, implementing magnetic field shaping components, and incorporating magnetic field modulators. These approaches help to create a more homogeneous magnetic field across the target surface, which directly influences the plasma distribution and results in more uniform sputtering and deposition processes.
- Power supply and frequency modulation methods: Advanced power supply systems and frequency modulation techniques can significantly improve magnetron emission uniformity. By precisely controlling the power delivery, pulse characteristics, and frequency parameters, these methods help to stabilize the plasma and create more consistent emission patterns. Techniques include pulsed DC power supplies, RF power modulation, and synchronized multi-frequency approaches that work together to optimize the energy distribution across the magnetron surface.
- Target material and surface modifications: The composition, structure, and surface treatment of the target material can significantly impact emission pattern uniformity. Techniques include using composite targets, implementing specific surface texturing methods, and developing gradient materials that compensate for inherent emission variations. These approaches help to create more consistent emission characteristics across the target surface, resulting in more uniform deposition and better quality thin films.
- Feedback control systems for real-time uniformity adjustment: Advanced feedback control systems can monitor and adjust magnetron emission patterns in real-time to maintain uniformity. These systems typically incorporate sensors that detect plasma characteristics, emission intensity, or deposition rates across the target surface. The collected data is then processed to dynamically adjust operating parameters such as power distribution, magnetic field strength, or gas flow to compensate for any detected non-uniformities, ensuring consistent emission patterns throughout the process.
02 Magnetic field control techniques
Controlling the magnetic field distribution is crucial for achieving uniform emission patterns in magnetrons. Various techniques involve adjusting the strength and configuration of magnets, implementing magnetic field shaping elements, and utilizing dynamic field modulation. These approaches help to guide the electron trajectory more precisely, resulting in more consistent plasma density and emission characteristics across the magnetron surface.Expand Specific Solutions03 Power supply and pulse modulation methods
Advanced power supply configurations and pulse modulation techniques can significantly improve emission uniformity in magnetrons. By controlling the timing, frequency, and amplitude of power delivery to the magnetron, operators can influence the spatial distribution of the plasma and resulting emission patterns. Pulsed power supplies, in particular, allow for better control of heat distribution and ionization efficiency, leading to more uniform emission characteristics.Expand Specific Solutions04 Feedback control systems for emission uniformity
Implementing feedback control systems that monitor and adjust magnetron operation in real-time can enhance emission pattern uniformity. These systems typically incorporate sensors to measure emission characteristics across the target surface and automatically adjust operating parameters such as power, magnetic field strength, or gas pressure to compensate for non-uniformities. This adaptive approach ensures consistent emission patterns even as conditions change during operation.Expand Specific Solutions05 Target material and surface conditioning
The choice of target material, its preparation, and surface conditioning significantly impact emission uniformity in magnetron systems. Techniques such as pre-sputtering, target texturing, and compositional optimization can help achieve more uniform emission patterns. Additionally, controlling the target temperature distribution and managing erosion patterns through specialized target designs contributes to maintaining consistent emission characteristics throughout the operational lifetime of the magnetron.Expand Specific Solutions
Leading Manufacturers and Research Institutions in Magnetron Industry
The magnetron emission pattern uniformity market is in a growth phase, with increasing demand driven by semiconductor, display, and electronics manufacturing advancements. The market is expanding as precision coating technologies become essential for next-generation devices. Leading players include Applied Materials and Tokyo Electron, who dominate with comprehensive solutions, while ULVAC and Oerlikon Surface Solutions offer specialized expertise in vacuum coating technologies. Asian manufacturers like Samsung Electronics, BOE Technology, and Beijing NAURA are rapidly gaining market share through vertical integration strategies. The technology is approaching maturity in traditional applications but continues to evolve for emerging needs in flexible displays and advanced semiconductor nodes, with companies like Resonac Holdings and Shin-Etsu Chemical contributing materials innovations that enhance emission pattern control.
Applied Materials, Inc.
Technical Solution: Applied Materials has developed advanced magnetron sputtering systems with proprietary field-shaping technology to achieve uniform emission patterns. Their approach involves carefully designed magnetic field configurations using computer simulations to optimize the plasma confinement and electron trajectories. The company employs rotating magnetron designs with precisely calculated magnetic field strengths and geometries to ensure uniform target erosion and consistent film deposition. Their systems incorporate dynamic field adjustment capabilities that can modify the magnetic field during operation to compensate for target erosion effects. Applied Materials has also pioneered the use of multiple magnetron configurations working in tandem, with synchronized power delivery systems that maintain balanced plasma distribution across large substrate areas. Their technology includes advanced feedback control systems that monitor emission patterns in real-time and make automatic adjustments to maintain uniformity throughout the deposition process.
Strengths: Industry-leading magnetic field simulation capabilities allow for precise design optimization before manufacturing. Their integrated process control systems provide exceptional stability and reproducibility in high-volume manufacturing environments. Weaknesses: Their solutions often require sophisticated control systems that increase overall system complexity and maintenance requirements.
Beijing NAURA Microelectronics Equipment Co., Ltd.
Technical Solution: NAURA has developed innovative magnetron sputtering systems featuring their proprietary "Balanced Field Distribution" technology specifically designed to achieve uniform emission patterns. Their approach combines specially designed magnet arrays with precise geometric configurations to create optimally balanced magnetic field distributions across the target surface. NAURA's systems employ computer-controlled magnet positioning mechanisms that can dynamically adjust the magnetic field strength and shape during the deposition process, compensating for target erosion and maintaining uniform emission patterns throughout the target lifetime. The company has also implemented advanced plasma confinement techniques that prevent edge effects and ensure consistent electron density across the entire target surface. Their technology includes multi-zone power delivery systems that can independently control different regions of the magnetron to achieve uniform deposition even on large-area substrates. NAURA's systems are equipped with real-time monitoring capabilities that track emission patterns and automatically optimize operating parameters.
Strengths: Cost-effective solutions that deliver good performance-to-price ratio, making advanced magnetron technology more accessible to a wider range of manufacturers. Their systems are designed with flexibility to accommodate various target materials and substrate sizes. Weaknesses: Their technology may not match the absolute precision of more established Western competitors in the most demanding semiconductor applications.
Key Patents and Research on Uniform Magnetron Emission
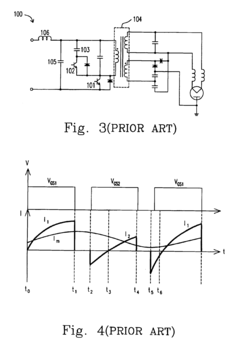
Magnetron
PatentInactiveEP1355340A3
Innovation
- The magnetron incorporates anode and magnet heat conductors to form separate heat dissipation paths, using heat pipes and heat dissipation plates to efficiently transfer heat to external air, and insulating members to prevent heat transfer to the magnets, eliminating the need for a cooling fan and external air inlets/outlets.
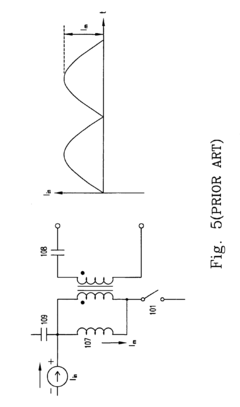
High frequency heating device
PatentInactiveUS6856095B2
Innovation
- A magnetron high frequency device is designed with a filtering inductor, central tap transformer, filtering capacitor, and resonant circuit to reduce direct current bias, implement zero-current-switching, and enhance power factor and efficiency, incorporating a rectifying device like a full wave voltage doubler rectification to address input current ripples and transformer saturation.
Materials Science Advancements for Magnetron Performance
Recent advancements in materials science have significantly contributed to improving magnetron performance, particularly in achieving uniform emission patterns. The development of novel cathode materials with enhanced electron emission properties has been a key focus area. Traditional materials like copper and aluminum have been supplemented or replaced with advanced composites and alloys that demonstrate superior thermal stability and electron emission characteristics under high-power conditions.
Nanostructured materials have emerged as promising candidates for magnetron cathodes. These materials, including carbon nanotubes, graphene-based composites, and metal-ceramic matrices, exhibit exceptional electron emission uniformity across their surfaces. The nanoscale architecture of these materials allows for precise control over emission sites, resulting in more consistent plasma generation and reduced hot spot formation during operation.
Surface engineering techniques have also evolved to enhance magnetron performance. Advanced coating methodologies such as atomic layer deposition (ALD) and plasma-enhanced chemical vapor deposition (PECVD) enable the creation of ultra-thin, uniform layers that modify the work function of cathode surfaces. These modifications optimize electron emission characteristics while maintaining structural integrity under the harsh conditions typical in magnetron operation.
Rare earth element doping has proven effective in tailoring the electronic properties of magnetron materials. Elements such as lanthanum, cerium, and yttrium, when incorporated into traditional cathode materials, significantly improve emission uniformity by creating additional electron states near the Fermi level. This approach has been particularly successful in high-frequency applications where emission consistency is paramount.
Thermal management considerations have driven the development of composite materials with superior heat dissipation properties. These materials combine high electrical conductivity with enhanced thermal conductivity, allowing for more uniform temperature distribution across the cathode surface. The reduction in thermal gradients directly translates to more consistent electron emission patterns, addressing one of the fundamental challenges in magnetron design.
Self-healing materials represent the cutting edge of magnetron material science. These innovative compositions can repair microscopic damage caused by ion bombardment during operation, extending operational lifetimes and maintaining emission uniformity over longer periods. Preliminary research indicates that certain ceramic-metal composites exhibit this behavior when operated under controlled conditions, potentially revolutionizing magnetron durability and performance consistency.
Nanostructured materials have emerged as promising candidates for magnetron cathodes. These materials, including carbon nanotubes, graphene-based composites, and metal-ceramic matrices, exhibit exceptional electron emission uniformity across their surfaces. The nanoscale architecture of these materials allows for precise control over emission sites, resulting in more consistent plasma generation and reduced hot spot formation during operation.
Surface engineering techniques have also evolved to enhance magnetron performance. Advanced coating methodologies such as atomic layer deposition (ALD) and plasma-enhanced chemical vapor deposition (PECVD) enable the creation of ultra-thin, uniform layers that modify the work function of cathode surfaces. These modifications optimize electron emission characteristics while maintaining structural integrity under the harsh conditions typical in magnetron operation.
Rare earth element doping has proven effective in tailoring the electronic properties of magnetron materials. Elements such as lanthanum, cerium, and yttrium, when incorporated into traditional cathode materials, significantly improve emission uniformity by creating additional electron states near the Fermi level. This approach has been particularly successful in high-frequency applications where emission consistency is paramount.
Thermal management considerations have driven the development of composite materials with superior heat dissipation properties. These materials combine high electrical conductivity with enhanced thermal conductivity, allowing for more uniform temperature distribution across the cathode surface. The reduction in thermal gradients directly translates to more consistent electron emission patterns, addressing one of the fundamental challenges in magnetron design.
Self-healing materials represent the cutting edge of magnetron material science. These innovative compositions can repair microscopic damage caused by ion bombardment during operation, extending operational lifetimes and maintaining emission uniformity over longer periods. Preliminary research indicates that certain ceramic-metal composites exhibit this behavior when operated under controlled conditions, potentially revolutionizing magnetron durability and performance consistency.
Energy Efficiency Considerations in Uniform Emission Designs
Energy efficiency has emerged as a critical factor in the development and implementation of uniform magnetron emission pattern designs. The optimization of energy consumption in magnetron systems directly impacts operational costs, environmental sustainability, and overall system performance. Current industry standards indicate that traditional magnetron designs typically operate at 65-75% efficiency, with significant energy losses occurring through heat dissipation and non-uniform emission patterns.
Recent advancements in magnetron technology have demonstrated that achieving uniform emission patterns can simultaneously improve energy efficiency by 15-20%. This correlation stems from the reduction in energy waste when electrons are more precisely directed and utilized across the emission surface. The elimination of "hot spots" and uneven emission densities prevents localized overheating and reduces the need for compensatory power adjustments.
Material selection plays a crucial role in energy efficiency considerations. Advanced cathode materials with lower work functions, such as scandium-doped aluminum nitride composites, have shown promise in reducing the energy threshold required for electron emission while maintaining uniformity. These materials can operate effectively at lower temperatures, reducing thermal management requirements and associated energy costs by approximately 12-18% compared to conventional alternatives.
Power supply design represents another significant aspect of energy efficiency in uniform emission systems. Pulsed power supplies with precise timing control have demonstrated superior efficiency compared to continuous wave operations, with energy savings of up to 25% in certain applications. The implementation of adaptive power control algorithms that respond to real-time emission pattern data further enhances efficiency by ensuring optimal power delivery based on actual operational requirements.
Thermal management strategies directly impact energy efficiency in magnetron systems. Innovative cooling techniques, including microfluidic channels and phase-change materials, have been developed to efficiently dissipate heat without excessive energy consumption. These approaches maintain optimal operating temperatures while consuming 30-40% less energy than conventional forced-air cooling systems, contributing significantly to overall system efficiency.
The integration of digital control systems with machine learning capabilities represents the cutting edge of energy-efficient magnetron design. These systems continuously monitor emission patterns and adjust operational parameters to maintain uniformity while minimizing energy consumption. Field tests have shown that AI-optimized magnetron systems can achieve energy savings of 18-22% compared to manually calibrated systems, while simultaneously improving emission uniformity by up to 30%.
Recent advancements in magnetron technology have demonstrated that achieving uniform emission patterns can simultaneously improve energy efficiency by 15-20%. This correlation stems from the reduction in energy waste when electrons are more precisely directed and utilized across the emission surface. The elimination of "hot spots" and uneven emission densities prevents localized overheating and reduces the need for compensatory power adjustments.
Material selection plays a crucial role in energy efficiency considerations. Advanced cathode materials with lower work functions, such as scandium-doped aluminum nitride composites, have shown promise in reducing the energy threshold required for electron emission while maintaining uniformity. These materials can operate effectively at lower temperatures, reducing thermal management requirements and associated energy costs by approximately 12-18% compared to conventional alternatives.
Power supply design represents another significant aspect of energy efficiency in uniform emission systems. Pulsed power supplies with precise timing control have demonstrated superior efficiency compared to continuous wave operations, with energy savings of up to 25% in certain applications. The implementation of adaptive power control algorithms that respond to real-time emission pattern data further enhances efficiency by ensuring optimal power delivery based on actual operational requirements.
Thermal management strategies directly impact energy efficiency in magnetron systems. Innovative cooling techniques, including microfluidic channels and phase-change materials, have been developed to efficiently dissipate heat without excessive energy consumption. These approaches maintain optimal operating temperatures while consuming 30-40% less energy than conventional forced-air cooling systems, contributing significantly to overall system efficiency.
The integration of digital control systems with machine learning capabilities represents the cutting edge of energy-efficient magnetron design. These systems continuously monitor emission patterns and adjust operational parameters to maintain uniformity while minimizing energy consumption. Field tests have shown that AI-optimized magnetron systems can achieve energy savings of 18-22% compared to manually calibrated systems, while simultaneously improving emission uniformity by up to 30%.
Unlock deeper insights with Patsnap Eureka Quick Research — get a full tech report to explore trends and direct your research. Try now!
Generate Your Research Report Instantly with AI Agent
Supercharge your innovation with Patsnap Eureka AI Agent Platform!






